|
Liste alphabétique non exhaustive
des 140 principaux inventeurs, concepteurs et constructeurs de téléphones
- Pages complémentaires :
- 1878-1890 Microphones et Récepteurs..
- Etude des combinés téléphoniques
.
- Comment
dater certains téléphones Français
.
- Trouvez les brevets de
la plupart des noms de cette page.
sommaire
Les Téléphones Bruno ABDANK ABAKANOWICZ
En 1885 
Il a été construit un poste à appel magnétique
et à transmetteur microphonique par la Compagnie des signaux magnétiques
et communications téléphoniques. ce poste a été
expérimenté entre les bureaux de MM. Rothschild frère
rue Laffitte et le château de Ferrières, distance de 38 kilomètres,
qui a donné les résultats les plus satisfaisants.
Ce poste est représenté dans les figures ci dessus. Le microphone
est du système Hughes et chaque poste possède deux éléments
de pile Lalande et Chaperon fixés au dos des parois latérales
de la boîte. Cet appareil est dune sensibilité excessivement
grande. La figure gauche donne une vue extérieure du poste complet;
la figure droite montre la disposition des organes intérieurs
Autres modèles vers 1885

1888 APPAREIL MICRO-TÉLÉPHONE
Les deux premiers brevets pour l'invention du téléphone
ont été obtenus par Bruno Abdank-Abakanowicz en France
et en Autriche-Hongrie en 1888 et, le 8 octobre 1889, il a reçu
un brevet aux États-Unis et l'a immédiatement remis à
la compagnie de téléphone ` American Bell '' .
Le mémoire descriptif du brevet contient principalement une description
de l'émetteur de microphone, qui est un élément essentiel
de l'invention.
Dans les téléphones Abdank-Abakanowicz, tous les composants
sont placés dans un petit boîtier qui rend le téléphone
compact, précis et adapté à un usage domestique.
Cependant, les émetteurs à l'époque étaient
trop encombrants et ne pouvaient pas être utilisés dans un
si petit téléphone. Abdank-Abakanowicz a réussi à
créer un petit émetteur très sensible, dont l'efficacité
était assurée par la disposition spéciale de quatre
tiges de microphone en carbone, chacune étant dans sa propre cellule
individuelle. Grâce à cet agencement de tiges de carbone,
la tension apparaissant sous l'influence de la voix de l'orateur. Une
augmentation vocale a entraîné une augmentation de la sensibilité
du microphone.
Le téléphone était utilisé dans diverses institutions
publiques et ménages privés.

Autre invention
« Le nouvel appel magnéto-électrique »
On retrouvera sa coopération avec les téléphones
Mors-Abdansk.
sommaire
Les Téléphones ABOILARD
G. Aboilard cie 46 avenue de breteuil 75007
Paris . Société fondée en 1889 fondée par
G. Aboilard, qui deviendra en 1925, la société Le
Matériel Téléphonique
(LMT) pour exploiter les brevets de AT&T .
La clé dappel est un bouton-poussoir B qui fait
mouvoir le piston P. Ce piston, ramené à sa position de
repos par le ressort à boudin R, supporte une traverse en ébonite
A garnie, à ses deux extrémités, de barrettes métalliques
a,qui agissent sur deux jeux de ressorts r.
On conçoit facilement le fonctionnement de cette clé double,
si lon admet que r, communiquent avec la sonnerie avec la ligne
avec la pile.
La construction du levier-commutateur est analogue à celle
de la clé dappel.
Dans lappareil mural, le crochet mobile, monté sur l'axe
0 porte une barre transversale sur laquelle sont rapportées les
pièces métalliques D, K, F, isolées les unes des
autres et également isolées du levier AB par la lame débonite
ce K . Le levier-commutateur est abaissé par le poids du récepteur
suspendu au crochet; il est alors sur sonnerie; il est placé dans
la position de conversation par un ressort antagoniste R, dont laction
reste seule enjeu lorsque le récepteur est décroché.
Dans ces deux positions, les pièces D,E, F établissent la
liaison entre deux séries de ressorts montés sur les réglettes
isolantes H, J. Lorsque lappareil est sur sonnerie, la pièce
D réunit les ressorts r K , r 2 (borne S, avec borne L 4 ), la
pièce F, les ressorts r(borne L 2 avec borne S 2 ); les autres
ressorts sont isolés. Lorsque le levier est dans la position de
conversation, la pièce D réunit les ressorts , la pièce
F les ressorts r 3 , r 8 (circuit secondaire); la pièce E relie
les ressorts r 6 , r 7 (circuit primaire).
La partie gauche de la figure 21 sapplique plus particulièrement
à lappareil portatif. Le crochet mobile y est remplacé
par une double fourche qui supporte lappareil combiné. Cette
fourche, représentée en M, est indépendante; elle
repose simplement, en K, sur lextrémité B du levier
de commutation et le fait basculer lorsque lappareil combiné
est placé sur ses branches. Le poids de cette double fourche est
dailleurs insuffisant pour sopposer à laction
du ressort R lorsque lappareil combiné est enlevé.
La goupille t, engagée à glissière dans la pièce
g, empêche la fourche de tourner.
Lappareil combiné lui-même se compose dun microphone
Solid back associé au récepteur Aboilard
décrit plus bas.
Ces deux instruments sont réunis par un tube dassemblage
que traverse Je cordon souple et qui, dans sa partie médiane, est
garni dune poignée. Les communications intérieures
de l'appareil portatif sont identiques à celles de lappareil
mural que représente la figure 22.

Les récepteurs de la maison Aboilard
sont formés par deux aimants plats superposés. Ces aimants
sont des anneaux ouverts et sur les bords de louverture sont vissées
des pièces polaires, dirigées vers le centre et surmontées
de bobines métalliques ohlongues. Au-dessus des aimants, une bague
en ébonite est maintenue par trois vis dont deux supportent les
bornes auxquelles on attache le cordon souple. La bague débonite
na dailleurs dautre objet que de masquer les aimants
et dassurer leur assemblage.
Dans le modèle serre-tête, le boîtier est en aluminium
.
Introduit en France par M. Aboilard
les transmetteurs SOLID-BACK , sont très puissants.
Ils ont été utilisé sur principalement sur des multiples
pour les postes d'opérateurs, et sur différents téléphones
LMT .
 |
Le boitier, entièrement métallique,
se compose de deux pièces A, B (fig. 93), assemblées
par quatre vis.
Sur la pièce B, dans laquelle est pratiquée une ouverture
centrale, se visse lembouchure en ébonite C.
Sur le fond de la pièce B, une seconde pièce D, dans
laquelle est creusée une gorge d , est maintenue par trois
vis. Un boulon E traverse de part en part B et D ; il est assujetti
par les écrous e,e 2 , et isolé par un canon et par
deux lames en ébonite e 3 , e 5 .
La plaque vibrante F est métallique ; son rebord est enveloppé
par une bande de caoutchouc, à cbeval sur sa tranche. Le microphone
est fixé au centre de cette plaque, qui est pressée
contre le boîtier B par deux ressorts G, G, garnis, en g, de
tubes de caoutchouc. |
|
|
Ladhérence
entre la plaque vibrante F et le microphone est assurée par
une tige filetée appartenant à ce dernier; cette tige
traverse un trou percé au centre de la plaque, et un double
écrou se visse, par dessus.
Le microphone est une petite boîte en laiton dont le fond et
le couvercle sont garnis de disques de charbon polis avec le plus
grand soin ; une bande de papier est collée sur le pourtour.
Entre les deux disques de charbon, la grenaille de graphite est emprisonnée
dans la boîte.
Voici comment :
Le fond de la boîte est figuré en i il est traversé
par un téton sur lequel le disque de charbon a été
soudé après avoir été préalablement
cuivré par lélectrolyse sur la face qui nest
pas polie. Le couvercle est formé par le second charbon, soudé
de la même manière sur la pièce de laiton k. Sur
celte pièce, qui se termine par la tige filetée J, est
vissé lécrou e; mais entre les deux est intercalée
une rondelle de mica qui repose sur la boite i; une bague est vissée
par dessus et assure la fixité du système, tout en lui
laissant une grande élasticité.
Ainsi que nous lavons dit, la tige filetée J traverse
la plaque vibrante, qui est serrée sur la pièce k par
les deux écrous. Le téton j est enfoncé dans
le pont H et immobilisé par la vis K; le pont H lui-même
est fixé par quatre vis sur le boîtier B.
Sur le pont H se trouve un bloc en ébonite L, dans lequel un
téton M est maintenu par la vis N. Un fil souple est soudé
à lécrou e et au téton M. De ce dernier
part un autre fil conducteur souple serré sous la vis N. Ce
conducteur, recouvert de soie, se termine par un illet serré
sous la tête du boulon E. Le couvercle du microphone communique
donc avec le boulon E, tandis que le fond de sa boîte est en
relation par le pont H avec le boîtier AB. De la sorte les prises
de communication peuvent être obtenues par un crochet engagé
dans la gorge d, et par un res sort appuyé sur la pointe du
boulon E. Cest ainsi quest faite linstallation.
Ces transmetteurs sont présentés par la maison Aboilard
(France) et par la Western
Electric C° de Chicago. |
1902 Nouveau
micro en remplacement du Solid-Back équipant les modèles à
micro fixe
Le Normandie
sommaire
Les téléphones ADER
Les récepteurs Ader d'abord construits par la SGT Société
Générale des Téléphones jusqu'en 1993,
et ensuite par la SIT Société
industrielle des Téléphones. ( une page de ce site
est consacrée à ADER)
- Société Générale des Téléphones
(SGT) : siège social 41 rue Caumartin 75009 paris
- Société Industrielle des Téléphones (SIT)
: 25 rue du 4 septembre 75002 Paris
  
Dans le premier modèle figure 1, désigné dans le catalogue
de la Société Générale
des Téléphones sous Ader le n° 1, laimant
est en dehors du boîtier et forme la poignée ou lanneau
de suspension de linstrument. La figure 2 montre une coupe du récepteur
Ader n° 1. Laimant A affecte la forme dun anneau ouvert.
Sur les pôles de cet aimant sont vissées des équerres
en fer doux formant les noyaux des bobines b , b. Sur les bords du boîtier
B, en laiton nickelé, vissé sur les pôles de l'aimant
A, repose la plaque vibrante D, en tôle étamée. Des
rondelles de réglage en laiton sont interposées entre le boîtier,
la membrane et le couvercle C qui se visse sur le boîtier. Ce couvercle
porte, en X, un anneau excitateur en fer et, en E, une embouchure en ébonite
ou en ivorine.
Les bobines montées sur carcasse métallique ont une résistance
totale denviron 150 ohms; lediamètre de la plaque vibrante
est de 50 mm, son épaisseur de 0,32 mm. Les extrémités
des fils des bobines, qui sont montées en série, aboutissent
à des bornes extérieures isolées du boîtier par
des rondelles en os ou mieux en ébonite.
Le modèle Ader n° 2 est verni en noir au lieu dêtre
nickelé.
Dans le second type, connu sous le nom de récepteur Ader n°
3, laimant est à lintérieur du boîtier.
A poignée
Le même
sur manche
Dans le modèle n° 3 aussi SGT puis SIT, quil soit à
poignée (fig. 3) ou à manche, quil appartienne à
un appareil combiné ou à un serre-tête, lorgane
électromagnétique est constitué par deux anneaux en
acier aimanté AA (fig- -4) dont deux équerres forment les
pôles, en meme temps qu elles constituent les noyaux de deux bobines,
montées en série, dont la résistance est de 150 ohms.
La plaque vibrante D a 54 mm de diamètre sur une épaisseur
de 0,21 mm.
Ader N°12b Ader
N°11b  Le
serre-tête
 |
Le transmetteur ADER
Le microphone Ader se compose dune mince planchette en
sapin, de forme rectangulaire, ayant 16 cm de longueur sur 11 de largeur
et de 10 crayons en charbon.
A cette planchette sont fixés, par des boulons, trois prismes
de charbon a, b , c (fig. 33), parallèles et espacés
denviron 45 mm.
Dans les trous pratiqués à lintérieur de
ces trois prismes, sengagent des cylindres de charbon EF, dont
la partie médiane a 8 mm de diamètre, tandis que les
extrémités nont plus quun diamètre
de 4 mm.
Les trous des prismes sont plus grands que les bouts des cylindres,
de sorte que ceux-ci sy meuvent librement, tout en restant emprisonnés
entre les trois prismes.
Les cylindres de charbon sont au nombre de dix, formant deux rangées
de cinq. Les deux prismes extrêmes portent chacun une petite
languette de cuivre, fixée par un écrou, et à
laquelle est soudé le fil de communication.
La planchette de sapin est collée sur une bandelette de caoutchouc,
adhérente elle-même à lébénisterie
du transmetteur.
Dans les divers transmetteurs de réseau auxquels la Société
industrielle des Téléphones a appliqué le microphone
Ader, elle a fait usage dun mécanisme uniforme auquel
il na été apporté quelques changements
de détails que dans les cas dabsolue nécessité.
La clé dappel (fig.34) est à double fil
; elle se compose de deux ressorts RR,, parallèles, isolés
lun de lautre et montés sur les plots AB. Un bouton
dappel C rend ces deux ressorts solidaires, tout en les main
tenant isolés lun par rapport à lautre.
Les butées de travail sont représentées par les
pièces métalliques DE ; les butées de repos par
les équerres FG. Les contacts sont à friction.
|

Dans le levier-commutateur (fig. 35), les
ressorts de contact sont au nombre de sept.
Lorsque le crochet est abaissé, le ressort a communique avec
la partie centrale du levier à laquelle aboutit en permanence
la ligne L, ; les ressorts b , e, f sont isolés; les ressorts
c, d sont réunis par la bague métallique h; le ressort
m est séparé de sa butée n par la goupille isolante
k.
Lorsque le crochet est relevé, les ressorts et, c, d sont isolés;
b communique avec la partie .centrale du levier ; e, f sont réunis
par la bague métallique y ; le ressort m repose sur sa butée
n. |
 |
 |
La figure 36 montre le schéma
des communications intérieures des transmetteurs Ader, modèles
à pupitre N°2 et N°3.
On voit sur cette figure que ;
1° lorsque le levier-commutateur est abaissé, le courant
d'appel provenant du poste correspondant passe par L1, H, a, B, R
E, G, S, sonnerie, S 2 , d, c, F, R, A, L 2 . Le conducteur I2 est
isolé en n. Le poste appelé répond en appuyant
sur sa clé dappel et relie ainsi les bornes ZS et CS
à L, et L 2 : la borne ZS par D, B, A, 1 2 , la borne CS par
E, R,, B, a, II, L r
2° Lorsque le levier-commutateur est relevé, les courants
de conversation circulent entre H, b , induit de Bf, t 2 , récepteur
r 2 de droite, t 3 , t t , récepteur r t de gauche, t, m, n,
L 2 . Le conducteur L2 A est coupé enc. Le circuit microphonique
est fermé par CM, Minducteur de Bl, borne ZM, pile microphonique.
Il est bien entendu que la pile dappel et la pile de microphone
sont indépendantes.
Dans le transmetteur Ader à pupitre n° 3, la clé,
sous forme de bouton dappel, est analogue à celles des
types n° 1 et 2.
Consultez
le catalogue SGT de 1891 |
Les transmetteurs Ader muraux à pupitre,
connus sous les noms de type n° 1 et type n°2, comportent les
organes que nous venons de décrire; ils ne diffèrent entre
eux que parle vernissage; le n° 1 est verni au tampon ; le n°
2 est verni au pinceau.
N°4
Ader N°7 schéma
des communications et détails
Consultez
le catalogue SGT de 1891
Ader-Breguet 1881 N°2
N°7 N°15
Dans le type n° 3 (fig. 37), plus petit que les précédents,
la clé dappel a la même forme que celles des types
1 et 2; mais elle est actionnée par un bouton-poussoir.
Le type n° 4 (fig. 38) est un appareil portatif. Bien que quelques
ressorts naient pas, dans ce modèle, exactement la même
forme que dans les types muraux nos 1, 2 et 3, la disposition générale,
le fonctionnement et la disposition des circuits ne diffèrent pas.
  |
Au début, les piles sont installées
au sol dans une boite, la sonnerie à courant continu est
accrochée au mur, plus tard, lorsque le bureau central le
permettra, certains appareils ADER seront montés sur
une planche avec un appel magnétique (fig. 103), une
sonnerie à courant alternatif, et une caisse pour mettre
les piles d'alimentation de ligne et de micro.
Fig. 104. Schéma des connexions de lappareil
avec appel magnétique de la Société Industrielle
des Téléphones.
Nous choisirons, comme type de ce mode d'installation, lun
des modèles de la Société industrielle des
Téléphones, dont les figures 103 et 104 montrent une
vue densemble et un schéma des connexions.
A. Appel magnétique. B. Bobine dinduction.
C. Commutaleur automatique. M. Micro ligne. N. Paratonnerre.
- R. Récepteurs. LL. Bornes des fils de ligne.
S. Sonnerie polarisée. T. Borne du fil de terre.
PP. Bornes des fils de pile.. Bornes des fils du circuit primaire.
ss. Bornes des fils du circuit secondaire.
|
Equipements Ader pour le Théatrophone
(voir la page sur ce site)
Ecouteurs
ADER Exposition de 1881 
Le transmetteur Berthon
(fig. 66)
Il se compose dun boîtier en ébonite AA, sur le
fond duquel sont superposées: une rondelle de caoutchouc E,
une plaque de charbon C, une seconde rondelle de caoutchouc F, une
seconde plaque de charbon D, et enfin une troisième rondelle
de caoutchouc G; le tout estassujetti par une bague nickelée
H, qui se visse à lintérieur du boîtier.
La plaque C porte en c un anneau qui fait saillie et forme une sorte
de cuvette dans laquelle on place de la grenaille de charbon.
Cette grenaille se meut librement entre les deux plaques de charbon,
dans lespace qui correspond à la cuvette.
Les deux plaques de charbon forment ce que lon pourrait appeler
les deux pôles du microphone; elles sont reliées au circuit
primaire du transmetteur.
La plaque supérieure est vernie extérieurement, et cest
devant elle que lon parle.
|
 |
RG Brown de New York
a réussi dès 1878 à concevoir un combiné
émetteur-récepteur combiné, qu'il a utilisé
dans un central téléphonique local dans le district.
de la "Bourse de New York". Ayant peu de succès dans
la promotion de l'appareil ailleurs aux États-Unis, Brown partit
pour la France pour devenir ingénieur électricien à
la Société Générale
des Téléphones à Paris. Là,
ses créations trouvèrent un écho et leurs adaptations
furent largement utilisées en Europe, où elles devinrent
connues sous le nom de téléphones français ou
french téléphone.
1878 l'ingénieur Louis Berthon, sur le principe amené
par Brown, conçoit un combiné téléphone,
tout d'abord été destiné à un usage professionnel
et aux standardistes (les demoiselles
du téléphone), avant de rencontrer un vrai succès
public aux Etats-Unis, puis en Europe, une dizaine dannées
plus tard. (gravure à droite).
C est la naissance du combiné Berthon-Ader,
que lon saisit par une poignée et qui diminue lencombrement
de lappareil.
Ce modèle, fabriqué et commercialisé dès
1893, est le premier combiné destiné au public.
Surnom : la louche Berthon.
|
|
 |
Le combiné Berthon-Ader,
résulte de laccouplement dun microphone Berthon
renfermé dans un boîtier en ébonite avec un récepteur
Ader n° 3.
Le récepteur est monté à glissière sur
la barre dassemblage.
Vers le milieu de cette barre, un manche en ivorine maintient le cordon
souple à quatre conducteurs qui assure les communications.
Ce cordon se termine tantôt par des ferrets, tantôt par
une fiche à quatre lames que lon enfonce dans une mâchoire
à quatre contacts fermant du même coup le circuit secondaire
sur le récepteur et le circuit primaire sur le microphone.
Quelquefois la poignée porte un commutateur qui, par la pression
de la main, ferme le circuit microphonique.
Habituellement lappareil combiné est monté sur
un support à colonne que représente la figure 94.
|
N°2
N°2 Schéma
N°3 
N°5 N°8
N°8bis 
N°9 Cartel 
N°10 
N°10
 
Berthon N°10 et Lyre Berthon-Ader SGT avec louche Berthon et modèle
SIT avec louche système Eurireult.
Les autres modèles Ader sont à la rubrique SIT
.
sommaire
Les téléphones A.O.I.P
Association des Ouvriers en Instruments
de Précision : cette société fondée en
1896 plus précisément une coopérative ouvrière
a fabriqué des téléphones pendant plusieurs décénies,
notament le marty 1910 pour le compte de l'administration. 8 rue Charles
Fourier 70013 Paris.
Monographie de 1933 : Association des Ouvriers en Instruments de
Précision (1896-1933) 64
pages, format pdf
Aoip était aussi constructeur de centraux téléphoniques,
d'appareils de mesures ...
1901 1910
1920 
Tableau 1923
1934 
1940 borne d'appel
Appel pompier
U43 
sommaire
Les téléphones Automatic Electric
Consultez la page "Automatic
Electric"
sommaire
Le téléphone AYRES Brown
Ce téléphone construit par Brown Ayres, de l'institut Stevens,
d'Hoboken (États-Unis), se distingue par une organisation simple
et une action énergique.
La figure 39 en donne la coupe en Jong.
La boite a, de 17 centimètres de. longueur et 7 centimètres
de diamètre, est en bois d'acajou. A travers le bloc cylindrique
de bois, on a creusé un trou de 5 centimètres de diamètre,
dans lequel les aimants se trouvent fortement enserrés et fixes,
mais peuvent toutefois glisser au moyen de la vis v, Ils se composent
de deux aimants en fer à cheval, m, m, chacun de 7 centimètres
5 de longueur, et sont semblables à ceux que l'on trouve chez
les quincailliers. Ces deux aimants sont réunis en ce que l'on
appelle un aimant composé, et séparés par
un morceau de bois t, d'environ 3 millimètres d'épaisseur;
les pôles de même nom sont placés l'un sur l'autre.
Entre chaque paire de pôles semblables, on serre un morceau
de fil de fer doux, i, à peu près de 4 à 5 millimètres
de diamètre et de 30 millimètres de longueur, dont l'un
des bouts sur une longueur de 15 millimètres, a été
limé à plat des deux côtés; cet ensemble
magnétique est, à l'aide de deux morceaux de bois w,
w, et deux vis abois, réunis en un tout solide, comme le représente
la figure 39.
|
 |
A la partie de derrière des morceaux de bois w,est
fixée au moyen de petites vis une bande de laiton d. C'est à
travers le milieu de cette bande, qui est tendue dans l'intérieur
de la boîte de bois, que passe la vis v au moyen de laquelle on règle
l'écartement, entre les pôles magnétiques et la membrane.
Sur chacun des deux morceaux de fer i, qui dépassent les pôles
magnétiques, se trouve placée une petite bobine b, en carton,
bois de buis ou caoutchouc durci, entouré de fil de cuivre recouvert
(n° 38 de la jauge de Birmingham).
Chacune des deux bobines a 13 millimètres 5 de; longueur et 12 millimètres
5 de diamètre. Les deux bouts de fil des bobines sont réunis
par les bornes qui servent à intercaler l'instrument dans le circuit.
La membrane é est faite en tôle de. fer mince légèrement
vernie. La bonne marche de l'appareil dépend de la qualité
de cette tôle. Le porte-voix a la même force que ceux des téléphones
ordinaires. La supériorité de ce téléphone consiste
dans la force de son aimant, ce qui est essentiel pour un téléphone.
Cet instrument a environ 80 ohms de résistance et sur un fil de 120
kilomètres, avec une résistance beaucoup plus forte, le résultat
des conversations engagées a été très satisfaisant.
J'ai
retouvé la description de ce téléphone dans le livre
"Le
téléphone le microphone et le radiophone 1885" de
Swartze Théodor,
qui a certainement été inspiré de l'article du journal
de l'université de 1878.

sommaire
Les téléphones DARSONVAL
et Paul BERT (ou une page de ce site est consacrée à
d'Arsonval)
25 rue de la Montagne Sainte-Geneviève 75005 paris
Laimant du récepteur dArsonval (fig . 5) est un
anneau brisé (fîg. 6). Sur lun des pôles est vissé
un noyau de fer doux qui supporte une bobine de 200 ohms de résistance.
(Anneau brisé ou appelé anneau en fer à cheval)
 
Sur lautre pôle est fixé un anneau de fer doux entourant
la bobine, dont les spires sont ainsi comprises entre les deux surfaces
polaires de laimant.
Le boîtier est en laiton nickelé; il supporte la plaque vibrante
en tôle étamée, dont le diamètre est de 61 mm
et l'épaisseur de 0,31 mm. Le couvercle est garni dun pavillon
en ébonite. Ce récepteur est construit par la maison L.Digeon
et Cie ou par la maison Lenczwski
Le transmetteur DARSONVAL :
 
Les trois prismes de charbon A, A,, D (fig. 39) sont boulonnés
sur la planchette de sapin XY. Entre ces trois prismes sont placés
quatre cylindres de charbon, tels que C, dont chacun est entouré
dune enveloppe de tôle nickelée c. Les quatre charbons
cylindriques sont mobiles entre les prismes qui leur servent de support;
ils sont montés par deux en dérivation et par deux en série.
Un aimant en fer à cheval NS est fixé sur le ressort R. Cet
aimant a pour objet de régler la mobilité des charbons en
agissant sur leur gaine de tôle c. Pour cela, il faut que. suivant
les besoins, on puisse augmenter ou diminuer l'espace qui sépare
laimant des cylindres de char bon.
A cet effet, le ressort R qui supporte laimant NS est commandé
par une came excentrée B.
La came de réglage B est calée sur laxe bb qui se prolonge
dune face à lautre de l'appareil et qui est absolument
indépendant de laimant NS. Dun côté, son
extrémité est filetée et sengage dans un écrou
F fixé à lébénislerie du transmetteur
; de lautre, lextrémité b tra verse une pièce
métallique E, également fixée à lébénisterie
; mais, sur la face opposée, b se termine par une tête de vis
masquée par une contre-vis Y, que lon enlève pour opérer
le réglage.
Si, au moyen dun tournevis, on fait avancer ou reculer d'un pas de
vis laxe bb, ce qui ne déplace pas sensiblement la came B dans
le sens latéral, on fait exécuter à cette came une
révolution complète et, en raison de son excentricité,
on passe par toutes les positions de réglage que le microphone est
susceptible de recevoir ; ce réglage peut se faire pendant la conversation.
La clé dappel, à double fil, se compose de deux
systèmes semblables à celui que représente la figure
40.
Sur la plaque débonite E, fixée à la partie supé
rieure GG du boîtier, sont adaptés trois plots A, B, C ; lautre
face de la clé présente une disposition identique.
Dans chacun de ces deux groupes, le plot C représente le massif de
la clé, A est le plot de repos, B le plot de travail.
Sur le bouton-poussoir P, sont montés deux ressorts parallèles
r, r,, frottant lun sur le groupe de plots CBA antérieur, lautre
sur le groupe postérieur. Ces deux ressorts sont isolés lun
de lautre par la pièce débonite E, ; leur extrémité
rK nabandonne jamais les plots C ; mais lextrémité
r passe des plots A sur les plots B, lorsquon appuie sur le bouton
P. Ce dernier est ramené à sa position de repos par le ressort
R. Les écrous F, F, F, servent à attacher les fils de com¬
munication ; il en existe également trois sur le groupe postérieur,
qui na pas été représenté.
Dans la figure 41 le levier-commutateur est vu en
dessus.
Cest une tige métallique AB qui pivote autour de la vis à
centre V. Cette tige porte cinq ressorts : a communique avec AB, b et c
sont accouplés et isolés de AB par la lame débo¬
nite f\dete sont également accouplés et isolés de AB
par la lame débonite . En regard de ces ressorts, sont disposés
des plots que la figure 41 représente en plan et en élévation.
Les plots H, J, sont composés chacun de deux blocs métalliques
montés sur ébonite : g, h pour le plot II, i, j pour le plot
J. Le plot K est entièrement en métal. Le plot M comprend
trois blocs métalliques l, m, n, montés sur ébonite.
L'axe du levier AB supporte la prise de communication N ; le ressort antagoniste
est accroché en G sur le levier lui-même.
Lorsque le crochet mobile est a avec g , b avec î , c avec A, d et
e avec l. Lorsque le crochet est relevé pour la conversation, a est
appuyé sur h, b sur j, c sur k, d sur m, e sur n.
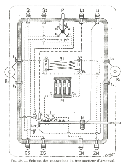
La figure 42 montre le diagramme des communications
intérieures; elles y sont représentées vues par
la face postérieure de lappareil, comme lorsquon
démonte celui-ci ; les bornes sont donc retournées,
et le crochet mobile dirigé vers la droite.
Pour permettre de voir clairement les communications, le levier-commutateur
a été figuré en plan ; il est dans la position
de conversation ; de même, les ressorts de la clé dappel
ont été placés verticalement, bien quils
soient horizontaux.
La communication L,N est un toron de fils de cuivre qui traverse le
ressort antagoniste, formé par un long ressort à boudin.
Dans la position dappel, les plots j, h , m, n sont isolés
; les ressorts d, e, sont appuyés, sur le plot l, mais sans
communication électrique.
Les courants d'appel venant de la ligne passent par L1 ... S1
, sonnerie,. S2 ... L2
Pour repondre, on appuie sur le bouton-poussoir P ; les ressorls r1,
r2 abandonnent les- plots s1, s2 et prennent contact avec les plots
p1, p2, tout en restant en relation avec les plots u1, ti2. Le courant
de la pile CS, ZS va sur la ligne par CS, L2 ... p2, fait fonctionner
la sonnerie du correspondant et revient a ZS par L2, A, c, b, i, â2,
r2, p2.
Pendant la conversation, le circuit primaire est ferme par : pile
microphonique, CM ... z1, enroulement primaire de la bobine BL, y1,,
ZM. Le circuit secondaire est constitue par L,, N, a, A, recepteur
R2, Z3, c2, enroulement secondaire de la bobine B1 ...L2, ligne, poste
du correspondant.
On voit que, dans la position d'appel, l'independance absolue des
circuits est assuree. Le circuit primaire etant isole en m et en n,
le circuit secondaire en j et en h. Pendant que le poste recoit l'appel,
sa pile est isolee enp p1 rt p.2 ; lorsqu'il repond, sa sonnerie
est isolee en s1, et s2. L'independance est egalement obtenue
pendant la conversation; il est facile de reconnaitre, en effet, que
le circuit primaire est completement separe des deux autres ; quant
au circuit dfappel, il est isole en 1{ et p.2 pour la pile,
et en f, g pour la sonnerie. |
 |

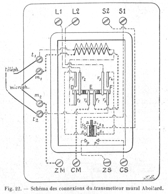
Le modèle mural et le modèle portatif,
construits par la maison L. Digeon et Cie
(France), sont absolument identiques sous le rapport du système
dappel et du mécanisme de commutation.
Lappareil portatif nest, en quelque sorte, quun
transmetteur mural monté sur colonne. Les modèles plus récents
sont équipés de recepteurs Aubry.
Le tout premier modèle mural et le premier mobile de 1882 appelé
le "miroir"
Rare modèle 1882
Deuxième modèle d'Arsonval plus petit, avec le microphone
et le nouvel aimant recourbé
détail du micro.
Deux Modèles plus anciens avec "écouteur décalé"
signé L.Digeon et Cie et un autre avec avec écouteurs Sieur.
Combiné d'opératrice

L'Ecouteur Aubry qui équipa les modèles d'Arsonval
suivants

Lorgane magnétique du récepteur Aubry
(fig. 7 et 8) est un aimant circulaire dont les pôles convergent
vers le centre.
  
Sur chacun de ces pôles est vissé un noyau de fer doux qui
supporte une bobine de 100 ohms. Les deux bobines, montées en série,
ont une résistance de 200 ohms. Cet ensemble est assujetti sur
une plaque métallique dite membrane porte-aimant ; elle est percée
de deux trous pour laisser passer les deux extrémités du
fil de la bobine qui vont rejoindre les bornes extérieures, isolées
du boîtier métallique.
La plaque vibrante, en tôle étamée, a 61 mm de diamètre
et 0,32 mm dépaisseur. Le couvercle est muni dun pavillon
en ébonite.
Ce récepteur est construit par la maison L.
Digeon et Cie (France).
sommaire
Les téléphones Baillehache
M. De Baillehache, Inventeur français , 54 rue
ampère 75017 Paris.


sommaire
Le téléphone BANCELIN
Edmé Henry Bancelin, Ingénieur-électricien,
21 rue Le Verrier, Paris puis 10 rue Meslay, Paris


La suppression du paratonnerre a permis au constructeur de simplifier
les communications.
Les récepteurs ne sont plus, comme dans les anciens appareils,
montés en dérivation sur les deux fils de ligne.
Le levier mobile est formé par deux pièces métalliques
A, C (fig. 15), réunies par une équerre en ébonite
E qui les isolc l'une de l'autre. Enfin, la forme des ressorts a été
modifiée d'une manière heureuse.
- La figure 16 permet de suivre la marche des courants.
Dans la position d'appel, le courant arrivant par LI passe par R, levier
mobile, b, r, h, S', sonnerie, S2, c, d, t.t, L2, ligne de retour ou terre.
En appuyant sur le bouton d'appel, pour envoyer la réponse, le
courant de la pile d'appel circule entre CS, g, r, b, R, L, ligne, L2,
Z S, pile.
L'appareil étant dans la position de conversation, le circuit primaire
est fermé par CM, x, microphone, y, r, f, p, Z M, pile de microphone;
le circuit secondaire est constitué par L\ R, a, s, tl, récepteur
de gauche, t2, t\ récepteur de droite, i4, L2, ligne.
 
sommaire
1885 Le bouton
téléphone BARBIER : 9 rue Fromentin 75009 Paris.
Société O.Barbier et Cie, brevet 168.376
Bouton Double
Plus de détails à la rubrique "bouton
téléphone"
Les appareils des stations d'un réseau téléphonique
sont trop chers et trop encombrants pour être employés dans
la maison d'une chambre à une autre. D'abord on n'a pas besoin
d'appels aussi puissants que dans un réseau où il faut quelques
fois pouvoir sonner à des dizaines de kilomètres de distance
; ensuite on peut, au lieu de placer une pile à chaque station,
se servir d'une pile commune.
1887 Le bouton téléphone
de Herz
M. le Dr. Herz déjà connu
pour son téléphone à condensateur, a fait encore
un pas en avant dans la question du bouton-téléphone
en y appliquant, outre le téléphone récepteur,
un microphone.
Ce microphone, de dimensions très réduites et ressemblant,
dans son arrangement, au système de M. Dejongh, est logé
dans le socle du bouton-téléphone.
Son installation sur les réseaux de sonneries est toutefois
compliquée, voir
l'article dans "La
Lumière Electrique 1er janvier 1887"
|
  |
Mais c'est le Bouton téléphone de M. Barbier
qui a fait le plus d'audiance. il a créé un modèle
simple, économique s'adaptant très simplement sur les réseaux
de sonneries domestiques existants de l'époque.
sommaire
D'autres téléphones domestiques :
Des tentatives ont été faites de divers côtés,
en vue d'accommoder le téléphone à ces besoins domestiques;
mentionnons par exemple MM. Ch. Mildé fils et Cie, radiguet,
Pernet, Hasler ... ces installations étaient peu coûteuses
et beaucoup de gens à cette époque n'avaient pas encore le
besoin et les moyens pour investir dans une installation de téléphone
sur le réseau de l'état.
M.F; Heller à
Nuremberg a aussi construit une station téléphonique simple
destinée au service domestique. La station complète ressemble
beaucoup à un poste Ader N°1 employées par la Société
générale des téléphones Paris;
sommaire
La poire microtéléphonique de E. Figuera, Brevet
1891
Et aussi Ducrotroy
sommaire
Autre forme de téléphone domestique : le téléphone
espion ou Microphone secret . Oui ça a existé très
tôt.
---
Les Téléphones ULLMANN

sommaire
Les Téléphones
BELL
Les premiers téléphones (1876-1877
introuvable)
   
 
|
Les TELEPHONES réversibles BELL
1877-1878
Dès 1878, dans presque toutes les expositions
des sections étrangères nous trouvons des récepteurs
Bell en grand nombre; ces récepteurs ne diffèrent
pour ainsi dire pas des premiers modèles mis en service.
Cest un barreau aimanté dont lune des extrémités
est garnie dune bobine délectroaimant; en regard,
la plaque vibrante en tôle est pincée entre une embouchure
en ébonite et une gaine de même matière qui
enveloppe tout linstrument.
Dans ce téléphone à manche (fig. 9), les bornes
dattache des cordons, auxquelles viennent aboutir les extrémités
du fil de la bobine, sont situées à la partie inférieure.
Une gorge, ménagée dans lenveloppe en ébonite,
permet de sus pendre linstrument au transmetteur, dont le
levier-commutateur se termine par une fourche.
Au milieu : Le premier modèle Breguet-Roosvelt
|
|
On le sait, quand apparurent en France les premiers prototypes
de téléphone présentés par Breguet
non seulement ils ne retinrent pas l'attention de l'auditoire savant auquel
ils étaient présentés, mais encore l'idée même
de les imaginer fonctionner en réseau ne semblait pas pouvoir se
formuler clairement.
Il a été construit de nombreux modèles de conception
Bell, modèles apportant des améliorations d'audition,
de sensibilité .... d'éfficacité. Rapidement
il a été construit des appareils complets sous forme de tableau,
utilisant ces appareils de recepteur/transmetteur, pour les installations
intérieures, ou en remplacement des appareils acoustiques, et se
montant sur les systèmes de sonneries alors largement utilisés
dans les propriétés privées comme ces modèles
assez rares :
Mural Bell Ducretet Bell-Breguet

Siemens &
Halske Suisse. Hipp
Caudery
Ayres Brown
Breguet
Voir ma collection
de Butterstamp (Hand téléphone ou poires Bell)
En France il n'y a pas eut d'autres Téléphones
BELL d'installés, la société Bell n'a pas obtenu
de brevet d'exploitation pour la France, contrairement à nos voisins
Anglais, Belge, Suisse ... Ces vieux téléphones
ressortent dans les ventes et les brocantes, les modèles étaient
nombreux.
Hasler-Bell
Bell
Le 26 novembre 1881, American Bell prit une participation majoritaire
dans la Western Electric Manufacturing Co., la fusionnant avec la propre
usine de fabrication de Bell à Boston et la réorganisant
sous le nom de Western
Electric Company, qui fit ses débuts le 6 février
1882.
Western Electric était désormais le seul fournisseur
de téléphones et d'équipements téléphoniques
du système Bell.
sommaire
LES MICROS DE CHICHESTER BELL
Chichester Bell , était le cousin germain d'Alexander
Graham Bell.
Chichester Bell a déposé ce brevet et deux autres brevets
américains (336 082 et 336 083) le 16 février 1886.
Je me demande pourquoi ; le microphone à charbon existait depuis
huit ans et il aurait dû être clair qu'il était plus
pratique qu'un système impliquant des pompes et des réservoirs.
Principe : un jet étroit de liquide tombe verticalement
du tube A et crée une zone de contact de taille variable entre
deux électrodes.
Photo de gauche sur les figures 8 et 9, le principe de
fonctionnement semble être plutôt différent ; désormais,
le courant circule sur toute la longueur du jet et est modulé par
les variations du diamètre du jet. Les diagrammes sont initialement
mystérieux car aucun diaphragme de microphone n'est représenté.
L'idée énoncée dans le texte du brevet était
que le jet lui-même capterait les ondes sonores ambiantes ; Je suppose
que nous devons accepter l'assurance de Bell selon laquelle cela a fonctionné,
mais cela a dû être très insensible par rapport aux
versions utilisant un diaphragme.
Photo de droite Ce dispositif improbable utilise l'une des
configurations de microphone ci-dessus, apparemment la figure 6 de la
figure 7. L'acide est stocké dans le réservoir
supérieur W. Le fluide commence à s'écouler lorsque
le récepteur est retiré du crochet 3, ouvrant la vanne Z,
et un liquide le jet émerge du tube A, comme dans le schéma
ci-dessus, et est sollicité par le son ; il n'y a pas de diaphragme
donc il devait être très insensible. Le liquide s'écoule
dans le réservoir inférieur X.
sommaire
Les téléphones BENARD
Benard 12 14 17 rue bridaine et 47 rue des Batignoles
75017 Paris



Ces appareils sont rares et peu documentés.
sommaire
Le microphone de BASSOMPIERRE
sommaire
Les téléphones BERLINER (Voir
la page sur Emile Berliner)
Le premier microphone Berliner : Le microphone Berliner, qui est construit
par l'American Bell téléphone company,
est représenté figure ci contre dans sa position à
moitié ouverte.
L'instrument est simple
et compact et ne peut pas facilement se déranger. Sa particularité
consiste dans la disposition des constacts de charbon. Un des charbons
a de ce contact est fixé au centre de la membrane, tandis que
l'autre charbon b est placé dans une capsule qui est portée
par une bande de cuivre c, munie d'une charnière qui se trouve
attachée à un bras d placé sur le côté
de derrière de la boîte sonore c. Ce charbon disposé
de cette manière est par conséquent mobile et son extrémité
arrondie se place facilement sur le bout plat du premier charbon.
Le bras mentionné plus haut a un double but; il supporte d'une
part l'électrode de charbon mobile et de l'autre il sert à
fixer la membrane sonore sur la partie de derrière de la boîte
sonore de fer. La membrane sonore est couverte sur le bord avec de
la gomme molle g, et séparée de la boite sonore par
une bague en carton. La boîte sonore de fer c est réunie
par une charnière à un morceau de fonte k, fixé
dans une boîte ronde; cette boite contient la bobine d'induction
l, et les bornes pl,p2 p3, p., pour les fils de la ligne et la ligne
de terre. Devant la bobine d'induction se'trouve rapportée
une
plaque i, réunie avec le fil de la batterie; cette plaque porte
un ressort b, dont le bout libre est armé d'une vis
v ; cette vis pousse avec sa tête contre un autre ressort b'
qui est posé au centre de la membrane sonore et
qui remplit autant le service d'amortisseur que celui de conducteur
par lequel passe le courant pour se rendre
à l'électrode de charbon a également placé
sur le milieu de la membrane. Le courant de la batterie rentre par
une des bornes p', passe parle fil primaire de la bobine d'induction
et par les deux ressorts f et f dans l'électrode de charbon
fixé sur la membrane et la boîte sonore, enfin par la
charnière et se tourne par la borne
p à la batterie. |
 |
Par suite des oscillations de la membrane sonore excitées
par la voix, le contact de l'électrode de charbon entre en vibration;
ces vibrations de contact appellent dans le circuit de la spirale primaire
des vibrations de courants correspondantes et, par suite des courants ondulatoires
provenant de la batterie qui traversent la spirale, il se produit dans la
spirale secondaire, des courants ondulatoires d'induction qui se transmettent
par la ligne au récepteur téléphonique.
L'instrument fonctionne parfaitement bien avec tout téléphone
ordinaire (récepteur) de bonne construction et par suite il est très
répandu.
Si l'on emploie ce microphone pour de longues lignes, il faut que l'électrode
de charbon mobile soit suffisamment lourde pour vaincre, par un contact
plus intime, la résistance du circuit et augmenter les courantsondulatoires
dans la spirale primaire
En 1886 Sous ce nom, M. Berliner a désigné
un microphone qui, au moyen de deux boulons, peut sadapter aux postes
de tous les systèmes.
La figure 74 en représente une vue densemble, et la figure
75 une coupe.
 
Sur le boîtier métallique B, qui soutient les deux boulons
servant à fixer linstrument, est vissé un couvercle
C, terminé par lajutage A, auquel sadapte l'embouchure
D. Entre le boîtier et le couvercle C est pincée la plaque
de charbon M, qui constitue la plaque vibrante. Un bloc de char bon E
est fixé par un boulon au boîtier B.
Le bloc de charbon E, dans lequel des rainures circulaires et concentriques
ont été creusées, forme avec la lame de charbon une
boîte conique remplie de granules de charbon. Le bloc E est isolé
du boîtier B ; sur sa face inférieure il en est séparé
par une lame de fibre vulcanisée, et le boulon b est entouré
débonite. Un ressort r réunit le bloc E à la
tige F. La plaque de charbon M repose sur le boîtier B et communique
avec la tige G. A sa partie supérieure, cette plaque est recouverte
par un disque de mica sur lequel repose une rondelle en carton. Le couvercle
C, qui se visse sur le boîtier, porte un ressort r terminé
par un petit disque de feutre a, qui sappuie sur le disque de mica.
Dautre part, le bloc E est entouré dun anneau de feutre
H, qui repose sur la périphérie de la membrane en charbon
M.
Le disque de feutre a et lanneau de feutre H forment des amortisseurs
qui empêchent les crachements.
Ce microphone est construit en Autriche par la Société
anonyme de la fabrique de téléphones, à Vienne.

  
 
sommaire
Les téléphones BLAKE ,
ateliers 7 avenue de l'Opéra 75001 Paris
De tous les perfectionnements auxquels le téléphone
d'Edison a donné naissance un des plus remarquables est celui dû
à M. Blake.
Par son ingénieuse combinaison cet appareil peut être classé
également au nombre des parleurs microphoniques à charbon
les plus puissants.
Dans le transmetteur Blake, comme dans celui d'Edison, dit M. le comte
Du Moncel, le contact des charbons au lieu d'être effectué
par la pression
de deux pièces, dont l'une est fixe et l'autre mobile, ce qui rend
l'appareil impressionnable aux actions physiques extérieures, est
constitué par deux organes mobiles qui sont toujours en contact
léger l'un avec l'autre et qui sont complètement indépendants
du diaphragme.
 |
La figure donne tous les détails
de la disposition intérieure du transmetteur :
h est une pastille de charbon. g, disque de cuivre dans lequel est
fixée cette pastille. d, ressort d'acier, c est une petite
pointe de platine formant le contact avec le charbon, rivée
à un ressort très mince. C est le diaphragme.
Les deux ressorts d et ce sont isolés par une lame en os et
fixés à un levier en fonte F, sur la partie inférieure
de celui-ci appuie une vis G qui sert au réglage de l'appareil,
soit qu'on veuille éloigner ou rapprocher le levier du diaphragme,
afin d'augmenter ou de diminuer le contact du charbon avec la pointe
de platine. I est une bobine d'induction dans le circuit de laquelle
passe le courant de la pile dite pile du microphone, et dont l'un
des pôles est en communication au moyeu d'un fil avec le bâti,
tandis que l'autre pôle est rattaché par un fil au ressort
cc. |
On a donné différentes dispositions au transmetteur
Blake :
Celle que nous venons de décrire est la forme primitive ; actuellement
le type le plus en usage est celui ci .
 
C'est sous cette forme qu'il est employé en Amérique, combiné
avec une sonnerie magnétique dite " Magnéto Call ".
Un téléphone Bell sert de récepteur, il est suspendu
à un contact faisant commutateur, et le transmetteur est le microphone
en question dans lequel on fait passer le courant d'une pile Leclanché.
C'est cette combinaison d'appareils Blake et Bell, comme on peut s'en rendre
compte en Belgique, que l'International Bell Telephone Company a adoptée
pour tous ses réseaux téléphoniques en Amérique
et en Europe.
 |
Toutes les parties de l'appareil téléphonique
sont réunies sur une planche : la sonnerie Magneto, le microphone
Blake, le Téléphone .
Bell avec son cordon spécial et la pile contenue dans une boîte
formant pupitre sur lequel on peut écrire ou lire pendant qu'on
se sert de l'appareil pour communiquer, ce qui se fait en portant
le téléphone Bell à l'oreille et en causant à
25 centimètres de l'embouchure du microphone.
Mais de toutes les dispositions qui ont été imaginées
pour le microphone Blake, la plus simple, la plus commode, et la moins
coûteuse, c'est celle appliquée à l'appareil qu'employait
M. Bede lorsqu'il installa les premiers réseaux téléphoniques
dans les principales villes en Belgique.
Le transmetteur conserve la forme , mais on y ajoute un bouton d'appel
et un crochet formant commutateur sur lequel repose le téléphone
Bell relié au microphone par le cordon .
À chaque transmetteur on joint une sonnerie trembleuse qui
fonctionne au moyen d'une batterie de 2, de 4, de 6 ou de 8 éléments
Leclanché, suivant la distance qui sépare le poste transmetteur
du poste récepteur. Pour parler à son correspondant,
il suffit de presser sur le bouton d'appel qui fait fonctionner la
sonnerie placée chez ce dernier. Dès qu'il a répondu,
on décroche le téléphone que l'on met à
l'oreille et l'on parle dans le microphone de sa voix naturelle à
25 ou 30 centimètres du transmetteur .
Cet appareil ainsi disposé peut fonctionner à plus de
25 kilomètres.
L'usage de ce microphone Blake ainsi disposé tend à
se généraliser chaque jour de plus en plus par suite
de la facilité avec laquelle on peut l'installer ; il se recommande
en outre par le peu d'entretien qu'il nécessite et par son
prix minime relativement surtout à celui des autres appareils
téléphoniques d'Ader, d'Edison, de Gower, de Crossley,
etc., etc. |
|
Les entrepreneurs qui s'occupent spécialement
d'installations téléphoniques privées comprenant,
comme on sait, toutes les communications en dehors des réseaux
établis par les compagnies soit pour relier entre eux établissements
industriels, des châteaux avec leurs fermes ou des administrations
emploient de préférence le transmetteur Blake que
nous venons d'indiquer.
Un simple coup d'oeil jeté sur le diagramme de la pose (voir
planche ) de cet appareil montrera la facilité avec laquelle
on peut le placer.
La figure ci contre. montre le poste tout monté
avec le microphone Blake, son récepteur Bell et la sonnerie
d'appel.
Ce transmetteur est choisi généralement de préférence
à tout autre par suite du peu de place qu'il exige et de
la facilité que l'on a de placer la sonnerie ou les sonneries
de cet appareil dans un appartement autre que celui dans lequel
il se trouve, de telle sorte que la sonnerie d'appel peut être
entendue de toutes les parties d'une maison.
|
 |
sommaire
Les téléphones BOISSELOT
Ce récepteur électro-magnétique, présenté
en 1886 à la Société internationale
des Électriciens, donnait des résultats remarquables
comme intensité et netteté. Il se composait, de deux plaques
vibrantes et d'un aimant recourbé en demi-cercle et fixé par
ses facespolaires à la cuvette du téléphone par deux
oreillettes, de façon à ne pas toucher les noyaux des bobines
rivées à la plaque inférieure qui est en matière
isolante.
Les deux faces polaires de l'aimant se trouvaient placées en regard
des deux noyaux de fer, à un écartement convenable, et l'aimantation
produisait son effet maximum.

Les deux bobines indépendantes sont enroulées sur des
armatures système Maiche et permettent un réglage parfait.
C'est la maison Maiche et C ie à Paris qui a le débit de ces
téléphones.
Vu dans L'étincelle électrique de 1887 .M.
Boisselot présente un téléphone magnétique dont
il est l'auteur et qui donne, sans microphone ni pile, des résultats
aussi intenses et aussi nets que les appareils actuellement en usage. Il
parle des inconvénients du microphone, qui use les piles, ou surtout
lorsque l'on oublie de raccrocher le téléphone ou lorsque
le commutateur fonctionne mal. Il décrit son appareil, composé
de deux plaques vibrantes, de deux petites bobines et d'un aimant courbé,
qui est fixé à la cuvette du téléphone par deux
oreillettes, de façon à ne pas toucher les noyaux en fer des
bobines, rivés à la plaque inférieure, laquelle est
diamagnétique (maillechort laminé). Les deux pôles de
l'aimant se trouvent en regard des deux noyaux de fer, à un écartement
convenable, et l'aimantation se fait par influence à distance.
M. Boisselot n'explique pas la production des phénomènes qui
doivent avoir lieu dans son téléphone et en font sa supériorité
sur les autres.
Il rappelle simplement que, toutes les théories du téléphone
étant erronées jusqu'à présent,il ne croit pas
utile d'en faire de nouvelles. Il se charge d'ailleurs de faire la preuve
de ce qu'il avance.
Pour l'assertion démonstrative, un téléphone placé
sur le bureau du Président fait entendre de la musique et du chant
avec une intensité assez grande, mais, nous devons le constater impartialement,
l'articulation du chant laissait un peu à désirer. Toutefois,
nous devons prendre en considération que les expériences étaient
faites dans une salle mal disposée pour amplitier les vibrations
sonores, et nous félicitons incèrement M. Boisselot de son
heureuse innovation.
sommaire
Les Téléphones BOURDIN 1892
Sa construction reste sensiblement la même; que les autres, le fabricant
s'est borné à appliquer les prescriptions de la note administrative
du 10 juin 1892. Il y avait deux modèles : transmetteur vertical
et incliné.
Modèle vertical

Le transmetteur est particulier avec 4 lames de charbon cylindro-coniques
inclinées en regard de 2 blocs de charbon,
Le microphone Bourdin, dont M. Dieudonné réclame la paternité,
se distingue par son originalité. Sur la plaque en sapin P (fig.
111), quatre lames de charbon C,C, C, Csont isolées l'une de l'autre.
Dans un évidement de la boîte, et en regard de ces lames
de charbon, deux blocs, également en charbon, sont vissés
sur une planchette fixe. On voit en D D' un plan de ces blocs, en D"
une coupe transversale.
 |
Chacun de ces blocs est percé
de huit trous cylindriques, dont les axes sont inclinés sur
1'horizon d un angle supérieur a 45 degrés. Un morceau
de charbon cylindro-conique B est placé dans chaque trou; il
s 'y meut librement sans pouvoir en sortir, car il est arrête
d'un côté par la planchette sur laquelle sont vissés
les blocs de charbon, de l'autre par les lames de charbon collées
sur la plaque microphonique.
Les charbons cylindre-coniques s'appuient par leur pointe sur les
lames de charbon C, C, C, C; chaque lame en supporte quatre. Il résulte
de la position inclinée de ces charbons, élimine les
poussières par l'ation de la pesanteur.
Le crochet commutateur est monté sur un resort R, la chape
qui le supporte est installée sur une plaque en ébonite
qui l'isole de la boite de l'appareil. Quant au corps du crochet,
il comprend deux parties : la portion principale C C est vissée
sur le ressort R; une pièce f, en laiton, est rapportée,
et montée sur 1 equerre en èbonite c; la pièce
métallique f est donc complètement isolée du
reste du système.
Lorsque le récepteur est suspendu au crochet, et que celui-ci
est abaissé, la masse métallique C C touche la paillette
e (fig. 114) seulement; la paillette cl, en raison de sa courbure,
qu'il n'a pas été possible de représenter sur
la figure, repose sur la partie en ébonite et est isolée.
Dans cette position, le circuit d'appel est fermé. Quand le
crochet est relevé, la pièce f met en communication
les paillettes a et b ; d communique avec le massif CC, c est isolé.
C'est pour montrer cette disposition, et pour faire voir plus aisément
les conducteurs boite, D de la ont été rabattus dans
la figure 114.
Un second modèle, présenté par la maison Mildé,
a été admis sur les réseaux de l 'État.
C est ce modèle que représente la ligure 110. La planchette
microphonique, presque verticale, est légèrement incliner
en avant. Le pupitre, qui renferme le mécanisme, sert d'appui
pour prendre des notes ou pour transcrire la correspondance. Les organes
essentiels sont les mêmes que ceux du modèle mural, sauf
le crochet mobile qui est tout différent. Ce crochet, en métal
nickelé, pivote autour d'un axe o (fig, 116); un ressort antagoniste
R tend à relever l 'extrémité, D. L extrémité
opposée est en forme d'anneau; l'ouverture de cet anneau est
bouchée par une rondelle en ivoire, traversée elle-même
par une goupille métallique f f, la goupille f f est, par conséquent,
isolée de tout le reste du système. Quand le crochet
mobile occupe la position que représente la figure 116, c'est-à-dire,
quand le récepteur est sus- pendu, la partie antérieure
du levier appuie sur le ressort a; le circuit d appel est fermé.
Le courant venant de la. ligne
passe successivement par la borne L, la plaque inférieure du
paratonnerre P, l'axe du levier o, le ressort a, la clé d'appel
C,la borne S, la sonnerie et la terre, ou le fil de retour, par la
borne T.
|
Si le crochet est relevé, sa partie antérieure
presse le ressort b, tandis que la goupille f f réunit les deux
ressorts c, d. Les courants venant de la ligne arrivent, comme précédemment,
à l'axe o du levier, traversent le ressort b, le circuit secondaire
de la bobine d'induction, les deux récepteurs et
sortent par la borne T. Le circuit microphonique est, de son côté,
fermé par les ressorts c, d et la goupille f f qui les unit; ce
circuit comprend, comme d'habitude, la pile, le microphone et le circuit
primaire de la bobine d'induction.
Transmetteur forme pupitre .
Un second modèle présenté par la maison Mildé
a été admis à fonctionner sur les réseaux
de l'État .
La planchette microphonique , presque verticale , est légèrement
inclinée en avant . Le pupitre qui renferme le mécanisme
sert d'appui pour prendre des notes . Les organes essentiels sont les
mêmes que ceux du modèle précédent , sauf le
crochet mobile qui est tout different . Ce crochet , en métal nickelé
, pivote autour d'un axe ; un ressort antagoniste tend à relever
l'extrémité . L'extrémité opposée est
en forme d'anneau ; l'ouverture de cet anneau est bouchée par une
rondelle en ivoire traversée elle - même par une goupille
métallique ; la goupille est , par conséquent , isolée
de tout le reste du système . Quand le crochet mobile occupe la
position quand le récepteur est suspendu , la partie antérieure
du levier appuie sur le ressort ; le circuit d'appel est fermé
. Le courant venant de la ligne passe successivement par la borne L ,
la plaque inférieure du paratonnerre P , l'axe du levier , le ressort
, la clef d'appel , la borne , la sonnerie et la terre ou le fil de retour
par la borne T. Si le crochet est relevé , sa partie antérieure
presse le ressort b , tandis que la goupille réunit les deux ressorts
. Les courants venant de la ligne arrivent comme précédemment
à l'axe du levier , traversent le ressort , le circuit secondaire
de la bobine d'induction , les deux récepteurs et sortent par la
borne T. Le circuit micro phonique est , de son côté , fermé
par les ressorts , et la goupille qui les unit ; ce circuit comprend ,
comme d'habitude , la pile , le microphone et le circuit primaire de la
bobine d'induction.
Modèle Mildé
incliné
Après 1892 on n'admet plus sur les réseaux qu'un seul type
de transmetteur Bourdin, le modèle Mildé plan incliné.
Les récepteurs sont des écouteurs Mildé : à
cassolette pour le modèle vertical, gros anneaux pour l'incliné.
sommaire
Le Téléphone BOURSEUL.
En 1879 Bourseul imagine
un microphone à grenaille : "deux charbons de cornue cylindryques
sont enfoncés dans un manchon de caoutchouc très souple.
Le manchon serre les deux charbons qui s'y trouvent placés à
1/2 mm l'un de l'autre. Il se forme ainsi un petit espace clos que je
remplis de poudre de coke". Bourseul après plus de 200 essais
n'est toujours pas satisfait,
 
Transmetteur Bourseul Brevet N° 201 002 du 28 sept 1889
Lappareil consiste, comme on le sait, dans deux planchettes de bois
montées parallèlement lune devant lautre sur
deux dés en caoutchouc, et qui sont réunies par deux petits
cylindres de charbon enveloppés par un tube de caoutchouc.
Au point de contact des deux charbons se trouve introduite une certaine
quantité de poudre de coke ou de poussière médiocrement
conductrice qui se trouve maintenue en place par le tube de caoutchouc,
et celui-ci a en même temps pour fonction de serrer lune contre
lautre les deux extrémités des charbons.
Aucune modification n'ayant été apportée au
transmetteur Bourseul, cet appareil ne remplit pas les conditions exigées
à dater du 1er janvier 1893 et, parconséquent, n'est plus
admis sur les réseaux de l'État.
sommaire
Le téléphone BOIVIN
, Boivin Arsène : 16 rue de l'Abbaye 75006 Paris

sommaire
Le téléphone BÖTTCHER , Allemagne
Le transmetteur Bôttcher
La différence de ce téléphone de tous ceux décrits
jusqu'ici, consiste particulièrement en ceci, que l'aimant
m n'est point placé dans la boîte à poste fixe,
comme cela a généralement lieu, mais se trouve suspendu
à l'aide de vis et de fils minces d'acier.
Cette disposition a pour effet de faire osciller l'aimant avec la
membrane c, ce qui augmente l'énergie, mais aussi par contre
le son se produit d'une façon moins nette et moins distincte
que dans les systèmes Bell, Ader, Fein et autres.

Si dans le téléphone Boettscher on pose l'oreille tout
contre le porte-voix, le son est moins dislinct, que si on l'éloigné
de 7 à 8 centimètres.
Les plaques polaires sur lesquelles sont posées les bobines
d'induction b ne sont point en fer massif, mais formées de
trois petites barres de fer cylindriques écartées légèrement
es unes des autres, ce qui leur permet de changer plus facilement
et plus vite de magnétisme. L'aimant m estattiré vers
le haut par les vis a et vers le bas par la vis aï, de sorte
que celui-ci est suspendu librement dans la boîte, et les bouts
qui portent les plaques polaires se trouvent à peu près
à un demi-millimètre au-dessous de la membrane c. Ce
téléphone est fait entièrement en métal
et il n'y a pas à craindre qu'il joue, comme cela peut arriver
avec les boîtes de bois; on ne le règle qu'une fois pour
toutes. La boîte est pourvue de pieds, qui servent à
la fixer. Pour parler, il faut approcher la bouche du porte-voix le
plus possible, par contre l'audition est meilleureà une certaine
distance, comme nous l'avons déjà dit.
Ce téléphone est d'un mauvais usage dans les endroits
où il y a beaucoup de bruit.
|
 |
Le récepteur Bôttcher.
Le noyau en fer doux N porte la bobine B et est attaché à
angle droit sur l'aimant droit; P est la plaque vibrante .
Ce modèle de récepteur présente l'avantage d'être
très facile à manier, il est en usage dans beaucoup de réseaux
en Allemagne.
Shéma
de principe
Le poste ordinaire fonctionne avec une sonnerie à pile, l'autre
modèle avec une sonnerie magnétique, ce poste ne nécessite
donc pas de de pile pour fonctionner (comme le Gower), il est peu sujet
aux dérangements.
sommaire
Le microphone BOUDET
de Paris ,ses études sur le perfectionnement
du microphone
 |
10
décembre 1878;
Brevet 127860. Perfectionnements au micro-téléphone
M. Boudet construit son microphone de la manière suivante.
Il prend un tube en verre de 10 centimètres de longueur et
d'un centimètre de diamètre intérieur.
Ce tube est fixé sur un socle dans une direction un peu inclinée.
Il est rempli de boules de charbon très dur, d'un diamètre
un peu moindre que celui du tube pour qu'elles puissent s'y mouvoir
librement. La première et la dernière boule reposent
contre des masses en cuivre qui, au moyen d'un ressort, exercent sur
les boules une pression plus ou moins forte et établissent
ainsi le contact entre elles. La masse supérieure de cuivre
communique avec un diaphragme en ébonite et une embouchure
ordinaire complète le microphone. Le courant local passe par
toutes les boules et il se produit des variations d'intensité,
suivant les différences de contact entre les boules qui résultent
des vibrations du diaphragme.
Comme ce microphone présente une assez grande résistance
intérieure, il faut employer une pile locale de 6 éléments.
Les expériences ont fourni des résultats satisfaisants |
7 octobre
1879 Brevet 139029. Nouvel appareil microphonique.
M. Boudet de Paris a construit
un téléphone récepteur analogue à Ader dans
lequel la planchette de bois est remplacée par un diaphragme d'acier.
Cet appareil reproduit la parole avec le parleur microphonique du même
auteur en employant un seul élément Leclanché.
sommaire
Les téléphones BREGUET
Célébre et reconnu dans le domaine du télégraphe
(voir l'Histoire
Breguet), il a été le premier fabriquant de téléphonnes
de type Bell avant de se lancer dans l'étude et l'innovation.

On lui doit ces deux modèles dès 1878.
Breguet fait parti des pionniers du téléphone et à
améliorer le système Bell.
Le téléphone à mercure de Breguet
Antoine Breguet a utilisé les forces électro-capillaires et
les courants électriques qu'elles produisent. Le phénomène
qui a conduit à la construction de cet instrument est réversible
; l'émetteur et le récepteur sont donc deux appareils identiques.
La pointe d'un tube capillaire T, contenant du mercure, plonge dans un récipient
V. Ce récipient est rempli en partie de mercure M' et en partie d'eau
acidulée A ; le point capillaire n'atteint pas le mercure, et ne
plonge que dans lacide dilué.
Deux fils de platine P et Q communiquent respectivement avec le mercure
en T et celui en V. Si les deux fils sont reliés entre eux, le niveau
du mercure dans le tube capillaire s'établira à une hauteur
invariable. Mais si une pile est interpolée dans le circuit des fils
de platine, le niveau prendra une autre position d'équilibre, en
fonction de la différence de potentiel. A chaque différence
de potentiel correspondra un niveau défini de mercure.
Au-dessus du mercure dans le tube se trouve une couche d'air dont la pression
varie évidemment à chaque fois que le niveau de mercure lui-même
varie.
L'appareil est réversible ; c'est-à-dire que si par quelque
modification de la pression S le niveau du mercure subit un déplacement,
une différence de potentiel, ou, en d'autres termes, une force électromotrice,
s'établira dans les deux conducteurs v et Q.
Couplons maintenant deux appareils similaires en connectant les fils P et
P^ Q et Q^, comme le montre la figure. Si une pression est exercée
en S, une force électromotrice correspondant à cette pression
sera produite en le circuit, et cette force électromotrice produira
un changement dans le niveau du mercure dans le tube du deuxième
appareil, et par conséquent un changement dans la pression à
S^.
En parlant au-dessus du tube T, l'air contenu dans ce tube entre en vibration.
Ces vibrations sont communiquées au mercure, qui les change en variations
de force électromotrice, et ces variations engendrent dans l'appareil
récepteur des vibrations exactement correspondantes de la masse d'air
S^ ; de sorte que, si l'oreille est placée au-dessus du tube Tj,
tous les mots prononcés dans le tube T seront faiblement entendus.
  |
Le récepteur bipolaire BREGUET
À lintérieur du boîtier
en laiton nickelé, une cuvette en acier aimanté FF
(fig. 10) porte en son centre un noyau B en fer doux. Sur cé
noyau est calée une bobine à carcasse métallique
dont lenroulement a une résistance de 320 ohms. Les
extrémités du fil de cette bobine sont reliées
à des bornes DD, isolées du boîtier et qui reçoivent,
à lextérieur, les ferrets dun cordon souple
à double conducteur.
Au-dessus de la plaque vibrante N, en tôle vernie, se visse
un couvercle garni dune embouchure en ébonite.
Lanneau en laiton A est utilisé comme poignée
et sert également à suspendre le récepteur
au crochet du transmetteur.
La figure 11 en montre la disposition : cest un aimant rectiligne
NS, nickelé sur toute sa surface et qui sert de manche à
linstrument; un anneau s permet de le suspendre au crochet
du transmetteur. En N, le noyau de fer doux f est entouré
par une bobine métallique dont lenroulement a une résistance
de 320 ohms.
La plaque vibrante, en tôle étamée, a 60 mm
de diamètre sur 0,33 mm dépaisseur.
Le boîtier est entièrement en ébonite et les
ferrets du cordon souple sont pincés sous les écrous
e, e' qui les unissent aux deux extrémités de lenroulement
de la bobine. Les vis VV assujettissent le boîtier sur
laimant NS
|
Le transmetteur BREGUET
 |
Dans lun de ces derniers
types, le microphone est du système dArsonval,
dont laimant a (fig . 43) est réglable par une vis Y
; dans lautre cest un microphone (poire) Breguet,
dont les quatre crayons de charbon sont associés par deux en
dérivation et par deux en série.
La clé dappel est intimement liée au levier-commutateur
et forme avec celui-ci un organe unique; seul le bouton dappel
PQ, taillé en biseau, est indépendant.
Le levier-commutateur est disposé en croix et monté
sur une plaque en ébonite MN.
La partie AB (fig. 44) coulisse dans les glissières E, F; la
partie CD se déplace entre les ressorts r K , r 2 , r 3 , r,
t dune part, et les res sorls r 5 , r 6 , r 7 , r 8 dautre
part. Les rondelles b1,b2 sont isolées des autres parties du
commutateur. En arrière de la pièce centrale G (fig.
43 et 44) est vissée une forte goupille g , qui traverse la
plaque débonite MN par une ouverture H, ménagée
à cet effet. Cette goupille est en prise avec le crochet mobile
IKJ, qui pivote autour de la vis K fixée sur la plaque MN.
Le jeu du crochet permet donc de faire remonter tout le système
ABCD ou de le laisser retomber, ce dernier mouvement de haut en bas
étant facilité par les ressorts antagonistes R1, R 2
|
Lorsque le crochet IKJ est abaissé, le système
ABCD est relevé et la branche CD est en contact avec les ressorts
r 6 , r 7 , les autres ressorts restant isolés.
Lorsque le crochet IKJ est relevé, le système ABCD est
abaissé, et la branche CD est en contact avec les ressorts
r1, r 2 , r 3 , r 4 , les autres ressorts restant isolés.
Dans cette position, aucun appel ne peut se produire, et cest
en vain que 1 on agirait sur le bouton-poussoir L.
Ce bouton commande une pièce PQ, qui coulisse dans le pont
en métal 0 et qui est ramenée au repos par le ressort
à boudin, R ( fig . 43).
La pièce P est un plan incliné et est creusée
dune gorge p pour laisser passer la tête A de la tige
AB. La tige AB porte en nr,, a 2 deux galets. Les ressorts r 6 , r
7 sont garnis de deux isolants e1,e 2 .
|
 |
|
Lorsque, par suite de labais sement du crochet
IKJ, le sys tème ABCD est relevé, les ga lets a,,
a 2 , sont placés au-dessus du plan incliné P. A ce
moment la tige CD est appuyée sur les ressorts r 6 , r 7
, tous les autres ressorts restant isolés. Si, dans cette
position, on appuie sur le bouton L, le plan incliné P agit
sur les galets a,, a 2 et fait remonter le système ABCD.
Dans cette nouvelle position, qui est la position dappel,
la tige CD a abandonné les ressorts r1, r 2 , r 3 , r,, pour
sappuyer sur les ressorts r11,r21, r31,r41; mais, tout en
prenant contact avec ces ressorts, elle est isolée de r6
et de r 7 par les goupilles en ébonite e 1, e 2 .
La figure 43 va nous montrer comment les communications sont établies
par la manuvre de ce commutateur combiné avec la clé
dappel.
Communications intérieures.
Lorsque le levier-commutateur est dans la position dattente,
sur sonnerie, les courants dappel arrivent par L, et passent
par 11, b1, r 6 , s4, sonnerie, s2, r, b2, l2 . Pour répondre,
le poste appelé appuie sur le bouton L, ce qui déplace
le commutateur ABCD. Le courant de réponse suit le trajet
CS ... L1, et ZS, r 8 ... L 2 (les ressorts r 6 , r 7 étant
isolés en e1, e 2 ).
Dans la position de conversation, le circuit primaire est formé
par : CM, ... r2, microphone M, ZM.
Le circuit secondaire comprend : L1 ... L 2
|
 |
Extrait de la revue L'Electricien
Récepteur
Bréguet .
- Le récepteur Bréguet , dont les figures 1 et
2 re présentent la coupe et f l'élévation
, se compose d'un aimant rectiligne NS ( dont le fantôme
ma gnétique est reproduit figure 3 ) , nickelé
dans toute son étendue et for mant poignée pour
saisir le téléphone . A l'extré mité
S , un anneau s permet de suspendre l'instru ment au crochet
du transmetteur .
En N , un noyau de fer doux f est entouré par une bobine
dont la résistance électrique est de 320 ohms
. Au - dessus de cet organe est la membrane vibrante , en tôle
étamée , qui est maintenue par un boîtier
, entièrement en ébonite , assujetti lui - même
par les vis VV ' .
Les deux bouts du fil de la bobine sont arrêtés
sous les écrous ee ' qui pincent également les
ferrets d'un cordon souple à double conducteur .
Transmetteur Breguet à petite distance
.
Ce modèle , représenté par la
figure 4 , a la forme d'un pupitre au - dessous duquel la
plaque microphonique est retenue par un tube métallique
re courbé en col de cygne et à l'intérieur
duquel passent les fils de communication .
Sur la face supérieure du pupitre on voit le timbre
d'une sonnerie ; sur la face antérieure se trouve la
clé d'appel . La caisse elle - même contient
le mécanisme de la sonnerie , un paratonnerre à
papier , la bobine d'induction et le levier - commutateur
.

Le microphone ( fig . 5 ) a la forme d'un hexagone dont six
charbons cylindriques forment les côtés .
|
 |
Aux sommets , six blocs de charbon taillés en
biseau servent de point d'appui aux six charbons cylindriques et sont
fixés sur une mince plaquede sapin . Une rondelle métallique
assu jettit la plaque vibrante sur le socle en bois fixé lui
- même au tube en col de cygne dont nous avons parlé
.
La sonnerie est une tremblerise ordinaire dont les bobines ont une
résistance de 120 ohms .
De même , le paratonnerre ne présente aucune disposition
particulière c'est une feuille de papier pincée entre
deux lames métalliques dont l'une com munique avec la ligne
, l'autre avec la terre . La bobine d'induction est couchée
horizontalement le long du socle de l'instrument .
lorsque le crochet est relevé ; le ressort 6 touche seul la
vis h quand le levier est abaissé ; dans ce cas le ressort
a reste isolé .

La clé d'appel est la même que celle que nous avons décrite
au sujet des transmetteurs Ader ; c'est un modèle d'usage courant
.
Les bornes sont disposées sur le socle de la manière
suivante : En haut les bornes T , L , en bas ZT , C , Tél ,
Tél , Tél , ZT , CM ; en tout , neuf bornes .
Les figures 6 et 7 montrent les dispositions du circuit d'appel et
des circuits de conversation.
Au moment de l'appel ( fig . 6 ) , le courant de la ligne arrive à
la borne L , traverse la plaque supérieure du paratonnerre
, le ressort de la clé d'appel , passe par le ressort b , la
vis h , les bobines de la sonnerie et se rend à la borne T.
Le courant envoyé sur la ligne part de la borne C et s'échappe
par le ressort de la clé d'appel abaissée , puis par
la borne L.
Sur la figure 7 , on voit que le circuit du microphone est fermé
par la borne CM , la yis e , le ressort a , les charbons microphoniques
, le circuit primaire de la bobine d'induction , la borne ZT et la
pile attachée aux bornes CM , ZT . Le circuit des récepteurs
comi . prend : la ligne , la plaque supérieure du paratonnerre
, la clef d'appel au repos , le res ort b , la vis f , les deux récepteurs
, le fil secondaire de la bobine d'induction , la borne T.
L'appareil que nous venons de décrire est celui qui , au moment
de la reprise des téléphones par l'État , a été
admis à fonctionner sur les réseaux aériens seulement
. Depuis , l'administration des Postes et des Télégraphes
a invité la maison Breguet à supprimer la sonnerie ,
qui désormais sera indépendante , et à modifier
la position des bornes de façon à placer , comme dans
la plupart des autres transmetteurs microphoniques , les bornes L
T en haut et à gauche , les bornes SS en haut et à droite
, les bornes de la pile microphonique en bas et à gauche ,
celles de la pile d'appel en bas et à droite .
Transmetteur Bréguet à grande distance
.
L'appareil dit à grande distance ( fig . 8 ) a la même
forme que le précédent ; son mécanisme est
peu différent , mais les deux modèles se distinguent
par leur agencement électrique .

La disposition originale de ce système est due à MM
. Mandroux et Pecquet , appartenant tous deux à l'administration
des Postes et des Télégraphes . Les charbons microphoniques
, au nombre de deux , sont isolés l'un de l'autre et en relation
avec des bornes CM , CM ( fig . 9 et 10 ) . A ces bornes aboutissent
les pôles de même nom de deux piles absolument distinctes
dont les seconds pôles se réunissent sous la borne
ZT de droite . Ces piles comprennent , chacune trois éléments
de Lalande et Chaperon .
Les extrémités des charbons qui ne sont pas reliées
aux pôles de la pile sont rattachées l'une à
une vis , l'autre à un commutateur automatique . Ce commutateur
est un levier coudé dont un ressort à boudin maintient
la grande branche abaissée . Cette branche reste isolée
lorsque le récepteur étant au crochet , le levier
commutateur est abaissé ; en effet le ressort du levier ne
touche plus cette branche qui , obéissant à l'action
de son res sort antagoniste , abandonne la vis butoir placée
au dessus Lorsqu'au contraire le levier commutateur se relève
, le ressort , en remontant , entraîne le levier coudé
dont la grande branche vient toucher la vis butoir , de sorte que
ce levier communique à la fois avec le ressort et avec la
vis .

Les figures 9 et 10 montrent respectivement la disposition des communications
lorsque l'instrument est dans la position d'appel et dans la position
de réception . On a remarqué que deux piles microphoniques
sont nécessaires pour obtenir un fonc tionnement régulier
.
Cette disposition ne concorde pas avec les montages généralement
adoptés sur le réseau de Paris où une seule
pile est affectée au circuit microphonique . Dans le but
de faciliter l'installation de ses appareils , la maison Breguet
a construit un nouveau type qui a été admis provisoirement
sur le réseau de Paris .
Ce nouvel instrument ( fig . 11 ) est disposé en pupitre
. Sur la face déclive est collée une large planchette
microphonique en sapin qui supporte les charbons disposés
comme le montre la figure 12 .
fig 11
Pour système
Omnibus 
Les ressorts RR ' réunissent le microphone au reste du mécanisme
. P représente le paratonnerre à papier , A la clef
d'appel , m , n les circuits de la bobine d'induction . Le crochet
mobile C pivote autour de la vis ( ) ; le ressort U tend à
le soulever .
Les pièces en ébonite e , e ' , fixées à
la masse du crochet , supportent les ressorts flexibles r , r "
. Lorsque le crochet est abaissé , ce qui arrive toutes les
fois qu'un téléphone récepteur y est suspendu
, le ressort a touche le contact d , le ressort abandonne le contact
a et reste isolé ; l'appareil est sur sonnerie . Si , par
l'effet du ressort antagoniste U , le crochet se re lève
, le ressort r presse le contact 6 , le ressort r ' s'ap puie sur
le contact a ; les circuits de de conversation sont fermés
.
Les téléphones récepteurs se placent entre
les bornes t , t , f comme le montre la figure 12 .
Le circuit primaire de la bobine d'induction a une résistance
de 1,5 ohm ; le circuit secondaire mesure 150 ohms .
La maison Breguet vient de construire un appareil portatif dont
le microphone et le mécanisme sont exactement les mêmes
que ceux du modèle précédent .
La figure 13 représente cette dernière disposition
.
fig 13
|
sommaire
Le transmetteur BURNSLEY
 |
Les variations de contact entre deux
électrodes de charbon c et d sopèrent par les
vibrations de deux membranes m et m', également influencées
par le son émis à lembouchure A. L'intensité
du contact des deux électrodes est déterminée
par la tension du ressort R que lon peut régler à
volonté au moyen dune vis. On remplit quelquefois lespace
compris entre les diaphragmes dune sorte de matelas en bourre
de coton, destiné à amortir les vibrations anormales
de leurs faces en regard, sans nuire à leffet
des sons qui frappent plus directement leurs faces extérieures.
A. L'étroitesse du contact des deux électrodes est déterminée
par la vis de réglage
R. Un tampon de coton est parfois placé dans l'espace entre
les diaphragmes afin d'amortir les vibrations anormales de leurs surfaces
internes sans gêner l'effet des sons qui frappent l'extérieur.
Le réglage de l'appareil s'effectue au moyen du ressort R,
ou par une inclinaison plus ou moins grande du plan qui supporte l'une
des électrodes. |
sommaire
Les téléphones BURGUNDER
Le récepteur Burgunder
Laimant du récepteur est
un fer à cheval dont les branches sont recourbées deux
fois à angle droit. Sur chacun des pôles est vissé
un noyau entouré dune bobine dont la résistance
électrique est de 90 ohms, soit 180 ohms pour les deux bobines
montées en série. Les bornes sont isolées au
moyen de petits tubes et de rondelles en ébonite. La plaque
vibrante, a 55 mm de diamètre et 0,27 mm dépaisseur.
Un solide anneau permet de suspendre le récepteur au crochet
du transmetteur et aussi de le tenir facilement à la main pendant
la conversation. |
 |
Le transmetteur Burgunder
Le microphone est du type Gower
; il se compose (fig . 46) de six crayons de charbon A1, ..., A6,
rayonnant en forme détoile autour dun cylindre
central B, également en charbon.
Ces crayons sengagent dans le cylindre B normalement à
sa surface latérale; chacun deux sengage aussi
dans un autre cylindre plus petit a 1 ...a 6 .
Les cylindres de charbon sont reliés entre eux par des lames
de cuivre ; il en est de même des cylindres a1 et a2, réunis
par b1 et b2.
Les cylindres a , ainsi que le cylindre B, sont boulonnés sur
la planchette microphonique MN, tandis que les crayons A restent libres
entre leurs points dappui.
Aux extré mités E, F, sont disposées deux pièces
métalliques qui prennent contact avec la pile microphonique
et le circuit pri maire de la bobine dinduction.
|
  |
La clé dappel (fig. 47) est formée
par deux ressorts R, R,, fixés en v , tq, par des vis, au bâti
en bois du transmetteur et libres à leur extrémité
opposée. Ils sont comman dés simultanément par le bouton
JB isolant B. Latéralement, les deux ressorts R, R,, sappuient
et font pression sur les plots M, M,, fixés eux-mêmes à
demeure sur lébénisterie du transmetteur. Chacun des
plots M, M, se compose de trois pièces, deux plaques en laiton sépa
rées par une lame en ébonite. Les plaques de laiton supérieures
repré sentent les plots de repos de la clé, les plaques de
laiton inférieures sont les plots de travail. Lorsqu'on appuie sur
le bouton B, les ressorts R, R, passent des pièces de laiton supérieures
aux pièces inférieures; ils reprennent leur position initiale
par leur propre élasticité lorsquon cesse dagir
sur le bouton B. Pour éviter quau passage les ressorts R, R,,
frottent sur lébonite et, en métallisant cet isolant,
déterminent, à la longue, une communication électrique
entre les plots de repos et les plots de travail, la lame débonite
a été largement échancrée dans la partie qui
fait face aux ressorts.
 |
Le levier-commutateur est fort ingénieux
et résoud avec simplicité le problème de la
séparation des circuits. Le crochet C (fig. t8) est monté
à pivot sur une chape AB; son ressort antagoniste R est fixé,
dune part, à celte chape, de lautre au crochet
lui-même. Une pièce D, rapportée sur laxe
du crochet, se prolonge en arrière et supporte les deux goupilles
d , e. La goupille d est une prise de contact, nous le verrons tout
à lheure; la goupille e commande le commutateur proprement
dit.
Ce commutateur est, en somme, un commutateur à deux directions
pour lignes doubles, analogue au modèle admis sur les réseaux
par l'Administration française; il est actionné automatiquement
par le crochet C.
La plaque métallique M est mon tée sur une colonnette
O et peut pivoter autour de la vis à centre N. Cette plaque
M supporte deux ressorts re courbés mn , mri fixés
par les vis v.
Les ressorts sont isolés lun par rapport à lautre;
ils sont aussi isolés de la plaque M. Lorsque la plaque M
tourne autour de son axe N, les deux ressorts se déplacent
avec elle; le ressort mn sans abandonner sa pièce de contact
6, passe du contact h sur le contact; de même, le ressort,
sans cesser de sappuyer sur la pièce de contact, passe
de c en g.
|
Le mouvement de bascule de la plaque
M est provoqué par un mouvement de bascule, en sens contraire,
du crochet C; en effet, la goupille e est engagée dans une
en coche de la plaque M et entraîne celle-ci. Le déplacement
de la pièce M na pas seulement pour effet dorienter
les ressorts; la gou pille d est pressée par un ressort r monté
sur la colonne P et la communication électrique existe entre
d et P tant que mn repose sur les plots &, h et mri sur les plots
«, c ; mais, lorsque mn prend la position è, /*, et mri
la positions, g , la goupille d abandonne le ressort r et la communication
est coupée entre d et P.
La figure 49 montre le schéma des communications intérieures
de lappareil mural, en forme de pupitre ; E, F sont deux ressorts
sur lesquels sappuient les prises de contact du microphone,
qui nest pas représenté sur notre dessin. La borne
L, est reliée au plot b, la borne L 2 au plot a.
Dispositions propres aux différents modèles.
l.e transmeteur portatif (fig. 50) est un pupilre moité
sur un seule à colonne; ses orpancs ne diffèrent pas
de ceux du transmetteur mural (fig. 51) ; la disposition des circuits
est aussi la même .
|
 |
  |
Le nouveau microphone
de M. Burgunder est à grenaille moulée. Dans une coupelle
métallique A (fig. 34) est placée de la grenaille de
charbon moulée de 0,5 millimètre de diamètre.
Cette coupelle porte deux oreilles qui permettent de la visser sur
une plaque vibrante en charbon B. Elle en est séparée
par une bague en caoutchouc, et les vis de liaison traversent des
canons en ébonite. La coupelle A ne communique donc électriquement
avec la membrane de charbon B que par lintermédiaire
de la grenaille. Cet ensemble microplionique est monté dans
un boîtier métallique , dans lequel la membrane B est
pincée entre deux bagues de plomb et immobilisée par
un anneau E que lon visse à lintérieur du
boîtier. A la partie inférieure du boîtier est
rapportée une pièce de contact F, isolée par
la rondelle en ébonite G, mais raccordée à la
coupelle A par un fil volant pincé sous deux vis. Les prises
de communication du circuit primaire sont assurées par deux
ressorts, dont lun sappuie sur le boîtier lui-même
et est ainsi relié à la membrane de charbon ; lautre
est appliqué sur le téton f qui surmonte la pièce
F. Le boîtier métallique D est enfoncé dans lébénisterie
de lappareil; son couvercle H, qui porte lembouchure K,
est vissé par dessus, de sorte que le boîtier complet
se trouve à cheval sur la planche de fermeture et peut tourner
facilement. On évite ainsi le tassement de la grenaille. Ce
microphone est réglé une fois pour toutes par le constructeur.
La clé dappel (fig. 35) est formée par
deux ressorts R, R, qui, par le jeu du bouton-poussoir B, se déplacent,
en passant des contacts a, sur les contacts b, b b. Les ressorts R1
R2 sont montés eux-mêmes sur deux autres ressorts-lames
R 2 , R 3 . La course des ressorts R, R 1 est limitée par la
colonne D et par le talon F que porte le bouton-poussoir. Le bouton
B agit directement sur le ressort R qui commande lui-même le
mouvement du ressort R 4 par l'intermédiaire de lisolant
E. |



Burgunder fabrique aussi les systèmes Roulez
sommaire
Le téléphone CAPSOTELEPHONE
Rare petit téléphone pour installation privée (2
fils) breveté Sgdg
sommaire
|
Le téléphone CHAROLLOIS
Le récepteur imaginé par le capitaine Charollois (fig.
12) et quexploite la Société
Home Téléphone (France) comprend des organes
magnétiques analogues à ceux des autres récepteurs,
savoir : un aimant, des bobines et une plaque vibrante ; mais le
système devient original quand on considère son mode
de réglage.
Laimant E, en forme danneau, sert de poignée
à linstrument et est monté sur un plateau en
ivorine. Au centre de ce plateau, dont la surface latérale
est filetée, se trouvent les deux bobines dont la résistance
est de 190 ohms.
Sur le côté, un verrou permet dimmobiliser les
organes dans la position de réglage quon leur a donnée.
Sur le plateau A se visse un anneau en ivorine dont lintérieur
est garni dune bague B échancrée sur son pourtour,
comme le montre la figure; cest cette bague qui, concurremment
avec le verrou Y, sert à bloquer lappareil dans sa
position de réglage; sur la bague B repose la plaque vibrante,
immobilisée par lanneau en ivorine sur lequel se visse
lembouchure garnie d'un bloc de plomb.
Lorsque le verrou Y est ouvert, on peut, en manuvrant le pas
de vis du plateau, rapprocher ou éloigner les bobines de
la plaque vibrante. Lorsque le réglage convenable a été
obtenu, on ferme le verrou qui sengage dans lentaille
la plus voisine de lanneau.
Microphone. La plaque vibrante est en ébonite et porte
à son centre un boulon qui supporte une cuvette en charbon,
la tête du boulon étant protégée par
un tampon douate.
|
 |
La paroi latérale de cette cuvette est en celluloïd
et emboîte un disque de charbon fixé sur le boîtier
et autour duquel est placée une couronne d'ouate. Dans la petite
boîte ainsi constituée est logée de la grenaille de
charbon.
Dans la masse du boîtier en ivorine sont encastrées deux
pièces de laiton, qui correspondent lune au disque de charbon
inférieur, lautre à la cuvette de charbon supérieure,
une lame de clinquant, pincée sous le boulon dassemblage
delà cuvette avec la plaque vibrante, assurant la communication
électrique.
Dans les deux pièces de cuivre dont nous venons de parler sengagent
deux vis-pivots, qui relient le microphone au reste du circuit primaire.
Cette disposition permet de faire basculer le microphone pour le placer
à la hauteur de la bouche.
La plaque microphonique est pincée sous un anneau en ivorine, qui
se visse à lintérieur du boîtier, et sur lequel
sadapte le couvercle garni dune embouchure.
Les vis-pivots autour desquelles bascule le microphone sont montées
sur deux petites colonnes installées sur le transmetteur.
La clé dappel est un bouton-poussoir qui ne présente
aucune disposition particulière.
La tige du crochet, qui pivote autour dun axe, se prolonge
en arrière et porte une bague isolée. Cette tige est commandée
par un ressort antagoniste à boudin et se déplace entre
le ressort de sonnerie situé en haut et les trois ressorts de conversation
placés en bas, les ressorts du circuit primaire étant disposés
en regard de la bague isolée, qui les réunit en temps opportun.
Le cordon du récepteur de gauche est relié au crochet mobile
par un anneau, de sorte que, si lon oublie de remettre ce récepteur
au crochet à la fin de la conversation, le cordon agit sur le crochet
et le fait basculer pour remettre lappareil sur sonnerie.
Les fils de communication sont logés dans des rainures sous
le socle de lappareil; ce socle est entièrement en ivorine.
Ce transmetteur est construit par la Société « Home
Téléphone» (France).

sommaire
Les téléphones Veuve CHARRON-BELLANGER
Veuve Charron et Bellanger, Téléphones pour
installations privées et pour réseaux de l'Etat, 142 rue
Saint-Maur, Paris
Catalogue
harron Bellanger 1921

sommaire
|
Le téléphone CHATEAU père
et fils
Chateau père et fils : successeur de Collin-Wagner 112 rue
Montmatre 75002 Paris
Le microphone est composé de sept crayons de charbon
assemblés par des prismes de même substance.
Ces charbons forment trois groupes montés en quantités
et associés en série.
Le microphone est incliné denviron 45° sur la mem
brane en sapin qui le supporte.
La clé d'appel est du type Morse, montée sur
ressort.
Le mécanisme de commutation est ins tallé sur
une plaque en ébonite fixée au fond de la boîte.
Une plaque métallique P (fig. 52), rap portée sur
la plaque débonite, soutient le levier-commutateur
AC. Celui-ci, sous le poids du récepteur suspendu en C, pivote
autour de la vis o et est ramené à sa position primitive
par le ressort R réglé par la vis v. Un plot débonite
i, vissé sur le levier AC, supporte la pièce métallique
m et le ressort uu arrêté en m et en g. Quand le crochet
C est relevé, le ressort uv repose sur la vis f, il en est
isolé lorsque le crochet C est abaissé.
Le ressort coudé à angle droit r est fixé en
A au levier AC ; il sappuie sur la vis d quand le crochet
C est reevé et sur la vis e lorsque le crochet C est
abaissé.
La figure 52 en représente le diagramme et permet
de suivre la marche des courants.
|
 |
Dans le transmetteur mural et dans "le transmetteur
à pied présentés par MM. Chateau père et
fils et admis sur les réseaux, le microphone est sensiblement
le même que celui des anciens transmetteurs Ochorowicz,
construits par la même maison.
sommaire
Les téléphones CLAY
L'un des plus ingénieux transmetteur en Amérique de la
Société "Commércial Telephone
Compagny"
 |
Récepteur fig 3
Poste complet 
Transmetteur fig 4
|
sommaire
Le téléphone E. Christiaen 1883
21 février 1883 Christiaen dépose le brevet 153804
: Perfectionnement apporté au transmetteur microphonique du sieur
Clément Ader .
M. Christiaen, de Passchendaele, près Roulers, a imaginé
un transmetteur microphonique représenté par la figure ci-dessous
et dont les crayons de charbons bb\ taillés aux deux extrémités
en forme de pivots et légèrement posés entre des charbons
fixes aaa'a', sont rendus mobiles par limpulsion quon peut imprimer
au cadran mobile C, derrière lequel ils sont établis. La taille
des crayons en forme de pivots leur donne une sensibilité extraordinaire.
Il est à remarquer que cette sensibilité est plus ou moins
grande, suivant la position verticale quoccupent les crayons. Le cadran
mobile permet de leur donner rme position en rapport avec lintensité
quon veut imprimer aux sons à transmettre.
Le réglage sobtient en desserrant les deux vis à boutons
a et a, fixées sur le cadran C et glissant dans un encadrement à
rainures en cuivre ou en nickel bb'.
Lorsquon imprime à ces vis un mouvement de droite à
gauche ou de gauche à droite (dans le sens indiqué par la
flèche), lopérateur imprime un mouvement similaire au
cadran et aux crayons qui y sont attachés.
Il résulte, daprès les expériences faites au
moyen de ce nouveau transmetteur par linventeur, que la transmission
de la parole peut se faire aussi bien pour lopérateur placé
à dix mètres de lappareil que pour celui qui en serait
distant de 30, 40 ou 50 centimètres.

Dans la pratique, E. Christiaen se sert pour son transmetteur dune
boîte ayant la dimension de celle du microphone Blake et qui est,
comme le poste Blake-Bell, montée sur une planchette, soit avec une
sonnerie magnéto, soit avec une sonnerie à pile. Le récepteur
de ce poste est ordinairement un téléphone Bell.
Dans plusieurs installations de lignes téléphoniques privées,
faites en Flandre, il est fait usage du transmetteur microphonique de M.
Christiaen. Récemment, il a été essayé avec
succès par la direction des télégraphes de lEtat
Belge, sur les lignes armées des dispositifs anti-inducteurs de M.
F. Van Rysselberghe, entre Anvers et Bruxelles . Christiaen reçut
une médaille à l'Exposition universelle d'Anvers en 1885.
Pour la petite histoire :
Avec l'aide de son ami Jean-Louis Lescouwier de Bikschote, Christiaen fabrique
un microphone à barres de charbon, muni d'une plaque réglable
devant lequel on parle. Les boiseries ont été réalisées
par le menuisier de Passendaal Louis Germonprez. Le premier test a été
effectué entre la maison de M. Christiaen et celle de son domestique
Jules Vantournout, située dans la Molenstraat, à 150 mètres.
Les deux appareils étaient reliés par un conduit avec des
isolateurs fixés aux maisons. Le résultat fut étonnant.
Les inventeurs ont établi une liaison d'essai entre les gares de
Roulers et de Passendale-Moorslede, le tout premier appel téléphonique
sur une si longue distance a été étonnamment réussi.
Il s'en suivit une demande d'autorisation de mener une expérience
entre les gares de Moorslede-Passendale et de Beselare, avec l'intention
que si le résultat était convaincant, l'institution serait
autorisée à être mise en uvre dans toutes les
gares de Belgique.
Cependant, leur invention et na jamais pu être commercialisée..
C'est Aloïs Honraedt de Molenstraat qui a fabriqué les premiers
appareils d'après les plans d'E. Christiaen et de Lescouwier. Le
résultat fut encore une fois étonnant. On disait ici que l'État
rachèterait le brevet si le test Bruxelles-Paris était tout
aussi réussi. Le résultat était à nouveau positif.
Lachat nétait plus quune question de formalités
et
. de prix. Mais Christiaen avait fixé le prix trop haut...
le règlement a été reporté. Plusieurs mois plus
tard, une entreprise a mis au point un système similaire, mais avec
quelques améliorations et les mauvaises langues, qui ont toujours
existé et existeront toujours, ont toujours prétendu que c'étaient
avec les plans de Christiaen et de Lescouwier, envoyés à l'étude,
qui avaient été modifiés ...
En 1881, à l'occasion de la célébration du cinquantième
anniversaire de l'indépendance de la Belgique, l'Exposition industrielle
de Flandre occidentale a lieu à Bruges. Le secrétaire de Bikschote,
M. Lescouvier, y a exposé ce « système téléphonique
». Il y avait pas mal de visiteurs qui pensaient que cétait
une invention du diable. Mais diabolique ou non, l'industriel brugeois Charles
Callewaert prit sous son bras le secrétaire de Bikschote et fit installer
quelques mois plus tard une ligne téléphonique de son moulin
à farine de la Coupure jusqu'à sa maison près de la
porte de Gand à Bruges. Distance : 200 m. Elle devint la première
ligne téléphonique (privée) de Bruges...
sommaire
Le téléphone COLSON 1885
D'après la loi de Faraday , la force électromotrice
des courants induits développés dans le fil d'un téléphone
magnétique transmetteur est proportionnelle au nombre des lignes
de force du champ magnétique , qui coupent le fil dans l'unité
de temps par suite des vibrations de la plaque . Il y a donc intérêt
, pour constituer un transmetteur puissant , à faire en sorte que
le plus grand nombre possible des lignes de force soit concentré
sur la bobine et affecté par les vibrations de la plaque . Dans le
téléphone récepteur , l'action est réciproque
, et il y a , de plus , à considérer les vibrations moléculaires
qui se développent dans la plaque et dans l'aimant ; on voit donc
qu'il y a encore intérêt , pour former un récepteur
énergique , à ce que le plus grand nombre possible des lignes
de force du champ magnétique soit influencé par les courants
induits de la bobine , c'est - à - dire soit concentré sur
celle - ci , et à ce qu'elles affectent le plus grand nombre possible
des molécules de la plaque .
En étudiant la répartition des lignes de force , M. Colson
a trouvé que la meilleure disposition permettant de réaliser
les conditions énoncées consiste à placer la plaque
vibrante entre les branches d'un aimant en fer à cheval dont un pôle
agit au centre de la plaque par l'intermédiaire d'un noyau en fer
doux qui porte la bobine , tandis que l'autre pôle est fixé
à un anneau en fer doux influençant les bords de la plaque
au travers d'un anneau en substance non magnétique ; le noyau central
est relié au pôle correspondant de l'aimant au moyen d'un pas
de vis qui sert au réglage . La plaque est ainsi polariséc
du centre à la circonférence et présente , au centre
et sur les bords , deux pôles de noms contraires ; les lignes de force
sont concentrées sur la bobine et sur toute la masse de la plaque
.
Cet appareil , construit par M. de Branville , donne de très bons
résultals ; il produit des sons intenses et remarquablements nets
; il est probable que cette dernière qualité est due à
la disposition centrale du pôle qui porte la bobine , et à
l'action des lignes de force sur l'en semble de molécules de la plaque
fantôme
magnétique produit par ce téléphone .
Dans le téléphone imaginé par M. le capitaine du génie
Colson , la plaque vibrante est placée entre les deux pôles
d'un aimant . L'un de ces pôles agit sur le centre de la membrane
, l'autre sur les bords . Un aimant annulaire occupe le fond d'un boîtier
en métal nickelé . L'anneau aimanté s'épanouit
vers le centre et reçoit un noyau de fer doux perpendiculaire à
son plan ; ce noyau , qui supporte une bobine dont la résistance
est de 200 ohms , correspond au centre de la plaque vibrante .
Sur le bord de l'anneau , s'élève un second noyau plus long
que le précédent . La plaque vibrante percée d'un trou
est traversée par ce noyau qui cependant ne la touche pas ; au dessus
, un anneau de fer doux s'emboîte sur le noyau , recouvre toute la
périphérie de la membrane et forme le second pôle de
l'aimant . Le couvercle , garni d'une embouchure en ébonite se visse
au - dessus de ce dispositif .
La figure 1 représente une coupe du récepteur Colson ainsi
que le détail de ses différents organes .
On voit sur la figure 2 en a l'anneau de fer doux , en b la plaque vibrante
nc l'aimant .
Appareil militaire Colson, Constructeur De Branville en
1885, adopté en 1886 par l'armée française.

La membrane vibrante est placée entre les deux pôles dun
aimant. Lun de ces pôles agit sur le centre de la membrane,
lautre sur les bords.
Laimant c (fig. 13) est annulaire et occupe le fond du boîtier;
il sépanouit vers le centre et supporte un noyau de fer doux
garni dune bobine dont lenroulement a une résistance
de 200 olims. Sur le bord de lanneau a sélève
un second noyau, plus long que le premier. La plaque vibrante, en tôle
étamée, est traversée par ce second noyau, qui semboîte
dans un anneau de fer doux a recou vrant le pourtour de la membrane; cet
anneau constitue le second dessus de ce dispositif, dont la figure 14
montre laspect général.
Ce récepteur du capitaine de génie Colson ; est construit
par la maison L.Digeon et Cie et équipera
plusieurs petits téléphones domestiques à plaque
vibrante .
sommaire
Le téléphone Colacicchi et Marini Italie
En 1884 la Société générale italienne
des téléphones et des applications de l'électricité
publie un petit fascicule contenant la description d'un micro-téléphone
auquel ses inventeurs, MM. Colacicchi et Marini, ont donné le nom
de micro-téléphone didactique. Ils l'ont conçu dans
le but de mettre en évidence tous les phénomènes
de la reproduction téléphonique des sons musicaux et de
la voix humaine en démontrant en même temps que toutes les
variétés de téléphones et microphones imaginées
depuis l'invention primitive de cet appareil ne sont, en réalité,
que de simples modifications du premier téléphone Bell et
du premier microphone Hughes, et qu'à part la membrane et les lames
métalliques vibrantes, toutes les autres parties de ce système
sont du domaine des théories depuis longtemps connues par la science
et qui ont été simplement appliquées à la
téléphonie pour la transmission de la parole.
Descrizione del micro-telefono didattico ; un opuscule de 12 pages, avec
une planche de dessins ; Rome, imprimerie Sinimberghi, 1884.

 autre
modèle
sommaire
Le téléphone CORNELOUP
Brevet n° 175,284 de quinze ans, 6 avril 1886 ; Corneloup
, à Paris , boulevard Saint- Germain , no 132
Brevet n° 154298 en date du 14 mars 1883 A
M. CORNELOUP, pour un téléphone à aimant fermé.
. Nouveau système d'appel ...
Cet appareil,de dimensions très restreintes, est le seul récepteur
simplement magnétique qui parle à haute voix .
Les bobines sont renforcées par un puissant aimant fermé
sur lequel sont branchés les barreaux de l'électro (fig
.88) .
Il est muni d'un système d'appel très ingénieux qui
simplifie les installations en supprimant la sonnerie et les commutateurs,source
fréquente d'ennuis et de lenteur dans les communications. C'est
une anche libre,vibrant sous une pression d'air quelconque,et dont les
vibrations sont répétées par le récepteur,
par suite de la fermeture d'un circuit spécial (fig .89) . Ce système
téléphonique, excellent à toute distance, est bien
combiné et parfaitement compris dans tous ses détails.
Communication faite à la Société internationale des
Electriciens, à la séance du 2 juin 1886
APPEL TÉLÉPHONIQUE CORNELOUP .
Messieurs, bien qu'il existe actuellement un grand nombre de téléphones
permettant de correspondre, sans avoir recours aux complications micro-téléphoniques,
à des distances plus ou moins grandes, on hésite parfois
à les employer dans les installations domestiques, c'est à
dire entre des points faiblement éloignés, en raison des
manipulations qui doivent toujours précéder la conversation
.
Les postes téléphoniques les plus simples comportent, au
moins, un bouton d'appel, un commutateur, automatique ou non, et une sonnerie
; de plus, ces accessoires doivent être mis en action suivant un
ordre déterminé, ce qui suppose, chez l'opérateur,
une certaine habitude des appareils.
J'ai cherché à supprimer une partie des inconvénients
que présentent ces installations et à les simplifier en
vue de leur application aux usages domestiques : j'ai réalisé,
dans ce but, le système que j'ai l'honneur de vous présenter
aujourd'hui, et sur l'extrême simplicité duquel je me permets
d'attirer votre attention.
Ce système forme, en effet, un appel absolument indépendant,
qui n'exige ni commutateur ni sonnerie et reste relié à
la ligne de communication d'une manière permanente.
Cette disposition permet donc, sans manipulation préalable, de
réitérer les appels au cours d'une conversation, si, pour
une cause quelconque, celleci vient à être interrompue.
L'appel et le téléphone sont toujours prêts à
fonctionner.
Étant donné que les téléphones traversés
par des courants interrompus rendent des bruits d'autant plus perceptibles
que les changements d'état magnétique sont plus rapprochés,
j'ai pensé à appliquer les vibrations de l'anche d'harmonium,
moyen précédemment employé par Gower dans des conditions
différentes, pour produire des interruptions de courants très
rapides et, par suite, un son plus ou moins aigu dans le récepteur
; la hauteur du son ainsi obtenu étant fonction, d'ailleurs, du
nombre des vibrations de l'anche, l'usage varié ou combiné
de celle ci permet de formuler des appels distincts et peut, sur un petit
réseau, tenir lieu de tableauindicateur .
Pour utiliser les vibrations de l'anche, je dispose près de son
extrémité libre une pièce métallique de contact,
isolée de la masse et communiquant à l'un des pôles
d'une pile de 1 ou 2 éléments Leclanché ; d'autre
part, une très petite bobine à deux fils, faisant corps
avec l'appel, constitue un double circuit en dérivation ou en embrochage
l'un, circuit primaire ou local, comprend la pile, l'anche et le contact
isolé ; l'autre, le second fil de la bobine et la ligne de communication
.
Cette disposition est la même pour le récepteur et le transmetteur,
en sorte que deux de ces appareils comportent trois circuits : un en local
à chaque poste et un circuit de ligne toujours fermé. On
conçoit du reste que ce système d'appel puisse être
appliqué à tous les genres de téléphones magnétiques
.
M. Corneloup fait entendre ensuite, les appels de son appareil .
sommaire
Les téléphones CROSSLEY (voir
la page Crossley)
En 1880 le système Crossley est installé sur
les réseaux de Lyon, Marseille, Bordeaux et Nantes, puis sera commércialisé
par la SGT jusuq'en 1890 pour la province. Microphone Crossley
à charbon qui inspira Ader.
Le transmetteur Crossley, dont la forme générale n'est pas
précisément élégante , renferme tous les organes
d'un poste complet .
Sur le devant , on voit la clef d'appel , sur la droite , le crochet du
levier commutateur ; sur la gauche , le timbre d'une sonnerie et le crochet
fixe .
Sur la face supérieure , inclinée comme un pupitre , se
trouve la membrane micro phonique en sapin soutenant les charbons , cachés
à l'intérieur de la boîte ainsi que la bobine d'induction
et le mécanisme du commutateur .
Les charbons micro phoniques sont disposés en forme
de losange ; aux angles , des blocs prismatiques reçoivent les
extrémités des cylindres qui for ment les côtés
. Ces blocs prismatiques sont assujettis sur la planchette de sapin par
des boulons à écrou . Les blocs situés aux angles
aigus du losange sont garnis de ressorts qui , par pression , établissent
la communication entre le microphone et les autres organes du transmetteur
; ces ressorts s'appliquent , en effet , sur les ressorts .
La sonnerie est une trembleuse ordinaire dont les bobines ont 100 ohms
de résistance . Les deux circuits de la bobine d'induction mesurent
respectivement 2 et 230 ohms .
Le crochet mobile , qui forme commutateur , pivote autour d'une vis à
centre . Il est abaissé par le poids du récepteur et relevé
par le ressort antagoniste .
 
  
Ce type de téléphone sera utilisé dès 1878,
mais bien qu'il soit reconnu plus rapide et plus simple à utiliser
que l'instrument télégraphique, il n'a pas été
considéré comme fiable. Les téléphones de
ce type ont rapidement été remplacés par des téléphones
Gower-Bell
L'émetteur de Gower était une autre variante du thème
du crayon carbone seulement avec plus de crayons que le Crossley.
 
sommaire
Les téléphones DECKERT et WICH DECKERT
|
Appareil Deckert forme applique (vers 1887)
Dans l'appareil Deckert , admis sur les réseaux aériens
et souterrains , le transmetteur et le récepteur sont réunis
et assemblés par une poignée , comme dans l'appareil
combiné Berthon - Ader ; le mécanisme et la bobine
d'induction sont renfermés dans une applique murale ( fig
. 1 ) dont le crochet extérieur , faisant office de commutateur
, sert à sus pendre le transmetteur et le récepteur
associés .
Le récepteur se compose d'un long barreau aimanté
recourbé en U ( fig . 2 ) dont les pôles N , S sont
surmontés par des noyaux perpendiculaires à l'axe
de l'aimant . Chacun des noyaux reçoit bobine de fil fin
dont la résistance est de 75 ohms , ce qui fait , pour les
bobines accouplées , une résistance totale de 150
ohms . Cette partie du récepteur est englobée dans
une cuvette en ébonite recouverte par la plaque vibrante
P et par une embouchure E ( fig . 3 ) . Le reste du barreau aimanté
est caché dans un manche en bois AA ( fig . 4 ) qui sert
de poignée pour saisir l'instrument .
Les cordons souples , qui établissent les communications
, sont réunis sous les vis v , v aux deux extrémités
du fil fin des bobines .
Le microphone Deckert comprend une cuvette en ébonite
se séparant en trois parties vissées l'une sur l'autre
, savoir :
1 ° Un couvercle A (fig . 6 ) ou embouchure analogue à
celle du récepteur ;
2 ° Un fond B ; 3º Une partie intermédiaire C ,
réunie au récepteur et contenant les organes du microphone
, ainsi que les communications .
La figure 7 représente la face supérieure de la partie
intermédiaire C ; la fi gure8 est l'image de sa face inférieure
.
Au - dessous de l'embouchure A ( fig . 6 ) est une mince membrane
de charbon vernissée du côté sur lequel on parle
.Lorsque la pièce A est vissée sur la pièce
C , la membrane D touche les pointes des vis V , V ' , réunies
toutes les deux à l'un des cordons souples établissant
la communication avec la pile ; de ce chef , la membrane microphonique
D est en relation avec l'un des pôles de la pile , le pôle
positif , par exemple .
Le fond de la cuvette en ébonite C est garni d'un dis que
de charbon mm ' réuni par la vis U à un second cordon
souple , relié lui - même au pôle négatif
de la pile . Ce disque mm ' a une forme originale : c'est un cercle
sur lequel s'é . lèvent seize troncs de pyramide à
base carrée ; les grandes bases font corps avec le disque
de charbon , tandis que chacune des petites bases est recouverte
d'un léger tampon de drap grossier . Une gorge nn ' , creusée
dans lébonite , circonscrit l'assemblage que nous venons
de décrire ; cette gorge circulaire est remplie par une matelassure
de coton cardé . La partie qui sépare la mem brane
de charbon D du disque mm ' , ainsi que les espaces laissés
vides par l'ensemble des seize pyramides tronquées , sont
remplis par de la grenaille de graphite . Cette grenaille se trouve
en quelque sorte emprisonnée dans une chambre dont l'anneau
de coton car de forme la paroi latérale . Les houppettes
qui surmontent les troncs des pyramides composent un cloisonnement
dont le but est de diviser les parcelles de graphite et d'amortir
les mouvements que leur impriment les déplacements de la
plaque vi brante . Cette disposition a pour objet d'éviter
les crachements qui constituent l'un des principaux écueils
dans la construction des microphones .
Dans l'appareil Deckert que nous décrivons , le récepteur
est placé à l'une des extrémités du
manche , le transmetteur à l'autre ; la position de ces deux
organes est telle que si le microphone est en face de la bouche
de la personne qui veut parler , le téléphone est
à hauteur de son oreille .
Applique murale .
Le montage de l'applique murale est très simple , mais diffère
notablement de ce que nous connaissons déjà . Cette
applique renferme le crochet - commutateur et la bobine d'induction
; les fils de liaison avec le transmet teur et avec le récepteur
y aboutis sent en a , b , c , d ( fig . 10 et 11 ) ; les deux fils
verts a , b correspondent au récepteur ; les fils rouges
c , d vont au transmetteur microphonique . Les quatre bornes sont
marquées des lettres T , L , S , PM , en allant de gauche
à droite . A l'intérieur de l'instrument , la borne
T est reliée à l'axe du crochet - commutateur , la
borne L à l'une des extrémités du circuit secondaire
de la bobine d'induction , la borne S au ressort e , la borne PM
au cordon d . A l'extérieur , la borne T reçoit le
fil de terre ou le fil de retour , la borne L le fil de ligne et
un des fils de sonnerie , la borne S le second fil de sonnerie ,
la borne PM l'un des pôles d'une pile dont l'autre pôle
est à la terre . On voit que , de la sorte , la sonnerie
est à cheval sur les bornes L , S. D'autre part , le cordon
a est réuni au circuit secondaire de la bobine d'induction
, le cordon b au ressort f , le cordon c au circuit courants primaire
de la bobine d'induction , rattachée par son autre bout au
ressort y ; enfin , comme nous l'avons dit déjà ,
le cordon d communique avec la borne PM . La figure 9 montre le
mécanisme du crochet - commutateur dont la partie postérieure
, taillée en prisme à base triangulaire , ·
agit sur un jeu de ressorts . Il est aisé de voir , en examinant
les figures 10 et 11 , que les déplacements de ce crochet
mobile ont pour effet de mettre la borne T en relation avec la sonnerie
ou bien avec les deux circuits de la bobine d'induction mesurant
2 . ohms et 200 ohms . Examinons ce qui se passe dans l'un ou l'autre
cas : si nous intercalons ,sur le trajet du fil de ligne , une clé
ou un bouton de sonnerie avec une pile , il est clair que , lorsque
l'organe dont il s'agit fonctionnera , le courant ira directement
sur la ligne et que l'applique murale restera en dehors du circuit
. Il est clair aussi que , la clé ou le bouton d'appel restant
au repos , les courants venant de la ligne arriveront à la
borne L. Si , à ce moment , le crochet - commutateur est
abaissé et si , par conséquent , le prisme A (fig
. 10 ) touche le ressort e , les courants pénétrant
par la borne L traverseront la sonnerie interposée entre
les bor nes L , S , passeront par S , e , A , et gagneront la terre
ou le fil de retour par la borne T ; la sonnerie fonctionnera .
|
 


|
Lorsque le crochet - commutateur est relevé , le
ressort e est isolé , les ressorts f , g touchent le massif métallique
A ( fig . 11 ) .
Les courants arrivant en L passent par le circuit secondaire de la bobine
d'induction , le cordon aa ' , le récepteur , le cordon bb ' ,
le ressort , le massif A , la borne T. Le circuit du microphone est également
fermé , le courant de la pile PM traversant le cordon dd "
, le microphone , le cordon cc ' , le circuit primaire de la bobine d'induction
, le ressort g , le massif A , et s'échappant par la borne T.
Le transmetteur DECKERT à appel éléctro
magnétique
  
Dans ses organes
essentiels, le microphone Deckert comprend une plaque de charbon (fig.
76), encastrée dans une cuvette en ébonite.
Cette plaque de charbon, circulaire, est plane sur sa face inférieure
; sa face supérieure est striée et figure une série
de troncs de pyramide à base carrée, juxtaposés
par leurs grandes bases. Les petites bases de ces troncs de pyramide,
qui occupent la partie centrale de la plaque, sont recouvertes chacune
dune petite houppette douate. La plaque microphonique
est constituée par un mince disque de charbon, verni du côté
devant lequel on parle. Sur lautre face est collé un
anneau douate. Entre ces deux plaques de charbon, lespace
libre est rempli de grenaille de graphite.
Le boîtier H qui renferme ce microphone et qui est pourvu dune
embouchure G est métallique ou bien en ébonite.
Quelle que soit la disposition adoptée, chacune des plaques
de charbon communique avec lune des extrémités
du circuit primaire. Ces prises de communication sont pincées
sous les vis V1, V 2 .
La clé dappel, à double fil, na rien
doriginal. Un bouton-poussoir actionne deux ressorts fortement
torturés, E t , E 2 (fig. 77), qui, en se déplaçant,
passent par friction de leurs plots de repos F,, F 2 sur leurs plots
de travail H,, 11 2 . Les uns et les autres étant repré
sentés par des pièces en équerre.
Le levier-commulatcur, qui pivote autour de laxe N, est
un cylindre sectionné en trois parties, A, B, D, isolées
les unes des autres. Suivant que le crochet mobile C est relevé
ou abaissé, les différentes sections du levier prennent
contact avec les ressorts situés en regard.
Le ressort antagoniste R est fixé dun côté
à la partie A du levier, de lautre au bâti de lappareil.
Communications intérieures. Elles sont représentées
sur la figure 77.
Le microphone est relié au circuit primaire par les ressorts
M. M,, auxquels aboutissent ses fils de communication.
surmonté dune embouchure en ébonite dont le fond
est garni dune toile métallique ayant pour objet de condenser
la vapeur deau et de lempêcher de se déposer
sur la plaque vibrante en charbon, où elle pourrait produire
des moisissures.
Le microphone porte, à sa partie inférieure, deux guides
K,K 2 ( fig . 76), logés dans une glissière demi-circulaire
LL, de sorte que, avec la main, on peut le faire tourner de 180°
autour de son axe, manuvre qui empêche la grenaille de
se tasser. Un ressort gondolé M assu jettit le système
et lui donne de l'élasticité. |
Plus tard on retouva Deckert associé à
WICH

|
Le récepteur,
construit en France par M. Wich et quil
livre avec les transmetteurs Deckert,
est du type Ader n° 3 ou, tout au moins, nen diffère
que fort peu.
Il existe un modèle à manche et un modèle à
anneau.
Le récepteur ancien modèle (photo gauche), dont lorgane
électro magnétique est un long aimant recourbé
en U sur les pôles duquel sont vissés perpendiculairement
à laxe de laimant deux noyaux en fer doux.
Chacun des noyaux reçoit une bobine dont la résistance
est de 75 ohms.
Les bobines et la plaque vibrante qui les surmonte sont renfermées
dans un boîtier en ébonite; le barreau aimantées,
enveloppé sur un manche en bois que traverse le cordon souple.
Le transmetteur est uni au récepteur par une barre dassemblage
métallique garnie dune poignée en ébonite.
Sur cette barre, le récepteur est monté à glissière.
Un poste complet est constitué par un appareil combiné,
un récepteur ordinaire et un support.
Le levier-commutateur et les crochets de suspension sont renfermés
dans une boîte cylindrique, supportée par une lyre très
élégante qui prend son point dappui sur un socle
rectangulaire.
Les fils de communication des ressorts du levier-commutateur traversent
les brandies de la lyre pour arriver à la clé dappel
et à la bobine dinduction, logées dans le socle
qui supporte les huit bornes destinées à opérer
la liaison entre les communications de lintérieur et
celles de lextérieur. |



Ci dessous la lyre Wich-Deckert

sommaire
Les téléphones DECKERT & HOMOLKA
Deckert & Homolka était une société autrichienne
fondée à Vienne et à Budapest en 1872, par Wilhelm
Decker et Eduard Homolka, elle s'est associée à Ericsson
en 1908, elle possédait également des succursales à
Budapest, Paris et Prague.
1898
Les transmetteurs et les récepteurs Deckert, sadaptent aux
installations avec appel magnétique ; il en existe de nombreux
modèles dans la section autrichienne et dans la section hongroise
; tous ces appareils ne diffèrent que par la forme et par les sujets
dornementation.
En novembre 1911, la société suédoise Telefonaktiebolaget
LM Ericsson décide de fonder une société à
Budapest : elle forme avec la Banque générale de crédit
hongroise la société Ericsson Magyar Villamossági
Rt., en rachetant l'usine de la société « Deckert
és Homolka ». Les produits de l'entreprise, ainsi que leur
fiabilité et leur innovation (par exemple l'utilisation d'un combiné
téléphonique au lieu du microphone et du récepteur
séparés habituels) étaient connus dans le monde entier.
1920 1915
1900
Vu
sur un catalogue
Ce modèle associé à Duchatel
dans un premer temps, est vu sur un catalogue Deckert et Homolka avec
des des écouteurs comme ceux des Duchatel. Faute de plus amples
informations sur la société Duchatel, je cherche si il a
été associé à Deckert & Homolka .
sommaire
TÉLÉPHONE HORSE COLLAR
Le Poste Office Britaniqque GPO a utilisé
cet étrange téléphone mural, dans les zones rurales,
entre 1896 et 1900.
Son objectif était d'empêcher les passants de trop entendre
la conversation.
On l'appelait le Horse Collar parce qu'il
ressemblait à un collier utilisé par les chevaux de
trait.
Le micropone, de type Deckert, était
installé dans une boîte en bois dotée d'un coussin
elliptique dans lequel l'appelant plaçait sa tête.
Le coussin a été conçu pour être flexible
et pour former un joint hermétique autour du visage de l'appelant.
Les premiers modèles utilisaient un coussin de cuir rembourré
de crin de cheval. Les modèles ultérieurs utilisaient
un tube pneumatique en caoutchouc.
En raison de l'étanchéité à l'air, le
fabricant a installé un ventilateur spécial qui utilisait
des déflecteurs en verre pour empêcher la parole d'être
entendue.
Cette conception insalubre était très impopulaire
et le téléphone a duré 4 ans avant d'être
retiré du GPO.
|
 |
sommaire
Le téléphone DEGRYSE WERBROUCK
Le transmetteur 1889
La forme des charbons microphoniques est celle des Ader : quatre morceaux
cylindriques, disposés verticalement, s'engagent dans des pièces
prismatiques placées horizontalement et boulonnées sur la
planchette vibrante en sapin, comme le montre la figure.
Les charbons cylindriques sont d'ailleurs montés par deux en surface.

Ce qui caractérise le transmetteur Degryse-Werbrouck, c'est le
mode de réglage du microphone.
Ainsi qu'on peut le voir dans la 1igure 134 qui représente une
coupe, les charbons verticaux sont légèrement comprimés
par un tampon de coton cardé C. Le coton est collé sur une
plaquede liège L, montée elle-même sur un ressort
R qui tend à l'éloigner des charbons ; mais une vis V, traversant
le bâti de l'instrument, agit sur la plaque de liège et l'empêche
au contraire de s'écarter des charbons. On conçoit qu'en
combinant
l'action de la vis avec celle du ressort, on puisse obtenir un réglage
tel que les charbons conservent une certaine mobilité,sans que
cependant ils puissent se déplacer brusquement.
En résumé, le tampon de coton a pour objet d'éviter
les crachements, d'adoucir les sons et de donner plus de netteté
à la parole.
Les fils de communication sont attachés aux charbons rectangulaires
supérieurs en a et b: Dans l'appareil original les bornes, au nombre
de cinq, sont disposées sur la partie supérieure d'une applique
murale. Ces bornes sont marquéesL, S, T Z, CS, CM. La borne L reçoit
le fil de ligne, la borne S le fil de lorsque le crochet C est abaissé,
le doigt e chasse le ressort r, qui alors abandonne la pièce de
contact d; le circuit micro-phonique est ouvert; lorsque le crochet, C
est relevé, le ressort r s'appuie sur le contact d et le circuit
microphonique est fermé.
Le fil de ligne aboutit ù la masse du crochet C qui le permute
entre le circuit d'appel e t le circuit de conversation.
La clé d'appel n'offre rien de particulier; quant à la bobine
d'induction, la résistance de ses deux circuits est de 1,5 ohm
et de 450 ohms.
Depuis l'admission de cet appareil sur les réseaux
aériens et souterrains, M. Degryse-Werbrouck a été
invité par l'administration des Postes et des Télégraphes
à changer la disposition des bornes de son transmetteur, de façon
à la mettre complètement en harmonie avec les montages
généralement usités. Le constructeur s'est d'ailleurs
conformé à ce désir, et les appareils actuellement
mis en vente portent au haut de la planchette les bornes ligne et sonnerie,
tandis que les bornes pile sont reléguées vers le bas. Il
en est résulté nécessairement quelques modifications
de détail dans l'agencement des communications intérieures,
mais aucun changement n'a été apporté au mécanisme
proprement dit.
1893 Le nouveau récepteur que M. Degryse-Werbrouck
vient de faire adopter est bipolaire.
L'aimant a une forme analogue à celle de l'aimant annulaire du récepteur
Aubry; les deux bobines sont calées sur des noyaux de fer doux montés
sur les.pôles de l'aimant.
Le diamètre de la plaque vibrante est de 54 millimètres, son
épaisseur de 0,22 millimètre; la résistance de chacune
des bobines est de 100 ohms.
Le manche en bois de l'ancien récepteur a été remplacé
par un anneau métallique qui sert à suspendre l'instrument
ou à le tenir à la main. A la base de cet anneau est pratiquée
une gorge, autour de laquelle est solidement fixé le cordon souple,
dont les ferrets sont serrés sous des bornes d'attache, auxquelles
aboutissent, d'autre part, les extrémités des fils des bobines.
Autre mural Degryse Werbrouck
sommaire
Le téléphone DEJONGH
Dejongh, Scientifique Belge, le microphone est constitué de
deux fois 4 crayons de charbon montés en parallèle

 
  

 |
Il existe deux modèles : mural
et portatif.
DeJongh a produit un arrangement plutôt compliqué
dans lequel les crayons étaient montés horizontalement
sur des broches en laiton fixées dans le panneau arrière.
Les broches étaient inclinées à l'avant de sorte
que les crayons reposaient contre des blocs de carbone collés
à l'arrière du diaphragme.
L'arrangement était très délicat et coûteux
et devait être isolé du boîtier du téléphone
par des supports en caoutchouc.
Les coûts de construction le rendaient moins pratique que les
autres modèles, bien qu'il ait également été
perfectionné par Allsop à la fin des années
1890. |
Le transmeteur De Jongh est une forme très pratique
et efficace d'émetteur à crayon de carbone.
Il est constitué d'un diaphragme en bois de pin de 17 cm. x 10 cm.
sur lequel sont apposées deux séries de blocs de carbone dont
les surfaces sont polies. Chaque ensemble de blocs est relié entre
eux au moyen d'un fil flexible, solidement lié autour de chaque bloc.
Derrière le diaphragme, à une distance d'un demi-pouce, est
placée une planche de base dans laquelle sont enfoncées deux
rangées de broches en laiton, courbées à un angle d'environ
45° et formant ce qui est pratiquement une série de plans inclinés.
Sur ces broches reposent librement quatre crayons, également en carbone
poli. Un coussin en caoutchouc indien sépare le diaphragme de la
planche de base.
Le tout est monté dans un boîtier approprié, qui est
fixé verticalement dans n'importe quelle position convenable. Les
crayons appuient légèrement contre les blocs de carbone fixés
au diaphragme et les relient entre eux, et lorsque celui-ci est prononcé,
les contacts sont plus ou moins affectés et le courant varie en conséquence.
sommaire
Les téléphones DELAFON et LESEIBLE
Delafon Leseible : ingénieur, 16 rue Popincourt 75011 Paris


  
  
sommaire
Le téléphone De Lalande 1892

En 1895, Dans « Le Dictionnaire dElectricité »,
le professeur et scientifique Julien LEFEVRE décrit cette invention:
"Afin déviter les vibrations parasites
M. LALANDE
a eut lidée dappliquer aux charbons des microphones
le système employé dans les instruments scientifiques pour
amortir les oscillations, et qui consiste à faire plonger dans
un liquide les parties vibrantes,
de façon à obtenir
la plus grande sensibilité en même temps quune netteté
parfaite« . Le liquide quemploie Félix de LALANDE pour
son invention est le mercure. Ce » nouveau microphone » dit
« Système LALANDE » est « admis par ladministration
des Postes et Télégraphes sur les réseaux de lEtat.
Il possède une puissance et une netteté remarquable et ne
donne pas de résonances sur les circuits les plus étendus;
il nest pas exposer à se dérégler"
sommaire
Le mégalophone de Lippens 1883
En 1878 après avoir vu et entendu fonctionner l'envoyeur d'Edison,
Lippens a breveté un transmetteur téléphonique
appelé le mégalophone, qui consiste en deux
plaques en ébonite placées aux deux extrémités
d'une boîte cylindrique, en regard l'une de l'autre et dans une
position verticale. Au centre de chaque plaque est fixée une pièce
en charbon ; une troisième pièce de la même matière
repose librement sur les extrémités des deux premières.
On parle devant une des deux plaques. Le mégalophone, comme les
autres parleurs, pour employer l'expression adoptée par M. Hughes,
présentera des qualités qui le rapprocheront soit de l'envoyeur
Bell, soit du microphone Hughes, suivant que la pièce libre en
charbon sera plus ou moins mobile sous l'action des vibrations.
Il a été breveté 153806
le 19.02.1883

Modèle amélioré
sommaire
Le microphone DELVILLE 1894 Belgique
Trophime Delville directeur et ingénieur de BTMC, développe un
nouveau type de microphone qui a été fabriqué à des dizaines de milliers
d'exemplaires.

L'émetteur de Trophime Delville de 1894 était une amélioration
belge inspirée du modèle anglais Hunnings. L'émetteur
Hunnings, tel que breveté, était rempli de poussière
de charbon grossière pour fournir la résistance variable
nécessaire. Il souffrait beaucoup du tassement. Bell, Edison et
d'autres chercheurs travaillant sur ce problème ont découvert
que des granulés de carbone, plutôt que de la poussière,
résolvaient le problème du tassement.
Le ùicrophone Delville utilisait des granulés de charbon,
soigneusement calibrés. La Bell Telephone Manufacturing Company
d'Anvers le qualifiait d'« émetteur longue distance »,
car il était beaucoup plus sensible que son émetteur Blake-Berliner
standard.
sommaire
Les téléphones DUCHATEL 62 rue Tiquetonne 75002 Paris

Avec son micro Deckert

Je n'ai pas trouvé de réference : socitété,
document ou catalogue liant Duchatel à Deckert .
sommaire
Les téléphones DUCOUSSO
Lorgane magnétique du récepteur Ducousso
(fig. 15), construit par les établissements Postel-Vinay,
est un aimant circulaire dont les pôles, constitués par deux
barrettes rapportées, convergent vers le centre .La barrette A,
fixée sous lanneau DD par les vis v t v 2 , porte un noyau
N, sur lequel est calée la bobine F ; la barrette B, assujettie
de la même manière par les vis v t , v A , se termine par
une expansion cylindrique qui entoure la bobine F; ce cylindre G est fendu
suivant une de ses génératrices.
Lenroulement de la bobine F a une résistance de 150 ohms
; les deux extrémités de cet enroulement aboutissent aux
vis U,U 2 , et de là aux bornes W 1 W 2 , qui reçoivent
le cordon souple. La plaque vibrante est formée par deux disques
de tôle vernie superposés. Cet assem blage, pincé
entre le boîtier et son couvercle, comprend, en séloignant
de laimant, une rondelle de réglage et, un disque de tôle
plein o, une rondelle de réglage d,un disque de tôle a ,
perforé de quatre trous circulaires, une bague de réglage
c.
Lensemble du récepteur est complété par une
embouchure en ébonite E et par un crochet de suspension.

Les figures 16, 17 et 18 représentent les différents modèles
de ce récepteur.
Les récepteurs que lon emploie habituellement avec le transmetteur
portatif sont à manche et garnis dun crochet ; le cordon
souple traverse le manche. Lorgane électro magnétique
est identique à celui du récepteur à anneau.
Le transmetteur DUCOUSSO
  
Le microphone (fig. 67) est formé par une cuvette en charbon
AA, sur laquelle est vissée une coupelle métallique B, divisée
en trois compartiments bt , b 2 , b3 , dans lesquels est placée
la grenaille de charbon. La coupelle B est isolée de la cuvette
AA par une rondelle de mica g et par une lame débonite h.
Au-dessus de la cuvette AA, et appliquée sur ses bords, une mince
plaque de charbon, devant laquelle on parle, reçoit les vibrations
qui lui sont imprimées par les ondes sonores et, agissant sur la
grenaille, détermine les altérations de contact qui produisent
les effets microphoniques. Les deux ressorts d, cf, agissent par pression
sur la plaque de charbon et la maintiennent en place. Dans la partie de
notre dessin qui représente le microphone vu en plan, lun
de ces ressorts a été retourné pour bien montrer
sa forme; dans la partie qui figure une coupe de linstrument, les
ressorts cl, d occupent leur position normale.
La clé dappel (fig. 68), représentée
en plan et en élévation, comprend un massif en ébonite
MN, fixé sur le socle de lappareil par les vis .Dans la partie
AI du massif MX sont im mobilisés deux ressorts en maillechort
R 1. R 2 , qui, contournes en spirale, se terminent par une lige rectiligne
libre. Dans la partie N du massif MN sont incrustés quatre plots
métalliques, isolés les uns des autres ; ce sont les plots
de repos et les plots de travail de la clé. Les plots n 1,n 2 sont
les contacts de repos; le contact de travail p 2 est seul représenté.
Le boulon dappel est formé par une tige métallique
T, guidée dune part par le massif MN dans lequel elle senfonce
et, de lautre, par lébénisterie du transmetteur
quelle traverse; un bouton-poussoir en os la termine. Elle porte
une barrette en ébonite EE, qui sappuie sur les ressorts
R n R 2 .
On conçoit
aisément le fonctionnement de cet organe : lorsquon presse
le bouton I, les deux ressorts R t , R 2 , fléchissent et passent,
par friction, des contacts n,, n 2 sur les contacts p 2 (p nest
pas figuré); par leur élasticité propre, les
ressorts R1, R 2 reviennent sappuyer sur les contacts n 1 n
2 , dès que lopérateur cesse dagir sur le
bouton I.
Pour éviter la métallisation de lisolant en ébonite
N, les ressorts R1, R 2 , rencontrent au passage des goupilles, telles
que </, qui, faisant légèrement saillie, les empêchent
de frotter contre la substance isolante.
Le levier-commutateur (fig . 69) est très original :
Il se compose dune tige métallique terminée par
le crochet C et pivotant autour de la vis à centre V.
Une équerre MN limite le mouvement de bascule de ce bras de
levier. Trois tiges coudées A', A 2 , A 3 sont articulées
sur ce levier, en a { , a 2 , a 3 , au moyen de vis entourées
d'isolants, qui ne leur laissent aucune communication électrique
avec la tige CV.
En regard de ces trois tiges, sur un bloc débonite KL,
sont incrustées six goupilles, disposées par paires.
Ces goupilles, g sont orientées de telle sorte que chacune
des tiges A 1 , A 2 , A 3 ne puisse en rencontrer quune à
la fois. A cet effet, les vis i1, i 2 , i 3 , montées sur le
bloc débonite KL, maintiennent les ressorts à
boudin r 4 , r 2 , r 3 , pincés, dautre part, sous les
têtes des vis k1, k 2: k 3 et sollicitent les leviers A 1 ,
A 2 , A 3 , à s'appuyer sur les goupilles.
Lorsque le crochet C est relevé, les ressorts r1, r 2 , r 3
qui lui servent en même temps de ressorts antagonistes, maintiennent
les tiges A 1 , A 2 , A 3 appliquées contre les goupilles g.
: cest la position de conversation; mais, lorsque le crochet
C est abaissé, les tiges A 1 , A 2 , A 3 abandonnent les goupilles
g 1, g 3 , g 5 et prennent contact avec les goupilles g1 , g 2 , g
3 : c'est la position dappel.
|

|
La figure 70 montre les communications intérieures.
Il est bien entendu que la pile de microphone, intercalée entre CM
et ZM, est indépendante de la pile dappel placée entre
CS et ZS.
Particularités propres aux différents modèles.
Le modèle que nous venons de décrire est un poste mural.
Les établissements Postel-Vinay construisent
également un appareil portatif du système Ducousso.

Les organes de cet instrument sont exactement les mêmes que ceux du
transmetteur mural. Le socle est de forme octogonale ; il supporte les huit
bornes réglementaires et contient la clé dappel, ainsi
que la bobine dinduction. Au centre de ce socle sélève
une colonne surmontée dune boite dont la forme est également
celle dun octogone régulier. Sur la face antérieure
de cette boîte, se trouve lembouchure du microphone ; sur les
côtés sont les crochets de suspension des récepteurs;
à lintérieur, sont disposés le microphone et
le leviercommutateur.
Les combinés DUCOUSSO
Construit par la maison Postel-Vinay
et dont la figure 95 représente une vue densemble.
Le transmetteur et le récepteur sont les mêmes que ceux
que nous avons déjà décrits; la seule dilîérence
à signaler consiste dans le boîtier et dans lembouchure
du microphone, qui sont en ébonite.
Avec lappareil combiné, on fait usage dun support
à colonne analogue à celui du transmetteur porlatif.
|

 |
Ducousso Postel Vinay
En 1884 dans la revue "L'Electricien, on
trouve la description suivante : TÉLÉPHONE DE M.
DUCOUSSO
Dans les postes téléphoniques ordinairement employés
, le circuit induit ou de ligne comprend dans chacun des deux postes
en communication la bobine d'induction du transmetteur et celles des
récepteurs . On conçoit aisément qu'à
la transmis sion il suffit d'avoir dans le circuit la bobine du transmetteur
, et à la réception les bobines réceptrices seulement
. Il est pos sible que ces résistances inutiles introduites
ainsi dans le circuit des appareils ordinaires n'aient pas une grande
influence sur la puissance d'audition , mais ces bobines sont pourvues
de noyaux magnétiques qui nécessairement réagissent
aussi sur le circuit utilisable , et l'on conçoit que cette
disposition peut nuire à la netleté de la parole .
On a déjà essayé l'emploi d'interrupteurs à
la main qui per mettaient , selon que l'on recevait ou transmettait
, de placer dans le circuit les bobines des récepteurs ou celle
du transmetur seulement , mais on l'a abandonné faute de résultats
pra tiques satisfaisants . M. Ducousso a imaginé une disposition
nouvelle qui permet d'utiliser la totalité de la résistance
intérieure d'un poste aussi bien à la transmission qu'à
la réception . Son appareil se com pose d'un barreau de fer
doux C ( fig . 1 ) , dont l'une des extrémités est en
regard du diaphragme ordinaire D et sur lequel sont placées
deux bobines isolées A et B. La première A est formée
de gros fil et elle correspond , comme l'indique le diagramme figure
2 , au circuit pile et microphone ; la seconde bobine B est formée
de fil fin et constitue le circuit induit avec la ligne à laquelle
elle est reliée . Le circuit formé par la pile , le
microphone et la bobine A étant fermé , le noyau en
fer doux C s'aimante et si l'on parle devant le microphone , les variations
d'intensité du courant pri maire qui en résultent donnent
naissance à des courants d'induction dans la bobine voisine
B placée sur le noyau C , en même temps siège
d'un état magnétique variable ; ces courants induits
agissant sur la plaque reproduisent les sons . Au poste récepteur
au contraire , le microphone étant inactif , le noyau C est
le siège d'un état magnétique constant ; si donc
, à ce moment , des courants induits passent dans la bobine
B , venant de la ligne à laquelle celle - ci est reliée
, ces courants modifient l'état magnétique du barreau
C qui agit à son tour sur le diaphragme en fer doux D , lequel
reproduit les sons corres pondants . L'appareil est renfermé
dans un boitier métallique ( fig . 1 ) formé d'un tube
en cuivre repoussé , ce qui rend l'appareil léger et
commode à manier . L'inventeur fait remarquer dans son appareil
l'absence d'un aimant permanent qui , dans les appareils ordinaires
, fait naître d'assez grandes difficultés pour obtenir
un champ magnétique constant sous un petit volume . Enfin ,
dans les postes ordinaires , on emploie généralement
deux récepteurs ; les bobines inductrices des deux téléphones
en communication sont toujours disposées en tension ; il en
est de même des bobines induites . Dans l'appareil de M. Ducousso
, on peut disposer à volonté , selon les circonstances
, chacun de ces groupes en tension ou en quantité . |
sommaire
Les téléphones Dolbear.
Dolbear pionnier Américain, dès le début dans
la compétion pour améliorer le telephones de Bell, il se
distingua en proposant (comme Herz) un transmetteur microphonique à
condensateur en 1881. (Voir la page dédiée
à Dolbear )
Téléphone électrostatique à condensateur,
brevet US 239 742 A,
le 5 avril 1881
et un Brevet "Mode of Transmitting Sound by Electricity". US
240 578 le 26 Avr 1881

En 1882, Dolbear était en mesure de communiquer sur une distance
de 400 mètres sans fil en terre.
Son dispositif s'appuie sur la conduction électrique dans le sol,
qui est différente des transmissions radio ultérieures qui
utilisent le rayonnement électromagnétique.
sommaire
Le microphone Dembinski
M . Dembinski, capitaine de cavalerie, professeur déquitation
à lÉcole de guerre, à Bruxelles, sest
attaché à créer un appareil avec lequel on puisse
correspondre à de très grandes distances.
Le microphone imaginé par M. Dembinski consiste en une boîte
de bois de forme oblongue, fermée par un couvercle fixé
à charnières par le haut ou par un des côtés.
Ce couvercle a la forme dun châssis en bois, encadrant une
toile métallique à mailles serrées au travers de
laquelle le son de la voix peut passer; à lintérieur
de la boîte se trouvent un ou plusieurs tiroirs avec des charbons
disposés comme dans les autres transmetteurs, et placés
en circuit avec le fil primaire dune bobine dinduction.
Ces charbons, daprès M. Dembinski, peuvent être enlevés
si des réclamations se produisent de la part dantres inventeurs,
lappareil, fonctionnant sans ces charbons et pouvant donner les
mêmes résultats au point de vue de la clarté et de
la netteté dans la transmission de la parole.
Chaque tiroir est une boîte en bois garnie de noir de fumée
de pétrole, il se meut dans deux glissières disposées
latéralement. Une des particularités de lappareil,
cest lintroduction dune table de résonnance.
Cette table, qui forme lun des tiroirs de lappareil, se compose
dune mince feuille de bois de sapin garnie aussi à lintérieur
de noir de fumée de pétrole et percée de deux ouvertures
comme celles quon remarque sur la tablette dun violon.
Des cordes vibrantes en cuivre ou en acier, tournées en spirales
G, sont fixées à des bornes métalliques H ou à
des clefs analogues aux clefs des pianos ou des violons, de manière
à pouvoir tendre ces ressorts pour quils produisent par leurs
vibrations les tons de la gamme complète. On peut navoir
quune partie de la gamme, mais, daprès linventeur,
il est toujours préférable davoir la gamme entière.
Sur le fond de lappareil sont tendus dautres ressorts analogues
et fixés de la même manière que ceux décrits
plus haut. Ces cordes sont destinées à vibrer sous laction
de sons émis, dans le but de rendre leur action sur le microphone
plus prolongée.
Linventeur insiste sur ce que lemploi des cordes vibrantes
donne un ensemble dune résonnance extrême, car non
seulement les tiroirs, mais la boîte elle-même constituent
autant de caisses de résonnance, et cest ce qui justifierait
dès lors, daprès M. Dembinski, la supériorité
de son transmetteur sur les autres microphones actuellement en usage.
Lappareil est muni dune ou de deux bobines dinduction
directement en circuit avec le microphone.
Comme récepteur et comme appel, on peut faire usage des modèles
et des systèmes connus. Toutefois, M. Dembinski a également
fait breveter un téléphone de son invention et a adopté
différents modèles pour ses appareils micro-téléphoniques.M.
Dembinski affirme que son microphone ne nécessite lemploi
que dun seul élément de pile.
De nombreuses expériences ont été faites depuis plusieurs
années, au moyen de cet appareil, notamment en Belgique, entre
Ostende et Arlon (314 kilomètres), puis en Angleterre, en Espagne
et en Italie. Les résultats de ces expériences nont
pas été publiés jusquici.
« Dans les essais exécutés au ministère des
Postes et Télégraphes, à Paris, dit M. Delahaye,
les transmetteurs étaient tous les deux dans le bâtiment
et se trouvaient à 40 ou 5o mètres lun de lautre.
Dans ces conditions, il était difficile de juger de la supériorité
de lappareil sur les autres téléphones, qui fonctionnent
tous bien à une aussi faible distance. Cependant, lappareil
Dembinski paraissait présenter une netteté et une sonorité
sensiblement plus grandes que celles des autres microphones. » .
sommaire
Le Dictograph de Kelly Monroe
Turner
Turner était président de la General Acoustics Company,
fabricant de l'aide auditive Acousticon, du microphone Dictograph et du
système d'interphone Dictograph. Le cur de son système
était un microphone assez conventionnel mais très sensible,
qu'il baptisa le Métrophone. Breveté par Turner et
Norton Johnson en 1907, il utilisait un diaphragme plus grand que la normale,
capable de capter les conversations à une distance raisonnable.
Il pouvait donc être associé à un récepteur
sensible, qu'il s'agisse d'un récepteur de boîtier de montre
ou d'un haut-parleur intégré, et utilisé comme interphone
de bureau. L'idée d'un système téléphonique
de bureau mains libres fit rapidement son chemin, et l'entreprise de Turner
eut du mal à répondre à la demande de son usine de
Jamaica, dans l'État de New York.

De 1902 à 1913, la Dictograph Products Company Inc., créée
pour gérer la partie téléphonie de l'entreprise,
fit breveter les bases de son système. La société
et le nom « Dictograph » ont été enregistrés
en 1907 par Turner et son financier, W. Donnan.
À gauche le logo et l'Intérieur du métrophone,
vue arrière. À droite : Émetteur à billes
et blocs de carbone. La version ultérieure (années 1920)
utilisait plusieurs billes de carbone plus petites.
Le principal inconvénient du système Dictograph résidait
dans la nécessité d'installer un câblage important
à chaque poste, et les entreprises hésitaient à adopter
un système aussi coûteux pour remplacer leurs tubes phoniques
éprouvés. Lamson Engineering, alors un important fournisseur
mondial de matériel de bureau, ajouta le Dictograph à sa
gamme de produits. Lamson Engineering aurait suggéré que
Dictograph loue ses systèmes plutôt que de les vendre directement,
et étale le coût sur plusieurs années. En 1908, les
systèmes Dictograph étaient loués à partir
de seulement cinq dollars et cinquante cents par mois pour une console
principale et cinq postes. La stratégie fonctionna. L'idée
n'était pas originale. Des entreprises anglaises comme General
Electric s'étaient déjà lancées sur le marché
de la location à la fin des années 1890, et la New System
Private Telephone Company fut également créée à
la fin des années 1890. La location de téléphones
débuta en 1902. Les téléphones de location britanniques
étaient principalement fournis par Fuld GmbH en Allemagne. Fuld
louait également des téléphones en Allemagne. Lamsons
était bien au courant de cette pratique de location grâce
à ses sociétés européennes.
En 1907, Turner se rendit en Europe pour y créer des filiales.
Son Dictograph reçut un accueil très favorable et la nouvelle
société qu'il créa répéta son succès
en Grande-Bretagne, en France et en Allemagne. Il obtint également
les droits européens de fabrication et de vente des prothèses
auditives Acousticon. À son retour aux États-Unis, Turner
fut quelque peu gêné de constater que son usine prenait un
sérieux retard par rapport à la demande, en raison d'importantes
commandes du gouvernement américain. Une autre usine fut créée
à Chicago.
En 1910, Turner utilisa le métrophone pour produire le « Detective
Dictograph », un microphone légèrement plus grand
et encore plus sensible, destiné à la surveillance. Il fut
utilisé par l'agence de détectives Burns pour obtenir des
condamnations dans plusieurs affaires criminelles et de corruption majeures.
Les tribunaux acceptèrent les preuves obtenues et enregistrées
par le Detective Dictograph. La publicité qui en résulta
sur les « écoutes scientifiques » encouragea
les ventes de systèmes d'interphone. La clarté et la sensibilité
du microphone ont été démontrées lors d'une
interview où la personne dans le bureau distant pouvait entendre
le froissement des vêtements du journaliste alors qu'il s'approchait
de la console du Dictograph.

Les microphones Dictograph ont été utilisés lors
des premières transmissions radio d'essai d'opéras par Lee
DeForest à New York en 1910. Les détails de l'équipement
utilisé par DeForest ont été largement rapportés
dans les publications techniques de l'époque, et les Dictographs
ont bénéficié d'une bonne publicité.
Au cours des décennies suivantes, Dictograph aux États-Unis
a élargi sa gamme pour inclure les automates, les postes et haut-parleurs
sans fil, ainsi que les équipements de communication militaires.
Après la Première Guerre mondiale, les premiers combinés
sont apparus sur les Dictographs.
Kelly Turner est décédé le 7 novembre 1927, homme
riche et respecté. Ses entreprises lui ont survécu et ont
continué à prospérer dans le monde entier, même
si leur orientation a progressivement évolué avec le temps.
La fabrication pour les marchés britannique et colonial était
en partie assurée par Autophone, filiale de la British Home Office
Telephone Company, depuis son usine de Wimbledon. Une autre usine à
Croydon fournissait des téléphones. Autophone utilisait
de nombreuses pièces importées pour sa construction, la
plupart provenant encore une fois de H. Fuld GMBH. Les combinés
étaient marqués Dictograph. Fuld devint plus tard T&N,
et certains Dictographs très récents sont équipés
de combinés de marque T&N. La partie britannique de la construction
concernait principalement la menuiserie et le câblage. L'assemblage
final fut finalement transféré dans une usine de Coventry.
L'association de Dictograph avec Lamsons se poursuivit, et Lamsons commercialisa
ses appareils sur de nombreux marchés coloniaux, comme l'Australie...

sommaire
Le téléphone Kostecki
- DUCROTROY
sommaire
Récepteur Dumoulin-Froment et Doignon.
 |
Ce téléphone, en
forme de montre, est bipolaire.
L'aimant, avant d'avoir été travaillé, a la forme
d'un anneau fermé, portant extérieurement, sur un même
diamètre, deux oreilles (fig. 37).
Avant la trempe, les oreilles sont recourbées deux fois à
angle droit, de sorte que le système magnétique, vu
en coupe, a la forme du dessin que l'on voit à droite de la
(fig. 37). Sur les extrémités des oreilles A B (fig.
38)qui garnissent le fond d'un boitier laiton nickelé, en se
vissent deux noyaux en fer doux; chacun cl eux supporte une bobine
rectangulaire b b' dont la résistance électrique est
de 50 ohms; la résistance totale des deux bobines, montées
en série, est, par conséquent, de 100 ohms. Les extrémités
du fil fin sont solidement reliées à un double cordon
souple. Un anneau en laiton ou mieux en fer (loux, de 2 millimètres
d'épaisseur, est interposé entre la partie annulaire
de l'aimant et la plaque -vibrante. Celle-ci, en tôle
étamée, a un diamètre de 67 millimètres
et une épaisseur de 0,30 millimètre.
Le tout est emprisonné sans un couvercle métallique
dans lequel est enchâssée l'embouchure en ébonite.
La figure 38 laisse voir le plan et la coupe de ce récepteur. |
sommaire
Le microphone DUNAND
On sait que souvent les noyaux magnétiques des téléphones
Bell ordinaires se désaimantent, et quils perdent, par suite,
de leur force et de leur sensibilité. Pour éviter cet inconvénient
et leur donner en même temps une plus grande puissance, M. Dunand,
comme lavait fait Bell dans lorigine, substitue à ces
noyaux dacier aimantés des noyaux de fer enveloppés
dune bobine magnétisante et dont la partie supérieure
est munie de la bobine ordinaire des téléphones ; seulement
avec du fil plus long et plus fin. En adaptant à chacune de ces
deux hélices une pile de 2 éléments Leclanché
et faisant passer au poste de transmission, le courant destiné
à agir sur la bobine téléphonique à travers
un microphone on obtient en actionnant au poste de réception la
bobine magnétisante par le courant de lautre pile, li reproduction
de la parole dans' - des conditions de sonorité supérieures
à celles des téléphones ordinaires.
Le microphone employé par M. Dunand est constitué par un
disque de bois très-mince, muni à son centre dun petit
charbon sur lequel appuie horizontalement une petite baguette de charbon
denviron, un millimètre et demi de diamètre. Cette
petite baguette est soutenue, par sa partie médiane, par un double
fil tordu de manière à former ressort, et le degré
de la tension que ce fil exerce, est réglé au moyen dune
vis de réglage placée eu dehors de la boite en tabatière
qui renferme le tout .
L'appareil désigné sous
le nom de microphone à torsion de Dunand est une forme
nouvelle qui paraît posséder quelques avantages; il se
compose de deux plaques AA', qui sont fixées dans une bague
en bois, dont la position préserve le système microphonique
de l'air et des poussières qui salissent fréquemment
les contacts des microphones ordinaires.
Chacune de ces plaques (membranes sonores) porte à son centre
un petit disque de charbon BB'. Entre ces disques on serre un petit
morceau de charbon ovale. Sur le centre de ce petit morceau de charbon
est enroulé un fil de laiton F, lequel, tendu diamétralement
sur la bague de bois, est attaché par son bout inférieur
avec cette bague et par son bout supérieur avec le bouton E,
que l'on tourne en partie de cercle afin de donner au fil un certain
degré de torsion, et, par suite, régler la sensibilité
du microphone. Cet instrument peut transmettre en même temps
dans le téléphone la parole ou le chant de deux personnes,
si l'une d'elles dirige sa voix sur une des membranes sonores et l'autre
sur l'autre membrane. |
 |
sommaire
Les téléphones DUNYACH LECLERT anciennement
Société Anonyme Française,
80 rue Taitbout 75009 Paris


sommaire
Le téléphone EATON 1878
| La particularité
de ce téléphone consiste dans la combinaison de six
aimants en forme de fer à cheval en un aimant multipolaire,
commele représentent les figures 40, 41, ainsi que dans l'emploi
d'une double membrane. Ces figures représentent le téléphone
dans son entier en coupe longitudinale, et vu d'en bas après
enlèvement du couvercle. Les deux membranes sont plissées
concentriquement en forme d'anneaux, ce qui augmente leur élasticité;
le nombre des plis dépend de leur diamètre. Elles sont
séparées l'une de l'autre par une bague de carton, posée
entre, qui emprisonne une couche d'air. Les six aimants m sont réunis
en forme d'étoile avec leurs pôles nord dirigés
vers le centre A et rassemblés dans une bobine b, de sorte
qu'il en résulte un fort pôle central ; les autres pôles
de même nom (sud) sont rangés symétriquement en
cercle autour du point A ; chacun de ces pôles est muni d'une
petite bobine de fil b. |
  |
sommaire
Le microphone ECCARD
Parmi les nombreux microphones qui rentrent
dans la catégorie des transmetteurs dAder et de Crossley
figure le microphone de M. Eccard, de Washington, très employé
aux Etats-Unis.
Les charbons mobiles C représentés dans la figure ci
contre sont placés perpendiculairement à la membrane.
Dans les extrémités des baguettes de charbon, on a percé
des trous coniques; dans ceux-ci pénètrent les pièces
coniques VV : les unes sont fixées à la membrane et
les autres à la traverse isolée T.
Comme pour les microphones de Crossley et dAder,lappareil
Eccard ne nécessite aucun réglage; il est combiné
avec une bobine dinduction pour le microphone. Lappel
se fait au moyen de la sonnerie magnéto ou dune sonnerie
ordinaire à piles. Comme récepteur, on fait usage dun
téléphone quelconque.
|
 |
sommaire
Les téléphones EDISON
Selon M. Bede dans son ouvrage sur la téléphonie,
ce serait à Edison que revient tout le mérite de l'invention
du transmetteur à charbon EN 1876.
Le téléphone d'Edison
est fondé sur ce principe énoncé déjà
dès 1856 par M. le comte Du Moncel, à savoir que la pression
exercée au point de contact entre deux corps conducteurs appuyés
sur l'autre pouvait influer considérablement sur l'intensité
électrique développée.
Edison a donné à son transmetteur la forme indiquée
dans la photo ci dessous .
Voici la description donnée par M. Bede :
 |
L'appareil Edison présente trois pièces
principales, une plaque vibrante, une pastille de charbon platinée,
c'est à dire recouverte d'une couche de platine, et d'une seconde
pastille de charbon. La plaque vibrante ou diaphragme porte une couronne
garnie de trois pointes de charbon qui s'appuie sur la pastille de
charbon platinée. Celle-ci est en communication par une bande
qui l'entoure avec l'un des pôles d'une pile ; la seconde pastille
de charbon est mise en communication avec l'autre au moyen d'un petit
cordon métallique très flexible. Une vis de pression
qui s'appuie sur cette pastille permet de la presser plus ou moins
fort contre la première.
Ainsi dans tout le système, il n'y a réellement de flexible
que le diaphragme. Lorsqu'il rentre en vibration, il exerce des pressions
très variables contre les charbons, et le contact de ceux-ci
éprouve par là des variations continuelles qui se reproduisent
dans l'intensité du courant qui franchit ce contact pour se
rendre dans le circuit inducteur d'une bobine d'induction, dont le
courant induit est en communication avec le fil de ligne et le circuit
du téléphone récepteur. |
Le système du diaphragme et des charbons est placé
dans un bâti de fonte articulé sur un bras attaché
à un pupitre qui porte la bobine d'induction et le crochet communicateur
auquel on suspend le téléphone et qui est disposé
de telle façon que lorsque le téléphone y est accroché,
les courants
envoyés dans la ligne ne peuvent pas le traverser et se rendent
dans une sonnerie ou un appareil d'appel quelconque.
Lorsque, au contraire, ou décroche le téléphone pour
le porter à l'oreille, le circuit de la sonnerie est interrompu
et le téléphone reçoit le courant qui fait vibrer
sou diaphragme.
Les appareils d'Edison
sont employés principalement lorsqu'il s'agit de franchir des distances
considérables. Aussi est-ce à dater de l'apparition de ces
transmetteurs que la téléphonie a pris une extension qui
s'accroît chaque jour davantage."

avec écouteur Phelps Pony-Crown
En France, le
téléphone pupitre Edison-Phelps 1879-1880 sera très
peu utilisé à Paris Marseille , il est donc très
rare.
Il est aussi installé en Belgique à Bruxelles et à
Anvers.
 |
Un modèle singulier, trouvé
en France,
avec un écouteur Phelps pony-crown et un microphone
Edison comme l'appareil ci dessus.
un boitier plus tardif .
Constructeur Gimé et Cie Paris
|
En 1879 Edison
a produit un récepteur téléphonique connu sous le
nom de «récepteur à craie», «récepteur
de motogramme» ou «électromotographe». Il n'a
pas eu de succès commercial en Amérique.
récepteur à craie
La rotation d'un cylindre de craie mouillée au contact d'une armature,
elle-même attachée à un diaphragme engendrait une
friction faisant varier le courant microphonique produit par les vibrations
du diaphragme. C'était incroyablement sensible, il était
assez fort pour être entendu dans une grande pièce . Son
inconvénient : une poignée sur le côté de l'instrument
devait être constamment tournée pendant la conversation.
L'électromotographe d'Edison

Si l'on trempe une feuille de papier buvard dans une solution saturée
de potasse caustique, et qu'on la place sur une plaque métallique
reliée au pôle positif d'une batterie composée de
deux ou trois éléments Leclanché, et qu'on passe
ensuite un morceau de feuille de platine, environ un d'un centimètre
de large, sur la surface du papier, en exerçant une certaine pression
sur la feuille, une résistance au mouvement de glissement se fera
sentir, en raison du frottement de la feuille contre le papier, qui possède
une certaine rugosité de surface. Si la feuille de platine, en
glissant sur le papier, est reliée au pôle négatif
de la pile, la résistance au glissement sera très fortement
diminuée lorsque le courant circulera ; le courant électrique
a donc pour effet de lisser ou de lubrifier, pour ainsi dire, la surface
rugueuse du papier. Cet effet du courant électrique est proportionné
au courant ; il commence et se termine avec lui, et est si sensible que
les courants les plus faibles, ceux, par exemple, qui n'ont aucun effet
sensible sur un électro-aimant, sont rendus tout à fait
perceptibles.
Dans l'instrument représenté à la figure ci dessus,
un mince diaphragme de mica, de huit à neuf centimètres
de diamètre, porte en son centre une bande de platine C, qui appuie
contre le cylindre A avec une pression constante, grâce au ressort
S et régulée. par la vis E.
Le cylindre A est fait de craie et quelquefois d'une pâte composée
de chaux, de potasse caustique et d'un peu d'acétate mercurique.
Lorsqu'il s'agit de craie, elle est humidifiée avec un électrolyte
facilement décomposable comme l'iodure de potassium. Cette plaque
fait office de papier imbibé de potasse dans l'expérience
précédente. Le cylindre tourne d'un mouvement régulier
grâce à un système de roues multiplicatrices, et de
la poignée w. Ce système est remplacé par un mouvement
d'horlogerie dans les appareils plus récents.
Le courant électrique venant de l'émetteur arrive par le
support H, traverse le cylindre A enduit de pâte, la bande de platine
c, et sort par le fil D jusqu'à la masse. En tournant le cylindre
A dans le sens des aiguilles d'une montre, par la poignée w, le
frottement entre la bande c et la surface du cylindre A produit une traction
sur la bande c. Le disque de mica, en raison de son élasticité,
prendra une certaine position d'équilibre, qui dépendra
de la traction de la bande c et, par conséquent, du frottement
entre A et C ; et comme chaque variation du courant qui parcourt A et
C produira une variation dans la traction de la bande c, cela provoquera
un certain déplacement du disque de mica, qui vibrera ainsi de
manière synchrone avec le courant ondulatoire, et, par conséquent,
de manière synchrone avec la membrane de l'émetteur.
Le mouvement vibratoire du disque de mica nest donc pas obtenu directement
par le courant électrique, mais est produit mécaniquement
par la rotation du cylindre A.
Le courant provoque une réduction du frottement entraînant
une variation du mouvement de glissement, ce qui explique la grande puissance
de l'appareil.
Par contre, le disque de mica, possédant peu d'inertie et une élasticité
considérable, transmet efficacement les impulsions reçues
par la bande C. Il est à peine besoin de mentionner que, lorsque
la poignée n'est pas tournée, le téléphone
n'agit pas.
La rotation peut être effectuée dans les deux sens. La bande
de platine c agit, selon les conditions, soit en tirant, soit en poussant
le disque de mica. La substance dont est enduit le cylindre A doit toujours
rester humide, et ce résultat s'obtient en soulevant, au moyen
de c, de temps en temps un petit rouleau plongé dans une solution
de potasse caustique qui est contenue dans le réservoir T.
Les sons émis sont très forts et peuvent être entendus
dans une grande salle. Ce récepteur est donc un grand favori des
conférenciers. Son articulation est cependant très floue..
Edison a aussi fabriqué un modèle
mural pour les Usa.

1879 la troisième société
créée, la Société
Française des Téléphones système
Edison : la SFT, avec comme
représentant M. Alfred Berthon, Ingénieur
concession. La société détentrice
de brevets américains est donc chargée d'établir
et d'exploiter pendant cinq ans des réseaux dans les villes de
Paris, Lyon, Marseille, Bordeaux, Nantes et Lille. On s'aperçoit
vite que ces trois systèmes ne sont pas compatibles entre eux.
Au mois de mars 1880, seulement 24 abonnés sont raccordés
et 150 ont signé une promesse dabonnement.
Août 1880, est fondée la Société
Générale des Téléphones.
Cette société élue pour
5 ans, est créée dans le but de fusionner
la Compagnie des Téléphones (Gower) et la Société
Française des Téléphones (Système Edison et
autres).
Ce sera la fin des appareils Edison incapables de s'interconnecter avec
les autres systèmes.
1892 Speaking Télégraph

sommaire
Le téléphone EURIEULT 123 rue de grenelle 75015
Paris
Le transmetteur . Le microphone est à quatre
charbons montés par deux en dérivation, les deux groupes
étant assemblés en série; lensemble est
fixé sur la plaque vibrante en sapin.
Clé dappel Elle est formée par deux ressorts-lames
obéissant à un seul bouton. Une entretoise A, isolée
en e (fig. 53), réunit les ressorts R, R, terminés chacun
par un cylindre a qui se déplace entre les contacts de repos,
formés par des équerres b montées sur des ressorts
r, et les contacts de travail c, également montés sur
ressorts en r ; ces contacts sont à friction ; léquerre
E forme butée dans la position de repos de la clé.
Levier commutateur Cest un crochet C (fig. 54), mobile
autour de laxe 0, pourvu dun talon darrêt
A et dun res sort antagoniste R. La tige du crochet C, recourbée
au-dessous de son point de suspension, supporte, perpendiculairement
à sa direction, un cylindre EE dont les parties métalliques
f , g sont isolées. Deux jeux de ressorts, t à G et
7 à 10, prennent contact avec le cylindre EF, suivant sa position.
Quand lappareil est sur sonnerie, les ressorts 7 à 10
sappuient sur le cylindre EF; quand 1 appareil est dans la posi
tion de conversation, le cylindre EF est en relation avec les ressorts
de 1 à G.
Communications intérieures
Elles sont représentées par la figure 55, le transmetteur
étant dans la position de conversation.
|
 |
 
Type 10
Type 10 de luxe
2e
Type 5 Type 10 grande colonne
sommaire
Les téléphones ERICSSON
Appareils Suédois très répendus dans le monde entier.
Le microphone première génération, se compose
dun bloc métallique dans lequel sont percés 9 trous
cylindriques, dont un central plus grand que les autres et 8 sur la périphérie.
Ces cavités sont remplies de charbon granulé.
La face inférieure est bouchée par une mince plaque métallique
au-dessous de laquelle des rondelles de papier, formant amortisseur, sont
enfilées sur la vis qui, traversant un canon en ébonite,
assemble le bloc avec le boîtier.
La face supérieure du bloc métallique est recouverte d'une
feuille de papier perforée comme le bloc lui-même.
Une plaque de charbon est placée par dessus et constitue la plaque
microphonique qui communique avec le boîtier métallique relié
à lun des fils de communication ; le bloc qui contient la
grenaille est relié à lautre.

Eiffel tower; Dessin de Lars Magnus Ericsson, invention le microphone
hélicoïdal, 1880 ; et modèle 1881
Les combinés ERICSSON
Cet appareil est formé par un microphone Ericsson, réuni
à un récepteur de petites dimensions du type Ader n°3.
Lembouchure du microphone est recourbée ; elle est mobile
et peut être orientée au gré de lopérateur.
A la rubrique Documents
on trouve plusieurs catalogues Ericsson
1897 ,
édition 1902 , édition
5
Premier modèle Ericsson micro rotatif ancien version vers 1885,
fabriqué par lElektrisk Bureau
de Kristiania

ERICSSON n°370, et modèle AC200 Surnom : "Eiffel Tower"
"Machine à coudre" "Skeletal" "Skeleton"
; et le modèle CG 100 "Spider"
Consultez la page des différentes
versions du Skeleton

AC210 "boîte à biscuit" ou "moulin à
café" ; HA 150/10 ; BC 2000

A.B.Telefonfabriken Stockholm "Tunnan" ; HA 200/20; AB 2530
; BC 2050
Lappareil Ericsson de type "Eiffel Tower" est un poste
microtéléphonique complet.
Il comprend un appel magnétique et une sonnerie formant
en quelque sorte le socle de lappareil, un mécanisme de commutation,
un appareil combiné et en option un récepteur supplémentaire
; seule la pile microphonique est indépendante. Le mécanisme
de la sonnerie est placé à lintérieur du timbre.
Le levier-commutateur est constitué par une tige verticale à
glissière, surmontée par deux crochets sur lesquels on place,
en travers, lappareil combiné dans l'intervalle des conversations
; dans cette position dattente, lappareil est sur sonnerie
et, en tournant la manivelle de l'appel magnétique, on fait tinter
la sonnerie du poste correspondant.
Les ressorts de commutation sont encastrés dans une platine en
ivorine et la bobine dinduction, protégée par une
chemise, également en ivorine, est suspendue en arrière
de l'appareil.
Lappareil combiné est mis en circuit au moyen dune
mâchoire à cinq contacts et dune fiche réunie
au cordon souple. Ce cordon souple aboutit, dautre part, à
un macaron qui porte les bornes dattache.des fils extérieurs.
 
Waden
finlande  
 
De 1886 à
1976 les catalogues
Ericsson sont accèssibles en ligne ICI
Téléphones de bureau à boîtier
métallique d'Ericsson (1893-1929)
Les premiers téléphones de bureau étaient des appareils
métalliques entièrement ouverts, comme les téléphones
chandeliers américains et les téléphones squelettes
d'Ericsson, dont les composants étaient montés dans ou sur
un boîtier en bois. Avec la fiabilisation des téléphones,
les avantages d'un boîtier aussi fermé que possible sont
devenus évidents. Les composants étaient protégés
de la poussière et de la saleté, les risques pour les personnes
et l'appareil étaient réduits, et des surfaces planes étaient
soudainement disponibles pour les décorations ou l'application
d'emblèmes ou de logos. Un matériau vivant comme le bois
ne se prêtait pas à la normalisation des mesures. C'est pourquoi,
en 1893, Ericsson a pu dévoiler un appareil à boîtier
métallique. Cependant, la partie supérieure et la base,
laquées en noir et tournées, étaient toujours en
bois. L'appareil, de forme cylindrique, a été baptisé
n° 380/AC210, autrement connu sous le nom de Moulin à Café
(également appelé Boîte à Thé, Tonneau
à Biscuits ou Pot à Biscuits). Ce surnom lui a été
donné en raison de sa ressemblance avec un moulin à café
Peugeot, très populaire à l'époque.
Avec le téléphone cylindrique en métal de 1893, Ericsson
a fait un premier pas dans la transformation du téléphone
de bureau, passant d'un simple appareil à un produit attrayant
doté d'une technologie cachée. L'appareil reposait toujours
sur les principes du téléphone squelette, mais afin de libérer
de l'espace pour l'inducteur de sonnerie sous le boîtier métallique,
le support aimanté a été remplacé par deux
aimants reliés en série, présentant le même
design en fer à cheval que celui des téléphones muraux
plus petits de la société. Grâce à son boîtier
métallique amovible et divisible en deux, Ericsson a ouvert la
voie au montage efficace des composants sur une plaque inférieure.
Le boîtier métallique, quant à lui, était décoré
d'un design classique et sophistiqué, avec des couleurs douces
et discrètes, des colonnes cannelées reliées par
des architraves fantaisistes et des clés de voûte robustes
encadrant de magnifiques compositions florales alternant avec une version
abstraite du même motif.
Cependant, le modèle du moulin à café a connu une
courte durée de vie, en grande partie à cause de la portée
limitée de l'inducteur de sonnerie compact. Les téléphones
à boîtier métallique ont continué à
être développés avec l'aide d'architectes. La Kungliga
Telegrafverket (Compagnie royale suédoise des télégraphes)
a pris l'initiative avec son appareil pionnier de 1894, conçu par
le professeur et architecte de la Telegrafverket, Isak Gustav Clason.
Le résultat était une création rectangulaire en forme
de maison, dotée d'une base haute et profilée, de parois
en tôle peinte en noir sous une partie supérieure plate,
légèrement en porte-à-faux. Ericsson a ensuite perfectionné
ce type de téléphone en déclinant différents
modèles, d'une version avec des plaques latérales amovibles
maintenues par des moulures d'angle profilées en 1901 au dernier
modèle en métal avec un couvercle moulé, le modèle
WZ d'inspiration Art déco. Torben Grut, conseiller en architecture
d'Ericsson, a joué un rôle important dans ces travaux et,
en 1904, il a été chargé de concevoir le premier
appareil de la nouvelle génération de téléphones
de bureau utilisant une batterie centrale. En plaçant les piles
dans la station centrale et en émettant une basse tension dans
les lignes alimentant le microphone et le signal, on pouvait éviter
d'insérer une pile dans le microphone et d'enfermer l'inducteur
de sonnerie, lourd et encombrant, dans le boîtier de l'appareil.
Le résultat était un modèle de bureau considérablement
plus petit et plus léger, qui pouvait également être
équipé, en 1909, d'un couvercle périphérique
en tôle d'acier étiré au lieu du capot fileté
précédent en tôle pliée et soudée.
Le passage du capot en forme de boîte au boîtier créa
les conditions d'une production rationnelle en série des téléphones,
et la conception simple et réduite du boîtier annonçait
les idéaux de design fonctionnel des années 1900. Cependant,
la fabrication des téléphones à boîtier métallique
présentait un défaut : le traitement de surface, fastidieux,
impliquait l'application d'une couche d'apprêt, le remplissage,
le polissage, le dépoussiérage, quatre couches de laque,
la pose de l'étiquette et des décorations, et le vernissage.
Cette étape de production, qui pouvait prendre une semaine, disparut
d'un coup avec le passage à la bakélite.
Après le succès du DBH 1001, la firme Ericsson
lance en 1954 un autre modèle précurseur, le ERICOFON, qui
est resté le téléphone monobloc le plus populaire
pendant plus de trois décennies. (voir la rurique postes en backélite
ci dessous)
sommaire
Les téléphones FEIN Allemagne
W. Fein de Stuttgart sans connaître le nouveau brevet Bell
de décembre 1877 innove à sa manière .
 
Les figures 106 et 107 , à gauche, montre la disposition intérieure
après dévissage du porte-voix et l'enlèvement de
la membrane.
Dans son livre "Elektrische
Apparate, Maschinen und Einrichtungen. Eine Sammlung von Beschreibungen"
(en pdf), Fein s'éxprime ainsi :
"Après plusieurs tentatives dans ce sens, j'ai pu y parvenir
grâce à la construction de mon double téléphone
avec un aimant en forme de fer à cheval. Il est achevé en
décembre 1877, sans que la maniabilité de l'instrument
ne soit altérée par cet arrangement. Cela prouve que j'ai
été l'un des premiers à utiliser des aimants en forme
de fer à cheval pour de tels instruments à main." .
Le modèle suivant en 1878 était un aimant d'acier, en forme
de fer à cheval, dont les pôles sont munis de plaques polaires
vissées dessus, sortant par sa moitié courbée, d'une
boîte ronde en bois, composée de trois parties vissées
ensembles; l'anse qu'il forme sert à pendre et à accrocher
facilement le téléphone, et en outre cette forme permet
de donner à l'aimant une grande dimension et par suite une attraction
plus forte qui accroît naturellement beaucoup l'action du téléphone.
 
Les armatures de fer qui sont fixées aux bouts des deux branches
de l'aimant sont placées à angle droit par rapport à
la membrane et sont mises en communication avec les noyaux en forme de
demi-cercle sur lesquels reposent les bobines b, qui ont une forme semblable.
Cette disposition a pour but d'égaliser l'attraction entre l'aimant
et la membrane et d'en régulariser autant que possible les vibrations,
afin d'obtenir une transmission distincte des paroles. Les noyaux ne sont
pas faits d'une masse de fer solide, mais de petites plaques minces posées
l'une sur l'autre, ou même de fils fins, afin de reproduire le plus
exactement possible, sur les pôles magnétiques les ondulations
électriques.
Pour placer ces noyaux dans leur position exacte par rapport à
la membrane, on place entre les deux branches de l'aimant un levier ,
en laiton, mobile entre eux pointes devis, que l'on peut diriger à
l'aide dela vis v; l'axe de rotation de ce levier est fixé parla
visu, v, sur le côté de la boîte.
 |
Un fort ressort à
spirale placé au milieu, entre des vis, empêche le point
mort. La tête de cette vis passe par une plaque de laiton qui
se trouve entre les deux branches de l'aimant, et la vis est assez
longue pour dépasser le fond de la boîte et pour permettre
de la manoeuvrer avec un tourne-vis. Sur les deux côtés
du levier f sont fixés les deux noyaux de fer mentionnés
plus haut, dont les deux bouts de derrière, pouvant se visser
ou se dévisser, s'avancent entre les armatures de l'aimant.
Cette disposition permet de rectifier la pose des noyaux par rapport
à lamembrane sans que l'on ait à déplacer l'aimant.
Les bouts des bobines b sont en communication avec les deux bornes
p,p, qui servent à serrer les fils conducteurs.
On a remplacé dans les derniers temps la boite en bois par
une boite en laiton, qui offre plus de solidité pour fixer
exactement la position des noyaux 'magnétiques.
Le double téléphone de Fein est représenté,
fig. 34, 35 vu de devant après enlèvement de couvercle
et du porte-voix, et en coupe longitudinale. Au
moyen des six vis désignées par f, le porte-voix e,
e, se monte sur le disque en bois d, et entre ces deux pièces
se place la plaque de fer c, c embrane). Le disque d est muni en outre
de deux tuyaux en bois a, a, dans lesquels se trouvent réunis,
par la barre de fer n, n, les deux aimants
d'acier m, m, dont les bouts sont inégalement polarisés,
de sorte que la membrane c se trouve en face le pôle nord N
d'un aimant et le pôle sud S de
l'autre. Au-dessus des bouts de ces pôles sont fixées
les bobines b, b, recouvertes de fil fin, dont les extrémités
de polarité correspondante, sont réunies ensemble, tandis
que les deux autres sont reliées aux bornes placées
en dehors sur les côtés du téléphone. Le
réglage exact du pôle magnétique se fait au moyen
de la vis v et de son écrou. |
Fein était en Allemagne ce que Ader était
en France, il a beaucoup innové dans le domaine de l'électricité,
voici quelques beaux téléphones oubliés.
  
sommaire
Le téléphone haut parleur GAILLARD
et le Microtéléphonographe
fabrication Ducretet 75 rue Claude Bernard PARIS
sommaire
Le transmetteur
GALLAIS employé par M. Gallais est du type Ader.
La clé d'appel est un bouton-poussoir ordinaire.
Le levier pivote entre les pointes des vis A, B ( fg . 56).
Un res sort R, roulé en spirale, fixé à la chape
par un de ses bouts, à l'axe du levier par lautre, remplit
loffice de ressort antagoniste. En arrière de laxe
AB, le levier se prolonge en D, par une pièce métallique,
sur laquelle est vissée la plaque débonite E.
Cette plaque supporte un second appen dice métallique F, parallèle
à D, mais isolé par la pièce E. Le ressort r
(ligne) est constamment en contact avec la tige I). Quand le crochet
C est abaissé, D rencontre le ressort r 2 (sonnerie). Quand
le crochet est relevé, D est en relation avec r, (circuit secondaire)
; en même temps r 3 , r, (circuit primaire) sont réunis
par F.
 
La figure 57 montre les communications du transmetteur portatif.
Particularités propres aux différents modèles.
Le modèle mural est un pupitre (fig. 58). Le modèle
portatif (fig. 59) est monté sur colonne. La partie supérieure
comprend deux boîtes articulées lune sur lautre,
doù il résulte un mouvement de bascule de la boîte
la plus élevée qui contient le^microphone ; il est dès
lors possible de parler en avant ou en arrière de lappareil
sans le déranger ; il suffit de faire basculer de son côté
la partie du boîtier qui renferme le microphone. |
  |
  
 
sommaire
Les téléphones GERMAIN
Le transmetteur GERMAIN
Le microphone est
formé par deux plaques de charbon denviron 35 mm de diamètre,
striées sur leur face interne et métallisées
sur leur face externe pour leur donner de la solidité. Les
deux plaques de charbon sont assemblées par un ruban de soie
qui forme la paroi latérale dune boite souple dans laquelle
est logée la grenaille semi-conductrice.
Chacune des plaques de charbon est traversée par un boulon.
Le boulon supérieur sert à fixer le microphone sur la
planchette vibrante en sapin ; la liaison a lieu un peu au-dessous
du centre de cette planchette. Les deux boulons reçoivent chacun
un des fils de communication.
La clé dappel (fig. 78) est un bouton-poussoir
A, mobile dans une glissière et dont la course est limitée
dun côté par la tête du bouton, de lautre
par un épanouissement a de la tige.
La tige de ce bouton sappuie sur un levier B qui, traversant
de part en part un cylindre en ébonite, reçoit à
son autre extrémité le ressort antagoniste à
boudin R. Le cylindre est supporté par deux équerres
qui servent de paliers à son axe ; il peut donc, sous laction
du bouton poussoir A, subir des déplacements angulaires et
le ressort R le ramène à sa position de repos lorsque
laction du bouton-poussoir cesse de se faire sentir.
Quatre chevilles métalliques e , traversent le cylindre, les
deux dernières ayant une orientation différente de celle
des deux premières.
En regard de ces quatre chevilles sont disposés 8 ressorts
r, dont quatre restent isolés pendant que les quatre autres
sont reliés deux à deux par lintermédiaire
des chevilles e.
Le levier-commutateur est analogue à la clé d'appel.
Le cylindre en ébonite (fig. 79) porte cinq chevilles e ; le
nombre des ressorts est de dix . Le crochet mobile est monté
sur laxe du cylindre E. Ce crochet est terminé par une
fourche F entre les branches de laquelle sengage une goupille
fixe, f, qui limite ainsi la course du commutateur.
Communications intérieures. La figure 80 en donne le
diagramme.
|
 |
 |
Le combiné GERMAIN
Le microphone, semblable à celui que nous avons déjà
décrit, est monté sur une plaque vibrante en tôle
vernie, dont la tranche est recouverte par une bague en caoutchouc.
De chacune des plaques de charbon part un petit cordon souple qui
aboutit à une borne isolée, montée sur le boîtier
métallique qui renferme le microphone. Aux deux bornes isolées
en relation avec le microphone, sont rattachés deux des brins
d'un cordon souple à quatre conducteurs; ce sont les brins
rouges qui correspondent au circuit primaire; les brins verts traversent
un tube métallique, garni dun manche, qui est vissé
sur le boîtier du microphone et qui, à son autre extrémité,
est aplati. Dans cette partie plate, terminée par un crochet
de suspension, est pratiquée une glissière sur laquelle
est monté le récepteur du modèle de M. Germain.
Cet appareil est présenté par la Société
« la Téléphonie nouvelle»
(France). |
Pile Germain dite Pile Bloc.
La pile Germain est employée chez beaucoup d'abonnés
et dans un certain nombre de bureaux centraux, notamment à l'hôtel
des téléphones de Paris, rue Gutenberg.
Le modèle d'élément Germain de l'Administration des
Postes et des Télégraphes (fîg. 10), comprend un récipient
extérieur en bois dur, sous forme de bloc, qui contient :
1° Une première lame de zinc pur, non amalgamé, formant
le pôle négatif;
2° Un diaphragme des divers isomères de la cellulose amorphe,
tels que paracellulose, vasculose, xylose, paraxylose; ce diaphragme,
très élastique, est imbibé d'une dissolution de chlorure
alcalin ;
3° Une couche d'oxyde supérieur de manganèse, rendu
conducteur par la surface ;
4° Une lame de charbon placée au milieu de cette couche, et
constituant le pôle positif;
5° Un second diaphragme, semblable au premier, et également
imbibé de chlorure alcalin ;
6° Une deuxième lame de zinc, semblable à la première;
7 Un plateau en bois dur, reposant sur cette deuxième lame de zinc;
8° Une série de ressorts, en acier trempe, pressent de 150
kilogrammes environ sur l'ensemble des diverses parties énumérées
ci-dessus, et prennent appui par un couvercle en bois_ dur, visse sur
les quatre côtés du récipient. Bien celui-ci que ne
doive pas être clos hermétiquement, atin de laisser échapper
les gaz, M. Germain recommande expressément de ne pas l 'ouvrir,
pour ne pas modifier l'action antagoniste des ressorts.
Pile Germain Comparatif

Deux plots extérieurs, en laiton, reliés respectivement
aux deux zincs d une part, et au charbon d'autre part, servent de prises
de courant; les indications C et Z sont gravées au-dessus. Les
deux nombres également gravés dans le voisinage correspondent
aux numéros d'ordre et de série des éléments.
L'élément Germain est portatif; il peut être placé
impunément dans n importe quel sens. Il est livré prêt
à fonctionner et il travaille jusqu'à épuisementpresque
total sans affaiblissement ni polarisation.
Il ne se dégage du récipient ni odeurs, ni efflorescences.
Les éléments adoptés par l'Administration des Postes
et des Télégraphes sont munis de poignées en 1er,
et on peut les placer les uns sur les autres, ou bien les uns à
côté des autres, suivant l'emplacement dont on dispose.
Cette pile n'exige aucun entretien
Nous transcrivons, d'après M. Germain, le tableau comparatif des
constantes des quatre systèmes de piles usitées sur les
réseaux de l'Etat.
« Pour qu'une pile microphonique produise un travail normal, dit
M. Germain, il faut que la somme des résistances intérieures
des éléments qui la composent n'excède pas la résistance
de l'inducteur de la bobine d'induction. « La résistance
du circuit inducteur de la bobine devrait être
de 0,015 à 0,02 ohm avec la pile Germain, de 0,5 ohm avec la pile
de Lalande, de 1,25 à 1,50 ohm avec la pile Leclanché et
de 7 à 9 ohms avec la pile Callaud. On voit par là l'importance
des piles microphoniques à faible résistance. »
Il y a très peu de trace sur le téléphone Germain,
je n'ai pas trouvé de photos, mais un article TÉLÉPHONIE
INTENSIVE dans la revue La Frane Libre du 27 octobre 1898
:
"Lundi, à 4 heures de l'après-midi, avait été
organisée, dans le jardin et les salons du ministère du
commerce, rue de Grenelle, à Paris, une très intéresante
expérience de téléphonie à haute voix, dont
l'inventeur est M. Pierre Germain, inspecteur des postes et télégraphes,
à qui l'on doit déjà la solution d'importants problèmes
de chimie appliqués à l'électricité. Le
téléphone Germain est un appareil à pied comprenant
un récepteur, un petit microphone et une bobine d'induction, dans
laquelle les circuits sont shuntés de manière à doubler
l'action du courant. De ce fait le microphone agit donc sur deux petits
générateurs électriques semblables, au lieu d'un,
comme cela a lieu dans les téléphones ordinaires. Il a le
précieux avantage, en outre, d'être à faible débit
et permettra l'emploi d'un haut voltage. Le ministre du commerce, M. Mougeot,
sous-secrétaire d'Etat aux postes et télégraphes,
et les principaux fonctionnaires du ministère et de l'administration
des postes avaient été conviés à assister
à ces expériences. Les invités avaient été
placés dans le jardin du ministère. De là ils devaient
entendre les « Deux grenadiers », « les Infinies »,
le « Vallon », chants que M. Lubert, ténor de l'Opéra-Comique,
a interprétés dans un local dépendant de l'hôtel
du ministre et très éloigné des auditeurs. L'expérience
a pleinement réussi. Au moyen du récepteur qui avait été
placé dans une pièce du rez-de-chaussée, les invités,
bien que séparés du chanteur par les bâtiments de
l'hôtel et une distance de près de 100 mètres, ont
pu entendre la voix de M. Lubert aussi distinctement que s'ils avaient
été proches de lui. L'auteur de ce système de téléphone,
M.Pierre Germain, a fait, à son tour, dans le récepteur,
une conférence sur la téléphonie de l'avenir, puis
il a énumérè les avantages et les principales applications
que l'on pourrait faire de la téléphonie intensive : suppression
d'un fil sur deux, remplacement du bronze par le fer, thèâtrophone
à hante voix, téléphonie sans fil des trains en marche
avec les gares. Cette conférence a été aussi distinctement
entendue des auditeurs que si le conférencier eût été
devant eux. La voix se développait naturellement et à la
tonalité ordinaire. Les expériences terminées, le
ministre a chaleureusement félicité M. Germain. Le soir,
au sous secrétariat des postes et télégraphes, en
présence de M. Mougeot et des ingénieurs de l'administration,
M, Germain à expérimenté de nouveau son appareil,
qui a obtenu autant de succès que dans la séance de l'après-midi."
Autre trace dans le bulletin des lois de 1902 tome 64
sommaire
Les téléphones Giltay de Kipp & Zonen
Pays-Bas
1878
Une page est consacrée à Kipp &
Zonen et Jan Willem Giltay
sommaire
Les téléphones GRAMMONT sociétés
des porcelaines appareillages électriques 10 rue d'Uzès
75002 Paris

Grammont & système Eurieult
sommaire
Le Téléphone Pavel Mikhaïlovitch
Golubitzky
En 1878, Golubitzky créa un téléphone
de construction originale, appelé vibrateur téléphonique,
qui nétait que légèrement supérieur
aux modèles étrangers, il a conçu en 1882
un téléphone multipolaire.En 1883, son téléphone
fut importé en Europe pour relier Paris et Nancy .La même
année, il améliore le microphone de son installation en
le remplissant de poudre de carbone. Golubitsky (ayant des fonds limités
pour poursuivre les expériences) a vendu les droits d'utilisation
du microphone à poudre à une entreprise française,
qui en a fait un usage intensif.
 |
Le récepteur
est formé par une cuvette en acier aimanté au centre
de laquelle sélève le noyau dune bobine
délectro-aimant dont la résistance est de 140
ohms.
Ce récepteur est construit par la Société «la
Téléphonie nouvelle » (France).
Ce récepteur a pour organe magnétique deux aimants en
U, disposés en croix au-dessous du boîtier.

Linventeur, se basant sur ce que deux téléphones
bipolaires, associés dans un même circuit, reproduisent
simultanément la parole, a pensé quen réunissant
en un seul les organes magnétiques et en faisant agir leurs
pôles sur une même plaque vibrante, il additionnerait
ou, tout au moins, amplifierait les sons produits à larrivée.
Il constitua ainsi un récepteur à quatre pôles.
La disposition des aimants croisés au-dessous du boîtier
ne permettait pas de tenir commodément le récepteur
à la main; aussi linventeur a-t-il construit un nouveau
modèle, représenté par la figure 20, dans lequel
les deux aimants sont placés dans des plans perpendiculaires,
lun en dehors du boîtier et formant poignée, lautre
à lintérieur. |
Chacune des quatre bobines, montées sur les pôles
des aimants, a 125 ohms de résistance, soit au total 500 ohms, ces
bobines étant reliées en série.
Les deux bobines 1, 2, correspondant aux pôles de l'aimant, sont reliées
ensemble et réunies aux bobines 3, 4 de l'aimant aplati en fer à
cheval, également accouplées en tension. Les extrémités
des fils des bobines 1 et 4 sont attachées aux cordons souples destinés
il recevoir les communications extérieures.
La plaque vibrante, dont le diamètre est de 69 millimètres
et l'épaisseur de 0,33 millimètre repose, au-dessus des noyaux.
sur un boîtier nickelé, fermé lui-même par un
couvercle portant l'embouchure en ébonite. Une bague de réglage
est interposée entre la plaque vibrante et le couvercle.
Le téléphone mural Golubitzky

sommaire
Les téléphones GOWER (Consultez la
page Gower)
En France, le "téléphone chronomètre"
Gower, brevet du 3 décembre 1878. est l'appareil qui est
présenté à la l'Académie des sciences du 27
janvier 1879.
Appareil très performant et n'utilisant pas d'éléctricité.
Gower, réalisa une des premières modifications du téléphone
Bell, il eut l'idée de replier l'aimant en arc de cercle, de manière
à présenter ses deux pôles en regard de la membrane
de fer sur laquelle ils doivent agir.
L'action doit être plus énergique, puisqu'elle s'exerce par
deux pôles au lieu d'un. En même temps, M. Gower donna à
la membrane vibrante plus de surface, ce qui accrut l'effet de résonnance.
La membrane de fer circulaire est placée au fond d'une boîte
ronde, en laiton.
Un sifflet à l'intérieur de la boîte tient lieu de
sonnerie d'appel lorsque l'on souffle fort avec l'appareil appelant.
Ce sera en novembre 1881 lors d'une assemblée extraordinaire
que les nouveaux status de la SGT " Société
Générale des Téléphones, Réseaux téléphoniques
et Constructions électriques" sont déposés
et approuvés et par la suite, que les téléphones
de Gower et Edison disparaissent,
les téléphones Ader prennent le relais.

Lire "La
Nature de Décembre 1878" qui présente ce nouveau
téléphone magnétique Gower (photo Cnam à
Paris)
Les téléphones Gower-Bell
de la poste Britanique
Modèle Anglais Gower-Bell
Gower Bell

Gower Bell Anglais .
Gower Bell pour l'Angleterre
L'appateil est muni d'un transmetteur Crossley combiné combine
avec un téléphone Gower.
La planchette avec les charbons d'un micro Crossley surmonte une boite.
Un téléphone Gower est placé dans la partie inférieure,
il est muni d'un double tube avcoustique récepteur, qui permet
de l'appliquer aux deux oreilles.
De chaque côté de la boite se trouvent des crochets pour
suspendre les tubes acoustiques, un des crochet sert de commutateur.
En partie supérieure est ajouté une sonnerie magnétique
avec la magnéto.
Ces appareils sont très répandus en Angleterre et aux colonies.
Les Anglais annonce ce téléphone comme étant des
"Loud speaking téléphone" ou appareils
parlants haut.
sommaire
Les transmetteurs GRINEWALD
Dans le microphone Grinewald, les granules sont renfermées
dans six tubes également distants, emménagés dans
un cylindre en charbon C. Elles appuient donc directement contre la plaque
vibrante EF serrée au fond de lembouchure porte-voix A en
métal nickelé. Les vis I et J servent à la fixation
de lappareil. Le courant arrive par les écrous de serrage
G et H, suit la tige F, le charbon C, les granules, en vertu de lisolement
de ces organes du reste du transmetteur, la plaque, la cuvette de lappareil
et lune des vis I ou J.
sommaire
Les transmetteurs GUYOMARD ET ROLLAND
Microphone. Le microphone comprend
quatre cylindres de charbon G, C', C", C'" (fig. 60), disposés
verticalement et s'engageant dans des cuvettes creusées dans
les prismes de charbon horizontaux P, P', P". Ces derniers sont
boulonnés sur une planchette de sapin A.
Les charbons cylindriques forment avec les prismes P, P' deux groupes,
dans chacun des quels les deux charbons sont montés en dérivation.
Ces deux groupes sont installés en série par lintermédiaire
du prisme PL
Les fils de communication aboutissent aux prismes de charbon P, P',
sur lesquels ils sont maintenus par les écrous des boulons
qui servent à fixer ces prismes sur la planchette microphonique
A.
La façon dont les extrémités des crayons mobiles
sont taillés constitue loriginalité du système.
Chaque extrémité des charbons (fig. 61) est, sur son
pourtour, entaillée de rainures qui se coupent à angle
droit; cette disposition a pour but datténuer le déplacement
ou le roulement des charbons dans le sens latéral, roulement
occasionnant des vibrations secondaires qui nuisent à la netteté
du son; elle a également pour effet dempêcher ladhérence
des cylindres avec les prismes et de ne pas permettre à la
poussière de charbon produite par le choc des cylindres contre
les prismes de saccumuler au fond des cuvettes. Celte poussière
séchappe, en effet, facilement par les rainures des extrémités
de chaque cylindre, et, comme le fond des cuvettes est perforé,
il nest pas possible que les particules de charbon saccumulent
dans ces cavités. Cette disposition de la cuvette est marquée
en pointillé sur le prisme P dans la figure 60.
Le microphone est à réglage et ce réglage sobtient
au moyen de ressorts-lames H, R', R", R'" (fig. 60), situés
en regard des cylindres de charbon. Lextrémité
libre de chacun de ces ressorts sappuie sur la surface latérale
du charbon correspondant; mais il est évident que le contact
direct entre le ressort et le charbon pourrait occasionner, outre
un bruit métallique, une désagrégation assez
rapide du charbon. Pour éviter ce double inconvénient,
la pointe du ressort a été garnie dun tampon en
matière souple, interposé entre le métal et le
charbon. Ce tampon c, c', c", c'", qui peut être en
drap, en caoutchouc ou en peau, contourne à demi chaque cylindre
en le guidant légèrement.
A leur base, les ressorts sont fixés sur une tringle en laiton
T, rendue solidaire, au moyen dune goupille, de la vis Y qui
traverse le bâti. En combinant laction de la vis V et
celle des ressorts, on peut obtenir un réglage tel que les
charbons conservent une certaine mobilité à leur extrémité
supérieure.
A ce premier système de réglage, on a objecté
quil pourrait y avoir inconvénient à laisser la
tête de la vis V à portée de la main, des personnes
inexpérimentées pouvant dérégler lappareil
au lieu de le régler.
M. Guyomard sest rangé à cette opinion et a placé
la tète de vis à lintérieur de la boîte.
A cette tète de vis est adaptée une aiguille indicatrice
qui marque sur un limbe divisé le degré de pression
des ressorts sur les charbons. Le contact entre les cylindres de charbon
et les prismes qui les supportent sétablit sous une certaine
pression obtenue par les ressorts, dune part, et par le poids
propre des cylindres de charbon, dautre part. En combinant convenablement
ces deux actions par le réglage des ressorts, on obtient, après
quelques tâtonnements, une grande sensibilité, qui se
traduit par une reproduction très nette de la parole. |


La maison L. Digeon et C ie (France)
construit un modèle mural et un modèle portatif de transmetteurs
Guyomard.
Le mécanisme et les communications de ces appareils sont absolu
ment les mêmes que ceux des transmetteurs dÀrsonval,
précédemment décrits. |
sommaire
Le Pantéléphone de Léon de Locht-Labye
En 1880 L'ingénieur belge Léon de Locht-Labye est l'inventeur
du pantéléphone, appareil plus évolué que
celui de Bell et entra directement en concurrence avec le téléphone
de Bell.
 
C'est un transmetteur microphonique très sensible aux vibrations
sonores, dont le point de départ peut être situé à
plusieurs centaines de mètres ; il transmet à plusieurs
lieues, par l'intermédiaire de téléphones récepteurs,
la parole prononcée à vingt mètres et plus de l'appareil
; on peut d'ailleurs parler d'aussi près que l'on veut ; la parole
transmise gagne en force et surtout en netteté.
Original
Modèle
Journaux
C'est le premier téléphone qui a être installé
entre le fonds d'un puits de mine et la surface.
Les avantages sur ces concurrents étaient la
qualité de la transmission sonore et l'utilisation d'un seul
fil entre les deux appareils, qui peut donc utiliser un fil de télégraphie
avec ou sans le télégraphe simultanément comme
nous allons le voir ci après.
Il fut utilisé dans quelques villes européennes et surtout
à grande échelle en Argentine à partir de 1880
ou le colonel Navez est arrivé pour concurencer la compagnie
Gower (brevet Gower-Bell) qui exploite déjà 500
abonnés sur un réseau aou figurent 42 lignes gouvernementales
et particulières.
On voit que cet ingénieux appareil réunit
toutes les conditions nécessaires pour être employé
avec succès, non seulement pour les installations téléphoniques
de lignes privées, mais aussi pour les communications entre abonnés
d'un réseau important comme ceux établis dans nos grandes
villes.
C'est d'ailleurs l'appareil choisi par la " Société
nationale du Pantéléphone système de Locht.
" Cette société, établie à Buenos-Ayres,
De nombreuses installations de cet appareil ont été
faites en France et eu Angleterre, surtout après
les succès qu'il a remportés à l'Exposition d'électricité
de Paris et du Palais de Cristal à Londres.
Pantéléphone, d'ou vient ce nom
?
C'est M. Mercadier durant ses
travaux sur la télégraphie multiplex, s'est proposé
vers 1887, de construire de qui s'appelle le monotéléphone.
sommaire
Les téléphones L.HAMM 102 rue Anatole
France, Levallois-Perret

Photo : Date attribuée d'après la mention de : Hamm (L.)
& Cie, ingénieurs-constructeurs, électricité
et mécanique, 15, rue de la Banque, absent en 1905 ; en 1906,
Gallonier et Hamm, électricité, 15, rue de la Banque ;
en 1907-1911, Hamm (L.) & Cie ; en 1913, transféré
23, rue de Ponthieu, dans Annuaire du commerce Didot-Bottin, 1905-1911,
1913, 1919
sommaire
Le téléphone HAMMER-TELEPHONE de Léon
de Locht-Labye
Breveté en
Angleterre octobre 1882, et en Autriche le 9 juin
Mon invention
concerne un téléphone dans lequel la transmission
et la reproduction des sons et de la parole articulée sont
effectuées en produisant des chocs à partir ou vers
un obstacle rigide, et par conséquent des mouvements instantanés
d'une armature en face d'un aimant permanent ou électro au
lieu de par les inflexions de un disque mince ou un tympan, tel
qu'utilisé dans les téléphones de ce que l'on
appelle le type Bell. L'appareil est applicable à la fois
comme émetteur et comme récepteur.
A est un aimant en fer à cheval pourvu à ses pôles
N S de prolongements ou extensions en fer doux, sur lesquels sont
placées des bobines B B de fil de cuivre isolé. Cet
aimant est fixé de manière inamovible à un
châssis, C, qui sert de support à l'ensemble de l'appareil.
Devant et à proximité immédiate des pôles
N S de l'aimant se trouve une armature, C, constituée d'une
épaisse barre rigide en fer doux ou en acier magnétisé.
Cette barre fait partie d'un levier rigide, L, se déplaçant
librement sur un axe fixe, a a, porté sur un support, p p,
en cuivre, laiton ou autre matériau approprié. On
voit ainsi que le levier d'induit est libre, et par conséquent
n'a en lui-même en rien la nature d'un disque souple. Il n'est
fixé au support que par son axe et n'est relié à
aucune membrane ou autre organe. Il se termine par un petit chapeau
ou marteau, M, en liège, caoutchouc, bois, métal ou
autre matériau approprié, fixé à l'extrémité
d'une vis de réglage, fu. Ce marteau dans sa position normale
repose sur l'obstacle rigide ou le corps rigide précédemment
mentionné, consistant en une pièce inexible épaisse
et rigide, P, de bois, de verre, d'ébonite ou d'un autre
matériau approprié de toute forme, mais qui, pour
l'amour de symétrie, est supposée cylindrique dans
l'appareil représenté sur les dessins, l'embouchure
ou l'écouteur T du téléphone étant monté
sur ladite pièce P.La position du levier d'induit est déterminée
par l'attraction magnétique des pôles de l'aimant,
dont l'effet est contrebalancé par la réaction de
l'obstacle rigide supportant le marteau à l'extrémité
du levier. A l'aide de la vis c, qui porte ce marteau, la distance
entre les pôles de l'aimant et l'armature peut être
réglée avec facilité, de manière à
obtenir le maximum d'effet téléphonique.
|
 |
L'embouchure ou l'écouteur et l'obstacle rigide
P sont reliés au cadre C 'C au moyen de trois piliers, D D.
Dans l'exemple illustré sur les dessins, la boîte ou l'étui
de fermeture habituel est omis, il n'est pas nécessaire d'en utiliser
un pour la réalisation de mon invention, car le corps rigide peut
être mis directement en contact avec la bouche ou l'oreille par
une bouche appropriée. pièce ou écouteur.
En supprimant ainsi la caisse de résonance, les réverbérations
et échos indésirables, qui sont communs à de nombreux
téléphones, sont évités.
Si on le souhaite, l'une des deux extrémités de l'armature
peut être en contact avec le pôle magnétique qui lui
est opposé, l'autre extrémité étant séparée
de l'autre pôle.
sommaire
Les téléphones HASLER Suisse
Les débuts de l'entreprise remontent à 1862, lorsque Gustav
Adolf Hasler à 22 ans, reprend les ateliers fédéraux
du télégraphe suisse après leur privatisation. Les
ateliers ont été créés une décennie
plus tôt afin de relier les villes de Suisse.
Hasler AG Bern (plus tard Hasler AG) a été fondée
en 1887 par Gustav Adolf Hasler. L'entreprise s'est spécialisée
dans la production d'équipements télégraphiques,
puis d'instruments de mesure et de systèmes de communication radio
et téléphonique.
L'entreprise a aquis une réputation internationale considérable.
Même Lars Magnus Ericsson à travaillé pour Hasler
& Escher dans sa jeunesse.
Hasler est devenu un fournisseur majeur des PTT suisses et de l'armée
suisse en téléphones, radios, standards téléphoniques
et instruments de mesure. Hasler est un pionnier de la technologie électrique
avec près de 6000 collaborateurs dans les années soixante.

Poste d'essai 1900.
 
sommaire
Les téléphones HEGNER
On peut lire dans la documentation extaite de la France
industrielle :
" La maison Hegner est arrivée à des résultats
vraiment surprenants.Nous avons admiré au Palais de l' Industrie,
à droite du grand escalier, chez MM.Marillier et Robelet, un poste
mobile construit par Mr.H.Hegner, et qui est vraiment pratique. Le constructeur
a su joindre l'utile à l'agréable en corrigeant la sévérité
des modèles connus jusqu'a ce jour, c'est ainsi qu'en guise du
support, au lieu d'un socle de bois, si bien sculpté ou orné
qu'il fût, il imagine une patite statuette fort jolie, qui supporte
le transmetteur à plaque vibrante.
L'oeil se repose agréablement sur ce petit appareil aussi sérieux
que coquet " ...

Les écouteurs sont Teilloux
sommaire
|
Récepteur TEILLOUX à aimants plats
accouplés
Chacun des deux aimants superposés a la forme
dun disque AMB, dont le secteur ANB a été enlevé
( fig . 31).
Les deux disques sont orientés de telle sorte que leurs pôles
de même nom sont superposés; cest sur ces pôles
que sont calés les deux noyaux sur les quels sont montées
deux bobines dune résistance totale de 210 ohms.
Le diamètre de la plaque vibrante est de 58 millimètres
et son épaisseur de
0,33 millimètre. Les brins du cordon souple entourent en
partie les bobines avant de se relier à leur fil conducteur
qui est protégé au niveau de la soudure par du tube
de caoutchouc.
On construit des récepteurs Teilloux à manche en bois,
dautres en forme de montre (fig . 32) avec anneau de suspension
et bornes extérieures.
Ces récepteurs sont de la maison L.
Digeon et Cie (France).
|
 |

Un perfectionnement important a été
apporté aux appels phoniques par M. Teilloux. Il supprime le
courant continu de la pile locale et l'inconvénient du réglage
en plaçant le pivot de laxe supportant le marteau au-dessous
de la plaque vibrante.
Ce pivot F (fig. cicontre) est fixé à une pièce
traversée par une vis Y, reliés lun et lautre
aux pôles dune pile locale P, à travers le circuit
de laquelle est intercalée une sonnerie S.
Ladhérence du marteau M contre la plaque P est obtenue
en garnissant son. extrémité dun petit morceau
de fer doux qui, attiré par laimant de lappel,
lempêche de basculer.
A létat de repos, le circuit de la pile P nest
pas fermé ; mais, sous laction du courant de la ligne,
la plaque vibre et fait tomber le marteau M, qui tourne autour de
laxe F. Ce marteau vient se rabattre suivant FM' et sappuyer
sur la vis Y. A ce moment le circuit de la pile P est fermé,
et la sonnerie fonctionne. |
 |
sommaire
Le transmetteur HELLESEN
M. Hellesen pensant que les vibrations produites par la voix sur un
transmetteur téléphonique à charbon, devaient se
trouver amplifiées si la pièce mobile du rhéotôme
était soumise à une action électro-magnétique
résultant de ces vibrations elles-mêmes, a combiné
un transmetteur fondé sur ce principe que nous le représentons,
et qui a l' avantage de constituer lui-même l'appareil d'induction
destiné à transformer les courants voltaïques employés.
 |
Cet appareil se compose d' un tube de
fer vertical appuyé sur une masse magnétique NS et entouré
d'une bobine magnétisante BB au-dessus de laquelle est adaptée
une hélice d'induction en fil fin II mise en communication
avec le circuit. l'intérieur du tube, se trouve un crayon de
plombagine C , disposé dans un porte-crayon qui peut être
élevé ou abaissé au moyen d' une vis de rappel
V adaptée au dessous de la masse magnétique. Enfin,
au-dessus de ce crayon, est fixée une lame vibrante en fer
LL, qui est munie à son centre d' un contact de platine communiquant
à la pile; le circuit local est alors mis en rapport avec le
crayon par l'intermédiaire de l'hélice magnétisante
B, dont un bout est à cet effet soudé sur le tube de
fer . Il résulte de cette disposition que les vibrations de
la lame LL , au moment de leur plus grande amplitude du côté
du crayon , tendent à s'amplifier par suite de l'action attractive
exercée sur la plaque , et la pression sur le graphite devenant
plus forte, accroît les différences de résistance
qui en résultent et, par suite, détermine des variations
plus grandes dans l'intensité des courants transmis. |
sommaire
Les téléphones HERRMANN
Atelier Deschiens 123 Bd St Michel Paris
La maison Eugène Deschiens, fondée en 1866, est spécialisée
dans la construction dappareils se rapportant à la télégraphie
et la téléphonie, ou relevant du domaine de lapplication
de lélectricité. Le 28 mai 1894, Alphonse Edouard
Jean Baptiste Darras racheta le fond de commerce.
Modèle Français
A lire pour plus de détails
Modèle au Portugal 1880
sommaire
Le téléphone HERZ
Cornélius Herz faisant parti des pionniers, se distingue (comme
Dolbear) en concevant en 1880-81 un d'un Système téléphonique
à condensateur .
 
Lire tous les détails sur
la page Herz.
sommaire
Téléphones et micro HIPP
Juste après le brevet Bell, Hipp avait fabriqué
des Hand-téléphones similaires
Hipp 1877-78
Premier modèle de type Bell. et
1889
1883
Le Microphone Hipp

Cet appareil, dont deux formes sont représentées ci
dessus, a été exposé à l'Exposition électrique
de Vienne en 1883.
La partie essentielle de l'instrument est composée d'une boîte
cylindrique B très plate (réalisée en un matériau
non conducteur. Une membrane élastique forme à la fois le
couvercle et le fond de la boîte. Cette membrane est non conductrice,
deux morceaux de feuille de platine très fine sont collés
sur la face intérieure de la membrane.
La cavité résultante est partiellement remplie d'une substance
conductrice appropriée (carbone) sous forme granulaire {g). La
connexion avec le circuit de la batterie se fait au moyen de deux fils
métalliques soudés à la partie conductrice des membranes.
La boîte ainsi disposée est placée dans une cavité
cylindrique C, de telle manière que l'axe de la boîte soit
perpendiculaire à l'axe de la cavité C. Cette dernière
est fermée devant par une membrane élastique dans et sur
cette membrane. fixé l'embout buccal E.
sommaire
Les téléphones HOME TELEPHONES 9
rue de l'Opéra 75001 Paris
 |
Origine : le microphone de CHARLES
CLAMOND brevet N° US372455
du 1 novembre 1887.
CHARLES CLAMOND, citoyen de la République française,
a inventé certaines améliorations nouvelles et utiles
aux microtéléphones (brevetées en France le 14
août 1886, n° 177 967, et en Belgique le 23 février
1887, n° 76 460).
C'est un émetteur à électrodes
multiples, utilisant des billes de carbone au lieu de crayons ou de
pendentifs. A représente le diaphragme vibratoire en carbone
; B une plaque de carbone comportant un certain nombre de cavités
cylindriques, 1 1, sur un côté. Une bille de carbone,
s, est insérée librement dans chaque cavité.
La profondeur des cavités est légèrement inférieure
à la moitié du diamètre des billes, et le diaphragme
est placé à l'avant de la plaque de sorte que les billes,
suivant leur tendance à rouler hors des cavités, reposent
contre sa surface intérieure et également sur les bords
de ces dernières |
En 1889, Julien Lefèvre, auteur de "lÉlectricité
à la maison", enregistre le succès des « home-téléphone
» : un tableau indicateur indique létage qui appelle
et un système téléphonique permet dentendre
les requêtes des étages. Le poste de service « qui
na en général pas besoin dappeler les autres
» ne sert quà enregistrer des commandes ; le succès
du téléphone domestique à léchelle de
limmeuble est possible à condition quil demeure un
outil de commande ; seule une sonnerie peut être activée
par le concierge dans les antichambres des étages.
De forme élégante, lappareil est facile à poser
et sadapte immédiatement en remplacement de toutes les installations
de sonnerie déjà existantes, sans rien changer au câblage
des fils. La Revue des inventions nouvelles explique : « Il est
très facile de sen servir, une seule main suffisant pour
maintenir lappareil et lautre restant libre pour prendre en
notes, par exemple, une communication venant dun autre poste. De
plus, la sensibilité du microphone dispense celui qui en fait usage
davoir à se pencher sur la table »
 
 |

Tableau indicateur pour appeler le concierge. Système de «Home
téléphone» |
Il est commercialisé par Kern
et Compagnie, 9 avenue de lopéra à Paris.

sommaire
Le téléphone HUNNING, Émetteur
à cône - Angleterre
En 1878, Henry Hunnings (vicaire à
All Saints Bolton Percy) en Grande-Bretagne a breveté un émetteur
Edison amélioré, qui utilisait des granules de carbone au
lieu de poudre. Le brevet de microphone en carbone a été
décerné le 16 septembre 1878.
Cela a donné une transmission plus forte et un tassement réduit
du carbone dans le bas de l'émetteur, un problème bien connu
qui a réduit le niveau de transmission . Ses amis, Edward Harrison
et Edward Cox-Walker, ont fabriqué le premier modèle "Hunnings
Micro-Telephone" qui s'est vendu au détail à 15 guinées
et le 27 janvier 1880, ils ont fait une démonstration publique
audacieuse à la Cleveland Institution of Engineers après
que le système eut été testé sur 45 miles
entre les gares de York et de Darlington.
Mais c'est une chose de déposer un brevet et c'en est une autre
de le faire fabriquer et d'en tirer un réel profit : pourtant Edward
Cox-Walker transforme le brevet Hunnings en un produit manufacturé
dans l'usine qu'il installe à Darlington en 1880.
Micro Hunnings première version
En 1881 Deckert réalise la modification, connue sous
le nom d' Hunning's Cone-Deckert.
La description suivante est tirée de "Electric Bells
and Telephones" Bernard E Jones, publié pour la première
fois par Cassell & Co. en 1916.
"Ces téléphones ont été utilisés
comme téléphones internes dans les laboratoires de biologie
de Harvard jusqu'en 1956. "
Cet instrument est représenté en demi-coupe par la Fig.
91.
Dans la forme originale représentée, le corps A et le
couvercle B sont en ébonite vissés ensemble. Le corps
est encastré pour accueillir le bloc de carbone, qui est représenté
en noir uni. Celui-ci est de plan circulaire et a un dos conique,
auquel est attachée une plaque de laiton percée et taraudée
pour recevoir la vis K, qui fixe le bloc à l'intérieur
du corps, et fournit également l'une des connexions électriques.
|
 |
| La face circulaire du carbone est ondulée,
ou plutôt parsemée de petites pyramides. Face au bloc
(mais pas en contact avec celui-ci) se trouve un disque mince ou un
diaphragme de carbone D, qui repose contre une bague métallique
H, et est fixé en position par la bague vissée E en
appui contre la bague de garniture F de feutre ou de carton ciré
. La connexion électrique avec le diaphragme s'effectue à
travers l'anneau métallique évidé sur lequel
il repose au moyen de la tige en laiton représentée,
rivetée et soudée à celle-ci. Les fils vers la
batterie et la bobine sont conduits de I et K. Le couvercle B a une
bague vissée interne pour sécuriser le diaphragme en
gaze métallique G, dont la seule fonction est de protéger
le délicat diaphragme en carbone D contre les dommages accidentels.
L'espace peu profond entre le bloc clouté et le diaphragme
en carbone est rempli de carbone granulé, tamisé à
une taille égale, recouvert d'un film de graphite et «soigneusement
tamisé à l'abri de la poussière. Ces granulés
polis, calibrés et sans poussière constituent une liaison
partielle, imparfaite et variable entre le bloc arrière ondulé
et le diaphragme flexible lui faisant face. Théoriquement,
on pourrait supposer que ce garnissage granulé doit arrêter
la vibration du disque sous l'impact des ondes sonores; mais la pratique
a prouvé qu'une résilience encore plus que suffisante
est conservée par le disque (qui doit, en fait, être
en plus mis en sourdine ou contrôlé à des fins
téléphoniques ordinaires). |
 |
Les deux électrodes étaient en carbone.
L'électrode arrière a été marquée pour
produire une série de pyramides ou de cônes. Les cônes
maintenaient les granules bien étalés et leurs pics n'étaient
pas alignés de sorte que les granules étaient empêchés
de descendre en descente. Les pics centraux avaient de petites touffes
de soie pour amortir toute vibration du diaphragme.
Par la suite, il sera remplacé par le Transmitter Solid Back .
En 1882, la United
Telephone Company a poursuivi Harrison Cox-Walker Ltd pour contrefaçon
des brevets de Bell Edison qu'elle détenait. Hunnings est apparu
comme témoin pour démontrer avec succès que la conception
de son microphone était distincte de celle d'Edison, mais le récepteur
Cox-Walker était perçu comme une copie de la conception d'Edison.
Après de nombreuses querelles juridiques, le brevet Hunnings a été
vendu à UTC pour 1 000 £. On ne savait pas alors quel rôle
jouerait le microphone en carbone dans le développement du téléphone,
mais avec de légères modifications pour éviter l'emballage
des granules, la conception de Hunnings est devenue la forme dominante d'émetteur
téléphonique pendant 100 ans.
sommaire
Le téléphone Hopkins transmetteur à
mercure 1880-1882
La forme de ce transmetteur est celle d'un téléphone
ordinaire, avec diaphragme de mica.
Au centre de la surface inférieure de ce diaphragme est fixé
un cylindre de charbon du charbon de cornue, de préférence
d'environ 5 mm de longueur et de 5 mm de diamètre. Le pied
du transmetteur est un cylindre creux contenant une fiole à cou
long et étroit, où se trouve une certaine quantité
de mercure. Dans le mercure plonge une tige de charbon de lampe électrique.
Cette tige est assez longue pour sortir de la fiole et presser contre
le charbon du disque. Une vis permet de faire monter et descendre la fiole
et ainsi d'augmenter et de diminuer la pression des deux charbons. Les
deux extrémités du fil primaire d'une bobine d'induction
relient, à travers une pile d'un ou deux éléments
Meidinger, l'un de ces charbons au transmetteur; un fil est en contact
avec le mercure, l'autre avec le charbon du disque et le courant traverse
les deux charbons. Le charbon supérieur doit avoir une surface
plane, le charbon inférieur une surface sphérique, les deux
surfaces étant aussi lisses que possible. Le fil secondaire de
la bobine d'induction contient les téléphones récepteurs
des deux stations. Si au lieu d'éléments constants, on veut
en employer d'inconstants, par exemple des éléments Leclanché,
il faut placer un interrupteur dans le circuit primaire et ne fermer le
circuit que quand on veut se servir du transmetteur. Récepteur
et transmetteur sont disposés sur une console, le premier renversé
sur une ouverture qui correspond avec un orifice en forme d'entonnoir
recourbé qui permet d'entendre un appel d'une place quelconque
de la pièce où se trouvent les appareils. Le transmetteur
a un orifice semblable, mais un peu plus petite. Avec un permutateur on
pourrait aussi remplacer cet appel par une sonnerie.
sommaire
Les téléphones HUTINET , Hutinet
et cie : 20 rue Chaillot Paris

sommaire
Le combiné de JACQUIER
sommaire
Les téléphones JARRIANT

sommaire
Les téléphones JOURNAUX
Il n'existe pas de nouveaux types répondant aux conditions
exigées par l'Administration après 1892.
Les anciens modèles de M. Journaux ne sont plus admis sur les réseaux
depuis le 1er janvier 1893.
Les récepteurs Journaux
type belière
Transmetteur Journaux pour réseaux aériens
et souterrains
 
Transmetteur Journaux pour réseaux aériens seulement
sommaire
Le téléphone à micro Johnson ,
Angleterre, 1881-1888.

Téléphones avec microphone Johnson, fabriqué
par Tasker, Sons and Company pour la Sheffield Telephone Exchange
and Electric Light Company,
sommaire
Les téléphones Maxymilian KOTYRA
1882 La fabrication, des aimants en fer à
cheval étant forcément dispendieuse et leur ajustement difficile,
en raison de la déformation de ces pièces à la trempe,
leur prix resta toujours relativement élevé, et il était
à désirer quon pût trouver un moyen de rendre
la construction de ces systèmes téléphoniques assez
simpie pour quon pût les livrer au prix des téléphones
à aimants droits. Cest ce problème qua réalisé,
dans de très bonnes conditions, M. Kotyra. Dans ce système,
laimant en fer à cheval est constitué par une réunion
de petites lames minces dacier trempé, de différentes
longueurs, découpées sur une même barre et réunies
de manière à constituer un électro-aimant en fer
à cheval. Cette fabrication était facile, car en admettant
que deux de ces lames plus longues que les autres et superposées
en faisceau, comme on le voit en AA, figure ci-dessous, fussent considérées
comme représentant la culasse de lélectro-aimant,
il suffisait pour en former les branches et les extrémités
polaires, de superposer aux deux extrémités, dabord
une petite lame dacier ou de fer très courte sur laquelle
on adaptait une autre lame dacier N, S un peu moins longue que la
moitié de celles de la culasse. Aux extrémités de
celles-ci et placés à quelques millimètres lun
de lautre, étaient rivés les deux noyaux de fer formant
lépanouissement des pôles de laimant, et deux
bobines B, B' placées sur ces noyaux, complétaient le système
électro-magnétique dans lequel aucune pièce navait
besoin dêtre forgée, et qui étant aimanté
lame par lame, poûvait fournir une aimantation plus énergique
et plus durable que les systèmes avec aimant massif dun seul
morceau. Le reste du système pouvait être dailleurs
construit comme dans le système Bell ordinaire et avoir toutes
les formes extérieures possibles.
M. Kotyra a aussi simplifié le mode de montage des postes en renfermant
dans la boîte même du transmetteur téléphonique,
le commutateur destiné à mettre la ligne en rapport avec
la sonnerie dappel ou le téléphone. Ce système
téléphonique peut naturellement fonctionner avec ou sans
pile, mais jusquici M. Kotyra a préféré prendre
pour transmetteur un téléphone de son système auquel
il donne des dimensions plus grandes et quil dispose de-manière
à se présenter à la voix sous un certain angle, comme
dans les transmetteurs à pupitre qui sont aujourdhui les
plus répandus. Lappareil se présente alors comme on
le voit figure 2, et les récepteurs téléphoniques
sont pendus à des crochets sortant de la boîte circulaire
du téléphone transmetteur et agissant sur le commutateur
dune manière analogue aux autres systèmes. Les manches
circulaires que lon aperçoit à la partie postérieure
des téléphones sont en bois et nont rien de commun
avec les manches des téléphones Ader qui sont constitués
par les aimants eux-mêmes de lappareil.
Les téléphones de M. Kotyra ont été essayés
avec succès sur la ligne du Nord. On a pu correspondre de Paris
à Creil, et il paraît que le petit modèle peut être
appliqué sur des lignes de six kilomètres. Lauteur
en a, du reste, modifié un peu la disposition pour les construire
dans de très petites dimensions sans leur rien faire perdre de
leur force. Dun autre côté, il en a construit un modèle
plus puissant pouvant impressionner les deux oreilles à la fois.
| 1895 La forme des charbons
du microphone Kotyra est la même que celle des charbons
du microphone Steiner ; nous ne nous occuperons pas de savoir
à qui appartient la priorité. Ces deux charbons sont
entourés par une bande détoffe qui forme en quelque
sorte une boîte élastique et qui laisse entre les charbons
un espace libre dans lequel on place de la grenaille de graphite.
Le tout est intro duit dans un tube métallique D (fig. 81),
fendu hélicoïdalement; ce tube forme une seconde boîte
élastique. Lune des extrémités du tube
est fermée par un bouchon métallique A, lautre
par un bouchon en ébonite B ; les prises de communication sont
assurées par des goupilles pénétrant lune
dans la boîte métallique D, lautre dans le charbon
inférieur à travers la pièce B ; cette dernière
est fixée sur une rondelle de liège, collée elle-même
sur la plaque vibrante, qui est en sapin. |
 |
  
La clé dappel (fîg. 82) est formée par
deux ressorts-lames A, B, rendus solidaires par la barrette débonite
C et par la pièce cylin drique DE, qui les termine, les parties
D et E de cotte pièce étant isolées par une lame
débonite; les ressorts A et B sont donc solidaires au point
de vue mécanique et indépendants au point de vue électrique.
Ils sont actionnés par le bouton dappel F. Quand ce bouton,
main tenu par un ressort antagoniste, est au repos, le cylindre D est
en contact avec le ressort G, le cylindre E avec le ressort H ; les ressorts
M, N sont isolés ; lorsque le bouton F est poussé, il chasse
le système mobile ABDE, qui abandonne les ressorts G, H, et sappuie
sur les res sorts M, N. Les ressorts G, H sont les contacts de repos ;
M, N sont les contacts de travail.
Le levier-commutateur(fig. 83), terminé par le crochet C,
est une barre rigide qui pivote autour de la vis à centre Y. Le
ressort antagoniste R agit sur la partie postérieure de ce levier,
à laquelle est adaptée une pièce perpendiculaire
dont les sections B, D sont isolées entre elles et également
isolées du levier.
Deux jeux de ressorts sont en prise avec le levier mobile : lun,
composé de quatre ressorts a, J, c, e?, est situé en regard
de la pièce BD ; lautre, formé par deux ressorts seulement
e, f est placé le long de la tige, près du crochet C.
Lorsque le crochet C est abaissé et que, par conséquent,
l'appareil est sur sonnerie, les ressorts e , a, sont en contact avec
le levier: les autres sont isolés ; lorsque, au contraire, le cro
chet est relevé, ce qui correspond à la position de conversation,
les ressorts sont en relation avec le levier; les ressorts a , e sont
isolés.
D'après ces données, la figure 84 permet de suivre
la composition des circuits dans les deux positions que peut occuper le
commutateur.
Il nexiste quun seul modèle, qui est mural; il est
construit par la maison Mildé (France).
Maximilian Kotyra est plus connu pour son brevet télégraphique
(chaque point et tiret impliquait une opération manuelle distincte,
et pour gagner du temps et du travail, des perforateurs à clavier
ont été conçus )
En 1908 Un brevet, n° 895 374, pour un moyen de perforation de feuillets
pour la signalisation télégraphique et à d'autres
fins, a été déposé par Maximillian Kotyra,
de Paris, . Trois poinçons sont actionnés par trois électro-aimants
commandés par des clés. Chaque touche, lorsqu'elle est enfoncée,
met en service la combinaison appropriée de dispositifs électromagnétiques
pour faire fonctionner la combinaison de poinçons correspondante.
sommaire
Les téléphones KELLOGG Amérique
  
 
 
 
Consultez la page Kellogg pour connaitre
l'entreprise Kellogg et ces modèles en
détail
sommaire
Les téléphones KUSNICK 12 rue du
Monthabor 75001 Paris

sommaire
Les transmetteurs de LALANDE
Les quatre charbons CCCC (fig.
62) sont enfilés sur un axe en fer DE que les équerres
GF maintiennent à la hauteur voulue sur la plaque microphonique
en sapin.
Lécartement des charbons est assuré par des rondelles,
également en charbon.
A leur partie supérieure, les quatre charbons sont cylindriques
et engagés, deux à deux, dans les prismes de charbon
KL; ils sy meuvent très librement.
Les charbons CCCC sont boulonnés sur dautres charbons
MMMM, dont la base baigne dans du mercure S, renfermé dans
la cuvette en fonte PO.
Les fils de communication sont pincés sous les écrous
des boulons qui fixent les prismes KL.
Le mécanisme du transmetteur de Lalande est le même
que celui du transmetteur dArsonval, ancien modèle.
Il est construit par la maison L. Digeon et
C ie . |
 |
Après 1892, le mécanisme du transmetteur
de Lalande est exactement le môme que celui du transmetteur d'Arsonval
que nous avons décrit en détail. Par
contre, le microphone est bien différent.
Les quatre charbons A, B, C, D (fig. 24) sont enfilés sur un
axe en fer que les équerres E, F maintiennent, à la
hauteur voulue, au-dessus de la membrane microphonique en sapin.
L écartement entre ces charbons est assuré par des rondelles
en charbon e, f, g, h, i, également enfilées sur l'axe
E F.
A leur partie supérieure, les quatre charbons deviennent cylindriques
et, deux à deux, sont engagés dans des prismes de charbon
M, N; ils se meuvent très librement dans les trous pratiqués
à travers ces prismes.
Vers la partie inférieure du microphone, des charbons prismatiques
A', B', C', D' ont été rapportés et fixés,
au moyen de boulons, sur les charbons A, B, C, D.
Les charbons A', B', C', D' se prolongent au-delà de l'axe
EF et baignent dans une nappe de mercure 0, renfermée dans
la cuvette en fonte P.
Les fils de communication 1TI, n assurent la liaison du microphone
avec les organes de l'appareil, dans les conditions ordinaires. Les
écrous qui maintiennent ces fils sont isolés à
l'endroit où ils traversent la cuvette en fonte. |
 |
Transmetteur
De Lalande
sommaire
Les Téléphones LMT Le
Matériel Téléphonique société
créée en 1925, auparavant Ste Aboilard
Le modèle 50 en métal laqué noir et ébonite
de la "Western Electric"
a été commercialisé en France avant la Première
Guerre mondiale par la société G.Aboilard.
Cest un des premiers téléphones dit à batterie
centrale intégrale, cest-à-dire que le courant électrique
qui lalimente est fourni par des accumulateurs installés
au central téléphonique.
Modèle 1924 LMT Le Materiel Téléphonique
qui combine du matériel US de Western Electric
C° avec du materiel Francais.
Le modèle naura que peu de succès tout au moins dans
sa version mobile. Il restera cependant longtemps utilisé dans
les centraux téléphonique, son micro dexcellente qualité
servant de référence. (Voir l'histoire
de LMT)
Modèle
de luxe en bakélite.
sommaire
Les téléphones "La Séquanaise
Electrique" & P Jacquesson Constructeur 67 rue saint Lazare
Paris
Raoul Montbrand, postier et fervent syndicaliste, fut
révoqué pendant les grèves de mai 1909, il s'improvise
alors en industriel, et crée une petite coopérative ouvrière
: la « Séquanaise électrique », pour fabriquer
des appareils de téléphone. A l'issu de cette grève
il fut réintégré dans ses fonctions. La société
dont le siège social est à Paris, 3, rue d'Athènes,
a été dissoute le 29 mai 1910.
En 1911 dans l'Humanité on y lisait :
Les camarades Bastide, Chopard, Touchais et Jacquesson,
membres restants de l'ancienne société ouvrière la
Sequanaise Electrique, 3 rue d'Athènes, société
coopérative de production fondée à la suite de la
grève des postes par des ouvriers révogues des P. T. T.
Informent tous les militants, socialistes, syndicalistes et coopérateurs
qu'à la suite des réintégrations générales
des postiers révoques, compnenant les anciens sociétaires
de la Sequanaise, la Société ouvrière a été
dans l'obligation, à la suite de certaines circonstanoes, de se
transformer en nom collectif devenant la propriété
des quatre camarades restants. Après s'êtne consultés,
ils décident d'informer prochainement les organisations ouvrières
des engagements qu'ils ont pris en faisant participer au bénéfice
de l'vre des dites organisations. Ils remercient bien sincèrement
les Sociétés coopératives la Bellevilloise, le Magasin
de Gros, la Persévérante, la Productrice, le journal la
Guerre Sociale, et tous les militants socialistes, syndicalistes et coopérateurs
qui par leurs concours, ont apporté l'appui matériel à
la prospérité de l'association.
La situation, au point de vue matériel, de la Séquanaise
à l'heure actuelle, peut permettre aux membres restants de faire
face aux engagements qu'avait contractés l'ancienne société.
Ils informent les camarades porteurs de bons de prêts qu'à
partir du fer mars 1911, sur présentation leurs reçus, ils
pourront se faire rembourser au siège social, 3, me d'Athènes.
Envoient leurs saluts fraternels à toutes tes victimes de la répression
capitaliste et gouvernementale.
P. et par ordre P. Jacquesson.
En 1912 Aux archives commerciales de la France , on y lisait
:
Pour la Société Bastide , Thopard, Touchais et Gie,
« LA SÉQUANAISE ELECTRIQUE », 3, Athènes,
le 1 fév. 1912, cesssion par M. Chopard à M. Jacquesson
de tous les droits lui appartenant dans ladite sociétés.
La raison sociale devient BASTIDE et JACQUESSON
sommaire
Les téléphones LORIMER
Jusqu'à présent, seuls quatre téléphones
Lorimer ont été identifiés, avec des variations mineures.
 |
Le premier est un long téléphone
mural à façade cathédrale d'aspect conventionnel,
avec le bras de l'émetteur déplacé plus bas sur
le devant du boîtier pour faire de la place pour le mécanisme
de numérotation. L'illustration est tirée de «Old
Telephones Price Guide et History of Old Telephones» de Ron
Knappen, maintenant épuisé. |
 |
Le deuxième modèle est
du début des années 1900 et est un modèle
de mur plus petit d'Europe, certainement la France. |
 |
Le troisième modèle est
un téléphone mural compact de l'installation britannique,
et des exemples sont détenus par le British Telecom Museum
et le Milton Keynes Museum. |
 |
La quatrième version utilisait
un téléphone en forme de chandelier avec la boîte
d'appel placée devant elle sur un socle en bois. Il semble
avoir été utilisé uniquement sur le central
de Brantford.
Il est très rare |
sommaire
Les téléphones MAICHE 3 rue louis
le grand 75002 Paris
Le premier microphone à contacts multiples a été
publié par Louis Maiche dans le
Kosmos les mondes du 26 septembre 1878.
Le 16 novembre 1878 près de deux mois après M.Hopkins dans
le scientifique américan publiait la description
d'un autre microphone composé, mais ce n'est qu'au 1er février
1879 que Crossley décrit sa première combinaison
de microphones de Hugues.
Le brevet Maiche pour l'emploi de charbons cylindriques diposés
horizontalement pour obtenir les contacts tangentiels est du 5 novembre
1879, et par un certificat d'addition du 22 décembre 1879,
l'inventeur indique l'emploi de séries de charbons disposés
parallélement ou en dérivation.
Le premier brevet Ader est seulement du 19 mars 1880 et ce n'est
que dans un certificat d'addition du 10 juillet 1880 que l'on retrouve
l'emploi de charbon cylindriques et l'assemblage en dérivation
indiqués dans les brevets MAICHE.

Consultez
le catalogue Maiche 1885 et la page Maiche
sur le site.
Brevet déposé le 19 avril 1882 no 148 512 pour "Un
nouvel appareil téléphonique".
 
Afin de pouvoir commercialiser un appareil haut de gamme, Maiche
s'associe avec Ladislas Lenczwski qui fabrique des instruments
de précision et d'électricité et qui a développé
une branche "téléphones" pilotée par Abdank
Abakanowicz. (D'arsonval faisait également construire ses modèles
chez Lenczwski).

avec écouteur Lenczwski.
Ultime aménagement dans le but de simplifier la construction de
l'appareil et d'en faciliter le montage et en augmenter la puissance avec
un certicat d'addition le 6 septembre 1882, touche finale, un manche modifié,
avec une bonette élégante en ébonite noire.
Suivra quelques jours plus tard le nouvel "Eléctrophone
pupitre"
Pupitre avec un nouveau transmetteur. Disposition protégée
par un certificat d'addition 133 462 du 31 aout 1882.
Maiche fait construire tous ses ses modèles par l'entreprise Lenczwski
jusqu'en janvier 1883, son successeur sera la Société
de Branville.
Ces téléphones luxueux et plus couteux que ceux de la concurence,
sont toutefois appréciés par les particuliers désirant
faire une installation privée.
Une station revient à 150 francs, 100 francs pour l'appareil mural
et 30 francs pour les deux téléphones récepteurs,
10 francs pour la sonnerie et 10 francs pour deux éléments
de pile . L'entretien est proposé à 30 francs par an.
 
Les charbons mobiles du microphone, préalablement garnis de bagues
en caoutchouc, pour les empêcher de se toucher, sont aujourd'hui
séparés par de petites languettes de bois.
La planchette microphoniquc est assujettie, par quatre boulons, sur un
cadre qui, lui-même, s'adapte, au moyen de deux vis, à la
boite de l'appareil.
Le microphone prend contact avec le reste du circuit primaire par deux
lames platinées, boulonnées sur les charbons prismatiques
extrêmes; ces lames reposent sur deux ressorts, visses sur les joues
de la bobine d'induction.
 |
Le levier-commutateur (fig. 25) se termine,
en B, par une goupille g g' qui le traverse de part en part et qui,
suivant la position du crochet 0, prend contact avec le ressort 7"'
le ressort ou avec r3 et met en relation la ligne, attachée
en a, au pivot du levier, soit avec les récepteurs, soit avec
la sonnerie. Vers le milieu du levier, une seconde goupille G, métallique,
mais isolée du levier par la rondelle e, ouvre ou ferme le
circuit primaire,
en abandonnant les deux ressorts-lames r', r2, ou bien en les réunissant.
R est le ressort antagoniste, h est une butée d'arrêt. |
 
En 1884 L.Maiche n'ayant pas réussi à
imposer ses appareils sur les premiers réseaux exploités
par l'état (la préférence a été la
maison Breguet), il continue à améliore ses modèles
pour proposer 3 nouveaux modèles dans son catalogue de 1884.

Clé d'appel remplacée par un bouton
poussoir.
P. de Branville émet l'idée de négocier avec
la SGT afin de continuer à commerialiser les appareils Maiche et
D'Arsonval, à verser des droits et à poser sur chaque appareil
une plaque ou sera mentionné CONCESSIONNAIRES DE LICENCE DE LA
STE GLE DES TELEPHONES POUR LES BREVETS EDISON.
L'appareil est équipé de deux téléphones Maiche
et un crochet commutateur à droite, à gauche il sera fixe.
A partir de la la SGT satisfaite retire sa plainte.
Dans l'appareil à pied, les bornes ont été reportées
sous le socle, et c est là que viennent s'attacher les différents
brins du cordon souple à sept conducteurs.
version 1885
1886 C'en est pas fini avec les téléphones, Louis
Maiche conçoit un téléphone avec avertisseur
: brevet 176 192 du 17 mai 1886 pour "Un système de téléphone
avec avertisseur ou appel magnétique" . C'est un recepteur
à anneau avec une petite bobine autour de la pièce métallique
afin de crééer un bourdonnement servant de signal d'appel.
Puis il propose une amélioration pour pouvoir régler la
plaque vibrante en vue d'avoir la meilleure audition possible. C'est le
brevet du 12 novembre 1886 N° 179 615 pour "Des perfectionnements
dans les appareils de communications téléphoniques".

sommaire
Le téléphone MARCHENAY
Marchenay, Constructeur, système "Le
Téléphone Universel", 115 avenue Parmentier,
Paris
sommaire
Le téléphone MAGNE Ch. : 10 rue des
pyramides Paris
sommaire
Le microphone hydraulique Majorana : "Microfono
idraulico MAJORANA" 1902-1909
|
Le premier microphone hydraulique italien a été
conçu par le comte Quirio Majorana de la Poste italienne.
Dans le microphone de Majorana, une fine colonne d'eau tombait verticalement
d'un jet ; la pression à cet endroit était modulée
par le diaphragme du microphone, modifiant le diamètre de
la colonne et faisant ainsi varier sa résistance électrique
lorsqu'elle passait entre les deux contacts au fond du boîtier.
Étant donné que l'élément résistif
était de l'eau (ou plutôt de l'eau additionnée
d'acide sulfurique ou de sels pour augmenter sa conductivité),
un refroidissement était intégré, mais on peut
supposer que si une puissance excessive était utilisée,
des nuages de vapeur commenceraient à sortir du microphone.
Le microphone haute puissance de Majorana a été utilisé
pour la première fois pour la téléphonie longue
distance en Italie en 1906. Comme l'amplification en cours de route
n'était alors pas possible, plus le signal du microphone
est puissant, plus la distance que vous parcourez est grande. pouvait
communiquer.
L'étiquette sur l'écran indique "Microphone
hydraulique à jet vibrant pour radiotéléphonie".
L'embout buccal est la corne courte en haut, fixée par quatre
vis. Le robinet tout en haut est le raccordement pour larrivée
deau.
|
 |
sommaire
|
Le récepteur amplificateur MASSIN
M. Massin s'est proposé d'améliorer
la transmission à grande distance en éliminant du
circuit les organes inutiles, soit les récepteurs au poste
qui transmet et le circuit secondaire de la bobine au poste qui
reçoit.
Dans ce but, les récepteurs et le fil secondaire de la bobine
sont, dans chaque poste, « placés en dérivation
sur l'un des deux fils, et une clef spéciale, communiquant
avec le second fil, ferme le circuit téléphonique
soit sur les récepteurs, soit sur la bobine, mais ne permet
pas à ces deux organes de se trouver simultanément
en ligne.
Les avantages théoriques de cette modification sont les suivants
:
1° Les récepteurs ne nuisent pas à la transmission
et la présence du transmetteur n'affaiblit plus la réception
; 2° l'opérateur n'a plus au départ, dans le cas
de longues lignes, les oreilles assourdies par les courants qu'émet
son transmetteur et qui traversent ses propres récepteurs
;
3° il est possible d'augmenter les courants circulant dans les
circuits primaires sans avoir à
craindre que les courants traversant le microphone de l'arrivée
ne provoquent, dans les écepteurs de l'arrivée, des
crépitements qui troubleraient l'audition.
(.Annales télégraphiques, 1891.)
Le téléphone construit d'après ces principes
comprend un récepteur ordinaire, fixé à l'extrémité
d'un long manche en bois (fig. 139) ; ce manche est creux et renferme
deux interrupteurs placés à des hauteurs différentes.
L'interrupteur le plus voisin du téléphone est formé
d'un ressort qui se déplace entre deux contacts et sur lequel
on peut agir par l'intermédiaire d'un bouton d'ivoire; l'autre
se compose de deux ressorts courbes, qu'on peut faire communiquer
par une petite tige de métal en tournant un bouton moleté,
qui se déplace entre deux lettres 0 et P.
A la partie inférieure du manche s'insère un conducteur
souple renfermant trois conducteurs de couleurs différentes.
Le fil jaune se rend aux bobines, puis au contact de repos du premier
interrupteur, et enfin au ressort de droite du second. Le fil rouge
aboutit au ressort du premier interrupteur; le vert communique d'abord
avec le ressort de gauche du second interrupteur, puis avec le contact
de travail du premier.
|

Lorsque l'index du second commutateur est devant la lettre 0, l'appareil
fonctionne comme un téléphone ordinaire; quand il
est placé devant la lettre P, l'appareil est disposé
pour la transmission à longue distance (lignes interurbaines).
Dans ce cas, on saisit le manche de bois à pleine main, puis
on appuie le pouce sur le bouton supérieur ou on le relève,
suivant qu'on parle ou qu'on écoute.
Il est bon d'employer avec le récepteur Massin des piles
très peu résistantes, comme la pile Lalande ou la
pile bloc de M. Germain.
|
Ce récepteur est construit par la maison Mildé
(France).
  |
Introduit dans le circuit
d'un poste téléphonique, le récepteur Massin
est destiné à y remplacer un des récepteurs.
La disposition à adopter varie suivant l'agencement des communications
intérieures du transmetteur.
Dans certains transmetteurs, en effet, la sortie de l'induit de la
bobine d'induction est directement reliée à la borne
L2 (terre ou fil de retour); dans d'autres, la sortie de l'induit
est en relation avec la borne L1 (ligne) par l'intermédiaire
du ressort par lequel passe le courant de la ligne, lorsque le levier-commutateur
est relevé, c'est-à-dire lorsque les récepteurs
sont
décrochés. Les croquis ci-joints (fig. 6 et 7), qui
nous ont étégracieusement communiqués par M.
Hospitalier, montrent la disposition à adopter dans l'un ou
l'autre cas.
Le conducteur rouge y est représente par un trait plein, le
conducteur vert par des traits successifs, le conducteurj aune par
des points et des traits alternés. |
sommaire
Téléphone de marine MAGNAVOX

sommaire
Les téléphones McDonough
McDonough dès 1867 a été
un des premiers pionnier avec « reproducteur de son »
et deux téléphones à plaque et micro à
charbons style Ader.

sommaire
Les téléphones MERCADIER ET ANIZAN
 |
Le recepteur
Sur lun des pôles dun aimant A (fig. 22) est montée
une bobine dont la résistance est de 115 ohms.
Les extrémités de lenroulement de cette bobine
aboutissent aux bornes DD qui, dautre part, reçoivent
le cordon souple.
Le tube T, adapté au boîtier, sert de logement à
l'aimant A, autour duquel est enroulé un ressort à
boudin R que la vis Y maintient bandé.
Laimant A et la bobine B qui fait corps avec lui sont mobiles
dans le tube T, sans cependant pouvoir tourner, car la joue inférieure
de la bobine porte un prolongement percé dun trou,
dans lequel s'engage un ergot fixé au boîtier.
Ce dispositif empêche tout déplacement angulaire de
la bobine et de laimant.
La partie inférieure du tube T est taraudée et le
système électro-magnétique est commandé
par les trois vis V 1 V 2 V 3 . de sorte que, en agissant sur ces
vis, bloquées les unes par les autres, on peut rapprocher
ou éloigner de la plaque vibrante M, pincée entre
le boîtier et le cou vercle, l'extrémité polaire
de laimant A qui porte la bobine B.
1891 le Bitéléphone
|
Le bitéléphone
MERCADIER
Le but de M. Mercadier, en réalisant son bitéléphone,
a été dobtenir un instrument de dimensions et
de poids très réduits, produisant en netteté
et en intensité des effets comparables à ceux
des meilleurs récepteurs en usage. Linstrument est assez
léger pour rester suspendu aux oreilles de lopérateur
sans lui occasionner de fatigue et en lui laissant les mains libres.
Deux récepteurs de 3 à 4 cm de diamètre sont
réunis par un ressort VV en fil dacier de 2 mm de diamètre
enfilé dans un tube de caoutchouc. Le boîtier des récepteurs
est en ébonile, et le couvercle se termine par un appendice
II, garni de caoutchouc, que l'on introduit dans les oreilles en écartant
légèrement les branches du ressort YV. La boucle du
ressort reste ainsi au-dessous du menton, tandis que, par son élasticité
propre, il maintient les appendices l , t engagés dans les
oreilles.
La disposition de l'organe électromagnétique rappelle
par sa forme celle du récepteur Ader; mais les dimensions en
ont été calculées en vue dappliquer les
conclusions d'une note communiquée par linventeur, le
22 juin 1891, à l'Académie des Sciences de Paris, savoir
:
1° donner au diaphragme du téléphone lépaisseur
juste suffisante pour absorber toutes les lignes de force du champ
de son aimant;
2° diminuer le diamètre jusquà ce que le son
fondamental et les harmoniques du diaphragme encastré soient
plus aigus que ceux de la voix humaine, cest-à-dire plus
aigus que 1ut 3 .
Ce sont là, daprès M. Mercadier, les conditions
que doivent remplir les récepteurs téléphoniques
pour fournir le meilleur rendement.
|
 |
Le transmetteur Mercadier. Le brevet 1895

Dans un double prisme de charbon A, B (fig. 63) percé
de trous cylindro-coniques, sengagent huit charbons mobiles,
tels que CD.
Les prismes A, B, sont fixés sur la planchette microphonique
par le boulon c et lécrou b ; ils sont calés par
des tasseaux x, y, z.
Chacun des charbons mobiles est cylindrique à sa base et taillé
en pyramide à son sommet. |
 |
La partie cylindrique est enfoncée dans une douille
métallique D, percée elle-même dun trou conique
t. Sur deux plaques métalliques P, P', isolées lune
de lautre, et dont nous verrons plus loin les liaisons électriques,
sont placées huit chevilles métalliques e. Cest sur
ces chevilles que reposent les douilles métalliques t des charbons
mobiles; les sommets de ces charbons sont logés dans les trous des
prismes A, B, et sy meuvent très librement. Tel est le microphone.
Sur la portion de la figure qui représente les plaques P, P', et
une coupe des charbons mobiles, on voit que ces charbons forment deux groupes
de quatre charbons montés en quantité; ces deux groupes sont
eux-mêmes montés en série par leur liaison à
travers les prismes de charbon A, B. La coupe longitudinale de lappareil,
placée sur la gauche de la figure, montre les positions respectives
des deux rangées de charbons; elles sont parallèles, et les
charbons y sont inclinés, faisant un angle denviron 15°
avec la verticale. Pour parer à un calage des charbons, peu probable
dailleurs en raison de leur grande mobilité et pour chasser
aussi les poussières qui pourraient altérer les points de
contact, les inventeurs ont imaginé un système de réglage
qui permet de faire rouler les charbons mobiles sur leurs pivots. Un cordonnet
de soie entoure chacun des charbons; les deux brins de ce cordonnet sont
noués derrière le ressort en acier R, et sont fixés,
dautre part, à la barrette h qui supporte le bouton T. Cette
par le ressort r dans la position que représente la figure, glisse
sur les tigesf, g', lorsquon tire le boulon T ; le ressort r
obéit lui-même à cette impulsion, de sorte que, en tirant
plusieurs lois le boulon T, comme on tirerait un bouton de sonnette, on
imprime à tous les charbons mobiles un mouvement de rotation autour
de leur axe.
Les transmetteurs Mercadier et Anizan sont construits
par la maison L. Digeon et C ie .
Il existe un modèle mural et un modèle portatif qui, tous
les deux, ont le même mécanisme et les mêmes communications
intérieures que les transmetteurs similaires du modèle
dArsonval.
Monotéléphone et Pantéléphone
?
C'est M. Mercadier durant ses travaux sur la télégraphie
multiplex, s'est proposé vers 1881, de construire de qui s'appelle
le monotéléphone, reproduisant un son unique, par
opposition au téléphone ordinaire, qui reproduisait indistinctement
tous les sons et qui s'appelle pantéléphone.
On sait que le téléphone ordinaire se compose essentiellement
d'un diaphragme en forme de disque mince en fer ou en acier, encastré
sur les bords, à peu de distance du pôle d'un électro
aimant.
Pour construire le monotéléphone, M.Mercadier tout en maintenant
le diaphragme très prés du pôle de l'électro
aimant, lui a rendu la liberté de vibrer transversalement, en fixant
seulement par trois points choisis sur la ligne nodale de son premier
harmonique. ...

On retrouve aussi des traces dans les Comptes rendus hebdomadaires des
séances de l'Académie des sciences de 1887
Sur la théorie du téléphone
monotéléphone ou résonateur électromagnétique.
Note de M. E. Mercadier, présentée par M. Cornu.
« Dans une étude précédente sur la théorie
du téléphone, je crois avoir démontré
que le diaphragme magnétique de cet appareil est animé
de deux espèces de mouvements différents qui se superposent.
Les uns sont des mouvements de résonance, moléculaires,
indépendants de la forme extérieure ce sont précisément
ceux qui permettent au diaphragme de transmettre et de reproduire
tous les sons, propriété caractéristique qu'il
aurait fallu préciser nettement dans le nom même du téléphone
en l'appelant pantéléphone
Les autres sont des mouvements d'ensemble, transversaux, correspondant
au son fondamental et aux harmoniques du diaphragme, et qui dépendent
de son élasticité, de sa forme et de sa structure ceux-là
sont nuisibles au point de vue de la transmission nette de la musique
et de la parole, car ils altèrent le timbre, leurs harmoniques
ne coïncidant que par le plus grand des hasards avec ceux de
la voix ou des instruments usuels.
» Pour mettre hors de doute l'existence et la superposition
de ces deux genres de mouvements, j'ai cherché à faire
prédominer les uns ou les autres à volonté dans
le même diaphragme. On y parvient à l'aide de la disposition
suivante que j'avais réalisée dès 1881, et que
j'ai seulement simplifiée depuis.
- I. On place le diaphragme d'un téléphone quelconque
dans les conditions les plus favorables pour qu'il puisse vibrer transversalement
sans obstacle, et de façon à laisser se produire facilement
la division en lignes nodales correspondant à un son donné
bien déterminé. Pour cela, au lieu d'encastrer le diaphragme
sur ses bords, comme on le fait ordinairement, on le pose simplement
aussi près que possible du pôle de l'électro-aimant
sur un nombre de points suffisants d'une ligne nodale.
» Si c'est un diaphragme rectangulaire, on le pose sur deux
appuis rectilignes coïncidant avec les deux lignes nodales du
son fondamental. » Si c'est un diaphragme circulaire, on perce
trois ouvertures de 2mm à 3mm (le diamètre sur les sommets
d'un triangle équilatéral inscrit dans la circonférence
qui constitue la ligne nodale du premier harmonique, et l'on pose
le disque sur trois pointes en liège disposées de la
même manière sur un plateau fixe et pénétrant
dans les ouvertures.
» Cela étant, faisons passer dans la bobine de l'appareil
une série de courants d'intensité très faible,
de période graduellement décroissante, par exemple,
provenant de l'émission de sons musicaux devant un transmetteur
quelconque téléphonique ou radiophonique. Alors le récepteur
téléphonique, modifié comme il est dit ci-dessus,
ne vibre, d'une manière appréciable, que sous l'action
des courants dont la période est égale à celle
du son correspondant à la nodale sur laquelle repose le diaphragme,
son que j'appellerai particulier ou spécial il ne reproduit
plus une série continue de sons de hauteur graduellement croissante,
indifféremment et avec la même intensité, comme
le téléphone ordinaire; il n'en reproduit énergiquement
qu'un seul; il n'est plus pantéléphonique, il
est monotéléphonique on peut donc l'appeler monotéléphone.
» Ce résultat n'est pas absolu. En réalité,
le diaphragme fait entendre quelques sous-harmoniques du son spécial
correspondant à la ligne nodale fixée mais leur intensité
est relativement très faible. De plus, le diaphragme reproduit
des sons de période un peu inférieure ou supérieure
à celle du son spécial, mais l'intervalle extrême
entre ces sons est assez petit et n'excède généralement
pas un ou deux commas.
» Ces réserves sont de la même nature que celles
qu'on doit faire au sujet des résonateurs en Acoustique. Du
reste, le rôle d'analyseur que le monotéléphone
joue par rapport à ce qu'on peut appeler les ondes électromagnétiques
est analogue à celui que joue un résonateur par rapport
aux ondes sonores si on leur communique en effet une série
d'ondes successives ou simultanées de périodes différentes,
chacun d'eux choisit en quelque sorte celle du son spécial
qui correspond à sa forme géométrique et aux
conditions dans lesquelles il est placé, et la renforce énergi-
quement. » Le monotéléphone peut donc s'appeler
aussi bien résonateur électromagnétique.
- II. Dans le dispositif qu'on vient de décrire, les
mouvements transversaux prédominent, et il est aisé
de voir l'effet qu'ils peuvent avoir dans un téléphone
ordinaire car si l'on essaye de faire reproduire par un monotéléphone
la parole articulée émise dans un transmetteur, ou bien
on n'entend à peu près rien si le son spécial
de l'appareil est hors de l'échelle où se meut la voix
humaine (de l'ut2 à l'ut4), ou bien, dans le cas contraire,
on n'entend que des sons d'un timbre modifié et des articulations
émoussées, le tout noyé en quelque sorte dans
la sonorité du son spécial, toutes les fois qu'il se
fait entendre.
» Mais il est très facile de produire l'effet inverse,
de faire prédominer les mouvements moléculaires de résonance
sur les transversaux, de rendre au monotéléphone le
rôle pantéléphonique, de lui faire reproduire
tous les sons avec la même intensité et la parole articulée
avec netteté.
» Il suffit, pour cela, de mettre obstacle aux vibrations transversales
d'ensemble, en fixant légèrement les bords ou plusieurs
points du diaphragme, par exemple en y appuyant convenablement les
doigts.
» Le moyen le plus simple de faire l'expérience est le
suivant. On reçoit dans le monotéléphone des
sons différents successifs ou simultanés parmi lesquels
se trouve le son spécial, ou des paroles articulées
à peu près à la hauteur de ce son. On approche
l'oreille du diaphragme tant qu'elle en est à une certaine
distance ou qu'elle l'effleure tout au plus, on entend seulement le
son spécial mais, si l'on appuie de plus en plus l'oreille
sur le diaphragme, le son spécial s'affaiblit peu à
peu, et l'on finit par entendre tous les sons avec une égale
intensité, ainsi que la parole articulée sans altération
sensible du timbre. Par cette seule opération très simple
on a rendu aux mouvements de résonance la prédominance
sur les transversaux et à l'appareil la propriété
pantéléphonique que possède le téléphone
ordinaire à diaphragme encastré.
» Dans une Communication ultérieure, je reviendrai sur
la construction du résonateur électromagnétique
et sur ses applications. » |
sommaire
Le Metaphone de Grande Bretagne
combiné suspendu
à une rosace, doté d'un bouton d'appel. Également appelés
« téléphones de salon »,
Consultez la page Metaphone
La gamme « Little Geeko » utilisait un combiné avec émetteur
capsule, suspendu à un support de sonnette.
sommaire
Les téléphones MILDE 60 rue Desrenaudes
75017 Paris
C'est A.C. d'Argy
qui en 1882 réussi à le faire fonctionner un microphone à
charbon puis c'est CC. Mildé en 1884
qui le rendra plus fiable.
Appareils Electrophone à haute voix D'Argy, constructeur
M. A Javelier rue du drapeau Dijon.
Les différents appareils forment par leur réunion un système
complet de téléphonie domestique ; M. Milde , qui en est l'auteur
, s'est attaché surtout å rendre le fonctionnement des divers
instruments qu'il comporte aussi simple que celui des signaux en usage dans
les maisons , ateliers , usines , etc. Le microphone est remarquable par
sa simplicité et en même temps par la propriété
qu'il a de pouvoir se déplacer sans crainte d'être déréglé
, ainsi que de fonctionner dans n'importe quelle position .
Ce microphone est dû à M. d'Argy , auquel il a été
inspiré par le dispositif de M. Bourseul.
Gravures issues du document
"les téléléphones
à haute voix"

Mildé-D'Argy
1883
Dans le modèle de 1884, le caoutchouc a été remplacé
par une caisse métallique ressemblant par ses ondulations circulaires
aux caisses des baromètres anéroïdes.
Les deux coquilles repoussées qui constituent cette caisse sont percées
au centre pour permettre l'introduction de deux petits blocs de charbon
isolés du métal par une gaine en papier . L'espace libre qui
existe entre les parois de cette caisse est à moitié rempli
de granules de coke d'environ 0,5 millimètre de diamètre .
Ce microphone est monté sur la paroi d'une caisse sonore , supportant
une sonnerie , un téléphone et le mécanisme de commutation
.
La console qui le supporte contient la pile nécessaire à son
fonctionnement , un simple élément Leclanché .
Les services que cet appareil est appelé à rendre ne nécessitent
pas une grande force par suite du peu de distance que le courant doit parcourir
. Il a fallu cependant prévoir aussi un dispositif pour de plus grandes
distances tout en restant très simple , par exemple en évitant
l'usage de piles en plus ou moins grand nombre chez les abonnés ;
ce résultat a été obtenu en adaptant le microphone
dont nous avons parlé , ainsi que le téléphone , sur
une sonnerie magnéto - électrique ; cette modification s'obtient
à peu de frais et ne nécessite des piles qu'au bureau central
.
  
La figure 4 représente ce poste muni du microphone et du récepteur
suspendu sur le côté à un crochet faisant office de
commutateur .
Pour une installation complète , dans une usine par exemple où
l'on doit pouvoir se mettre en relation avec plusieurs points , il était
nécessaire d'avoir un tableau indicateur . Ce tableau ( fig . 5 )
est semblable à ceux déjà en usage dans les maisons
où l'on utilise les signaux électriques .
La cassure du verre permet de voir le mécanisme , qui consiste en
un levier portant un index en forme d'étoile ; le courant d'appel
, par son passage dans un électro - aimant , produit le déclanchement
de ce levier , l'index parait devant le guichet en même temps qu'un
contact établi ferme le circuit local d'une sonnerie qui fonctionne
ainsi jusqu'à ce qu'on ait replace le levier dans la position primitive
. Dans le bas du tableau est un bouchon mobile qui sert à mettre
le poste en relation , soit avec le bureau central , soit avec un autre
point , le bureau restant en dérivalion sur la ligne ; dans ce dernier
cas , il est nécessaire d'avoir deux bouchons qu'on place aux points
correspondants avec les deux personnes qui se servent de la ligne .
Un dernier détail qui constitue un perfectionnement important en
ce sens qu'il évite les déréglements auxquels sont
sujets les télé phones , consiste à rendre le téléphone
proprement dit indépendant de la gaine dans laquelle il est enfermé
. Pour cela , M. Milde renferme la bobine dans une caisse métallique
, dont le couvercle soudé sert de plaque vibrante ; le barreau aimanté
est serré par un contre - écrou , de sorte qu'une fois réglé
, l'appareil reste toujours dans de bonnes conditions de fonctionnement
.
  
Le microphone à 45° de M. Mildé
(fig. 85) se compose de deux cylindres de charbon sertis dans les
deux valves d'une boîte métallique.
Les charbons sont séparés du métal par une rondelle
de papier.
La boîte est remplie aux 5/6 environ de sa hauteur par des granules
de coke tamisé; les deux parties sont ensuite réunies
par une goutte de soudure. Lun des cylindres de charbon est
collé, par l'intermédiaire dune rondelle de liège,
derrière la plaque microphonique en sapin.
Les fils métalliques, réunissant le microphone au circuit
primaire de la bobine d'induction et à la pile, sont arrêtés
dans une gorge pratiquée sur le pourtour de chacun des charbons.
Quant aux faces des cylindres de charbon, tournées du côté
de la grenaille de coke, elles sont légèrement striées. |
 |
La clé d'appel, à
double fil, se compose d'un levier AB [fiy. 86), pivotant autour de
la vis O, soutenue par le pont P ; le ressort antagoniste D glisse
sur la plaque métallique E, lorsquon appuie sur le bouton
F. Le talon darrêt G limite la course du levier AB. A
lextrémité de ce levier, une pièce métallique
a a été rapportée et est isolée de la
tige AB. Le levier AB se déplace entre deux paires de ressorts
R et R,, appartenant à chacune des deux paires et qui sont
seuls figurés; les deux autres ressorts sont situés
en regard, le long de la face opposée du levier AB; La disposition
est telle que, à létat de repos, la partie a du
levier est en relation avec le ressort r, qui fait face à R
; la partie b touche le ressort rK situé en regard de R, ;
R et R, sont isolés. Lorsque la clé est abaissée,
les deux ressorts r, r, sont isolés, tandis que a prend contact
avec R et b avec Rr
Le crochet mobile C ( fig . 87) termine le levier-commutateur
qui pivote autour de la vis à centre 0. Le ressort antagoniste
R, accroché en i et en j, ramène le levier à
sa position de repos ; le ressort R, lui vient en aide, mais assure
aussi une communication électrique.
L'étrier E limite la course du levier.
Le levier CO porte un appendice composé de deux pièces
levier, la seconde, en est isolée ; le fil souple de communication
que reçoit ce.tte dernière est maintenu par lécrou
g. Sur la face postérieure de la tige CO, la plaque métallique
d a été rapportée; elle est soi gneusement isolée
et assujettie par les vis b, b, b; a est un contact communiquant avec
CO ; k est une vis de serrage qui reçoit un fil de liaison
destiné à rendre plus intime la communication électrique
entre le levier et son axe. |
 |
Le jeu de ressorts sur lequel doit agir le levier CO est
monté sur la plaque débonite MN, il comprend cinq lames
dacier r .
Lorsque le crochet C est abaissé, les ressorts r {r1, r 2 , r 3 ,
r, sont isolés, le ressort r 5 est en contact avec f.
Lorsque le crochet C est relevé, le ressort r, communique avec aet,
par conséquent, avec CO, le ressort r k avec f\ les ressorts r 2
et r 3 sont relies entre eux par la pièce métallique rf, mais
restent isolés de CO.
 |
La figure 88 montre
la disposition schématique des commu nications intérieures
du poste mural dit à 45°. Lappareil est dans la position
dattente, cest-à- dire sur sonnerie.
Particularités propres aux différents modèles.
Les organes mécaniques que nous venons de décrire
sont ceux du poste mural à 45°. Le microphone est le même
dans le poste portatif monté sur colonne; mais la clé
dappel et le commutateur automatique ont une disposi tion différente
et très originale.
La clé dappel, vue en dessous (fig. 89), a laspect
dun rectangle pivotant autour de la vis à
centre VV, ; ce rectangle est formé par deux barres métalliques
AB, CD, assemblées par les vis v , Vf , traversant des canonsdébonite,
de telle sorte que CD soit isolé de AB; l'équerre E
supporte tout le système. La barre AB porte un appendice a
sur lequel agit le bouton-poussoir F ; celui-ci est indépendant,
maintenu par une chape dans lébénisterie, et soumis
à l'action d'un ressort antagoniste à boudin R, qui
le ramène à sa position de repos, lorsque la main a
cessé dagir sur lui.
Le ressort antagoniste de la clé sest encastré
entre la barre AB etléquerreE ; on ne le voit pas. La
barre AB et léquerre E sont creusées en forme
de boîte autour de la vis Y ; dans cette boîte est logé
un petit fil dacier r de forme circulaire et recourbé
à angle droit à ses deux
bouts. Lune des extrémités de ce fil est enfoncée
dans un trou, pratiqué dans la barre AB, l'autre dans un trou
e percé dans léquerre E. Lorsquele système
ABCD, sollicité par le bouton-poussoir F, bascule pour prendre
sa position de travail, le ressort r se tend; il se détend
lorsque le bouton F n'agit plus et ramène le rec tangle ABCD
à sa position de repos.
Aux quatre coins du rectangle, au-dessous de A, B, C, D, sont vissés,
dans la platine isolante qui sou tient la clé, quatre pistons
; ce sont les plots de repos et de travail.
Le piston est composé de trois pièces : une partie fixe
x, une tige mobile g, un ressort à boudin z. L'un des pistons
de repos est représenté en m ; n figure un des pistons
de travail ; k est un boudin de liaison entre la barre CD et un plot
de communication.
Sur le levier-commutateur (fig. 90), pivotant autour de la vis O,
sont montés trois ressorts aa K , bb isolés par la lame
débonite E ; toutefois, le ressort aa t1 quoique isolé
des autres, communique avec le levier CO par sa vis de serrage. Ces
ressorts agissent sur des pis tons identiques à ceux de la
clé dappel. Lorsque le crochet C est abaissé,
le ressort aa t comprime le pis ton k ; le ressort d t d 2 d 3 , dont
la lame d 2 est plus longue que les deux autres, sappuie sur
les pistons h et n; les autres pistons sont isolés.
Lorsquele crochet C est relevé, le ressort aa, est en contact
avec le piston e, le ressort bb t avec les pistons /*, l, le ressort
d { d. 2 d z avec les pistons (/, h.
Le ressort antagoniste du levier-commutateur est identique à
celui de la clé dappel ; il est logé sous la vis
O ; il est cependant possible de le régler; à cet effet,
lembase S du levier est terminée par une glissière
que traverse la vis s ; pour tendre ou détendre le ressort,
il suffit de faire mouvoir la pièce S et de serrer à
bloc la vis s.
ün peut suivre sans difficulté la marche des courants
sur la figure 90. |
 

Les combinés (louche), le modèle "champignon" (3
différentes tailles)

Le raccordement du poste mobile avec les fils extérieurs
se fait, soit au moyen dune planchette à seize bornes, soit
en employant une fiche en ébonite, garnie de cinq ressorts sur
l'une de ses faces et de trois sur lautre. A cette fiche correspond
une mâchoire comprenant huit pièces de contact et huit bornes,
le tout monté sur un macaron mural.
Dans le transmetteur mural, la maison Mildé n'a apporté
que les modifications prescrites par la circulaire du 10 juin 1892.
Dans le modèle à pied, la forme du levier-commutateur a
été changée, pour permettre d'obtenir des contacts
à friction.
Le levier se compose de deux parties A, B (fig. 28), isolées l'une
de l'autre par des rondelles d'ivoire. La vis D sert de
pivot au levier; des butées b, b' limitent ses déplacements;
lt est le ressort antagoniste. La ligne aboutit à la platine qui
supporte le levier, et la communication électrique est assurée
par un boudin de sûreté.
Lorsque le crochet C est abaissé, le levier abandonne les ressorts.
r', r2, r3; il rencontre le ressort r; la ligne est sur sonnerie.
Lorsque le crochet C est relevé, le ressort r est isolé;
la partie A du levier presse le ressort r' qui communique avec le circuit
secondaire; les ressorts r2, r3, correspondant au circuit primaire, sont
réunis métalliquementpar la portion B du levier, isolée,
comme nous l'avons dit, de la partie A.
Le récepteur est du modèle admis sur les réseaux;
il est assujetti par une tige à écrou, dans la glissière
d'un bras métallique qui réunit le récepteur au microphone.
Les communications électriques sont assurées par un cordon
souple à quatre conducteurs.
Ce cordon est emprisonné sous une gaine de cuir, le long du bras
métallique, à l'endroit où on le saisit avec la main.
L'inclinaison du récepteur et du transmetteur, par rapport à
ce bras, est telle, que lorsque le téléphone est appliqué
sur l'oreille, le microphone est en face de la bouche.
Le mécanisme du levier-commutateur diffère un peu de celui
que nous avons représenté; ainsi, par exemple, le levier
est placé dans une direction perpendiculaire à celle du
crochet, au lieu d'être dans son prolongement; le ressort auquel
est attaché le fil de ligne est constamment en communication avec
le levier et remplit l'office de ressort antagoniste; le ressort de sonnerie
est recourbé en V renversé.
Ces changements, de peu d'importance, résultent de la forme même
de l'appareil, mais la disposition des circuits n'a pas varié ;
nous
retrouvons le même mécanisme dans le support à colonne,fermé
à la partie supérieure par un couvercle à vis.
il a existé un modèle primitif, ce gros
appareil Mildé servait aussi bien en transmetteur que en récepteur
sur un poste sans pile (catalogue Mildé 1887).
  



 
Mildé-Bourdin
Ch. Mildé sassociera ensuite avec de brillants
ingénieurs : Jules Bourdin et Maxymilian
Kotyra en 1890 et Frédéric Steiner en 1900
louche
Mildé Kotyra Angelot
Mildé
Le téléphone MILDE - STEINER
Le microphone imaginé par M. Steiner
(fig. 100) est une modification du microphone Mildé
précédemment décrit.
Il se compose de deux coquilles métalliques
ondulées, semboîtant lune dans lautre,
et formant un récipient ouvert au centre pour livrer passage
aux charbons servant de conducteurs.
La partie supérieure de cette boîte est ondulée
horizon talement et est traversée par un charbon cylindro-conique
strié.
La partie inférieure est ondulée en cône et reçoit
une cuvette en charbon également striée.
Lintervalle entre les deux coquilles, emboîtées
lune dans lautre, est rempli dune poudre dun
charbon spécial semi-conducteur.
Les deux charbons traversant les coquilles sont soigneu sement isolés
de celles-ci.
Deux goupilles en laiton, fixées à chacun des charbons,
servent dattache aux fils les reliant avec le circuit primaire.
Suivant linventeur, ce microphone peut fonctionner dans toutes
les positions, même horizontalement; il est indéré
glable et supporte, sans produire la moindre friture, un cou rant
de 1 à 8 volts.
Dans le charbon supérieur est encastrée une petite pièce
de bois qui reçoit une vis permettant de fixer la boîte
à la plaque microphonique.
Le récepteur est analogue à celui qui accompagne les
transmetteurs Mildé à 45°; mais il est de dimensions
plus réduites. |
 |
 |
Le récepteur Mildé
est monté à glissière sur la barre d'assemblage
qui l'unit au microphone Steiner.
Lappareil combiné, garni dun cordon souple à
quatre conducteurs, est généralement adapté à
un macaron mural ou à une colonne portative.
Le macaron mural ne diffère pas, dans ses dispositions essentielles,
du transmetteur Mildé à 45°.
La clé dappel et le levier-commutateur ont été
légèrement modifiés en raison du peu despace
dont disposait le constructeur, mais on y retrouve aisément
les organes que nous connaissons déjà; il serait donc
superflu dy revenir. |
La figure 101 représente les communications intérieures
du macaron mural; celles de la colonne portative font lobjet de la
figure 102.
Dans la colonne portative, la clé dappel est identique à
celle du macaron mural. Le levier- commutateur se rapproche de celui du
transmetteur Mildé à 45°; mais, tout en remplissant le
même office, le jeu de ressorts est disposé différemment,
et ces ressorts agissent sur les deux faces du levier, chacune de ces faces
étant garnies en partie dune plaque métallique rapportée
et convenablement isolée.
Les deux modes dinstallation, murale et portative, permettent dutiliser
un récepteur auxiliaire concurremment avec lappareil combiné.
 
Transmetteur microphonique Steiner combiné avec applique vers 1894
(Microphone à grenaille)
sommaire
Les téléphones MIX & GENEST Allemagne
Micro
1886 
Cet instrument, récemment adopté par la poste allemande,
est représenté aux figures ci dessus.
L'idée maîtresse dans la construction de ce microphone était
d'éviter tout dérangement accidentel des contacts en carbone
tout en conservant les avantages d'une position verticale de la membrane.
Ceci s'effectue au moyen d'une sorte de frein qui empêche les cylindres
de charbon de s'appuyer contre les points inférieurs des trous
des porte-charbons ; cela sécurise les contacts en carbone et supprime
le bruit discordant auquel les microphones à membrane verticale
sont fréquemment exposés.
L'embout est vissé sur un anneau de fonte rainuré, et porte
dans cette rainure le diaphragme, en bois de pin mince, qui est entouré
d'un élastique indien. Deux pinces maintiennent le diaphragme en
position. Deux porte-charbons, fixés au diaphragme, portent dans
leurs alésages trois cylindres de carbone. Un ressort placé
en travers des cylindres fait office de frein, et porte sur son dos une
plaque de laiton, entre laquelle et les cylindres de carbone est inséré
un matériau souple tel que du feutre.
Au moyen des vis les cylindres peuvent être poussés légèrement
vers l'avant et pressés contre les porte-charbons, de sorte que
les cylindres ne peuvent pas tourner, tout en restant suffisamment mobiles.
sommaire
Le téléphone de MONTILLOT 1892
Les détails
sommaire
Les téléphones MORLE PORCHE 115 rue d'Aboukir 75000
Paris
Les récepteurs

Les transmetteurs Morlé et Porché ont été
admis sur les réseaux en 1893.
Le microphone se compose de quatre plaques de charbons C1 C2, C3,C4 (fig.
32) qui, en coupe, ont la forme d'un L; ces plaques
sont boulonnées sur la planchette microphonique; deux d'entre elles
sont réunies par un fil métallique; les deux plaques opposées
reçoivent les fils d'entrée et de sortie du microphone.
Sur les bords du cadre qui supporte la planchette en sapin, sont vissées
deux plaques en ébonite E, E' qui maintiennent quatre tringles
métalliques, parallèles t, t, t, t. Sur chacune de ces tringles
est enfilé un bloc de laiton b, très mobile autour de la
tringle, mais dont les mouvements latéraux sont limités
par des rondelles de caoutchouc e, e enfilées, à frottement
dur, sur les tringles t. Chacun des blocs de laiton est traversé
par un cylindre de charbon c qui s'appuie, par ses deux bouts sur les
lames de charbon CI, CI, C3, C4
Les deux cylindres supérieur s'appuient sur la première
paire de lames, les deux cylindres inférieurs sur la seconde paire.
Deux têtes de boulons auxquels aboutissent les fils partant des
charbons C1, C2 s'appliquent, par pression, sur les ressorts m, m (fig.
33) et assurent la liaison du microphone avec le reste du système.

Le levier-commutateurse déplace entre quatre ressorts, supportés
par une plaque en ébonite E.
Un cylindre en deux pièces, isolées l'une de l'autre D,
F, est rapporté à l'extrémité du levier, perpendiculairement
à sa longueur.
L'ensemble du levier CD et du cylindre DF pivote autour de la vis A, et
est commandé par le ressort antagoniste R. Les fils de communication
sont attachés aux ressorts r1 r2,r3, r4. Quand le crochet C est
abaissé, le cylindre DF soulève le ressort r' ; la liarne
qui aboutit au levier, en P. est sur sonnerie.
Quand le levier est relevé, la partie D du cylindre rencontre le
ressort r'2, la partie F réunit les deux ressorts r3, r\ ; la ligne
est reliée au circuit secondaire et le circuit primaire est fermé.
Le bouton d'appel agit sur le ressort a garni d'une goupille qui, par
friction, prend communication avec le ressort ce ou avec le ressort bb.
Les figures 34 et 35 représentent le modèle mural et le
modèle à pied .
 
 
sommaire
Les Téléphone MORS ABDANSK
Le recepteur
La forme de l'aimant du récepteur Mors-Abdank est originale.
C'est une lame d'acier rec- tangulaire mais dont les petits côtés
ont été arrondis et qui,dans sa région centrale,
offre une assez large ouverture A (tig. 55).
Cette lame d'acier est ensuite recourbée en forme d'anneau
aplati, de telle sorte que la partie évidée se trouvant
en dessus, les extrémités a b soient visibles à
travers l'ouverture A et qu'elles se trouvent, en quelque sorte, en
face des centres des parties arrondies de A. La lame d'acier ainsi
contournée ayant été trempée et aimantée,
des noyaux de fer doux sont vissés en a et b; ces noyaux reçoivent
les bobines dont la résistance électrique est de 200
ohms.
Il résulte de cette disposition que les joues supérieures
des bobines B B' émergent à travers l'ouverture A de
l'aimant.
Les fils d'entrée et de sortie des bobines, protégés
par des tubes de caoutchouc, sont pincés sous les écrous
m, n isolés
du boitier métallique.
A ces écrous correspondent les bornes M, N qui reçoivent
les conducteurs du cordon souple.
Les dimensions de la plaque vibrante sont les suivantes : diamètre
8 millimètres, épaisseur 0,26 millimètre. Elle
est séparée du boîtier et du couvercle par deux
rondelles de réglage en laiton.
Le couvercle qui porte l'embouchure en ébonite se visse sur
le boîtier, au dessous duquel se trouve un anneau de suspension
P.
La figure 55 montre le fantôme magnétique du récepteur
Mors-Abdank.
|
 |
Le transmetteur

Le microphone est du type Ader
; il comprend deux groupes de cinq crayons de charbon montés
en quantité sur trois barrettes en charbon qui les assemblent
en série, le tout boulonné sur une plaque vibrante en
sapin.
La clé dappel (fig.64) est formée par un
bouton-poussoir métallique A, monté à glissière
et soumis à laction dun ressort antagoniste. La
glissière est réunie à demeure par une lame a
avec le ressort 3 du levier-commutateur. La tige du bouton A porte
le ressort b , qui communique avec elle, et les ressorts jumeaux d
0 e 2 , qui en sont isolée. Ces trois ressorts se déplacent
entre les plots e, e,, e 2 et les plots ... les premiers étant
les plots de repos, les seconds les plots de travail.
Le levier-commutateur ne bascule pas, comme dans la plupart
des autres systèmes; il tourne autour de son axe et est ramené
à sa position de repos par le ressort R. Laxe du levier
porte deux cames g, h, qui font corps avec lui. Trois pièces
rapportées et soigneusement isolées, i, j, k, sont également
montées sur laxe et garnies chacune dune paire
de cames.
Huit ressorts, numérotés de 1 à 8 sur notre dessin,
sont montés sur la réglette débonite E,E
2 ; une seconde réglette débonite E 3 E^ leur
sert de butée. Suivant la position du levier-commutateur, ces
ressorts sont en contact avec les différentes cames oubien
en sont isolés. Ainsi, dans la position dattente, les
ressorts 1, 2, 4, 5, 6 sont isolés, 7 et 8 communiquent entre
eux, 3 est en relation avec laxe du levier. Dans la position
de conversation, 3, 7, 8 sont isolés, 1 et 2 communiquent entre
eux, ainsi que 4 et o ; 6 est en relation avec laxe du levier.
Les ressorts m, n, mettent le microphone dans le circuit.
La figure 64 montre la disposition des communications à
lintérieur de l'appareil; on voit, à la partie
inférieure du dessin, les relations des différents ressorts
avec le commutateur dans la position dappel et dans la position
de conversation.
Particularités propres aux différents modèles.
La maison Mors (France) construit un modèle mural et
un modèle portatif de ce transmetteur ne différant entre
eux que par la forme. |
 |

 
 
Après 1892 , si le mécanisme général de ces
transmetteurs est resté le même, le microphone a été
complètement changé; de mêmele modèle mural,
anciennement monté sur un col de cygne, est devenu un appareil
en forme de pupitre.
Deux prismes de charbon E, E' (fig. 36) sont fixés à la
planchette microphonique par les boulons e, e, e', e'. Ces prismes sont
traversés par les tringles métalliques t', £a, t3
qui, dans l'intervalle qui sépare E E', sont elles-mêmes
enfilées dans des tubes de charbon. Sur ces tubes de charbon qui,
dans notre dessin, sont en partie cachés par les autres organes,
mais que l'on aperçoit cependant en C1, C2, C3, sur ces tubes de
charbon sont alternativement enfilées des rondelles d'os i...,
et des lames de charbon c...
De cette disposition il résulte que les charbons mobiles de rang
impair, c\ ci... sont enfilés sur le cylindre C2, que les charbons
mobiles de rang- pair sont enfilés sur le cylindre CI, mais que
tous sont également enfilés sur le cylindre C3, et séparés
les uns des autres par les rondelles en os i, f....
Une autre disposition intéressante du transmetteur Mors-Ahdank
est la clé d appel (fig. 37). Le plot de travail p et le plot de
repos s sont placés l'un l'autre, à côté de
et séparés par une lame isolante e. Le bouton b, maintenu
dans sa position de repos par le ressort à boudin a, est monté
dans une chape métallique d. Il porte le ressort r, fixé
par la vis c, et le fil de communication venant de la ligne. Le fil de
pile aboutit au contact p, le fil de sonnerie au contact s.
En pressant sur le bouton b, on fait glisser le ressort r de s en p.
L'installation du modèle à pied se faisait anciennement
au moyen d'une planchette de raccordement à 8 bornes, garnie d'un
paratonnerre; on a recours aujourd'hui à la planchette à
14 bornes ordinaire qui, en réalité, n'établit que
7 communications, chaque paire de bornes correspondant à un des
fils intérieurs et à un des fils extérieurs. Il en
est résulté de légères modifications dans
la disposition des communications intérieures;
on peut les suivre aisément sur la figure 38 qui représente
un poste à pied Mors-Abdank, réuni, par la planchette à
44 bornes, à la ligne, à la sonnerie et aux piles.

sommaire
Appel phonique de MOURLON
sommaire
Les téléphones OCHOROWICZ 1885
Vu dans la revue l'Electricicien de 1885 : LE NOUVEAU TÉLÉPHONE
DE M J. OCHOROWICZ
Le nouveau téléphone qui a été présenté
par son auteur à la dernière séance de la Société
internationale des électriciens , le 4 février courant ,
est l'appareil le plus puissant qu'il nous ait été donné
d'entendre jusqu'à présent ; aussi les nombreuses expériences
répétées devant la Société , dans lesquelles
un récepteur gros comme le poing se faisait entendre dans une salle
entière , telle que celle de la Société de géographie
, ont - elles obtenu un vif et légitime succès . Le but
poursuivi par M. Ochorowicz , est de transmettre la parole , le chant
et la musique à distance , avec assez de force et de netteté
pour qu'on puisse faire entendre l'opéra en plusieurs points éloignés
à un grand nombre de personnes à la fois , sans être
obligé d'appli quer le récepteur à l'oreille . Le
système comprend un microphone transmetteur , d'une disposition
spéciale et nouvelle , sur laquelle l'inventeur garde encore le
secret , et d'un téléphone magnétique récepteur
dont nous allons donner une description succincte .
L'aimant de ce téléphone est formé d'un cylindre
d'acier fendu suivant une génératrice et laissant un intervalle
de 5 à 6 millimètres de largeur . Vers le milieu de ce cylindre
sont fixés deux noyaux de fer doux de 5 à 4 millimetres
de diamètre , sur lesquels sont placées deux bobines . Ces
deux bobines sont enfermées dans une sorte de boite aplatie , formée
de deux plaques de fer minces , l'une placée à la partie
supérieure , en regard des noyaux , comme dans les téléphones
ordinaires , l'autre placée en dessous et vissée sur l'aimant
par son milieu . La plaque inférieure est percée de deux
trous d'un diamètre plus grand que les noyaux de fer doux qui la
traversent , afin qu'elle puisse se mouvoir librement sans jamais les
toucher . Ces deux plaques circulaires et parallèles sont reliées
entre elles par leurs bords extérieurs à l'aide d'un couronne
métallique . Il résulte de cette disposition que les deux
plaques ne sont fixées que par un point , le point d'attache de
la plaque inférieure avec l'aimant ; elles constituent une sorte
de boîte vibrante très élastique et très mobile
. Les deux bobines sont placées à l'intérieur de
cette boîte ; lorsque le courant ondulatoire modulé par le
transmetteur traverse ces bobines , il modifie le flux de force à
l'intérieur de ces bobines . l'augmente ou la diminue ; la boite
formée par les deux plaques s'écrase ou se dilate sous l'influence
de ces variations d'intensité et vibre tout d'une pièce
. C'est là la raison de la puissance remarquable de ce téléphone
. Il peut aussi fonctionner comme transmetteur magnétique , et
permet de parler à une certaine distance et d'écouter de
la même façon , mais les effets sont moins puissants , à
beaucoup près , qu'avec le transmetteur microphonique .
Toutes les expériences faites à la Société
des électriciens ont par faitement réussi , sauf la dernière
, pour laquelle un mot d'explication est nécessaire . D'après
M. Ochorowicz , la chaleur joue un certain rôle dans le transmetteur
qu'il vient d'inventer , et lorsque le microphone qu'il avait primitivement
appelé thermophone - n'est plus chaud , l'appareil cesse d'être
réglé . Dans les expériences que nous citons , M.
Ochorowicz avait fait usage de piles Leclanché qui , après
un certain temps de service , se sont polarisées , ont permis le
refroidissement du transmetteur et produit ainsi le déréglage
. C'est là un inconvénient qui n'enlève rien à
la valeur et à l'intérêt du système ; il est
facile d'y remédier en faisant usage de piles Daniell ou d'accumulateurs
, E. Hospitalier .

 
|
Le récepteur
Laimant est un tube dacier, denviron 40 mm de diamètre,
fendu dans lesens de sa longueur (fig. 24).
Ce tube est fortement aimanté et les deux bords de sa fente
forment les surfaces polaires. Sur chacun de ses bords et en leur
milieu est vissé un noyau de fer doux qui supporte une bobine
dont la résistance électrique est de 90 ohms ; les deux
bobines sont associées en série.
Les bobines sont renfermées dans un boîtier sur lequel
se visse un couvercle garni d'un pavillon en ébonite.
Ce récepteur est construit par MM. Château,
père et fils (France).
Le transmetteur
Dans les modèles les plus récents, la plaque vibrante,
au lieu d'être indépendante, est serrée et maintenue
par un écrou annulaire sur le fond du couvercle; par conséquent,
le réglage par des bagues de laiton ne peut plus avoir lieu;
on y a suppléé par une autre méthode dont nous
navons pas représenté le dispositif, mais facile
à comprendre.
Sur le pas de vis qui sert à unir le couvercle au boîtier
est placé un anneau fileté que lon peut ainsi
hausser ou baisser à volonté.
De la position de cet anneau sur le pas de vis dépend évidemment
celle du couvercle que lon peut visser plus ou moins profondément.
Cet anneau est en quelque sorte un contre écrou qui permet
de rapprocher plus ou moins la plaque vibrante des noyaux des bobines
et de limmobiliser dans la position de réglage qui a
paru la plus convenable. |
Le microphone se compose de sept charbons cylindriques mobiles
entre quatre charbons prismatiques.
La figure ci dessous montre cet arrangement.
Ce microphone est boulonné derrière une planchette de sapin,
Le crochet mobile C (fig. 169) porte en arrière un appendice métallique
c, qui glisse entre deux ressorts a, b,touchant l'un ou l'autre, suivant
sa position. Cet appendice c est ensuite recourbé à angle
droit, et son extrémité est garnie d'un morceau d'ébonite
E. Au-dessous de cette pièce isolante se touvent les ressorts f,
d. En r,on voit le ressort antagoniste du crochet.
Sur les deux pans coupés du haut de l'applique murale sont disposées
six bornes : L, LT, T Z d'un côté, S, CM, C A de l'autre.
Vers le bas, on aperçoit les quatre vis qui servent d'attache aux
récepteurs.
La borne L est réunie à la masse du crochet C; la borne LT
à la borne T Z, aux charbons du microphone et à la vis d'attache
des récepteurs située à gauche. La borne S est reliée
le plot de avec repos s du bouton d'appel, la borne C A avec le plot de
travail p, la borne C M avec le ressort f. Le circuit primaire de la bobine
d'induction communique d'une part avec les charbons du microphone, de l'autre
avec le ressort d. Le circuit secondaire est en relation avec le ressort
b et avec la vis d'attache des récepteurs située à
droite ; les deux vis intermédiaires sont réunies ensemble;
enfin, le ressort m du bouton d'appel est relié au ressort a.
Lorsque le récepteur est suspendu au crochet C, celui-ci abandonne
le ressort b et rencontre le ressort a; la pièce E cesse d appuyer
sur les ressorts f, d qui se séparent par leur élasticité.
Si on presse sur le bouton d'appel, le courant de la pile, attachée
à la borne CA, passe par le contact p, les res- sorts m, a, le crochet
C, le ressort r, la borne L et la ligne; réciproquement, le courant
venant de la ligne arrive en L et suit le trajet r, C, a, m, s, borne S,
sonnerie, terre ou fil de retour.
Lorsque le crochet C, ne supportant aucun poids, est ramené à
sa position naturelle par son ressort antagoniste r, il repose sur le ressort
lJ, laissant le ressort a isolé; en même temps, la pièce
d 'ébonite E presse l'un contre l'autre les ressorts f, d. Le circuit
primaire de la bobine d'induction est alors fermé par le microphone
et les bornes L T, T Z, la pile, la borne C M et les r essorts f, d en contact.
De même, le circuit secondaire com- prend : la ligne, la borne L,
le ressort r, le crochet C, le ressort b, le fil induit de la bobine, les
deux récepteurs et la terre ou le fil de retour par la borne T Z.
.Les Téléphones Ochorowicz.


 
Le Téléphone portatif Ochorowicz.
Le transmetteur portatif est un petit cartel au devantduquel est fixé
le microphone, comme dans le modèle mural. Au-dessus du socle se
trouve le bouton d'appel, à l'intérieur la bobine d'induction
et le levier-commutateur;en avant, les quatre vis qui reçoivent
les récepteurs. L instrument est relié par un cordon souple
à une planchette de raccordement.
De ce dispositif nous ne retiendrons que la forme du levier commutateur;
la ligure représente l'appareil ouvert et laisse voir les communications
intérieures que l'on peut suivre aisément.
Le levier-commutateur, qui sert en même temps de crochet de suspension
à l'un des récepteurs, est monté sur un ressort flexible,
en acier, A B. Ce ressort est percé vers son milieu et reçoit
le talon du crochet C qui est rivé par dessus. Les extrémités
A et B sont vissées sur des plots d'exhaussement supportes eux-mêmes
par la cloison de l'appareil. Le ressort AIJ est horizontal, et le crochet
C le l'ait fléchir, le tord en quelque
sorte, lorsque le téléphone suspendu ajuute son poids à
celui du crochet lui-même; débarrassé de tout fardeau
supplémentaire, le ressort ramène le crochet à sa
position initiale. Une plaque de garde limite les mouvements du crochet.
En résumé, le ressort AB sert d'axe au crochet C. Sur le
ressort AB, et en croix avec lui, sont montés; 1° un ressort
en acier E F, 2° une tige rigide G terminée par une palette
en ébonite H. Les extrémités du ressort EF sont placées
en regard de deux plots de contact e, f; la palette en ébonite
H est située au-dessus de deux ressorts 1, J formant une sorte
de V renversé, mais ne se touchant que si la pression de la palette
les y oblige.
Comme dans les systèmes précédemment décrits,
le fil de ligne aboutit au levier-commutateur, c'est-à-dire au
crochet C.
Lorsque ce crochet est abaissé par le poids du récepteur
suspendu, l'extrémité E du ressort E F est en contact avec
le plot e; le plot f, les ressorts I, J sont isolés; le courant
venant de la ligne arrive au crochet C, passe par E, e, le bouton d'appel,
et va à la sonnerie. Réciproquement, si on appuie
sur le bouton d'appel, le courant de la pile se rend de e en E et s'écoule
sur la ligne.
Lorsque le crochet est au repos, le plot e est isolé, l'extrémité
F du ressort E F appuie sur le plot /', la palette H presse l'un contre
l'autre les ressorts I, J. Les courants venant de la ligne circulent par
F, f à travers le circuit secondaire de la bobine d'induction et
les récepteurs ; quant au circuit primaire, on voit qu'il est fermé
sur la pile et le microphone par la juxtaposition des ressorts I, J.
Les appareils du système Ochorowicz ont été utilisés
en France (où ils ont été utilisés jusqu'en
1905), en Belgique, en Russie et en Pologne lors de la partition russe.
sommaire
Les téléphones Nee Ernest : 47 rue
du Montparnasse 75014 Paris.
Radiguet fabrication Nee

sommaire
Les téléphones NIGRA Italie. le "téléphone
à sons renforcés"
Le téléphone Nigra fut construit daprès
les projets de Manzetti, par le «
Stabilimento Meccanico di Applicazioni Elettriche
G. Nigra ». (l'usine mécanique des applications électriques
G.Nigra à Turin), qui a été d'un usage fréquent
en Italie à partir de 1884.
Transmetteur / récepteur
Nigra.
 |
La partie transmetteur/émetteur
est entièrement métallique, l'aimant est du même
modèle que celui adopté par Siemens avec vis spéciale
servant à rapprocher ou à éloigner l'aimant pour
le réglage de l'appareil.
M. Nigra qui a donné à son appareil le nom de téléphone
à sons renforcés, indique comme caractéristiques
de son invention :
1 - La conformation de l'embouchure, qui est un segment de paraboloïde
de révolution à bases parallèles.
2 - La position de la plaque vibrante, de telle sorte que son centre
soit au foye du paraboloïde.
3 - La caisse qui entoure l'embouchure et qui sert à recueillir
et transmettre les vibrations de toute la plaque.
Premier Poste complet du système Nigra.
Un des téléphones sert de transmetteur et l'autre de
récepteur.
Dans le milieu au dessous du parafoudre, se trouve une boite contenant
une machine magnétique ainsi qu'une sonnerie à aimants
polarisés. La manivelle se voit sur le devant de la boite. |
M. Nigra a encore imaginé
une autre disposition pour ses appareils, que nous voyons représentée
par la figure ci contre.
L'appareil est muni de deux téléphones récepteurs,
l'un est suspendu à un crochet fixe, l'autre à un crochet
faisant commutateur.
Un troisième téléphone sert de transmetteur.
Au dessus de celui ci, se trouve la boite contenant l'inducteur de
la sonnerie magnétique.
Ainsi monté l'appareil est très commode à installer,
fonctionne sans le secours de piles, et pour des distances pas trop
considérables, la transmission est très claire. |
 |
sommaire
Le téléphone NEUMAYER Bavière
Cet instrument est utilisé pour le service téléphonique
bavarois et constitue l'une des modifications les plus réussies
de la Bell originale.
 |
L'aimant se compose de cinq tiges cylindriques en
acier le mieux trempé. Le pôle opposé au diaphragme
est formé de la manière suivante : Il a été
expliqué que, par l'introduction d'un faisceau de fil de
fer doux dans le noyau d'un électro-aimant, l'action inductive
de la bobine est considérablement augmentée. Neumayer
rassemble donc des morceaux de fil de fer très fin (fil utilisé
pour câbler les fleurs), de 3 centimètres de longueur,
en un faisceau, qu'il soude dans un cylindre de laiton fin. La moitié
supérieure du faisceau est poussée dans la bobine,
tandis que la moitié inférieure rejoint les aimants
en acier aussi étroitement que possible. Les tiges d'acier
sont maintenues en place par un anneau en laiton.
Afin de rendre aussi faibles que possible les variations de distance
entre le pôle et la membrane dues aux variations de température,
et ainsi de supprimer une régulation particulière
du récepteur, le cylindre en laiton entourant le faisceau
de fils est vissé au boîtier en laiton. et la distance
de l'aimant à la membrane est ainsi rendue indépendante
des variations de longueur des tiges d'acier. Ces derniers sont
entourés d'un manteau en bois, fixé au fond du boîtier
en laiton.
Toutes les parties métalliques visibles sont nickelées.
La membrane mesure 3 mm. d'épaisseur, et repose avec son
rebord de 2 mm de largeur sur le bord du boîtier métallique.
Il est maintenu en position de manière habituelle par l'embout
en vulcanite v, qui est vissé sur le dessus du boîtier.
La bobine est enroulée avec du fil de cuivre de 0^ II
mm. et a une résistance d'environ ico ohms.
|
sommaire
Les téléphones PERNET : 38 rue de
turenne 75003 Paris
En travaux
sommaire
Les téléphones PAZ et SILVA
Téléphonie privée Le Phérophone 55 rue St
Anne Paris. (vers 1900-1910)


Les figures 227 et 230 représentent le modèle à
la fois simple, solide et d'aspect agréable, qui est connu sous
le nom de phérophone, et que les électriciens Paz
et Silva ont vulgarisé en France. Ces petits appareils constituent
des objets transportables au premier chef, et sont surtout indiqués
pour les installations particulières, ou pour leur utilisation
partout où il existe déjà un réseau de sonneries
électriques, car leur mise en place est très facile à
effectuer, même pour des personnes peu au courant de ce genre de
travaux.
  

Utilisé en Europe et en Russie dans des appartements
privés, des hôtels, des bureaux et des usines au tournant
du 20e siècle.
Un extrait d'un document promotionnel de l'époque déclarait:
"Le phérophone sert de décoration en raison de sa
forme artistique, élégante et solide. C'est un instrument
gracieux, de petite taille et une pièce décorative, même
dans la plus luxueuse des pièces".
Le combiné micro de certains modèles de Phérophone
a été réalisé sous la forme d'une fine fleur
torsadée. Le choix de la fleur n'était pas accidentel; le
lys a longtemps été un symbole favori en France.
Les fabricants de combinés téléphoniques dans les
années 1900 en France ont souvent donné à leurs modèles
des noms uniques, affichant parfois ces noms sur l'appareil lui-même.
Le phérophone ne faisait pas exception; il ne peut être confondu
avec aucun autre téléphone.
Le nanophone et le narrophone étaient également
des téléphones français courants à l'époque.
sommaire
Les téléphones PASQUET avenue parmentier
75011 Paris
Le recepteur Pasquet et Ulmann 1892
Deux récepteurs identiques ou à peu
près figurent au nombre de ceux qui sont admis sur les réseaux
aériens et souterrains; ce sont les récepteurs Pasquet
et Ullmann.
Notre programme ne comprenant que des descriptions d'appareils, nous
ne nous préoccuperons pas ici du nom de l'inventeur, nous nous
bornerons à constater que le récepteur construit pnr
M. Pasquet est le même que celui qui a été présenté
au nom de M. Ullmann, sauf en ce qui concerne la résistance
des bobines.
La résistance du récepteur Ullmann est en effet
de 60 ohms, celle du récepteur Pasquet de 200 ohms.
Ces récepteurs, dont la figure représente un plan et
une coupe, se composent de deux lames aimantées, recourbées
en fer à cheval et superposées.
La position relative de ces deux lames est maintenue par quelques
spires de fil.
Les deux extrémités de la lame inférieure sont
ramenées vers le centre du boîtier et supportent deuxfers
doux garnis
chacun d uno bobine.
Ces bobines, montées en tension, sont réunies par les
deux extrémités de leur lil à un cordon souple
à double conducteur, assujetti sous une petito pièce
de bois maintenue par une vis.
Au-dessus du boîtier en laiton nickelé se place une rondelle
de réglage, puis la plaque vibrante dont le diamètre
est de 57 millimètres et l'épaisseur de 0,28 millimètre,
enfin le couvercle portant l'embouchure en ébonite.
En dessous est un anneau de suspension qui sert en même temps
de poignée. |
 |
Le transmetteur

g

M. Pasquet a donné à son nouveau microphone la forme
que représente la figure 39.
Les deux tringles aa', bb' sont les branches d'un TJ très allongé,pincé
sous les plaques A, B ; ces tringles sont recouvertes d'une
forte couche de vernis isolant. Les prismes à base carrée
c, d, e, f, en charbon, glissent sur les deux tringles; une petite
lame de caoutchouc garnit la face supérieure de chacun de ces prismes.
Les charbons latéraux g, h, i, j sont, comme par le passé,
divisés en quatre groupes. Les deux groupes g, h sont réunis
par une bride k en laiton nickelé; aux deux groupes t,j sont attachés
les fils de communication.
Le levier-commutateur (fig. 40) pivote autour de l'axe 0.
Le crochet A sert à suspendre l'un des récepteurs; le ressort
antagoniste R ramène le levier à sa position de repos lorsque
le récepteur est décroché.
Dans le poste mural, le fil de ligne communique avec le levier A B, par
l'intermédiaire du ressort antagoniste garni, à cet effet,
d'un boudin de sûreté.

Dans le modèle à pied (type 18), la communication de la ligne
avec le levier a lieu par un ressort f, appuyé sur une forte goupille
g.
Le reste du mécanisme est le même dans les deux types.
Le poids du récepteur suspendu en A a pour effet d'abaisser la partie
A 0 et de relever la partie OB. Dans cette position, le point B est en relation
avec le ressort a; la ligne est sur sonnerie; les ressorts b, c, d sont
isolés.
Lorsque le récepteur est décroché, le ressort antagoniste
R fait relever la partie AO, tandis que BO s'abaisse; alors B s'appuie sur
le ressort b, a restant isolé. En même temps, les ressorts
c, d sont unis par la petite barre métallique e e, isolée
du levier AB par la pièce E. En fait, la ligne communique en B b
avec le circuit secondaire et les récepteurs, tandis que le circuit
primaire, dont les extrémités sont reliées aux ressorts
c, d, est fermé par la pièce métallique e e.
Le poste mural (fig. 41) est réuni aux fils de communication extérieurs
au moyen de bornes. Dans le poste portatif (fig. 42), un cordon souple à
7 conducteurs est fixé à l'appareil et aboutit à une
planchette de raccordement à 14 bornes, qui reçoit, d'autre
part, les fils venant de la ligne, de la pile et de la sonnerie.
sommaire
Les téléphones PICARD LEBAS 45 rue
richer 75009 Paris
Catalogue
Picard Lebas
Barthelemy
de luxe

Système Barthelemy
sommaire
Le PHONOPORE Lire
en détail sur cette page
  
Le PHONOPLEX D'EDISON Lire
sur la même page

sommaire
Le téléphone magnétique POLLARD
et GAR?IER
Dès 1878 Pollard et Garnier ont réalisés
un des premiers transmetteur avec deux crayons de graphite.
En 1879 le "condensateur chantant de Pollard"
.
Une forme curieuse des vibrations résultant du seul passage de
lélectricité est due à M. Varley, qui construisit
un téléphone où le corps vibrant était un
condensateur formé de lames conductrices et isolantes alternées
et renfermé dans un tambour renforçant. Cest cette
expérience reprise et ingénieusement variée par MM.
Pollard et Garnier qui a donné naissance au singulier condensateur
chantant qui causa tant détonnement.
Dès 1878 Pollard et Garnier ont aussi réalisés un
transmetteur avec deux crayons de graphite.
suspension de
téléphone système Pollard et Garnier
1881 Le transmetteur magnétique Pollard fabriqué par
De Branville, avec écouteur De Branville.
( gaucher ou droitier, il y a un crochet commutateur sur les écouteurs,
9 aimants en fer à cheval groupés en 3 series)
 
Médaille d'argent à l'exposition Indus. d'Electricité
de Paris en 1881 et à l'exposition de Bordeaux
sommaire
Les téléphones PHELPS
1877 En Amérique M. G. M. Phelps, mécanicien
de la Western Union Telegraph Company, est
dès le début le concepteur de téléphones les
plus efficaces.
| Les améliorations les plus essentielles
introduites par M. Phelps consistent à combiner deux ou plusieurs
diaphragmes vibrants et deux ou plusieurs noyaux magnétiques
correspondants, enveloppés dans des bobines séparées,
connectés dans le même circuit, avec un seul embouchure
ou chambre de vocalisation; dans le montage de deux noyaux magnétiques,
lorsqu'ils sont combinés avec des diaphragmes et des bobines
séparées, et un seul embout, sur des pôles opposés
du même aimant permanent, et en subdivisant une seule plaque
d'induction continue en deux ou plusieurs zones de vibration séparées
et distinctes, formant ainsi virtuellement deux ou plusieurs diaphragmes
séparés, dont chacun agit ou est soumis à l'action
d'un noyau magnétique séparé, ce qui entraîne
une utilité accrue de l'appareil. |
 |
La figure 9 représente une forme de l'instrument construit
sur les principes ci-dessus, qui, à la fois en ce qui concerne la
distinction de l'articulation et la facilité avec laquelle il permet
de poursuivre la conversation en raison de l'intensité de son ton,
ne laisse guère d'autre à désirer.

Ci dessus les modèles Crown, le double Crown
Le téléphone à couronne simple Crown se compose
d'une membrane et d'un noyau de pôle (plaque polaire) . Le noyau des
pôles est formé avecles pôles semblables (par exemple
le pôle nord) de six aimants courbés en forme d'arc, dont les
autres pôles semblables (pôle sud) sont fixés
en cercle sur le bord de la membrane. Cette disposition augmente considérablement
le champ magnétique et les sons s'en trouvent fortement accrus.
L'autre modèle représente le téléphone à
couronne double, qui se compose de deux téléphones
à couronne simple, réunis de façon à ce que
leurs membranes se réncontrent parallèlement en face l'une
de l'autre. Le tuyau du porte-voix se trouve dans l'espace compris entre
les membranes, et se termine par un tube perpendiculaire au centre des membranes.
Ces deux instruments possèdent une action. remarquable ; cependant
la pratique a montré que l'on peut atteindre le même résultat
d'une manière plus simple et par la suite Phelps a donné une
nouvelle forme, celle adoptée en France le Pony-Crown avec
le microphone Edison.
.
En France dès 1878 la SGT
installe chez ses abonnés le téléphone à pupitre
imaginé par George Phelps.
Un autre appareil conçu par M. Phelps, a été largement
déployé par l'American Telephone Company,
il est représenté en fig. 10.
Il se compose d'un boîtier de forme ovale poli en caoutchouc dur,
avec aimant, diaphragme et bobines à l'intérieur.
Pour une utilisation pratique est adjoint une petite machine magnéto-électrique,
contenue dans un boitier illustré à la fig. 11 ou en version
mural fig 12 ou 13 . L'instrument que nous venons de décrire, peut
être utilisé seul comme instrument d'émission ou de
réception, ou être combiné avec le boîtier comme
ci-dessousl.
fig 10 11
12
13 
sommaire
Les téléphones RADIGUET :
Octobre 1899, Radiguet sassocie avec son gendre, Georges Massiot,
pour former la Société en nom collectif Radiguet et Massiot
: 1315 boulevard des Filles du Calvaire 75003 Paris
M. Radiguet fils, le constructeur-électricien bien connu est
parvenu à établir dès l'année 1879 un système
de téléphone basé sur les principes émis par
le physicien Ch. Bourseul en 1856, c'est à-dire sur la transmission
exacte des ondes sonores par l'interposition, dans le circuit d'une pile,
de matières pulvérulentes semi-conductrices. Les modèles
construits par Radiguet d'après ces principes sont élégants
d'aspect et à la fois très simples et très sensibles.
De plus, leur prix modeste les recommande tout spécialement
pour les applications domestiques.

  

Modèle du catalogue
Radiguet
sommaire
Les téléphones ROULEZ
M. Burgunder construit les appareils Roulez
admis sur les réseaux français.
Le récepteur
Deux aimants NAS, N'A'S',
recourbés en fer il cheval sont opposés par leurs pôles
de même nom, N en regard de N', S en regard de S'. Entre chaque
paire de pôles, et sur le même plan, est intercalée
une pièce en fer doux, a entre N et N', b entre S et S'. Ces
deux pièces de fer doux sont reliées entre elles par
un ressort en laiton AA' en forme de losange; elles supportent les
noyaux de deux bobines, et dans la vue en élévation
de ce dispositif f et a représentent les noyaux qui surmontent
les culasses LJ.
Cet ensemble est placé sur le fond d'un boîtier en laiton
nickelé. De la sorte, les aimants, les bobines et le ressort
A A' sont intimement liés; en effet, des boulons il écrou
MM' fixent les extrémités A A' du ressort aux aimants
et au boîtier; le boulon B serré par l'écrou P
assujettit le ressort au boîtier seulement. Il en résulte
que la partie médiane du ressort A A' peut s'abaisser ou se
relever d'une faible quantité suivant qu'on serre plus ou moins
l'écrou P; c'est un moyen de réglage.
Les bobines ont une résistance de 200 ohms ; les fils d'entrée
et de sortie sont réunis à un cordon souple dont la
tresse est arrêtée sous l'un des écrous qui immobilisent
les aimants.
La plaque vibrante a 50 millimètres de diamètre sur
0,30 millimètre d'épaisseur. Le couvercle et l'embouchure
se vissent par dessus.
Pour permettre le réglage, le boîtier est à double
fond. La partie F se dévisse et laisse à découvert
les têtes des boulons MM' ainsi que l'écrou P; c'est
en agissant sur ce dernier que l'on rapproche ou que l'on éloigne
les bobines de la plaque vibrante.
Dans un autre modèle, le double fond n'existe plus et les têtes
des boulons M M' apparaissent à l'extérieur, mais on
a rapporté une pièce de couverture mobile qui cache
et protège la tête de l'écrou de réglage
P.
|
 |
Le récepteur Roulez construit dans les ateliers de
l'administration des Postes et des Télégraphes ne diffère
guère que par la taille du récepteur qui vient d'être
décrit; il est plus grand, mais sa construction est aussi plus soignée.

 |
Le transmetteur imaginé
par Roulez (fig. 71) se compose d'un disque de charbon AB, denviron
10 cm de diamètre et de près de 1 mm dépaisseur.
La plaque AB, maintenue sur la face antérieure de lappareil
par un anneau métallique boulonné sur lébénisterie,
est protégée par un couvercle en bois percé,
à son centre, dune ouverture O, de 2 cm de diamètre.
On parle devant cette ouverture.
En arrière de la plaque AB, un prisme de charbon C est placé
transversalement. Il est séparé de la plaque AB, par
une bande de papier D et assujetti par des boulons è, isolés
par des rondelles divoire i. Trois excavations e, e, e ont été
ménagées dans le bloc C ; des trous leur correspondent
dans la bande de papier D.
Dans les excavations e, e, e, on place de la grenaille de charbon.
Cette grenaille est formée de filaments de 122/100 de mm de
diamètre et de 18/10 de mm de longueur. A la grenaille primitive,
M. Burgunder a substitué de
la grenaille moulée de 0,5 mm de dia mètre. Le prisme
C et la plaque AB ne communiquent électriquement entre eux
que par lintermédiaire de la grenaille de charbon, dont
les contacts se déplacent et se modifient aux moindres vibrations
du disque AB
La liaison du microphone avec le reste du circuit primaire, a lieu
par des cordons souples attachés en C et en a.
A ce microphone, M. Burgunder
a adapté le mécanisme de la clé dappel
et du levier-commutateur décrits plus haut; aux cordons souples
du micro phone, il a substitué des prises de contact par ressorts,
de sorte quil suffit de se reporter au schéma du transmetteur
Burgunder pour avoir celui du nouveau
transmetteur Roulez, quil soit mural ou portatif.
La figure 72 représente un microphone Roulez mural; la figure
73, un poste portatif. |
Dans les transmetteurs Roulez après 1892 ,
on a abandonné la bobine amplificatrice pour revenir à la
bobine d'induction. Deux types sont actuellement admis sur les réseaux:
un poste mural, un appareil à pied.
Le mécanisme de ces deux appareils est le même, mais il diffère
sensiblement de celui du type 1892.
Le levier-commutateur (fig.
43) est formé par un levier coudé C L, qui pivote autour
de l'axe A, et que commande le ressort antagoniste a.
Une lame d'ébonite E, rapportée sur l'extrémité
L, opposée au crochet C, soutient un plot métallique
M qui se trouve ainsi isolé du reste du levier. Le système,
constitué de la sorte, rencontre dans ses mouvements de bascule
deux jeux de ressorts, composés chacun de trois lames d'acier
r\ r3, r4, r2, r5, r6, isolées les unes des autres. Lorsque
le crochet C est abaissé, la partie L du levier rencontre le
ressort ri, la partie M établit la liaison entre les ressorts
r3 et r4; la ligne est sur sonnerie. Lorsque le crochet C est relevé,
la partie L du levier rencontre le ressort r2, la partie M établit
la liaison entre les ressorts r5 et r' ; l'appareil est dans la position
de transmission et de réception.
Les communications intérieures de l'appareil n'ont pas changé.
Lorsque les deux ressorts r3 et r4 sont réunis par la pièce
M, ils mettent en relation avec la borne L2 le pôle négatif
de la pile d'appel ou le fil de sortie de la sonnerie, suivant que
l'on agit sur le bouton d'appel ou que celui-ci est au repos.
Dans ce bouton d'appel, le ressort R agit par friction sur les contacts
s, p.
Le ressort R est recourbé à son extrémité;
au repos, il appuie sur le ressort s; lorsqu'il est abaissé
par la pression exercée sur le bouton b, il abandonne le ressort
s et rencontre le ressort p. Les ressorts s et p sont légèrement
tordus, comme le montre la figure 43 |
 |

Modèle militaire

sommaire
Les télephones Rousselle et Tournaire 52
rue de Dunkerque 75009 Paris
sommaire
Le téléphone RIGHI
Fait parti destéléphones qui parlent haut, cest-à-dire
que lon peut entendre sans porter lappareil à loreille.

Le récepteur est un téléphone de grande dimension
avec un diaphragme en papier parchemin portant une plaque de fer doux
dans sa parlie centrale, en face du noyau de laimant, qui est beaucoup
plus fort que dans les appareils ordinaires.Le transmetteur présente
comme pièce principale un petit vase I rempli de plombagine en
poudre et porté par un ressort R en communication avec le circuit
dune pile. Sur la plombagine pose un disque métallique D
en communication avec le même circuit et que lélasticité
du ressort R appuie contre le diaphragme L. Une vis de pression V permet
de modifier la pression de ce ressort. Cet appareil présente, on
le voit, quelque analogie avec les transmetteurs Edison et Blake. Le disque
métallique remplace la pastille de charbon métallisé
de lappareil Edison et le ressort R fait le même effet que
le manche élastique du disque à charbon de lappareil
Blake. En appliquant à ce transmetteur deux éléments
de pile Bunsen, on a pu faire entendre dans toute une salle les sons dune
trompette ou dune flûte; mais la voix humaine, émise
sur un ton ordinaire, ne sentendait guère quà
deux mètres.

Brevet 126074. B. de 15 ans, 12 août 1878 Righi. Perfectionnements
aux téléphones
sommaire
Les téléphones Friedrich REINER Allemagne
1882 1894
1893
Micro 1890
1890 & 1900
1903 1908
sommaire
Le téléphone SIEUR

Récepteur Sieur.
Le récepteur Sieur est resté simple, comme il l'était
au début, toutefois, en raison des modifications apportées
au système de bascule du levier mobile du transmetteur,
Il a fallu changer la forme de l'anneau de suspension, pour que le récepteur
puisse indifféremment s adapter auxtransmetteurs de l'ancien et
du nouveau modèle.
Lunique bobine du récepteur Sieur a 200 ohms de résistance
; elle est montée sur un noyau vissé au milieu dun
barreau aimanté Coupe a. b. ' recourbé en U (fig. 29 et
30).
Transmetteur Sieur.
Le mécanisme du levier-commutateur de l'appareil Sieur a
été complètement changé; il est absolument
semblable, aujourd'hui, à celui des transmetteurs d'Arsonval
et Paul Bert.
Le microphone se compose de cinq cylindres de charbon parallèles,
s'appuyant sur deux gouttières de même substance, disposées
transversalement. Les cylindres, et c'est là une des innovations
de M. Sieur, sont suspendus par de petites boucles métalliques
qui maintiennent leur indépendance, tout en assurant leur mobilité.
Ces boucles, faites en fil, de la grosseur d'une épingle, entourent
chacune des extrémités des cylindres et pivotent autour
d'un clou planté dans la pièce de bois supportant les gouttières.
Cet ensemble est fixé par quatre boulons à la planchette
en sapin devant laquelle on parle.
Des deux gouttières de charbon partent des conducteurs aboutissant
à des plaques métalliques qui, lorsque le microphone est
en place, donnent, par pression sur des ressorts, la communication avec
le reste du dispositif.
La résistance du circuit primaire de la bobine d'induction est
de 1 ohm, celle du circuit secondaire est de 150 ohms.
Le crochet de suspension de droite, en regardant l'appareil, sert de commutateur,
mais son mode de fonctionnement présente une originalité
qui lui est propre. Alors que, dans la plupart des postes microtéléphoniques,
le levier-commutateur s'abaisse par le poids du récepteur, M. Sieur
a pensé qu'il était préférable d'exercer une
pression d'un autre genre; l'anneau de son récepteur forme cale
entre un crochet fixe et un levier mobile; qui opère la permutation
entre le circuit de la sonnerie et celui du microphone. Sur la planchette
qui sert de support, les bornes du haut reçoivent, à gauche,
la ligne et la terre ou bien la ligne et le fil de retour, à droite,
la sonnerie; celles du bas sont affectées, à gauche, à
la pile du microphone, à droite, à la pile de la sonnerie
.
Le bouton d'appel ne présente aucune disposition nouvelle. Lorsqu'on
appuie sur ce bouton, il met la pile de sonnerie en relation avec la ligne;
au repos, c'est-à-dire lorsque le téléphone de droite
est accroché, il établit au contraire la liaison entre la
ligne et la sonnerie.
Examinons ce qui se passe lorsque les fils de ligne, la sonnerie, la pile
de sonnerie, la pile du microphone sont réunis au poste, comme
le montre la figure , qui représente le circuit de conversation.
Le ressort l étant appuyé par la main de l'opérateur
sur le contact p, le courant de la pile de sonnerie passe par le crochet
C, relié au levier commutateur A par le récepteur suspendu
à ce crochet, qui, ainsi que nous l'avons dit, forme comme une
cale métallique entre C et A. Ce courant traverse la ligne et fait
fonctionner la sonnerie du correspondant. Celui-ci répond par la
même manoeuvre. Son courant arrive en L, passe par le levier A,
le crochet C, le ressort 1, le contact a, la sonnerie, et sort par la
borne T.
Les deux interlocuteurs portent leur téléphone à
l'oreille et, de ce fait, le circuit microphonique se trouve fermé.
Les courants arrivant en L, passent alors par le levier A, le ressort
b, le circuit secondaire de la bobine d'induction, les récepteurs
et par la borne T. Pendant ce temps, le circuit de la
pile microphonique est fermé par les ressorts r, r' en contact,
les charbons du microphone et le circuit primaire de la bobine d'induction;
il en est de même lorsqu'on parle devant la planchette.
L'appareil se place verticalement le long d'un mur ou d'une cloison.
sommaire
Les téléphones RYSSELBERGHE 1885
Comme les autres pionniers, M. Van Rysselberghe s'est
appliqué à perfectionner le microphone, en augmentant sa
puissance pour porter la parole au dela de 200 km. Il recommande pour
produire le courant inducteur une source éléctromotrice
à résistance intérieure extrémement faible
(inférieure à 2 ohms) et une disposition de huit barres
de charbons à contacts multiples, la résistace totale ne
dépassera pas 16 ohms. (comme les autres systèmes déjà
décrits).
Regardons la disposition donnée par M. F. van Rysselberghe à
son nouveau microphone à contacts multiples , dans lequel les charbons
sont tous montés en quantité . Ce nouveau poste se compose
d'une boite en noyer contenant un inducteur complet qui , mis en mouvement
au moyen d'une petite manivelle placée sur le côté
de l'appareil , fait fonctionner les sonneries placées aux deux
postes en communication . Ces sonneries sont indépendantes de l'appareil
transmetteur , ce qui permet de les placer dans une autre salle que ce
dernier , comme cela existe pour les appareils munis de sonneries à
piles . Sur le couvercle de la boite en noyer renfermant l'inducteur sont
disposés les charbons du microphone montés , comme nous
l'avons dil , en quantité . La planchette qui supporte ces charbons
, présente une certaine analogie avec celle du microphone Ader
. Seulement , au lieu d'être collée , elle se trouve encastrée
dans un cadre métallique . Le récepteur est un téléphone
Bell , avec gaine en ébonite ; la résistance intérieure
de la bobine est d'au moins 100 ohms . Ce récepteur repose sur
deux crochets dont l'un est fixe ; l'autre est automatique et fait l'office
de commutateur . L'installation de l'appareil est d'une grande simplicité
; comme il ne nécessite pas de réglage , il n'est sujet
à aucun dérangement . Sur la planchette du microphone est
fixé un cylindre en ébonite, de façon que lorsqu'on
fait usage de l'appareil , les ondes sonores sont dirigées perpendiculairement
vers le milieu de la planchette du microphone . L'adaptation bien simple
de ce tube en ébonite donne d'excellents résultats au point
de vue de la transmission de la parole .
De cette manière , tout en écoutant par le
récepteur Bell , on peut facilement écrire le message téléphonique
transmis . Un presse - papier retient le papier sur le pupitre . Cet appareil
est destiné particulièrement aux cabines téléphoniques
publiques , aux stations et surtout aux bureaux télégraphiques
où toute dépêche transmise ou reçue doit être
écrite . La figure ci - contre indique la disposition arrêtée
pour le poste microtéléphonique destiné au service
des réseaux téléphoniques pour les communications à
Jongue distance .
La forme adoptée
est un mural ou un pupitre de table :
Les six bornes dont est muni l'appareil , sont reliées comme
suit : La borne L communique avec la ligne , et la borne T avec la
terre ; par les bornes SS les deux fils communiquent à la sonnerie
; PP correspondent aux pôles de la pile . Celle - ci est composée
de deux éléments Leclanché à plaques agglomérées
( grand modèle ) renfermés dans une boîte indépendante
du poste téléphonique .
Les sonneries sont de type Bell indépendantes de l'appareil
pour permettre de placer les sonneries aux endroits appropriés
au besoin.
|
 |
Chacun de ces types de microphones , dont les dispositions nouvelles sont
essentiellement pratiques , vient compléter l'ensemble du système
anti - inducteur de M. F. van Rysselberghe . Les derniers essais , faits
en présence des fonctionnaires de l'État belge , prouvent
suffisamment que , partout où l'on appliquera les dispositifs imaginés
par M. F. van Rysselberghe pour arriver à la suppression de l'induction
, il faudra nécessairement , comme complément du système
, faire usage de ces microphones qui transmettent la parole à de
grandes distances . Mais peut être les compagnies et les particuliers
reculeront - ils devant la dépense que nécessiterait le remplacement
des appareils actuellement en service par l'un de ces nouveaux postes microtéléphoniques
dont nous venons de parler .
C'est pourquoi M. F. van Rysselberghe a indiqué certaines modifications
aux appareils existants ; nous essayerons d'en donner une idée par
les deux figures qui suivent . Ces modifications , imaginées par
l'inventeur , portent surtout sur les transmetteurs Blake et Ader , employés
dans tous les pays d'Europe où des réseaux téléphoniques
ont été installés . En France , le microphone Ader
, avec sonnerie à piles , est usité , mais en Belgique , par
exemple , où l'on a renoncé à ce genre de son neries
, on a également appliqué la sonnerie magnétique dite
magneto call au transmetteur Ader . Les appareils adoptés presque
exclusive ment par l'administration des télégraphes de l'État
belge , avec les modifications que M. van Rysselberghe apporte dans la disposition
des charbons et des contacts , sont du modèle représenté
par la figure 3 .
Une autre modification consiste à placer la sonnerie magnéto
avec le récepteur Bell en dessous du transmetteur ( fig . 4 ) .
Sur la planchette du microphone , on peut aussi fixer un cylindre d'ébonite
, comme dans l'appareil précedent.
Quant à l'appareil Blake - Bell , employé par l'International
Bell telephone C dans tous ses réseaux , la modification qu'y a apportée
M. van Rysselberghe est bien simple ; la figure 5 en rend compte . On connait
la description de l'appareil Blake Bell . M est une sonneriemagnéto
du système américain ( modèle Gilliland ) dite magnéto
- call ; T est un téléphone Bell avec son cordon ; P est la
boite contenant la pile du microphone ; B est un microphone Blake dont on
utilise la bobine pour le transmetteur à charbon V , lequel communique
d'une part à cette bobine par le fil a et à la pile placée
dans la boite P par le conducteur b . Au lieu de parler comme d'ordinaire
devant le microphone B , on se place au - dessus du cylindre en ébonite
C posé sur la planchette du microphone van Rysselberghe , pour que
, comme nous venons de le dire , la voix arrive bien perpendiculairement
sur le milieu de la planchette qui supporte les charbons du microphone .
Ce cylindre en ébonite a encore pour avantage d'indiquer , bien mieux
que lorsqu'on fait usage des transmetteurs ordinaires d'Ader et de Blake
, la distance à laquelle la personne qui parle doit se tenir de la
planchelle du microphone .
D'autres modifications plus simples encore apportées au micro phone
Blake ont été étudiées par M. van Rysselberghe
, afin d'arriver à introduire , à très peu de frais
, certains changements indispensables pour l'emploi de ces appareils pour
les communications interurbaines . ( Le microphone Blake est jusqu'ici le
seul appareil employé en Belgique par les compagnies de téléphones
. )
Quant au microphone de M. F. van Rysselberghe , tel qu'il est est avec des
appareils ainsi montés qu'on a pu établir les récentes
communications télé phoniques à grande distance qui
ont eu tant de relentissement et qui ont été échangées
entre :
Ostende et Bruxelles .. Anvers et Bruxelles .. Paris et Bruxelles .. Porto
et Lisbonne .. Rouen et le Havre . Buenos - Ayres et Rosario ...
Ce sont également ces microphones que l'on a employés pour
relier le chalet royal d'Ostende et le palais de Laeken au théâtre
de la Mon naie de Bruxelles .
Nous avons déjà dit dans un article précédent
que pour établir ces communications , qui permettaient à la
reine d'entendre les opéras joués sur la première scène
lyrique de Belgique , on empruntait les lignes de la compagnie belge du
téléphone Bell ainsi que le réseau télé
graphique de l'État , sans cléranger ce dernier de son service
, par suite de l'application du système anti - inducteur de M. J.
van Rysselberghe , que le gouvernement belge a appliqué d'une façon
générale sur toutes ses lignes télégraphiques
.
En Belgique et en Amérique, où M. Van Rysselberghe
est allé mettre sa méthode en pratique, lenvoi simultané
des dépêches télégraphiques et téléphoniques
se fait dune manière régulière dans le service.
Aussi les appareils de M. Van Rysselberghe pour la téléphonie
à grande distance nont-ils jusquici trouvé dapplications
que sur quelques lignes de la Belgique, mises, à titre dessai,
à la disposition de linventeur.
sommaire
Les Téléphones SIT 25 rue du 4 septembre
75002 Paris
la
Société Industrielle des Téléphones
est fondée en 1883 succèdant à
la SGT Société Générale
des Téléphones.
Le nouveau directeur technique de la rue des Entrepreneurs à Paris,
spécialisée en téléphonie, est Gérard
Bailleux.
Celui-ci met rapidement au point un nouveau transmetteur à grenaille
à base de parcelles danthracite concassées. Il équipe
bientôt une nouvelle gamme de téléphones de luxe.
Les téléphones système BAILLEUX
Le microphone comprend un mince
disque de charbon de 55 mm de dia mètre. Ce disque est
moulé de façon à former, à sa partie centrale,
une cuvette dans laquelle on dépose la grenaille de charbon.
La cuvette est fermée par un disque métallique qui porte
en son centre une proéminence conique garnie d'un contact en
argent formant une des prises de contact des communications. Les deux
disques sont assemblés par un anneau en caoutchouc, à
cheval sur leur tranche et maintenu par un peu de colle.
Entre les deux disques est interposé un anneau de caoutchouc
qui les sépare sur tout leur pourtour, et qui est un peu plus
épais que la saillie de la cuvette du disque de charbon, de
sorte que ce disque de charbon nest en communication avec le
disque métallique que par la grenaille très mobile,
mais emprisonnée dans la cuvette centrale.
Ce microphone est monté, suspendu en quelque sorte, dans un
boîtier formé par deux anneaux métalliques, isolés
lun de lautre par une rondelle en ébonite. Sur
lanneau antérieur repose le disque de charbon ; cet anneau
est relié aux communications du poste par trois ressorts en
forme de T, dont la branche horizontale sengage dans une gorge
pratiquée sur le pourtour de lanneau, tandis que la branche
verticale est vissée sur le couvercle de la boîte de
l'instrument; cet anneau est garni dune toile métallique
qui protège le charbon et est surmonté dune embouchure
conique en ébonite ou en ivorine. Lanneau postérieur
porte deux ressorts de forme particulière qui, par pression
sur le disque métallique, assurent le contact entre le disque
de charbon et lanneau antérieur; enfin, sur le contact
en argent du disque métallique, vient pres ser un ressort,
vissé dautre part au couvercle du transmetteur.
Le bouton dappel est un poussoir actionnant un double
ressort semblable à celui des appareils Ader; cest une
clé double dont les contacts sont à friction.
Le mécanisme du levier-commutateur est du modèle
général adopté par la Société industrielle
des Téléphones pour tous les systèmes de transmetteurs
quelle exploite.
Les prises de courant du microphone se font par les charnières
du couvercle sur lesquelles sappliquent, lorsque le couvercle
est fermé, deux ressorts respectivement reliés à
lanneau anté rieur du boîtier et au disque métallique
du microphone.
Nous reproduisons ( fig . 65) le schéma des communications
intérieures de lappareil portatif qui peut s'appliquer
aux appareils analogues également construits par la Société
industrielle des Téléphones.(donc après
1893)
|
 |
Les communications de l'appareil mural sont exactement
les mêmes que celles que montre la figure 36, (Ader).
Lappareil de surnom : le tréfle (à micro fixe), est
représenté dans la position de conversation.
Le levier-commutateur étant dessiné en élévation,
le socle est figuré en plan, les conducteurs sous tresse traversant
la colonne qui assemble les deux parties de lappareil.
Entre le type mural et le type portatif ilnexiste que des
différences de formes, résultant fatalement de laffectation
spéciale de ces deux modèles.
Micro fixe Mural
passe fil 
 
Les modèles N°4 SIT avec 4 pieds, le SGT n'en a que 3, ils
peuvent être équipés d'écouteurs gros anneaux
Sgt ou n°3 Sit
  
    
  
 


Sit style Empire
Unique
sommaire
Les Téléphones SIEMENS et HALSKE Allemagne

Premier modèle Siemens & Halske 1877
Les Récepteurs SIEMENS ET HALSKE
 
Les récepteurs exposés par la maison Siemens et IHalske
de Berlin et utilisés sur les réseaux allemands sont très
volumineux.
Ils se composent de deux aimants demi-circulaires . Sur chacune des paires
de pôles de même nom est vissée une équerre
en fer qui les réunit et qui reçoit une des bobines. Les
deux bobines sont groupées en série et leur résistance
totale est de 200 ohms.
Parmi les différents modèles de ce type, il en est un à
crochet (fig. 25), un autre à crochet et à manche (fig.
26) (cest le type de lAdministration des Postes allemande)
; enfin on construit un modèle plus réduit en forme de serre-tête
(fig . 27) ; le boîtier de ce dernier est en aluminium.
Un second type (fig. 28) comporte un aimant en fer à cheval ou
mieux en U, plus ou moins allongé, sur les pôles duquel sont
calées les bobines; un modèle de ce type est bien
connu en France; il a été utilisé par le service
de la Télégraphie militaire, comme téléphone
magnétique réversible; lappel est produit par une
petite corne à anche.
Ce récepteur est enveloppé par une gaine en laiton dont
la base évasée permet de le maintenir debout.
C'est aussi le premier modèle en 1878 (voir
histoire en Allemagne)
Le transmetteur Siemens & Halske
La grenaille est emprisonnée entre deux disques de charbon
de 1,5 à 2 cm de diamètre et réunis par un ruban
de soie. Cet assemblage forme une boite à parois latérales
souples, et cette boîte est fixée à une membrane microphonique
en aluminium. La boite s'appuie, d'autre part, sur le boitier par lintermédiaire
d'un amortisseur composé de deux petits charbons cvlindro-coniques,
réunis par un ressort à boudin renfermant un tampon douate.
|
|
Le crochet-commutateur (fig- 92) pivote autour d'un axe situé
à son extrémité ; il est commandé par
un ressort antagoniste à boudin et garni de deux goupilles.
Ces goupilles prennent contact avec un jeu de quatre ressorts montes
sur un bloc débonite et, par conséquent, isolés
les uns des autres. La forme de ces ressorts est telle que les contacts
sont nette ment à friction.
Les transmetteurs Siemens sont ordinairement montés avec appel
magnétique : tels sont les modèles adoptés par
lAdministration allemande ; la maison en construit cependant
avec appel par la pile. |
Lappareil combiné se compose dun transmetteur
à grenaille et dun récepteur tels que ceux que
nous avons précédemment décrits.
Ils sont assemblés par une tige métallique garnie dune
poignée qui contient une clé permettant, par la pression
de la main, de fermer les circuits de conversation; le cordon est
à 5 conducteurs (fig . 97).
Dans un autre modèle (fig. 98), le manche contient, en outre,
un boulon dappel et le cordon est à 6 conducteurs.
La figure 99 montre lappareil combiné monté sur
un support à crochets qui contient le levier-commutateur, la
bobine dinduction et un bouton d'appel. |
 |
Les figures 107 et 108 représentent
deux modèles construits par la maison Siemens
et Halske de Berlin ; ce sont les types normaux de lAdministration
allemande.
Le microphone est à granules de charbon ; lappel magnétique
a trois aimants.
Un parafoudre à charbon avec fil fusible pour ligne double
est annexé à lappareil. Nous figurons également
(fig. 109) un modèle de luxe construit par la même maison. |
|

sommaire
Téléphone Alan Archibald Campbell Swinton
 |
1885 Le transmetteur Swinton
Exclu des brevets, l'émetteur Swinton il est
attribué des années 1880 après l'expiration de
certains brevets critiques.
MFC Allsop en Grande-Bretagne a simplifié la
conception en un modèle compact et robuste à deux crayons
que son entreprise a utilisé dans ses téléphones
intercom.
Comme le montre lillustration, il était bien construit
et très compact. Il devait être très sensible
pour qu'un si petit diaphragme soit efficace.
breveté par M. A. A. Campbell Swinton en 1885 (construit en
1887) |
L'Equitable Telephone Association était
une société anglaise constituée le 15 décembre
1886 dans le but de fabriquer et de vendre du matériel téléphonique
basé sur les brevets d'Alan Archibald Campbell Swinton.
À la fin de 1887, la société a commencé
à vendre son
matériel. En mars 1888, la United
Telephone Company l'a accusée d'avoir violé les
brevets de la United Telephone Company. L'accusation a été
confirmée par le tribunal et l'UTC a obtenu une injonction
perpétuelle interdisant à l'ETA de vendre son matériel
contrefaisant. En conséquence, l'ETA s'est retrouvée
avec peu d'argent, sans moyen d'en lever davantage par le biais des
ventes et sans volonté de ses actionnaires d'en fournir davantage.
La société a mis fin à ses activités en
1889.
|
  |
sommaire
Téléphone A.Thomas
sommaire
Usa 1882 Le récepteur téléphonique H.S. Thornberry
of Vionona, Minn
 |
Le récepteur téléphonique
Thornberry, dont l'action est due à la contraction d'un noyau
magnétique spiralé sous l'influence du courant traversant
la bobine. Le noyau spiralé est fixé à une extrémité
au diaphragme et relié à l'autre extrémité
par une vis de réglage. Le noyau spiralé est parfaitement
libre de fonctionner dans l'hélice, et la contraction ou la
dilatation de la spirale sous l'influence du courant provenant de
l'émetteur agit sur le diaphragme de la même manière
que s'il était attiré par un aimant, les résultats
étant identiques à ceux des autres modèles de
téléphones Bell. Un aimant permanent placé à
l'extérieur de la bobine magnétise le noyau spiralé
par induction, ce qui rend la spirale très sensible à
l'influence des courants circulant dans la bobine. La construction
du téléphone sera facilement comprise grâce à
la gravure, où une partie de l'instrument est découpée
pour en montrer les pièces internes. Le diaphragme est monté
sur une embouchure classique, tandis que l'aimant permanent et la
bobine, avec la spirale incluse, sont logés dans un petit boîtier
fixé à l'embouchure. L'instrument est équipé
des bornes de connexion et des connexions flexibles habituelles. |
sommaire
Les téléphones THOMSON HOUSTON : Anciennement établissement
Postel-Vinay 10 rue de Londres 75009 Paris

sommaire
Le microphone Sylvanus P.Thompson et Jolin

 |
1887 Une conception nouvelle est venue du
professeur Sylvanus Thompson.
L'embout buccal débouchait sur un tube courbé vers
le haut, un peu comme le Berliner. Au sommet du tube, trois crayons
de carbone montés sur un trépied supportaient une
boule de carbone. La pression des ondes sonores sur la balle fournissait
la résistance variable nécessaire.
Ce style a été baptisé « Microphone
à Valve ». (micro sans diaphragme)
Le microphone de MM. Thompson et Jolin
est représenté en coupe verticale par la fig. 17.F
F' est un cylindre vertical, en charbon par exemple, qui en haut
est plus ou moins fermé par une boule E également
en charbon. Quand on parle dans l'embouchure h, les ondes sonores
passent par le tube H et près de D frappent contre la boule
et font varier le contact entre cette dernière et le cylindre.
Ce contact est intercalé d'une manière ou d'une autre
dans le circuit primaire de la bobine d'induction. Quelquefois les
inventeurs remplacent la forme de la boule par celle d'une poire.
Comme matière pour la boule ou poire, on a essayé
différents corps. Outre le charbon, le bronze sélénieux
paraît donner les meilleurs résultats. La reproduction
est faible mais claire. La bobine d'induction que les inventeurs
emploient est construite dans le genre de celle de la figure 16.
Le microphone est intercalé dans l'un des deux circuits primaires,
et dans l'autre est intercalé une résistance artificielle
d'une valeur à peu près égale à celle
du microphone. Le circuit primaire ne peut jamais subir une interruption
complète et par conséquent il ne peut pas se produire
des étincelles, d'où il résulte que le microphone
ne peut pas avoir de crachements.
Il n'y avait pas de diaphragme en tant que tel,
on a donc pensé que cela fonctionnerait autour des brevets
Hughes et Edison. La National Telephone Company, qui détenait
les brevets britanniques pour les émetteurs Bell, Edison,
Crossley, Blake et Hunnings, n'était pas d'accord. Les tribunaux
britanniques ont également statué que la boule de
carbone était un diaphragme et qu'ils violaient ainsi les
brevets. Ils ont également exclu l'émetteur Swinton
pour les mêmes raisons : le cadre et le fil formaient eux-mêmes
un diaphragme. La situation juridique était confuse car d'autres
modèles étaient également proches de la contrefaçon
et certains brevets eux-mêmes étaient susceptibles
d'être contestés. La situation aux États-Unis
nétait pas si confuse, puisque les brevets pour la
plupart des émetteurs pratiques appartenaient à une
seule société : Bell.
|

sommaire
Récepteur TESTU
Mr Testu agent de l'administration française a construit plusieurs
modèles dont un admis sur les réseaux aériens de
type montre.
L'aspect de ces instruments est celui de tous les téléphones
montres :
une enveloppe nickelée, un pavillon en ébonite, un anneau
de suspension, un cordon souple à deux conducteurs pour établir
les communications.
A l'intérieur : un
aimant et une bobine de fil de cuivre recouvert de soie.
La disposition raisonnée de ces deux organes constitue l'innovation.
Dans l'un des modèles, l'aimant, fixé par une vis sur
le fond de la boîte, se compose de deux cuvettes concentriques
sur le pourtour desquelles ont été pratiquées
six gorges formant autant de créneaux.
La polarité des ciivettes est de sens contraire, de telle sorte
que le pourtour de la cuvette externe représente un pôle
sud enveloppant le pôle nord de la cuvette interne. L'inventeur
obtient ainsi un aimant circulaire à pôles concentriques
produisant, suivant lui, le môme effet que six aimants juxtaposés
dont les pôles correspondraient aux six parties saillantes du
système, disposées par paires.
Chacune des cuvettesaimantées est entourée par une bobine.
Ainsi, en allant du centre à la circonférence, on trouve
: une bobine entourant l'aimant central qui a son pôle nord
regard de la plaque en vibrante, une seconde bobine extérieure
et enveloppant le pôle sud de la cuvette externe.
Les deux bobines sont montées en série et représentent
une résistance totale d'environ 55 ohms.
Le modèle admis sur les réseaux aériens de l'Etat
diffère un peu du précédent.
L aimant est une lame d'acier qui contourne en grande partie le fond
d 'un boîtier circulaire et dont les extrémités
correspondant aux pôles sont incurvées dans la direction
de la partie centrale du boîtier. Sur les deux pôles sont
vissés
des noyaux creux dont la partie supérieure forme six créneaux.
Chacun de ces noyaux porte une bobine dont la résistance est
de 110 ohms. Les deux bobines sont montées en série
et se
raccordent à un cordon souple à deux conducteurs; les
points de raccord étant protégés par des tubes
en caoutchouc et le
cordon assujetti par une bride avant sa sortie du boîtier.
La membrane vibrante est placée au-dessus de ce système
magnétique; elle mesure 61 millimètres de diamètre
sur 0,33
millimètre d'épaisseur.
|
 |
sommaire
L'émetteur acoustique Turnbull et Warnke
 |
Bien que l'émetteur à induction
de Bell ait finalement été remplacé dans les
téléphones commerciaux, le concept de Bell était
acoustique, et une variante très importante de ce modèle
est apparue plus tard dans des applications militaires et industrielles.
Cet émetteur acoustique a été conçu par
Arthur Turnbull et Herbert Warnke dans les années 1930 et est
toujours utilisé par la marine américaine. Il est similaire
au récepteur à armature magnétisée de
Nathaniel Baldwin. Turnbull et Warnke ont obtenu un brevet pour leur
conception en 1941.(Patent No. 2,245,511)
Ce modèle utilise deux aimants en barre, comme le montre une
vue partiellement démontée de la figure 2-3. Les aimants
sont constitués d'un alliage d'aluminium-nickel, dont la dureté
magnétique est supérieure à celle de l'acier
à haute teneur en carbone classique.
La figure montre l'émetteur Turnbull, qui a été
utilisé de manière limitée aux États-Unis.
|
A représente le diaphragme en bois fin, au dos duquel
est monté le support B. Pivotant sur une tige b, portée par
ce support, se trouvent plusieurs tiges de carbone, ou pendants a, qui reposent
à leur extrémité inférieure contre une tige
de carbone c, portée par un support C, également monté
sur le diaphragme. Les tiges b et C constituent les bornes de l'émetteur,
et le courant passe de l'une d'elles à travers les pendants en carbone,
en multiples passages. Les variations de résistance se produisent
principalement au niveau des contacts entre la tige C et les pendants a,
bien qu'il existe un effet supplémentaire entre les pendants et la
tige de support b, en particulier si cette dernière est en carbone.
sommaire
Les téléphones Vande Meerssche
Vande Meerssche était un fabricant belge de téléphones
de style « Art Nouveau », opérant à Bruxelles
entre 1888 et 1930. Il était électricien et fournissait
également des téléphones à une clientèle
de argentée. Le « patron » pouvait donner des ordres
à son « personnel de maison » depuis son bureau. Le
personnel de maison ne pouvait appeler que le patron. Les appareils portent
clairement une signature « Art Nouveau » .
sommaire
Les transmetteurs White Amérique
 |
1892 Le Microphone ANTHONY. WHITE,
de BOSTON
Breveté le 1er
novembre 1892, N° 485 311.
. Un microphone, dont on dit le plus grand bien et qui est
employé sur la plus longue ligne téléphonique
du monde, de New-York à Chicago (1620 km.), est celui de M.
White de Boston.
Il utilise aussi des granules, mais celles-ci sont enfermées
dans une petite chambre métallique cylindrique W, dont un des
fonds est obturé par une rondelle en mica B, au centre de laquelle
se trouve un disque de charbon E pressant sur les granules.
Le disque de charbon, fixé sur une petite tige filetée
p' traversant la plaque vibrante, est rendu solidaire de celle-ci
au moyen de deux écrous t et t.
Des ressorts f, munis de bandes en caoutchouc, appuient sur la plaque
vibrante pour empêcher la production de trop grandes vibrations
; enfin le pavillon porte-voix M est ici en ébonite , ce qui
a lavantage datténuer dans une large mesure la
condensation de la vapeur deau de lhaleine, phénomène
très marqué, lorsque le pavillon est métallique.
Ce modèle à longtemps été utilisé
sur les téléphones Américains. |
sommaire
Le Téléphone portable de Theiler

Téléphone portable de Theiler
Le but de cet instrument est de combiner l'émetteur avec le
récepteur de telle manière que les deux parties constituent
un instrument unique, pratique et facilement portable, qui transmettra
et recevra la parole lorsqu'il sera tenu à l'oreille, sans nécessiter
de déplacement de cette position pour transmettre, ni exiger que
le locuteur dirige sa voix vers un objet particulier.
L'appareil, représenté sur la figure, consiste en un petit
tambour ou cylindre N, en métal ou en ébonite, fermé
à une extrémité par le diaphragme A de l'émetteur
et à l'autre extrémité par le diaphragme B du récepteur.
Un couvercle vissé P, avec une ouverture centrale et en forme de
coupelle habituelle, protège le récepteur, et permet de
maintenir ce dernier près de l'oreille. Dans la plaque de recouvrement
R du diaphragme opposé ou émetteur est inséré
un tube ou cône W, ayant une surface intérieure polie ou
lisse, et de forme telle qu'il collecte et concentre les ondes sonores
de la voix du locuteur sur le diaphragme émetteur sans gêner
de quelque manière que ce soit l'orateur, tout en servant de poignée
à l'instrument. La forme de ce cône ou tube est d'une grande
importance, et celle de la figure ci dessus n'a été obtenue
qu'après de nombreuses expériences.
On voit que l'ouverture V du cône n'est pas placée devant
ou en travers de la bouche du locuteur lors de son utilisation, mais sur
le côté. Par ce moyen l'inconvénient pour l'utilisateur
et la condensation désagréable de son souffle sur le cône
est évitée.
On verra en outre que les ondes sonores n'impactent que la courbe extérieure
du cône et seraient transmises au diaphragme par cette seule courbe.
Ainsi, une rangée de trous c^ c^ c^ c^ ne gêne pas, mais
au contraire favorise la transmission claire des ondes sonores le long
du cône W.
La figure suivante montre une coupe transversale de l'émetteur
et du récepteur combinés, en omettant cependant le tube
ou le cône que nous venons de décrire. Afin de placer le
récepteur dans un petit espace, MM. Theiler le construisent avec
un aimant permanent circulaire O. , dont un pôle induit le noyau
de fer M, inséré dans la bobine L. L'autre pôle induit
le mince diaphragme en acier ou en fer B. La partie émettrice du
téléphone combiné est construite comme suit :
Il y a un disque très mince en acier ou autre matériau hautement
élastique, fermement serré entre le bord de la boîte
N et le couvercle R. Au centre de ce diaphragme est fixé un mince
disque de carbone F, constituant l'une des électrodes. du circuit
de la batterie.
Au dos de ce diaphragme est collé un disque de feutre, ou autre
matériau spongieux, avec un trou en son centre, lequel trou ou
chambre est rempli de granules de carbone dur, et fermé par un
autre mince disque d'acier ou élastique t, auquel un poids G fixe,
constituant l'autre électrode. Une vis K traverse le poids d, et
pénètre dans la chambre e pour réduire la distance,
et par conséquent la résistance entre les deux électrodes
et F. En comlément consulter la page sur la SUISSE
Les téléphones Theiler ont été produits
en petite quantité et sont maintenant assez rares.
sommaire
Les téléphones WICH 83 rue charlot
75003 Paris
Voir avec Deckert les modèles spécifiques
Deckert puis de son associé Wich
sommaire
Les téléphones WESTERN ELECTRIC
Consulter à la page Western
Electric pour voir en détail la gamme et l'histoire de ces
modèles.
En exemple :
WE No. 1 1892-1894
No. 2 1892-1894
No. 3 1895-1897 
WE No. 9 1897
No. 10 1898-1904
No. 20 B 1904-1912 ,20 AL 1912-1917 et . 40 AL 1917-1925
WE No. 50 AL 1919-1925 No. 51 AL 1925-1931 No. 151 AL 1931-1941 ...
Les Téléphones européens Bell
et Western Electric
Les téléphones fabriqués par la Bell Telephone Manufacturing
Company (qui a été rebaptisée Western Electric en
1882) en Europe sont généralement connus sous le nom de
British Western Electric. C'est regrettable car cela minimise le rôle
important joué par BTMC dans le développement de la téléphonie
en Europe.
L'Europe fut une cible précoce pour les fabricants américains.
Dès 1880, la société Bell avait créé
l'International Bell Telephone Company à Bruxelles pour gérer
les ventes de téléphones et de standards téléphoniques
entièrement importés. Enos Barton s'était rendu en
Europe la même année pour faire un rapport sur la possibilité
pour Western Electric de s'implanter en Europe. À cette époque,
Western Electric fournissait des téléphones à la
Western Union Telegraph Company, mais après avoir perdu la guerre
des brevets contre Bell, Western Electric se retrouva sans client pour
ses téléphones. En fin de compte, Bell a racheté
Western Electric pour fournir ses téléphones. Theodore Vail,
le patron de la société Bell, souhaitait exporter vers l'Europe,
mais Barton et Gardiner Hubbard le convainquirent que la fabrication européenne
était la seule solution pour surmonter les sentiments nationalistes
locaux et le coût élevé du fret et des droits de douane
à l'importation.
Le 26 avril 1882, la Bell Telephone Manufacturing Company ouvrit une usine
à Anvers en Belgique. Elle était détenue à
45 % par Bell et à 55 % par Western Electric. Au départ,
Ezra Gilliland de Western Electric fut envoyé en Europe pour créer
et diriger l'entreprise. Une fois celle-ci opérationnelle, il retourna
aux États-Unis. Après un incendie qui détruisit l'usine,
Francis Welles fut envoyé par Western Electric pour la reconstruire.
Welles était diplômé de l'université, le premier
employé de WE. C'était un bon choix. Il était instruit
et polyglotte, et il entreprit de construire un réseau d'usines
dans toute l'Europe pour donner à l'entreprise une présence
dans les principales régions. Le conseil d'administration de BTMC
comprenait désormais Francis Welles, Louis de Graaf (l'agent local)
et un nombre approprié de personnalités locales éminentes.
En un an environ, la société employait 35 personnes et décrochait
des contrats dans un certain nombre de pays européens. Bien que
l'intention était de construire des téléphones muraux
conventionnels à deux et trois boîtiers (initialement à
partir de pièces importées), ils ont rapidement découvert
que des entreprises locales comme Ericssons et Siemens Halske fabriquaient
des téléphones plus petits et de meilleure qualité,
dans des styles préférés du public. Par exemple,
le combiné a été introduit par Ericssons en 1892.
LME a construit des émetteurs et des récepteurs suffisamment
petits pour un combiné en raison de leurs aimants supérieurs.
Les unités Bell équivalentes, en particulier l'émetteur
Blake, étaient trop volumineuses pour être utilisées
dans un combiné.
L'usine BTMC a rapidement développé une gamme de téléphones
européens pour rivaliser. Dans une certaine mesure, ils ont eu
beaucoup de succès. Dans les premiers modèles, ils ont apparemment
utilisé des pièces achetées à d'autres fabricants
jusqu'à ce qu'ils puissent concevoir leurs propres versions. Dans
d'autres, ils ont copié des styles locaux. La plupart de ces modèles
ne sont jamais revenus aux États-Unis et sont maintenant rares.
En particulier, ils ont développé leurs propres ensembles
de bureau bien avant que les États-Unis ne les mettent en service.
Leur premier téléphone de bureau (connu en Australie sous
le nom de Tour Eiffel , un nom appliqué au téléphone
Skeletal dEricsson aux États-Unis) sest largement vendu
en Grande-Bretagne et dans ses colonies ainsi que dans certains pays européens,
mais il est pratiquement inconnu aux États-Unis. Il na probablement
été fabriqué que dans lusine dAnvers,
puis dans lusine de Woolwich créée par Western Electric
en Grande-Bretagne. Au tournant du siècle, lusine dAnvers
comptait environ 700 employés.
Dautres usines furent installées dans les grandes villes
dEurope. À une époque où le nationalisme était
très fort, une présence industrielle locale était
essentielle pour obtenir des contrats locaux. Pendant un certain temps,
les usines nétaient que des points dassemblage, utilisant
des pièces provenant de BTMC à Anvers ou aux États-Unis
ou sous-traitées à dautres fabricants locaux. Cet
arrangement à usines multiples était à lopposé
de ce que Western Electric cherchait à faire aux États-Unis.
Aux États-Unis, Western Electric essayait de concentrer sa production
dans un plus petit nombre dimmenses usines pour tirer le meilleur
parti de la production de masse.
En juillet 1890, Bell vendit sa part de BTMC à Western Electric,
devenant ainsi une simple société d'exploitation. Western
Electric devint alors le fabricant de Bell.
En Grande-Bretagne, The Telephone Company de Londres représentait
les intérêts de Bell et détenait ses brevets. En 1880,
elle fusionna avec une autre société représentant
l'inventeur rival Thomas Edison et forma la United
Telephone Company. United forma à son tour une nouvelle société,
Consolidated Telephone Construction and Maintenance Ltd, pour produire
des téléphones de type Bell pour United et des téléphones
Gower-Bell pour les ventes à l'étranger et aux bureaux de
poste britanniques. Cette société produisit également
une petite gamme de téléphones Bell modifiés pour
une utilisation locale. Ces téléphones sont généralement
identifiés à tort comme Western Electric en raison de leurs
pièces internes. La documentation est pauvre et peu de leurs téléphones
ont survécu, il est donc souvent difficile d'attribuer un téléphone
à BTMC d'Anvers, à Consolidated ou à la future usine
britannique de Western Electric. La United devint finalement la National
Telephone Company et acheta toujours des téléphones Bell
et Consolidated.
En 1903, la National Telephone Company cessa d'acheter des téléphones
WE et signa des contrats avec LM Ericsson à la place. Les brevets
de Bell qu'ils administraient avaient expiré, ils étaient
donc désormais libres de le faire. La nouvelle usine Western Electric
de Woolwich, achetée le 1er janvier 1898 pour remplacer une usine
plus ancienne et plus petite créée en 1883, se concentrait
sur la fourniture de téléphones, de câbles et de standards
téléphoniques à la Poste britannique et aux colonies
britanniques, mais elle fournissait également des standards téléphoniques
au National.
Après la Première Guerre mondiale, la BPO s'est penchée
sur l'automatisation du réseau téléphonique. Le système
Rotary de Western Electric, basé sur une conception antérieure
de Lorimer, était un concurrent sérieux, mais la société
a commis l'erreur fatale d'annoncer qu'elle construirait l'équipement
à Anvers plutôt qu'en Grande-Bretagne. La BPO n'a rien voulu
savoir de tout cela, alors le contrat a été attribué
au système Strowger vendu par Automatic Telephone Manufacturing.
Western Electric s'est limité à la production de téléphones
et de pièces pour le système. Malgré cela, BTMC a
produit le système Rotary à Anvers pour de nombreux pays
européens, et les centraux ont même été installés
jusqu'en Nouvelle-Zélande. BTMC a également produit le premier
cadran de WE pour le système Rotary.
BTMC et British Western Electric semblent avoir été plus
enclins à expérimenter que leur société mère
américaine. Certains des premiers téléphones utilisent
des berceaux et des coques d'émetteur et de récepteur en
aluminium moulé comme alternative au laiton usiné et plaqué
plus coûteux utilisé par d'autres fabricants. Ils ont introduit
des téléphones à boîtier en acier avant les
États-Unis, et leurs premiers combinés ont déjà
été mentionnés. Leur style s'écartait des
téléphones portables américains de forme carrée,
bien que leurs conceptions aient toujours été moins élaborées
que celles de LM Ericsson, par exemple. Comme aux États-Unis, ils
semblent avoir mis l'accent sur l'amélioration de la fiabilité
des composants. On sait que les composants WE ont été produits,
soit directement pour WE, soit sous licence, par Sterling, GEC et Peel
Conner en Grande-Bretagne. Lorsque certains téléphones de
modèle Western Electric ont été adoptés par
la Poste britannique comme modèles standard, de nombreuses autres
sociétés ont commencé à produire des pièces
et des téléphones similaires.
En 1925, la société Bell s'est débarrassée
de ses opérations à l'étranger, y compris BTMC et
les usines européennes WE. Les usines ont été vendues
à la société de Sosthenes Behn, International Telephone
& Telegraph, et ont été rebaptisées Standard
Telephones and Cables en Grande-Bretagne et Standard Electric ailleurs.
L'usine d'Anvers a cependant conservé son nom d'origine BTMC. En
1927, l'usine comptait plus de 10 000 employés. L'usine d'Anvers
a continué sa production et a finalement été absorbée
par Alcatel.
sommaire
Les téléphones WERY 39 bd de la chapelle
75010 Paris
Transmetteur Wéry.
Le microphone de lappareil que M. Wéry a fait admettre
sur les réseaux est un solid back; le seul intérêt
que présentent ces transmetteurs réside donc dans le mécanisme
de la clé dappel et du levier-commutateur, mécanisme
qui est sensiblement le meme pour les deux organes.
La clé dappel (fig. 79) est un bouton-poussoir B agissant
sur lun des grands côtés dun rectangle qui sabaisse
sous la poussée du bouton et se relève sous laction
dun ressort antagoniste. Lautre grand côté du
rectangle est formé par un cylindre en ébonite sur lequel
sont calés deux tubes métalliques E, F, isolés lun
de lautre. Les deux petits côtés de ce rectangle sont
prolongés et articulés en AA. Cest autour de ces deux
points que pivote le système sous la pression du bouton B, ramené
au repos par un ressort à boudin emprisonné dans sa chape
et entraînant avec lui dans le môme sens le rectangle. Le
mouvement de bascule de ce rectangle a pour effet de lui faire abandonner
certains contacts et de lui en faire prendre dautres. Sur la traverse
débonite MN sont, en effet, montés six ressorts r
disposés en deux groupes.
Les ressorts r1, r 2 , r 3 correspondent an tube métallique E,
les ressorts sont en regard du tube F. Les ressorts r portent deux contacts;
les tubes E, F ne les abandonnent jamais. Les ressorts r1 , r2 , à
un seul contact, ne touchent les tubes E, E que lorsque le bouton B est
au repos. Les ressorts r 3 , r 4 également à un seul contact,
sont plus courts; les tubes E, F ne les rencontrent que lorsquils
ont été abaissés par la pression du bouton B et qu'ils
ont abandonné les ressorts r. 2 , r .
Le levier-commutateur (fig. 80) présente une disposition
qui ne diffère Vie la précédente que par le nombre
des tubes, le nombre des ressorts et lemplacement du ressort antagoniste.
Dans la position figurée en pointillé, lappareil est
sur sonnerie. Le tube E réunit les ressorts r v r. v le tube F
relie les ressorts r 8 , r c , le tube J reste sans affectation et les
ressorts r A , sont isolés.
Dans la position figurée en traits pleins, lappareil est
sur récepteurs. Le tube E réunit les ressorts r { , r 2
, le tube J relie les ressorts r JO r- t , le tube F unit les ressorts
r 7 , r 8 ; les ressorts r 3 , r ( . sont isolés.
La figure 81 représente le schéma des communications intérieures.
Le mécanisme du transmetteur portatif est identique à celui
du transmetteur mural. Appareil combiné (modèle de ladministration).
Lappareil combiné de ladministration est un
microphone solid back associé avec un récepteur Ader n°
3.


sommaire
Les transmetteurs OYAN
La société norwégienne
de Kristiania, Eleklrisk Bureau , adapte
à tous ses appareils les plus récents le microphone système
Oyan, à granulé de charbon, avec agitateur, représenté
par la figure 91.
On enlève le microphone en le faisant tourner et en le tirant à
soi. Cest également en le faisant tourner que l'on obtient
une agitation énergique des granules de charbon ayant pour objet
déviter les tassements préjudiciables à une
transmission nette de la parole.
Le boîtier est en laiton nickelé.
(site) NORVEGE
Au départ en Norvège, les différentes administrations
municipales accordaient des licences exclusives (principalement à
la compagnie Bell) par ville. À Kristiana (rebaptisée plus
tard Oslo), les autorités locales n'avaient pas délivré
de licence exclusive. Il y avait un mécontentement généralisé
à l'égard des prix de Bell et de son manque d'intérêt
à desservir les régions rurales. Des associations téléphoniques
locales ont été créées pour répondre
au besoin. À Kristiana, un groupe d'hommes d'affaires créa
Kristiana Telefonforening (Kristiana Telephone Company)
en 1881 pour concurrencer la compagnie Bell. Il était dirigé
par Carl Soderberg qui était également un agent d'Ericsson.
En 1882, avec douze autres hommes d'affaires locaux, il créa une
entreprise de fabrication de téléphones pour la Norvège,
en utilisant des boiseries locales et des pièces Ericsson.
La société s'appelait Elektrisk Bureau.
sommaire
Le transmetteur WREDEN
Cet appareil attira beaucoup lattention à lExposition
Electrique de Vienne, à cause de sa grande simplicité, jointe
à une efficacité remarquable

Il est constitué d'un mince diaphragme en liège T,
qui porte l'un des contacts carbone K, tandis que l'autre, K', est plaqué
contre lui par un levier G H R. La régulation du contact carbone
s'effectue par le déplacement d'un poids G. , comme chez Maiche,
vissé à l'extrémité du levier, ou en vissant
un poids supplémentaire sur le levier ; chaque instrument est muni
de six poids supplémentaires, passant d'un décigramme à
un gramme. Plus le poids supplémentaire est faible, plus le contact
est lâche et plus le microphone est sensible. Le même effet
est obtenu par un rapprochement du poids G vers les contacts. Quand une
fois le. Lorsque le degré de sensibilité le plus élevé
pour certaines conditions individuelles est atteint, il reste constant
et ne nécessite aucun ajustement ultérieur. Le chemin du
courant est S K k' R H s' et retourne à la batterie via le fil
primaire ; L est l'embout buccal.
Des émetteurs à contact unique et multiple ont été
exposés à Vienne ; dans ce dernier cas, les différents
leviers de contact (au nombre de trois, quatre, six et douze) étaient,
selon les conditions individuelles de résistance, disposés
soit en série, soit en parallèle. Pour la reproduction de
musique orchestrale, la connexion parallèle est particulièrement
avantageuse. Un appareil d'un ordre supérieur est représenté
sur notre figure, et consiste en une boîte qu'on tient dans la main
lorsqu'on parle, et qui a de un à douze leviers de contact ; pour
les opérations de plongée, cette boîte est étanche
et lestée de plomb.
sommaire
Le téléphone du capitaine Zigang (détail
sur cette page)
sommaire
Les appareils combinés de LELEKTRISK BUREAU
Elektrisk Bureau de Norvège
ou EB était un fabricant norvégien d'équipements
de télécommunication . Elle a été fondée
en 1882 et a duré jusqu'en 1993.
LeE fondateur carl Söderberg avait créé un syndicat
de téléphonie à Christiania, et estimait que la Bell
System pratiquait des prix trop élevés. En 1885, la société
fut transformée en société anonyme. EB est devenu
le plus grand producteur national de systèmes téléphoniques
et exportateur. Mais dans les années 1920, lorsque les centrales
automatiques furent introduites, EB perdit sa position de leader. Au lieu
de cela, l'attention a été déplacée vers le
marché de consommation et, en 1928, LM Ericsson est devenu le principal
propriétaire d'EB..
|
Lensemble du transmetteur mural (fig. 103),
dont de nombreux modèles sont exposés, comprend un
microphone Oyan, un récepteur, une sonnerie polarisée,
un appel magnétique à aimants, un paratonnerre; les
bornes sont en nombre suffisant pour quon puisse ajouter une
sonnerie supplémentaire.
Dans le bas de lappareil, une boîte contient la pile
microphonique formée par deux élé ments Leclanché.
Lappareil est monté sur une plaque en bois ou bien
est entièrement en fer.
Le récepteur, à manche, comporte un aimant en fer
à cheval sur les pôles duquel sont calées les
bobines; lenveloppe est en ébonite.
Dans certains modèles muraux on fait usage dun appareil
combiné. Cest ce même appareil combiné
qui est employé avec les appareils portatifs (fig. 106).
Fig. 105. Appareil avec appel
magnétique, modèle mural, de l'Eleklrisk Bureau.
|
 |
Le professeur Lasse Brunnstrom note que le style orné trouve ses
racines dans l'art populaire norvégien, en particulier « les
portails médiévaux des églises en bois debout et la
sculpture traditionnelle sur bois »
 
Fig. 106. Appareil avec appel magnétique, modèle portatif
de lElektrisk Bureau.

Années 60
sommaire
Les téléphones en tôle d'acier
M24 ou PTT24
Un plan de « redressement téléphonique »
en 1922, impose un type de terminal standardisé, pour équiper
les abonnées dappareils standardisés, rompant ainsi
avec les modèles de type artisanal que la clientèle a coutume
de choisir. Ladministrative française débute en mai
1922, un concours ouvert à tous les constructeurs est organisé
en 1924 par la Comité technique des PTT afin dimposer un
poste type sur le réseau français. En 1924, un modèle
type de poste destiné aux réseaux à batterie centrale
et aux réseaux automatiques est adopté; il se nomme PTT
24 , c'est le second modèle proposé par LMT. Il est
aussi fabriqué par de nombreux ateliers ou constructeurs. Cet appareil
sera distribué dès 1927. Il se compose dun socle,
prévu pour recevoir le disque de numérotation.
Le poste universel PTT 1924 avec ou sans cadran fonction de son
raccordement à une opératrice ou pas.

Les postes à BCI 1924 ont été étudiés
spécialement pour avoir de bonne qualité de transmission
et de réception et pour être facilement transformables pour
les réseaux automatiques par la simple adjonction d'un cadran d'appel.
La bobine d'induction produit un renforcement de la transmission. Ainsi
les signaux émis sont ils d'une valeur très supérieure
aux courants parasites et bruits de ligne. Dès lors, même
si le poste récepteur est d'un rendement moyen en réception,
la qualité d'écoute est bonne. Le micro est cette capsule
interchangeable perfectionnée par M.Marzin, Ingénieur des
PTT.
Capsule micro
Cadran 7010B
Le modèle PTT 24 mural
PTT 1924 produit en Allemagne en 1928 par De.Te.We. de Berlin, pendant
la période où les Allemands payaient encore les dégâts
de la première guerre mondiale aux Français.
En
1927 pour les
numéros parisiens notamment, on prévoit de doter les appareils
dun nouveau cadran
associant des lettres aux chiffres permettant de composer les numéros
alphanumériques.
(la notice) Ce modèle
de cadran équipera tous les nouveaux téléphones à
cadran à partir de cette date.
Sur le plan électrique, peu de changement au cours des 25 années
durant les quelles a été fabriqué ce type dappareil,
excepté la capsule micro, bête noire de ladministration
des PTT ou pas moins de 7 modèles ont été successivement
répertoriés. A noter également vers 1940, lapparition
d'un nouveau modèle référencé 322 et équipé
d'une bobine dinduction au circuit magnétique fermé
et donc plus performante.
Sur le plan matériel, également quelques évolutions
. La première, invisible de lextérieur concerne le
condensateur. Pour un même isolement, sa taille diminuera de plus
de moitié en 25 ans.
A lextérieur, le crochet commutateur réalisé
à lorigine sous forme de 2 pièces en laiton brasé
et donc relativement fragile devient après quelques années
en laiton moulé. La pointe de la colonne à cette occasion
s émousse.
Aux alentours des années 1938, la fourche se simplifie encore
et devient en aluminium et le boîtier du récepteur devient
en bakélite.
Pendant les années de guerre, la fourche sera réalisée
en fer émaillé. Après la guerre, la feutrine du socle
disparaîtra également. Elle sera remplacée par 4 pieds
en caoutchouc.
Le modèle 1924
dit de comptoir
Bien qu'il ne s'agisse pas à proprement parler d'un modèle
particulier mais plutôt d'une adaptation ou dans l'épaisseur
du socle, le constructeur a intégré un inverseur et
un voyant.
En position repos, la ligne aboutit sur l'appareil qui se comporte
de façon clasique.
Par contre, en basculant l'inverseur à gauche, on renvoyait
la ligne sur un poste de cabine dont on en contrôlait l'occupation
à l'aide du voyant. Dans l'autre position, la ligne était
renvoyée sur une résistance simulant ainsi son occupation.
Il est superflut de vous préciser que ce genre d'appareil se
rencontait généralement dans les bars, bistrots et autres
lieux publiques. |
 |
En France, après larmistice intervenu le 22
juin 1940, des ingénieurs des PTT des services techniques sont alertés
discrètement par des officiers militaires de lexistence dun
stock de 50.000 à 60.000 bobines dinduction téléphoniques
destinées initialement à la téléphonie militaire.
Ces précieuses bobines dinductions constituées évidemment
dune majeure partie de cuivre, métal très précieux
en temps de guerre, sont menacées dêtre saisies, détruites
et leur cuivre refondu pour le compte de loccupant allemand dès
que le stock aura tôt fait dêtre découvert par
leurs zélateurs. Ainsi, en catastrophe, le Service des Recherches
et du Contrôle Techniques des PTT va-t-il étudier dès
lété 1940 la faisabilité dun modèle
de téléphone entièrement basé sur ce modèle
militaire de bobine dinduction, afin de concevoir un poste téléphonique
qui sera agréé dans la foulée, pour pouvoir écouler
rapidement le stock de bobines militaires, et éviter ainsi leur saisie
et leur destruction par loccupant, rappelons-le, adepte du pillage
de tout ce que pouvait fournir la terre de France ...
Il est finalement retenu que le modèle mobile PTT 1940 ainsi
créé sera directement dérivé du Modèle
mobile agréé de 1924 (Numéro de nomenclature PTT :
321-1) afin de réutiliser un maximum déléments
mécaniques et de carrosserie disponibles en stock La commande
est passée à la société Le Matériel Téléphonique
s'est étalée d'Octbe 1940 à Janvier 1941, fabriqué
quen nombre réduit dexemplaires (60.000 au maximum),
c'est un poste devenu rare. Le combiné à Batterie Centrale
Intégrale est le modèle 1924 n°320-2, qui est pourvu dun
écouteur à excitation, c'est-à-dire dépourvu
daimant permanent mais seulement dun noyau de fer doux, la bobine
militaire utilisée comporte 6 plots, mais elle est beaucoup plus
petite comparée à la bobine du poste PTT 1924, la coque est
identique au PTT24.
Intérieur du PTT 1940
Le nouveau modèle, le modèle mobile PTT 1941 n°323-1
qui, lui, a été produit jusquen 1947 au minimum. (avec
une bobine nouvelle de taille réduite, mais à 8 plots).
Le modèle Taxiphone public 1924 à encaissement électromécanique,
Modèle 24 1925
Modèle pour Paris
sommaire
Les téléphones Universels U43 en bakélite
sont conçus pour remplacer les postes PTT24 et PTT 1910 restants.
L'histoire commence avec l'invention de la Bakélite,
entre 1907 et 1909 par le chimiste belge Leo Baekeland (d'où son
nom), qui fut le premier plastique (isolant, thermorésistant et
esthétique). En 1925 C'est la société américaine
Automatic Electric qui a fabriqué
le premier téléphone en bakélite AE 1925, dont tout,
à l'exception du support métallique.est en bakélite.
. Automatic
Electric AE 1925
Les téléphones de la série Western
Electric 102/202 ont été les premiers téléphones
largement distribués à adopter l'utilisation d'un combiné
plutôt qu'un émetteur et un récepteur séparés.
La monture modèle 102 - B1 était disponible de 1928 à
1930 et se caractérise par une base ronde et un cadran surélevé.
WE 102
WE 202 Imperial en 1955 (base laquée or,combiné en plastique)
En 1930, le modèle 102 fut modifié avec une base ovoïde
allongée. Ce schéma de montage révisé était
connu sous le nom de D1.
Le modèle 202-D1 a été introduit sur le même
châssis avec un nouveau schéma de câblage « antisidetone
». Le cadran du châssis D1 était encastré à
l'avant du téléphone au lieu d'être posé sur
le cadre comme avec le « support 102-B1 ».
Les téléphones modèles 102/202-D1 ont été
fabriqués jusqu'en 1938. Comme le téléphone chandelier,
les 102 et 202 ne contenaient que le crochet et l'interrupteur. Le réseau
et la sonnerie étaient contenus dans un sous-ensemble fixé
au mur.
En 1930, les consultants des Laboratoires Bell suggérèrent
des modifications et des couleurs supplémentaires à la palette
précédente : l'ivoire , le gris-vert , le vieux rose , le
rouge Pékin et le bleu foncé étaient désormais
à la mode, en plus des teintes métalliques appelées
vieux laiton , or foncé. , bronze statuaire et argent oxydé
.
Puis en 1931 le téléphone
DBH 1001, d'origine suédo-norvégienne, conçu
à Oslo en 1930 par Ericsson
, "The Bakelite telephone 31" est le premier
téléphone suèdois réalisés en Bakélite
Le projet DBH 1001, a fait l'objet d'un partenariat entre le Norsk
Elektrisk Bureau et la société suédoise Ericsson.
C'est l'ingénieur norvégien Johan Christian Bjerknes
qui crée la configuration interne de l'appareil.
Tenu pour l'un des symboles du XXe siècle, produit à
partir de 1932, le DBH 1001 est distribué dans toute la Scandinavie,
la Grande-Bretagne, en Italie, en Grèce, en Turquie, et - sous
la licence Siemens - en France et aux Etats-Unis. Ericsson fabrique
en Angleterre sous licence, vers 1937, le GPO Model 332 très
inspiré du DBH 1001. Aux États-Unis, Henry Dreyfuss,
également en 1937, crée sous la même influence
du design scandinave, le Model 300 pour les laboratoires Bell Telephone
..
Déjà au milieu des années 1930, Ericsson montrait
dans des publicités un téléphone en bakélite
blanche, souvent entre les mains d'une jeune femme. Cependant, ce
modèle ne semble jamais avoir été proposé
au public.
Lors de l'Exposition universelle de 1939 à New York , Ericsson
a présenté une variante transparente en acrylique et
en plastique diakon,
|
DBH 1001 Ericsson 1931 |
Le téléphone modèle 302 est
un téléphone de bureau fabriqué aux États-Unis
par Western Electric de 1937 à 1955, et par Northern
Electric au Canada jusqu'à la fin des années 1950. C'était
l'un des postes téléphoniques combinés américains
les plus utilisés pour inclure la sonnerie et les circuits réseau
dans le même boîtier téléphonique.
Modèle 302
La relation compacte et cohérente entre le combiné et la
bakélite influencera profondément et durablement le design
des téléphones jusque dans les années 50.
C'est seulement en 1941 en France qu'apparaît
un nouvel appareil, le type DRCT également appelé
LAURENT du nom de son concepteur alors ingénieur au SRCT
(service de recherche et de contrôle technique), appareil, référencè
sous le N° 326 par l'administration des PTT,
Le modèle Laurent  
Ses défauts : la carcasse nécessite trop de bakélite,lanti-local
ne fonctionne correctement quen mode BL, sa manipulation et le raccroché
du combiné ne sont pas aisés. En réalité,
il ne sera fabriqué qu à un petit nombre dexemplaires
(50 000)
Puis en 1943 le arrive le modèle PTT U43 (Universel 43), fournis
sous le régime de la location-entretien.
Son coût de fabrication doit être faible afin de répondre
à une forte demande. En raison de la pénurie de métaux
en cette période de guerre, il doit être conçu à
partir des matériaux les plus disponibles. Les appareils sont donc
réalisés en bakélite et les composants deviennent
des génériques.
Le terme « Universel » a été retenu afin de
souligner l'adaptabilité du poste U43 aux différents modes
de fonctionnement du réseau téléphonique public de
rattachement de l'abonné : manuel, semi-automatique (nécessitant
l'intervention d'une ou plusieurs opératrices) ou entièrement
automatique.
Les modèles U43 « fixe » ne sont produits qu'en noir
. Dans les toutes premières versions, le cadran du U43 utilisé
est celui du modèle PTT24.
Deux versions apparaissent sur le marché fin 1943. La première,
dite universelle et portant la référence 331, est essentiellement
destinée à équiper les réseaux en automatique
rural. La seconde, dite BCI de référence 330, est destinée
à remplacer le modèle 1910 dans les zones urbaines de moindre
importance où la batterie centrale avec opératrice fait
lentement son apparition.
U43 magnéto de 1955 ou "magnéto à poussoir"
ou "magnéto Ducruet" et U43 universel à cadran.
La magnéto poussoir parfois appelée
magnéto Ducruet, a été fabriquée
pendant 30 ans. Son succès jusquà larrivée
de lautomatique intégral, repose sur 3 points : son encombrement,
celui dun cadran (D=80mm), sa simplicité demploi
grâce au poussoir et, sa technologie innovante de 1943.
Elle est constituée dun induit bobiné sur un tore
de tôle au centre duquel tourne un aimant cylindrique couplé
à une petite roue libre entraînée par un secteur
denté solidaire du poussoir. Si lon ajoute à ça
un boîtier en aluminium et le traditionnel groupe de contact,
on ne pouvait faire plus simple. Seuls points faibles, la roue libre
qui sencrasse au fil du temps et les petites vis de fixation
du poussoir qui cassent comme par hasard quand lopératrice
met un temps fou à répondre
|
 |
Sur le plan électrique, le problème de lanti-local
nétant pas résolu, ce sont en fait 2 versions qui apparaissent
sur le marché fin 1943.
La première dite « universelle » et portant la
référence 331 sinspire très fortement
du type Laurent et est essentiellement destinée à équiper
les réseaux en automatique rural. La seconde dite « BCI
» de référence 330 est destinée à
remplacer le modèle 1910 dans les zones urbaine de moindre importance
ou la batterie centrale toujours avec opératrice fait lentement son
apparition .
|
Ericsson Erica 1945

|
Fabriqué en très petit nombre par
Ericsson cet appareil est très souvent poinçonné
en rouge sur le devant.
En 1947 Un petit nombre d'appareils de type U43 arrive sur
le marché, qui ne diffère que par sa magnéto
à manivelle, ce qui entraîne une carcasse bakélite
plus trapue et son combiné qui toute fois, utilise les mêmes
capsules micro et récepteur que le U43.
1947
|
 |
À partir de 1950, les nouveaux plastiques
de couleurs vives remplacèrent la bakélite. La « Bakélite
» fournie put avoir plusieurs noms après l'expiration du
brevet : « Kataline », « Mélamine » ou
« Plaskon ». (la bakélite ne pouvant prendre des teintes
claires). Le cadran en Plexiglas prend place donnant un aspect
transparent .
Puis la version du U43 fixe (murale) fait son apparition.
Sur le plan électrique, une nouvelle bobine dinduction est
mise au point, nettement plus performante sur le plan de lanti-local,
elle équipera dorénavant le modèle universel qui
de ce fait prend la référence 328.
En 1954 est proposé un modèle luxe en tous points
identique au modèle BCI; il est réalisé en mélanine
blanche ou ivoire moyennant une surtaxe, c'est le modèle
de luxe..

Il est référencè
339.
Un autre modèle voit le jour en 1955 : le U43 magnéto,
adaptable à tous les types de réseaux existants (y compris
les anciennes installations à batterie locale).
Vers les années 60, certaines séries seront réalisées
en kralalite, matière qui vieillit très mal et prend
un aspect jaunâtre.
1966 Modèle U43 2+6
... ainsi que d'autres modèles pour réseaux intérieur
plus lignes Ptt.
Tout comme pour le 1924 il existe une version dite de comptoir ou
dans la sur-épaisseur du chassis on a intégré un
commutateur afin de renvoyer la ligne vers une cabine et un voyant pour
en surveiller l'utilisation.
Modèles 1943-60 de sociétés privées

Aoip

U43 de couleur différentes, un modèle Aoip et un modèle
à 3 boutons pour de petits réseaux privatifs.....
Aux Etats-Unis, pour remplacer le téléphone
de type 300 , produit depuis 1936, la série Western Electric modèle
500 était le téléphone de bureau domestique standard
émis par Bell System en Amérique du Nord de 1950 jusqu'à
la cession de Bell System en 1984 . Des millions de téléphones
de la série 500 ont été produits et étaient
présents dans la plupart des foyers en Amérique du Nord.
modèle 500
fabriqué des années 1950 .
Parallèlement au nouveau look du téléphone, l'effort
l'a complété par un nouvel appareil d'abonné en 1930,
le type 584.
En 1955, Western Electric réédita le téléphone
202 peint en plusieurs couleurs. La ligne Continental a été
créée à partir d'une base D1 avec un combiné
différent et était disponible peinte principalement en ivoire,
vert, rouge et noir, mais d'autres couleurs étaient disponibles
sur commande spéciale du client. Le Silver Continental était
plaqué de rhodium argenté et l'Imperial était pulvérisé
de laque dorée. Tous deux étaient équipés
d'un combiné en bakélite peint en ivoire ou en thermoplastique
ivoire.
Après le succès du DBH 1001, la firme Ericsson
lance en 1954 un autre modèle précurseur, le ERICOFON,
qui est resté le téléphone monobloc le plus populaire
pendant plus de trois décennies.
 |
Initialement, Ericsson proposait l'Ericofon
en 18 couleurs sur le marché nord-américain, vendant
les téléphones par l'intermédiaire de North Electric
(un constructeur de téléphones dans l'Ohio), dont ils
détenaient une participation partielle. Ces téléphones
comportaient un « signal de tonalité électronique
» en option (plus tard connu sous le nom de « Ericotone
») pour une sonnerie. Lorsque les ventes d'Ericofon ont commencé
à exploser sur le marché américain (ventes dépassant
la capacité de 500%), Ericsson a augmenté sa participation
dans North Electric pour devenir le principal actionnaire. Puis, vers
1961, ils transférèrent à North Electric la fabrication
de l'Ericofon destiné au marché américain. À
cette époque, North Electric a réduit l'offre de couleurs
de 18 à 8, probablement dans le but d'éliminer les couleurs
impopulaires. Ils ont également remplacé le «
Princess Pink » par « Petal Pink ». Cette décision
a probablement été prise pour éviter toute confusion
avec l'offre désormais populaire de Western Electric "Princess
phone".
Peu de temps avant le transfert de la fabrication en Amérique,
vers 1960, Ericsson avait apporté une modification à
la conception de l'Ericofon pour l'adapter à une nouvelle méthode
de moulage produisant une coque d'une seule pièce au lieu d'une
coque en deux pièces. Cela a rendu le téléphone
un peu plus court et a donné plus d'angle à l'extrémité
du récepteur. Ceux-ci sont communément appelés
téléphones « ancien boîtier » ou «
nouveau boîtier ». C'est pourquoi les Ericofons de fabrication
américaine ont l'illusion d'être plus petits que les
Ericofons suédois.
Vers 1967, Ericsson a présenté la
première version du bouton-poussoir Ericofon qui utilisait
la numérotation TouchTone. Ces modèles (60A) sont
très difficiles à trouver car il y avait une pièce
en plastique mal conçue dans le mécanisme crochet-interrupteur
qui se cassait facilement lorsque le téléphone tombait
sur une surface dure.
|
sommaire
Les téléphones S63
Jusqu'au milieu des années 1970, seul un français sur sept
dispose du téléphone chez lui. Après l'arrivée
du président Valéry Giscard d'Estaing en 1974, la France
s'équipe massivement de téléphones et le réseau
se modernise. Ladministration des PTT, consciente de son retard
dans le domaine des télécommunications, incite les principaux
constructeurs à se regrouper sous forme dune société
déconomie mixte qui prend le nom de SOCOTEL
(Société des Constructeurs de Téléphone).
Lévolution des normes techniques du service téléphonique
amène l'administration des P.T.T. à adopter un nouveau poste
téléphonique en remplacement du U43, devenu obsolète.
Cet appareil a ainsi été dénommé S63 : S comme
Socotel et 63 comme lannée de sa conception. Il est le successeur
du PTT24 et du U43.
Construit en plastique injecté, il est composé dun
circuit imprimé recevant tous les composants électroniques
et dispose dune sonnerie intégrée à volume
réglable. Il est dabord à cadran rotatif, puis à
clavier à numérotation décimale à partir de
1981, puis doté dun clavier à fréquence vocale,
alors utilisée sur les premiers centraux électroniques.
Il se présente le plus souvent sous sa forme à poser, mais
il existe une version murale. Le modèle le plus courant est gris,
mais des modèles ivoire, bleu, marron et orange ont aussi été
disponibles. Le S63 est mis en service en France de manière progressive
à partir de 1965.
Il se déploie lentement du fait de l'état du réseau
téléphonique qui n'est pas encore entièrement automatisé.
La
platine
Le coloris de référence en 1965 était gris, mais
d'autres modèles de couleur ivoire, bleu, marron, orange, rouge
(réservé pour les secours) et noir (réservé
pour l'administration), ont aussi étés disponibles à
partir de 1972. A noter également lapparition dune
version murale ou seule la coque diffère. Une
version à coque transparente a existé comme modèle
d'exposition dans les agence France télécom, sans jamais
être commercialisée .

Les postes livrés jusquen 1974 comportent des résistances
additionnelles qui permettent de régler lintensité
dans le poste suivant la longueur de la ligne, tandis que ceux livrés
à partir de 1975 comportent une autorégulation par thermistance
dont la résistance augmente quand lintensité (donc
la température) saccroît, mais également une
anti-surtension pour lécouteur et une possibilité
de connecter plusieurs postes en parallèle. Cest avec ce
poste qu apparaît la prise gigogne.
À partir de 1978, le S63 bénéficie de lajout
d'une nouvelle sonnerie à puissance réglable et d'un système
anti-tintement lors du branchement de plusieurs postes en parallèle.
 


Dès 1981, le S63 possède les dernières innovations
techniques : il est doté dun circuit imprimé recevant
des composants électroniques, dun cadran rotatif puis dun
clavier à numérotation décimale, dun clavier
à fréquence vocale (alors utilisée sur les premiers
centraux électroniques), dune sonnerie intégrée
à volume réglable, de la régulation automatique du
courant de ligne, dun anti-surtension pour l'écouteur, de
la possibilité de connecter plusieurs postes en parallèle.
À noter que cest avec le S63 quapparaît la prise
gigogne. C'est à cette période que
le réseau téléphonique français achève
d'être automatisé.
En 1982, le modèle
à numérotation à fréquences vocales DTMF
commence donc à être diffusé.  |
Son clavier, grâce à des touches spécialisées
(* et #), donne alors accès à de nouveaux services.
Le modèle gris à cadran disparaît progressivement.
Fin décembre 1980, la version à poser (en opposition
à la version murale) est produite à 25 millions dexemplaires,
tous coloris confondus.
La moitié du parc installé en 1991 (quinze millions
de postes) est équipée dune numérotation
à fréquences vocales, les appareils sont alors dotés
des deux systèmes de numérotation, décimale
et fréquentielle.
Contrairement à ses prédécesseurs en Bakélite,
le S63 est fabriqué en plastique ABS injecté. Ce nouveau
matériau pour lépoque, permet de produire lappareil
en plusieurs coloris différents et rend l'appareil plus léger
et moins fragile.
|
Le combiné est équipé d'un cordon élastique
en forme de ressort (appelé aussi « étiro »),
ce qui constitue une nouveauté pour lépoque. Sa sonnerie
à deux timbres (un en acier et un en bronze donnant deux sonorités
différentes) lui confère un son reconnaissable.
La face avant
est inclinée à 35°. Une cavité à l'arrière
permet de transporter l'appareil tout en maintenant le combiné
raccroché, la seule limite de déplacement étant
alors la longueur du fil, qui nécessite encore dêtre
relié à la prise murale !
À signaler également lexistence dune version
entièrement électronique baptisée PCR (Poste
à Courant Réduit) et destinée à être
utilisée sur des lignes téléphoniques extrêmement
longues. Enfin, une version destinée aux personnes âgées
ou dépendantes a été également commercialisée
par France Télécom dans les années 1980. Dans
ce modèle, l'appel se limite à 2 numéros préenregistrés
à l'aide dun clavier masqué par un cache.
La moitié du parc installé en 1991 (quinze millions
de postes) est équipée dune numérotation
à fréquences vocales, les appareils sont alors dotés
des deux systèmes de numérotation, décimal et
fréquentiel.
En 1985, le S63 est remplacé par de nouvelles gammes de postes
: l'Alto, puis le Chorus et le Fidélio.
|
Le modèle « administratif
»
|
sommaire
Les curiosités
En 1915, Alexander Graham Bell réalise le premier appel téléphonique
transcontinental. Bell, à New York, appelle Thomas Watson à
San Francisco. Cet appel téléphonique est rendu possible
grâce au tube à vide à trois éléments
de De Forest pour amplifier le signal.
sommaire
sommaire
|