Du
contrôle des portes cochères, à la sonnette électrique,
au téléphone domestique.
Comprendre comment un groupe social utilise le monde
des objets dont le téléphone, pour exister ou tout au
moins consolider son existence.
Quand de nouvelles technologies apparaissent, les précédentes
ne sont pas abandonnées pour autant. Elles cohabitent, en fonction
des besoins et des envies, et selon quon prenait ou pas le temps
et les moyens de rénover la maison pour y installer un système
plus moderne.
À la fin du XVIIIe siècle, la plupart des maisons
de Paris étaient pourvues dun portier. Son emploi, écrit
Louis-Sébastien Mercier dans Le tableau de Paris (1782-1788)
était « de siffler quand on vient vous rendre visite autant
de coups quil y a détages pour arriver à lappartement
que vous occupez ». Dans un autre chapitre, il cite encore : «
Le plus souvent, le portier est invisible et il faut crier : le cordon
; il le tire et la porte souvre. En sortant, on la referme
». Mais pas à nimporte quelle heure
Il
a ordre du propriétaire de « ne pas tirer le cordon après
minuit » précise Étienne de Jouy dans Guillaume
le franc-parleur (1815-1817).

"Monsieur le concierge, allant en soirée avec mon
épouse... j'ai l'honneur de vous demander l'autorisation de nous
laisser rentrer aujourd'hui passé minuit !!!...", Le Charivari,
30 novembre 1858
En 1883, lannée qui suit la publication de Pot-Bouille
( roman dÉmile Zola ) , le programme complet du lotissement
Marbeuf rédigé par un architecte indique que la
loge comprendra un « cordon de loge complet à air
comprimé. »
Un jeu de tubes hermétiques qui permet sur une simple pression
du concierge de libérer le pêne de la porte.
Le système est mis au point à la fin des années
1860 : le concierge, poire de caoutchouc en main ou sous le pied doit
pouvoir commander la porte cochère.
Les sondages dans les archives de serruriers montrent cependant que
la technique très instable ne rencontre quun succès
très limité.
Dans les années 1880, les dispositifs douverture et de
contrôle de laccès à limmeuble intègrent
les nouveautés techniques. Les techniques sont nombreuses qui
permettent au quotidien le contrôle des portes cochères.
Au début des années 1890, seule une dizaine de serruriers
installent des « commandes à air comprimé »
ou « interrupteurs à air comprimé ».
Linsuccès de ce dispositif tient à la difficulté
pour maintenir la pression dans les tuyaux de caoutchouc ou de cuivre
mais aussi à la réussite des systèmes électriques.
Bien après le développement de piles stables domestiques,
cest la mise au point de serrures électro-magnétiques
qui permet de commander à distance les portes cochères
dimmeubles.
En complément de cette attention aux dispositifs douverture
et de fermeture, on tente de régler au mieux les relations entre
la rue et la loge.
Le « cordon sil vous plaît » ou le tambourinement
par un heurtoir de la porte savèrent inappropriés
à la quiétude des immeubles bourgeois tout comme larchaïsme
qui consiste pour le concierge à soulever le rideau pour observer
les visiteurs. De la même façon quau sein de lappartement,
tout est fait pour dissimuler le corps des domestiques et leurs chorégraphies,
le domestique collectif quest le concierge doit disparaître
pour nêtre plus quune fonction, en particulier pour
les visiteurs.
Au XIXe siècle, le concierge remplace le portier. La construction
des maisons à appartements a donné naissance à
un emploi, celui de concierge. Les propriétaires distribuent
des loges aux concierges.
Le concierge est le gardien de la demeure parisienne : « Parlez
au concierge » mais avec déférence, sinon le sanctuaire
vous sera fermé ; lui seul peut vous en tirer le cordon.
sommaire
Des tubes acoustiques aux interphones : la communication
avec les étages
Dans la perspective ou le concierge doit disparaître, les tubes
acoustiques ou cordons à air sont envisagés dans les nouvelles
constructions des années 1850 pour relier dabord la rue
à la loge.
Les traces sont rares même si, autour de 1900, le concierge du
28 rue Sarrette, domicile du Dr Vimont dans le XVe arrondissement, peut
être appelépar un « cordon à air »
synonyme de tube acoustique , jeu de tubes de plombs et de caoutchouc
qui va du porche à lintérieur de la loge du concierge.
Cependant, le rêve dune communication transparente à
distance les cris par la fenêtre sont le signe de quartiers
populaires entre la porte cochère et les étages
prend forme, ces scénarios reléguant toujours davantage
le concierge à sa seule fonction de domestique.
Par les dispositifs envisagés dès les années 1860,
on peut déceler le désir de limiter le contrôle
du concierge, dont Jean-Louis Deaucourt a montré le poids sur
la vie privée.
Les tubes acoustiques apparaissent un temps comme la solution idoine
pour s'adapter au gardiennage.
Radau étudiant les phénomènes acoustiques note
en 1867 que « les tubes acoustiques [
] sont de longs tuyaux
de métal ou de caoutchouc à laide desquels on peut
tenir une conversation à distance.
On sen sert dans beaucoup de maisons pour communiquer à
travers plusieurs étages [
]. Quelquun a même
proposé de tirer parti des tubes acoustiques, combinés
avec des sonnettes électriques, pour remplacer les portiers par
une communication directe avec tous les étages des maisons. »
Si le système ne remplace pas les portiers, toujours indispensables
à la fois par leurs services quotidiens notamment après
les années 1860 et la généralisation des cartes
de visite et par leur travail de surveillance et dinformation,
il complète le dispositif de communication et évite les
allers-retours avec le rez-de-chaussée. Le tube qui descend par
la montée descalier est alors agrémenté dun
sifflet que lon fait retentir avant de prendre la parole. Encore
dans les années 1880, le système de tube acoustique couplé
avec un sifflet semble courant pour les liaisons avec les concierges.
Littérature comme théâtre le laissent imaginer :
les bourgeois parisiens mis en scène dans la comédie Tête
de linotte dEdmond Gondinet se plaisent à commander par
les tubes acoustiques présents sur scène. Pour appeler
une voiture, le jeune Jules « sapproche du cornet acoustique
et souffle », à la surprise de la jeune Olympia. Il «
aboutit, précise Jules, dans la loge du concierge. Je
nai pas besoin de vous développer lutilité
de cet instrument. » Le théâtre réaliste sarrête
au seuil de la technique
même si Olympia rétorque,
sans ironie de lauteur : « Cest très commode
».
Tout indique que ces dispositifs de communication ne suppriment pas
les concierges mais permettent un contrôle supplémentaire
des allers et venues dans limmeuble par les propriétaires.
Dès les années 1860, la possibilité dune
communication par sémaphores entre la rue ou le concierge
et les appartements est constamment envisagée, notamment
par les serruriers-électriciens. Michel Gloesner projette en
1861 de faire dialoguer par signaux électriques les étages
et le concierge. Le système concerne les hôtels mais aussi
les particuliers : « Une personne très-occupée et
demeurant à un étage élevé dune maison
veut, sans se déplacer, prévenir le concierge quelle
ne recevra pas à telle heure de la journée mais bien à
telle autre heure.
Enfin, il peut arriver que lon veuille recevoir seulement lune
ou lautre personne quon désigne au concierge par
une des lettres de lalphabet convenu. Alors ce dernier aura à
annoncer de sa demeure le visiteur qui sera reçu. ».
Les tubes acoustiques dès
les années 1860, s'insatllent aussi dans les appartements et
maisons bourgeois avec ou sans gardien mais avec des serviteurs. Une
embouchure à sifflet permet d'entendre la demande lorsque à
l'autre bout le demandeur souffle dans le tuyau après avoir enlevé
le sifflet. La conversation est établie et chacun à son
tour écoute ou parle.
  
Ci dessous, une disposition , due à M. II.
Picq, permet de parler et d'écouter tout en même temps.
A cet effet, lappareil est muni de deux embouchures : lune
se place devant la bouche, lautre sapplique contre loreille;
cet avantage rend la conversation pluss facile et moins fatigante ;
de plus, il ne peut y avoir de confusion, comme cela arrive souvent
avec une seule embouchure.
 
Le meuble permet de centraliser les tuyaux à
l'office permettant de communiquer de toutes les pièces ou étages,
vers l'office ou les serviteurs ou le gardien doivent être à
l'écoute.
Dès les années 1860, de nombreuses maisons
installent des « tubes acoustiques».
Les appartements bourgeois sont en effet traversés par ce «
ver solitaire de la maison [qui] rampe sous les planchers, sallonge
dans les angles, traverse les placards» pour porter les sons en
silence. Les manuels de savoir-vivre les recommandent dans les grands
appartements et les hôtels particuliers où, depuis le salon
ou la salle à manger, la maîtresse de maison donne «
ses ordres, sans même que ses convives sen aperçoivent».
sommaire
La serrure électrique
Plus tardivement à la fin des années 1880, le Larousse
signale la nouveauté, développée notamment par
la maison Fichet rue Richelieu, à la rubrique « Serrures
électriques » : « On construit des serrures
électriques dans lesquelles le pêne est actionné
par un électroaimant par lintermédiaire dun
ressort spiral qui tend à retirer le pêne de la gâche
; quand la porte est refermée, un butoir adapté au montant
de la porte ramène le pêne dans la gâche est réenclenche
le ressort sur larmature de lélectro. Généralement,
on préfère prendre la disposition contraire : la gâche
est mue électromagnétiquement ; il faut en effet un moindre
effort pour ouvrir la porte. »
Dans les années 1890, le système est simplifié
grâce à la bonne tenue des piles électriques dans
la durée mais aussi, dans quelques immeubles, de la conversion
par transformateur du courant alternatif en courant continu. Le passage
du courant maintient alors la porte cochère fermée et
une simple pression sur un interrupteur permet dinterrompre le
courant et de libérer le pêne. Les traités darchitecture
recommandent cet élément du confort moderne qui permet
un contrôle permanent et discret sur la porte daccès
dun immeuble.
Dans le courant des années 1900, les systèmes se multiplient
à linstar du dispositif de Prenzler & Sohn «
qui sert à maintenir les clenches de portes de tous genres dans
leur position de fermeture et qui permet den opérer le
déclenchement dun endroit quelconque par un bouton électrique.
[
] Une personne ayant sonné à la porte dentrée
munie de ce dispositif, on opère le déclenchement en poussant
à lintérieur de la maison sur bouton électrique,
placé à un endroit quelconque et relié au dispositif
.
Commande électrique à distance douverture de porte
pour concierge. Planche extraite du catalogue du Bazar électrique,
34 boulevard Henri IV, vers 1905. Henry de Graffigny (Tout le monde
électricien, Paris, Méricant, 1911) note : « On
trouve dans toutes les maisons vendant des appareils électriques
de toute espèce, des gâches à fonctionnement automatique
par le jeu dun électro-aimant agissant sur le pêne
mobile. Ce système, qui sapplique surtout aux portes cochères
est beaucoup plus sûr quun système à tirage,
dont le fil de fer peut se rompre dans la traversée des murs.
Lappareil se pose comme une serrure ordinaire et lon prend,
comme conducteur de courant, un câble sous plomb à deux
conducteurs, qui peut passer sous terre ou suivre les murs jusquau
bouton de contact, placé ordinairement dans la loge du concierge.
[
] Cette dernière permet de se prémunir contre les
importuns, les indiscrets, et surtout de protéger les habitations
contre les exploits des cambrioleurs. »
Les électro-aimants à lintérieur du dispositif
attirent alors le cliquet jusque contre un pivot darrêt
et en même temps retentit la sonnerie électrique.
Les archives de la gestion des immeubles de rapport du 12 rue du Rocher
comme de ceux du docteur Vimont, avenue Philippe-Auguste, montrent que
ces systèmes se généralisent à toutes les
constructions, jusque dans les immeubles modestes de la moyenne et petite-bourgeoisie.
Ces systèmes sont dautant plus employés quils
permettent, associés à des grooms, une fermeture quasi
instantanée des portes et, la nuit venue, louverture de
la porte cochère par les visiteurs eux-mêmes, sans laide
de clés, grâce à des interrupteurs placés
au devant de la loge, dans le vestibule .
sommaire
Les sonnettes électriques
Pour la communication à l'intérieur des maisons et appartements,
les systèmes électriques en loccurrence les
sonnettes concurrencent les tubes acoustiques dès les
années 1860 et lemportent dans les années 1880.
Un simple dispositif de piles sèches, de fils, un interrupteur
sur rue et un timbre dans la loge permet de se signaler au concierge.
Avant la sonnette électrique, des dispositifs
mécaniques complexes devaient sans grincement activer des clochettes
dans lantichambre ou la cuisine visent bien à préserver
le self-control des habitants et la neutralité complète
des domestiques qui sont ainsi censés ne pas avoir besoin de
parler.
Dès 1880, dans son article sur les « sonnettes dappel
», Ernest Bosc note que si le système est « très
connu », il « est de plus en plus remplacé par des
sonneries électriques ». En réalité, le développement
des sonneries électriques remontent aux années 1850.
La mise au point daccumulateurs stables et capables de ne pas
se décharger malgré un usage intermittent amène
un développement des systèmes de sonneries électriques.
Tous les traités théoriques saccordent pour en attribuer
la paternité au prestidigitateur Robert-Houdin qui dans la seconde
partie des années 1840 installe chez lui des sonneries électriques
associées à des tubes acoustiques afin déviter
les importuns. Prestidigitateur et électricien amateur, il fait
le récit de ces expériences domestiques dans ses Mémoires
: « Il sagissait de distinguer les bons visiteurs des mauvais.
Voici la combinaison que jimaginai. Lorsquun de ces messieurs
sonnait à ma porte, une communication électrique faisait
également sonner un timbre placé dans mon cabinet de travail.
Jétais averti et me tenais sur mes gardes. Mon domestique
ouvrait et ainsi que cela se pratique dordinaire, il demandait
le nom du visiteur. Moi, de mon côté, jappliquais
loreille à un instrument dacoustique disposé
à cet effet et qui me transmettait les moindres paroles de linconnu.
Si, daprès sa réponse, je jugeais convenable de
ne pas le recevoir, je pressais un bouton
et un point blanc qui paraissait dans un endroit convenu du vestibule
voulait dire que je ny étais pas.
Mon domestique annonçait alors que jétais absent.
Il marrivait bien quelquefois de me tromper dans mes appréciations
et de regretter davoir accordé audience, mais javais
un autre moyen dabréger la visite de limportun. Javais
pratiqué, derrière le canapé sur lequel je masseyais,
une petite touche électrique correspondant à un timbre
que pouvait entendre mon domestique. En cas de besoin et tout en causant,
jallongeais négligemment le bras sur le dos du meuble où
se trouvait cette touche, je la pressais et le timbre résonnait
dans la pièce voisine. Alors mon domestique, jouant une petite
comédie, allait ouvrir la porte dentrée, tirait
la sonnette que lon pouvait entendre du salon où nous nous
trouvions et venait ensuite mavertir que M. X
demandait
à me parler. Jordonnais que M. X
fût introduit
dans le cabinet du salon, et il était bien rare que limportun
ne levât pas le siège. On ne peut se faire une idée
du temps que me fit gagner cette bien heureuse organisation. ».
Il est significatif quun
des plus importants prestidigitateurs du siècle, spécialisé
dans lescamotage, soit à la origine de la mise au point
de la nouvelle chorégraphie du privé par lélectricité.
Les sonneries électriques arrivent dans les intérieurs
bourgeois dans le courant des années 1850.
Le désir de voir des systèmes électriques de commande
efficaces est visible du côté des inventeurs et des fabricants.
Les brevets se multiplient dès 1855. Théodore du Moncel
fait le bilan en 1859 des systèmes de « sonneries électriques
employées dans léconomie domestique » commercialisés
en 1857 et 1858 et notamment des systèmes développés
à partir des accessoires de Mirand, lun des premiers à
commercialiser les sonneries électriques dabord développées
à des fins publicitaires.
Dès les premières mises au point, on enregistre de nouveaux
usages. Tout dabord, un système de réponse «
destiné à faire connaître à celui qui sonne
si le domestique ou lemployé qui a été appelé
se trouve présent, ou tout au moins sil a entendu lavertissement.
»
Le nouveau système de M. de Vigand, exposé par de Moncel,
« ne peut servir que pour les maisons où il y a constamment
une personne occupée dans les environs de la sonnerie dappel.
Dans les petites maisons où un seul domestique doit tout faire
et peut, par conséquent, se trouver en tout autre endroit du
logis quà celui où est installée la sonnerie,
ceux qui font usage dun pareil transmetteur sexposent souvent
à sonner inutilement, dans les moments où le domestique
est éloigné [
]. Pour obvier à ces inconvénients,
jai imaginé un nouveau transmetteur qui, une fois touché,
remonte lui-même la plaque de réponse et met la sonnerie
en mouvement jusquà ce que le domestique ait répondu
en provoquant labaissement de la plaque de réponse qui
avait été remontée. »
Des versions plus simples un ensemble daccumulateurs, des
boutons interrupteurs et un réseau de fils sont commercialisés
largement dès le début des années 1860. Ils sont
encore disséminés dans le commerce : chez les opticiens,
les tapissiers, des serruriers et les rares électriciens. Cependant
quelques maisons spécialisées voient le jour et entreprennent
de larges campagnes publicitaires dans la presse généraliste.
Dans Le Figaro, Le Tintamarre et lAlmanach impérial, André
Herman et Cie propose des « Sonnettes et tableaux électriques
pour hôtels et maisons particulières » et Jarriant
et Cie des « nouveau système de sonnettes, tableaux dappel,
thermomètres contre lincendie et appareils électro-médicaux
». Plus de dix maisons se consacrent exclusivement à ces
installations de communications intérieures pour les particuliers,
les fabriques et les magasins. Ces techniques se diffusent rapidement.
Le Traité général des applications de lélectricité
de Michel Gloesner, publié en 1861, sattache à faire
un état des dispositifs électriques efficaces dans lespace
domestique : « Les seules sonneries quon puisse employer
utilement pour divers services domestiques, sont celles qui fonctionnent
sans relais et sans mouvement dhorlogerie par la seule action
du courant électrique. MM. Froment, Mirand, Bréguet, Hardy
et Florimond en ont construit, chacun daprès leurs vues
particulières, qui satisfont à la condition mentionnée.
[
] Le système de M. Mirand est, je crois, le plus généralement
répandu jusquici. »
La généralisation des sonnettes électriques actionnées
par des électro-aimants et des piles stables des maisons
Grelet et Leclanché notamment favorise linsertion
domestique de ces dispositifs. Michel Gloesner explique ce succès
grandissant : « Il est facile de comprendre les avantages que
présentent les applications des sonneries électriques
dans des habitations [
]. On installe les sonneries sans levier
et sans bascule ; les fils conducteurs peuvent être masqués
à la vue, et suivre tous les détours imaginables sans
exiger le percement ni dun mur ni dune porte. Les appels
se font à de grandes comme à de petites distances. Les
fils sont en cuivre denviron un millimètre dépaisseur,
enveloppés de gutta-percha, laquelle est recouverte elle-même
de soie ou de coton dans les endroits où lhumidité
pourrait pénétrer à travers la gutta-percha. La
pose des fils est aussi prompte que facile. Lorsque des trous de sonnettes
se trouvent déjà pratiqués dans les appartements
ou les bâtiments où on les établit, on en profile
pour diminuer létendue des parcours, mais, si ces trous
nexistent pas ou sils sont difficiles à percer, il
suffit de conduire les fils vers les portes ou les fenêtres, et
de leur faire suivre, pour les franchir, les encadrements. Leur ténacité
est telle quils ne nuisent en aucune manière au mouvement
des fermetures. » Il faut ajouter que les fils se dissimulent
beaucoup plus facilement que les tringles derrière les tentures
et sous les tapis qui habillent les intérieurs.
La très rapide diffusion de ces dispositifs sexplique dans
la mesure où ils se substituent exactement aux systèmes
mécaniques.
Les actes de ventes de propriétés dans les années
1860 tout comme les annonces immobilières détaillées
précisent la présence « dinstallations de
sonneries électriques » même si piles et sonneries
sont le plus souvent encore à la charge des locataires. En 1868,
le pédagogue Louis Figuier qui sappuie sur le quotidien
pour vulgariser les sciences indique lextension de cette technique
: « Nous arrivons à la manière de faire agir les
sonnettes des appartements et maisons, au moyen de lélectricité.
Cette application de lélectricité, qui a commencé
à être en usage en Amérique, est aujourdhui
très-répandue en France et en Angleterre. Tout le monde
connaît les inconvénients des sonnettes domestiques, qui
sont mises en jeu par des fils de fer, pourvus, en certains points,
de leviers coudés, pour suivre les sinuosités des appartements
ou des étages, et qui passent à travers les murs et les
planchers. Ces inconvénients sont nombreux. Les fils de fer se
rouillent dans les lieux humides, et ils se cassent. Sallongeant
lété, ils se raccourcissent lhiver, par les
variations de température, et se brisent assez fréquemment
par cette cause. Ils obligent à percer des trous assez volumineux,
et qui sont désagréables à lil : les
leviers de réflexion sont apparents et dun effet qui nest
pas non plus agréable. Enfin, on ne peut établir ces fils
au-delà de certaines limites de distance ou de sinuosités
dans le parcours. Les sonnettes électriques sont exemptes de
tous ces inconvénients. Il nest pas besoin de leviers coudés
pour faire suivre aux fils toutes les inflexions des bâtiments.
Très minces, ces fils peu-vent être facilement dissimulés,
et on les recouvre, pour isoler le fluide qui les parcourt, dune
soie qui est de la couleur des pièces à traverser. Enfin,
on peut les faire passer dun étage à lautre,
dun appartement à lautre, au moyen dun trou
presque imperceptible. Ajoutons que ces sonnettes fonctionnent à
travers toutes les distances, et nous aurons énuméré
leurs avantages principaux. Rien de plus simple que le mécanisme
des sonnettes électriques. [
] Lappareil de tintement
employé dans les sonnettes électriques dappartement,
nest autre chose que le trembleur de Neef. Il est contenu dans
une boîte de bois carrée, qui ne laisse apparaître
au dehors que le timbre et le marteau. Deux fils de cuivre partent de
chaque extrémité de lappareil, et aboutissent aux
deux pôles dune pile voltaïque établie dans
une autre pièce de lappartement, dans un vestibule, dans
la cave, ou dans la cour. » Deux piles remportent alors les suffrages
des propriétaires et des locataires, la pile de Marié-Davy,
« formée de sulfate de plomb et de sel marin, séparés
par un vase poreux » et la pile Grenet à « sulfate
de mercure » ; le première ne doit être entretenue
« que de deux mois en deux mois », la seconde « seulement
tous les six mois ». « Les constructeurs qui ont établi
les sonneries, précise Figuier, entretiennent les piles pour
le client, pour un abonnement annuel de vingt-cinq francs, si le nombre
des couples de la pile de Marié-Davy ne dépasse pas douze
». Il faut ajouter à ces deux la pile Daniell dit «
ballon ». « Les frais détablissement souligne
encore Figuier des sonneries électriques sont, en général,
moindres que ceux des sonnettes mécaniques, quand les distances
à franchir sont un peu grandes. Comme un exemple particulier
peut seul fixer les idées à cet égard, je dirai
que létablissement dun réseau de sonnettes
électriques dans une maison à trois étages [
]
a coûté 350 francs. » Une installation ordinaire
dans une maison de 3 étages ou un appartement bourgeois parisien,
le nombre de boutons est estimé à 16 : une dans la salle
à manger, une dans le salon, une dans le cabinet de travail,
une dans la bibliothèque, une dans chacune des chambres à
coucher et, parfois, une dans la salle de toilette. Le Dictionnaire
desarts et manufactures de 1868 note que presque partout, dans les grands
établissements comme chez les
particuliers, les « signaux électriques » se sont
substitués à « lancien système de sonnettes
».
Les romans, de Zola à Bourget, bruissent de sonneries électriques
qui ne cessent dannoncer les entrées en scène, de
troubler lordre domestique et de manifester lemprise des
maîtres sur les domestiques. Le théâtre se saisit
de ces nouveaux objets et lintègre même en temps
objet narratif comme la pièce Les sonnettes dHenri Meilhac
et Ludovic Halévy, emblématique. Elle met en scène,
« à Paris de nos jours », deux chambres de domestiques
au 6e étage, lune occupée par un valet, lautre
par une bonne à tout faire. Toute lintrigue se construit
sur les coups de sonnettes et les allers et venues des domestiques avec
les étages inférieurs. Les habitants du premier napparaissent
jamais « rôle muet » notent les auteurs dans
les didascalie et nexistent que par les sonnettes, tantôt
« insistantes » ou « appuyées » qui laissent
deviner des maîtres tyranniques. Les auteurs précisent
: « On emploie au Théâtre des Variétés
des sonnettes électriques, mais on peut les remplacer par des
sonnettes ordinaires.
Ces sonnettes devront être apparentes et dun timbre très
différent. » La publicité pour ces systèmes
est partout dans les quatrièmes pages de la presse généraliste
et notamment celle des maisons Boivin et Secrétan. Les quelques
contrats de ventes dimmeubles confirment cette extension. Lorsque
la Veuve Monroe vend son immeuble du 11 rue La Pérouse dans le
16e arrondissement, immeuble récent, les fils électriques
pour sonneries courent dans tout limmeuble et les sonneries sont
présentes dans les cuisines et les pièces de rejets alors
que les boutons dappels et les poires sont dans les chambres,
les salons et les boudoirs. En 1880, la famille Bordes avec ses deux
domestiques fait équiper, en plus des sonnettes mécaniques,
lensemble de son appartement par ce réseau électrique
devenu nécessaire.
Dès 1877, le Cosmos, revue des sciences et de leurs applications
présentent ces réseaux comme « ordinaires ».
Ces systèmes se généralisent dans les années
1880. Le Dictionnaire de larchitecture publié par Ernest
Bosc entre 1878 et 1880 indique que les sonnettes traditionnelles sont
« maintenant [
] largement supplantées par lélectricité
», dautant que les systèmes sont simples : des fils
de cuivre couverts de gutta-percha et de coton, une pile électrique,
« un timbre, une clochette ou un grelot » selon le son recherché
et un bouton ou un « cordon de tirage ». Louise dAlq,
attentive à cette mécanique du privé note dix ans
plus tard : « La mode des sonnettes commence à passer ;
depuis quelques années, on avait remplacé les cordons
de sonnette et les fils de fer par des boutons électriques. »
La Lumière électrique consacre le système en 1884
et enregistre sa généralisation. La revue note que le
succès vient de la généralisation de piles sans
entretien et que deux piles suffisent dorénavant à alimenter
un
système de sonneries dans un appartement. Les sonneries plus
élégantes peuvent safficher, dautant que des
maisons comme Bréguet en proposent de luxueuses. La revue donne
un modèle dinstallation générale : «
Cas dune installation générale. Dans le vestibule,
une sonnerie actionnée par le bouton de la porte principale et
une autre de timbre différent lorsquon ouvre la porte de
service ; dans la cuisine,une sonnerie fonctionnant sous linfluence
des boutons de la salle à manger, du salon et du bureau, et une
autre de timbre différent mise en mouvement sous linfluence
des boutons des chambres à coucher ; dans la chambre de bonne,
une sonnerie actionnée par les boutons des chambres à
coucher. »
[
] « Pour la cuisine par exemple, on pourrait navoir
quune sonnette, marchant en trembleuse sous laction des
boutons du bureau et du salon, et fonctionnant à un seul coup
par le contact de la salle à manger ; les domestiques étant
toujours dans la cuisine pendant le repas, lappel à un
coup est toujours suffisant. [
] des sonneries à timbres
différents mais il faut alors que la différence soit bien
nette, car lorsquil nen est pas ainsi, les domestiques saisissent
difficilement la nuance. » Les piles sont soit stockées
dans les caves pour les appartements de lentresol et du premier
étage, soit dans le faux plafond de lantichambre. Bien
avant lextension de lélectricité pour léclairage
et plus encore avant la mise en réseau, les « communications
électriques » se généralisent.
Dès les années 1880, plus de trente maisons
spécialisées proposent ces systèmes à Paris.
Publicités et manuels techniques insistent dorénavant
sur la facilité de pose, dentretien et demploi de
ces systèmes de communication. Jusque dans les manuels dhygiénistes
et de savoir-vivre, la technique trouve une place. Le Dr Rengade, soucieux
dune bonne économie domestique, sarrête sur
ces installations nouvelles : « À très bon marché,
lon trouve aujourdhui, dans le commerce, des sonneries électriques
munies de tous leurs accessoires, et dont la pose ne présente
aucune difficulté. Dun couple déléments
Leclanché, placés dans une armoire, on fait, pour cela,
partir deux longs fils conducteurs enduits de bitume et couverts de
coton »
Installation de sonnerie électrique dappartement. La
Lumière électrique, 1884
Parfois il y avait une sonnette de majordome , c'est un bouton électrique
fixé dans le plancher (typiquement sous une table de salle à
manger) et que le maître actionne lair de rien, du bout
du pied, pour appeler ledit majordome. Pratique, quand on a des invités
à divertir et quon ne veut pas sinterrompre dans
sa conversation...
Les premières sonneries électriques peu
à peu disparaîtront les larges cordons de sonnettes en
tapisserie, réveillant de lointaines clochettes.
sommaire
En 1887, Édouard Hospitalier, électricien lui aussi très
attentif aux applications domestiques, se félicite des installations
qui mettent en relation le concierge et les étages par la téléphonie
électrique, notant cependant que « le cas le plus général
est celui de deux postes reliés entre eux dune manière
permanente », ce qui veut dire quun nombre très réduit
dappartements sont en liaison avec la rue ou la loge.

« Aménagements de lhabitation. Lélectricité
domestique ». Dr Jules Rengade, Les besoins de la vie et les éléments
du bien-
être. Traité pratique de la vie matérielle et morale
de lhomme dans la famille et la société
, Paris,
À la librairie illustrée, 1887
Lhygiéniste Rengade note, en 1887, à
propos de la pièce de bureau quelle « doit être
silencieuse et par conséquent isolée ; aussi [
]
est-il indispensable de la rattacher à lantichambre par
une sonnerie électrique, ou mieux encore par un tube acoustique
qui permette au maître de la maison dappeler un domestique
[
] sans se déranger». Les comptabilités privées,
vers 1900, indiquent encore linstallation de cordons acoustiques
partant du salon, de la salle à manger et du bureau vers les
offices et lantichambre.
Dans leur immeuble de rapport, les Aubry font régulièrement
autour de 1900 « réparer la sonnette, les fils, etc. de
la porte cochère » par leur serrurier Pierre, qui soccupe
des serrures mais aussi des dispositifs dalarmes et de sonneries.
Avenue Philippe Auguste, Marchand, serrurier, vient réparer le
timbre et le cordon électrique qui va de la loge à lextérieur.
Dominant dès les années 1880, ce système a linconvénient
de maintenir le contrôle de visu mais assimile du même coup
lentrée dans limmeuble à lentrée
dans la sphère domestique puisque dans le même temps les
portes des appartements se garnissent de ces boutons et timbres.
Le succès de ces dispositifs tient aussi à la présence
dans le même local de piles destinées à maintenir
lélectro-magnétisme des pênes ; une seule
pile sert ainsi à maintenir la porte close et à signaler
toute visite.
Enfin, louverture des portes cochères à distance,
achève de faire disparaître le concierge.
En 1891, La Nature donne la description dun système qui
permet de combiner « appel par la sonnerie et ouverture de la
porte à distance » : « Bien des dispositions ont
été imaginées dans le but de réaliser une
serrure électrique simple destinée à louverture
à distance des portes dentrées des maisons en utilisant
les piles déjà installées pour le service des sonneries.
On sest buté jusquici à des combinaisons très
compliquées et, par suite, délicates et coûteuses.
» Le système présenté, peu coûteux,
se diffuse lentement autour de 1900.
Chez les Aubry, cest la Société anonyme délectricité
et dautomobiles, Mors, qui « réinstalle »
entièrement lhôtel en 1902, remplaçant une
installation existante mais vieillissante. La « chambre de Madame
» est équipée avec une poire « au lit »
et une rosace puis quelques mois plus tard, cest la « chambre
de Monsieur » : les fils conduisent au 4e étage, là
où demeurent les domestiques. Les poires en acajou actionnent
des
« grelots » et le tout est alimenté de « 2
éléments complets Leclanché n°3 ».
Les sonneries, en se multipliant, conduisent tout comme la voix à
la cacophonie. Avec lélectricité, la codification
de ces signaux apparaît possible. Le système le plus simple
consiste à installer des sonneries qui une fois déclenchées
ne cessent de sonner que lorsque le domestique actionne à son
tour un bouton ou un isolateur. Ce moyen sommaire permet de sassurer
que les domestiques sont disponibles mais ne suffit pas à communiquer
des ordres clairs et encouragecomme les sonnettes mécaniques
à des va-et-vient incessants dans lappartement ou entre
les étages.
Michel Gloesner, observateur enthousiaste des progrès domestiques
de lélectricité, envisage un système où
les sonneries deviennent le moyen de communiquer des messages précis
aux domestiques et aux concierges par un système codé
à base « de deux sons différents de timbre, combinés,
comme le sont le point et le trait dans lalphabet du télégraphe
à écrire, pour le service dun intérieur de
maison » ...
Le système concurrent ou « tableau indicateur » lemporte
vite par son efficacité. Dès le milieu des années
1850, les tableaux indicateurs développés notamment pour
les chemins de fer rejoignent les grands hôtels puis les appartements.
A la fin des années 1850, quantité de modèles sont
commercialisés pour les appartements comme le proclament les
publicités des deux grandes maisons spécialisées,
André Herman et Cie et Jarriant et Cie403. Plus de trente brevets
sont déposés pour ces boîtiers placés dans
les cuisines ou les chambres de domestiques à de rares
exceptions dans les antichambres et qui, en silence, communiquent
des ordres à distance. Figuier attentif à ces techniques
du quotidien note en 1868 que les fabricants ont « apporté
à ce système de sonneries un perfectionnement remarquable,
en imaginant un tableau indicateur, qui avertit le domestique du numéro
de la chambre ou de létage de la maison qui a appelé.
» La lumière électrique qui se passionne pour les
systèmes télégraphiques domestiques précise
qu« on évite dailleurs les erreurs par lemploi
des tableaux indicateurs. Tel quon le construit généralement
en France, le tableau indicateur se compose dune boîte fermée
à sa partie antérieure par une vitre noircie, mais dans
laquelle on ménage autant de fenêtres quil y a de
boutons dappel. Derrière chaque fenêtre est placé
un système composé de deux petits électro-aimants.
Entre les deux, est suspendue une armature polarisée. [
]
Elle indique par son numéro dordre quel bouton a été
pressé. » Sur quantité de tableaux indicateurs,
les sonneries qui por-
tent de plus en plus souvent la désignation de la pièce
doù le bouton est pressé, affirment la dissymétrie
de la relation : elles sonnent tant que les domestiques ne pressent
pas un bouton ...
sommaire
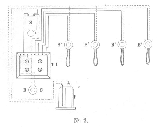
Dès 1878 arrive la version plus moderne de téléphones
privés, qui s'adapte facilement sur les réseaux
de sonnettes.

Appareil de téléphonie privée pour mise en relation
avec le concierge et entre les pièces dun appartement ;
en bas, tube acoustique. Catalogue Au Châtelet, établissements
Allez frères, vers 1900.
A droite Installation de téléphonie domestique avec
une conciergerie, (Lélectricité dans la maison,
Paris, G. Masson, 1887).
La pile, généralement installée chez le concierge,
permet au « locataire au troisième, en correspondance permanente
avec le concierge, dépargner bien des étages à
ses visiteurs en cas dabsence, et congédie facilement les
importuns, avantages qui méritent dêtre pris en sérieuse
considération ». Les installations sont peu coûteuses,
de 8 à 50 francs dans les années 1880. Elles sont dautant
plus simples, notamment avec le système Trouvé, que seul
un appareil est émetteur, les autres postes « ne doivent
jamais appeler, pour un domestique par exemple ». Le Dr Rengade
recommande
aux bourgeois moyens les « téléphones domestiques
», peu chers et « faciles à installer ». En
1887, Louise dAlq signale et recommande un usage des téléphones
domestiques dont on peine à mesurer la diffusion : un écouteur
de téléphone est dissimulé dans le lustre de la
salle à manger de sorte que les domestiques, depuis la cuisine,
sont en permanence à lécoute de lavancée
du repas et que la maîtresse de maison peut passer des ordres
sans que les convives ne sen aperçoivent. Dans les années
1880, les installations téléphoniques sont encore parcimonieuses
: dans le programme
de la rue Marbeuf, on ne trouve quun téléphone au
pied de chaque montée descalier afin dappeler dans
les étages. Les installateurs de téléphonie domestique
sont nombreux à la fin du siècle : téléphonistes,
électriciens et serruriers affichent quasiment tous cette spécialité.
Au début du siècle, le téléphone qui met
en relation lappartement avec le concierge apparaît ordinaire,
même dans les immeubles de la petite bourgeoisie, comme ceux du
Dr Vimontmais les installations particulières dans un appartement
apparaissent plus rares. Dans les comptabilités privées,
seuls les Aubry font installer un système qui mobilise 12 mètres
de fils pour relier les pièces de leur hôtel particulier.
Il a été fabriqué une multitude de petits téléphones
pour les réseaux domestiques :
Metaphone
Bouton telephone
La poire microtéléphonique de E. Figuera, Brevet 1891
Et aussi Ducrotroy
...
Voir en fin de page plus de détails sur ce genre de téléphone
 
En un mot, cest la transformation, à très
peu de frais, dun réseau de sonnerie existant en réseau
téléphonique.
Si nous examinons les figures nous voyons que les deux boutons dappel
bb ont été remplacés, purement et simplement, par
les boutons-téléphones Bi,B2. En plus, à proximité
de la sonnerie, on a placé un bouton téléphonique
spécial (sans bouton dappel). Et cest tout.
Lhygiéniste Jules Rengade qui recommande absolument lusage
de sonnettes électriques combinées à des pênes
et des gâches électro-magnétiques insiste sur le
coût modique dun équipement de « téléphonie
domestique » et sur la facilité dinstallation.
Les travaux dentretien des immeubles du Dr Vimont attestent la
diffusion de ces installations : la « colonne montante de fils
» va de la loge du concierge jusquaux chambres de bonnes
en pénétrant dans chaque appartement..
Ces systèmes sont doubles : ils servent les communications horizontales
au sein des appartements sur lesquelles nous reviendrons mais aussi
les communications verticales entre les appartements et la loge. Dans
le cas précis, des timbres à tous les étages permettent
de sonner afin de prévenir dune visite et en retour de
commander la venue du concierge ; pour le seul premier étage,
un appareil téléphonique permet de passer commande ou
de refouler un visiteur non souhaité.
Les nouveaux bâtiments, mais aussi rapidement les anciens, intègrent
ces dispositifs de contrôle à distance de laccès
à limmeuble. La mise à distance de la rue apparaît
bien comme une des conditions du sentiment de confort ; il ne sagit
pas seulement dinterdire laccès des immeubles à
des indésirables mais de construire une césure nette entre
lespace public toujours plus dédié à la circulation
et lespace du privé, la porosité entre ces deux
espaces au niveau de la rue étant le fait des quartiers populaires
ou des quartiers industriels.
sommaire
En 1889, Julien Lefèvre, auteur de "lÉlectricité
à la maison", enregistre le succès des « home-téléphone
» : un tableau indicateur indique létage qui appelle
et un système téléphonique permet dentendre
les requêtes des étages.
Le poste de service « qui na en général pas
besoin dappeler les autres » ne sert quà enregistrer
des commandes ; le succès du téléphone domestique
à léchelle de limmeuble est possible à
condition quil demeure un outil de commande ; seule une sonnerie
peut être activée par le concierge dans les antichambres
des étages.
De forme élégante, lappareil est facile à
poser et sadapte immédiatement en remplacement de toutes
les installations de sonnerie déjà existantes, sans rien
changer au câblage des fils.
Tableau indicateur pour appeler le concierge. Système de «
Home téléphone », gravure extraite de Julien Lefèvre,
Lélectricité à la maison, Paris, Baillière
et fils, 1889, p. 163.
Ce modèle vient s'ajouter à une installation de sonneries
déjà existante. Il est simple et d'une construction robuste,
ne se dérègle pas et convient parfaitement aux installations
domestiques....
 |
Le microphone de CHARLES CLAMOND
brevet N° US372455 du 1 novembre
1887.
CHARLES CLAMOND, citoyen de la République française,
a inventé certaines améliorations nouvelles et utiles
aux microtéléphones (brevetées en France le
14 août 1886, n° 177 967, et en Belgique le 23 février
1887, n° 76 460).
C'est un émetteur à électrodes multiples, utilisant
des billes de carbone au lieu de crayons ou de pendentifs. A représente
le diaphragme vibratoire en carbone ; B une plaque de carbone comportant
un certain nombre de cavités cylindriques. Une bille de carbone,
s, est insérée librement dans chaque cavité.
La profondeur des cavités est légèrement inférieure
à la moitié du diamètre des billes, et le diaphragme
est placé à l'avant de la plaque de sorte que les
billes, suivant leur tendance à rouler hors des cavités,
reposent contre sa surface intérieure et également
sur les bords de ces dernières |
Société HOME TELEPHONE 9 rue de l'Opéra
75001 Paris
Parmi les types d'installations téléphoniques
réalisées par Ader, il faut noter la téléphonie
domestique, destinée à fonctionner dans les maisons, les
hôtels ou les administrations. Ader décrit le fonctionnement
de son installation et apporte des précisions intéressantes
qui permettent de comprendre les rapports maîtres - serviteurs
de son époque :
Pour se servir de l'appareil : le Maître depuis son appartement
sonne une fois s'il veut la présence d'un domestique ; si c'est
pour lui parler il sonne deux fois ; dans ce cas le domestique prend
le téléphone au tableau et écoute les ordres qui
lui sont donnés. Les allées et venues des domestiques
sont diminuées et les Maître ssont bien plutôt servis.
Quand le Maître désire être appelé, le domestique
appuye sur le bouton correspondant et sur le bouton d'appel ; il seproduit
alors dans le téléphone de l'appartement des toc-toc semblables
à ceux que l'on fait en frappant contre une porte. Cela est bien
moins incommodant qu'unesonnerie, insupportable d'ailleurs dans un appartement.
Donc,pour les appels : bruyants pour les domestiques et discrets pour
les Maîtres.
Le système est disposé de telle sorte que depuis tous
les appartements on peut entretenir une conversation de famille et sans
qu'il soit possible à un domestique de commettre des indiscrétions
au tableau, car en écoutant il couperait les lignes et par suite
la conversation .
Ce dispositif sera amélioré, modernisé
aux Etats-Unis et en 1892 la marque commerciale de la Western
Electric Company pour les téléphones d'intercommunication
est appelé « Inter-Phones » ( Consultez
la page Interphone ).
En 1908, lélectricien Blanchon recommande
aux propriétaires qui doivent conduire des travaux lusage
dun système où « les boutons, au lieu dêtre
à la porte du logement sont placés à la porte dentrée
avec indication, au-dessus, du nom du locataire et de létage
».
Si ce dispositif semble rarissime dans lespace urbain davant-guerre,
sans doute à cause des sonneries intempestives, il dit le désir
de passer outre la présence du concierge. Par leffacement
de cette médiation, se creuse ainsi la distance physique entre
la rue et lappartement. Le simple du portier devenu concierge
ne semble plus suffire à partir des années 1860. Les nouveaux
bâtiments, mais aussi rapidement les anciens, intègrent
ces dispositifs de contrôle à distance de laccès
à limmeuble. La mise à distance de la rue apparaît
bien comme une des conditions du sentiment de confort ; il ne sagit
pas seulement dinterdire laccès des immeubles à
des indésirables mais de construire une césure nette entre
lespace public toujours plus dédié à la circulation
et lespace du privé, la porosité entre ces deux
espaces au niveau de la rue étant le fait des quartiers populaires
ou des quartiers industriels.
La césure va jusquà la disparition du corps
du concierge, plus que jamais retenu dans sa loge, loin du portier-savetier
de la première moitié du siècle. Par le jeu des
boutons électriques et parfois des téléphones,
les appartements deviennent des îlots, radicalement coupés
de la rue.
sommaire
1880 Arrive lascenseur, cette machinerie
de pistons, de graisse, de moteurs et de cordes, venue du monde du travail,
gagne tous les beaux quartiers, immeubles dhabitation comme de
bureaux. Elle devient le signe et lemblème des beaux quartiers
haussmanniens. Dès 1883, Le Magasin pittoresque souligne qu«
un ascenseur indique que nous sommes dans le nouveau Paris». Les
annonces immobilières précisent si les immeubles possèdent
leau et le gaz à tous les étages et aussi un ascenseur1.
Le Journal des débats peut écrire en 1896 :
" dans les beaux quartiers, il ny a pas
de jours où lon nentende une locataire dimportance
se plaindre à son propriétaire : « un ascenseur
ou mon congé ». [
] Aujourdhui, dans une maison
qui se respecte, les escaliers ne doivent plus être quun
objet dornement. Lascenseur, léclairage électrique,
les calorifères ; mais cest le moins que lon puisse
exiger dun propriétaire ! Encore quelques années,
et il faudra le téléphone, le théâtrophone,
le cinématographe"...
sommaire
Létude des intérieurs retient généralement
le surgissement des objets techniques dans lespace du privé
comme le signe dune appropriation de la nouveauté. Cette
approche a notamment été mise en uvre pour mesurer
la pénétration de lélectricité ou
encore de la téléphonie dans les espaces privés.
Lhistoriographie fonctionnaliste et moderniste qui prend ses racines
pour létude de la technique chez des auteurs comme Siegfrid
Giedion, a fait, des catalogues de fabricants, les archives de la diffusion
domestique de la « mécanisation » synonyme
englobant de modernité technique du privé, la première
marche vers la mutation technique des espaces domestiques.
Or,la bourgeoisie du XIXe siècle sefforce de faire de ses
appartements des espaces anachroniques. Les images dintérieurs
même après 1880 le montrent assez : les objets techniques
napparaissent que très rarement à nu.
Dans lespace privé, la technique est obscène ; elle
ne se donne à voir que dans les espaces de service cuisine,
water-closet et parfois salle deau. Pour le reste, la technique
est dissimulée aux regards des visiteurs comme des habitants
eux-mêmes.
Ainsi est résolue la tension entre désir
du confort apporté par les objets techniques et désir
dhistoire est au cur de lactivité des tapissiers.
Entre les mains des tapissiers, les assises Renaissance et les prie-dieu
se couvrent de ressorts métalliques élastiques et de capitons,
les tables Louis XVI sont augmentées de rallonges amovibles,
les secrétaires Louis XV sont agrémentés de battants
articulés, les potiches anciennes deviennent des jardinières,
les consoles sont montés sur roulettes et les cheminées
renaissance sont équipées de bouches de calorifères.
En 1883, Guy de Maupassant raille cette discordance des temps : «
le Vieux gâte notre temps, car il suffit quune chose soit
ancienne pour quon laccroche aux murs avec prétention.
Un homme du monde se croirait deshonoré sil ne couchait
dans un lit de chêne vermoulu, piqué des vers, incommode
[
]. Les chaises, les fauteuils, les armoires, tout est vieux,
et laid ; quoi quon prétende, tout cela est incommode et
grotesque en notre temps de vie pratique et de lumière électrique.
Un siège à la Dagobert ou un casque à la Don Quichotte,
au-dessus dun téléphone, me paraitront toujours
des choses risibles. » Cette « incommodité »
est corrigée par les tapissiers. Les annuaires publicitaires
des années 1900 comportent plus dune trentaine de tapissiers
spécialisés dans ladaptation des objets anciens
au confort moderne.
Eugène Aubry et le docteur Auguste-Louis Richelot ont recours
aux tapissiers pour faire de leurs achats dantiquités des
objets confortables. Le
travail des tapissiers se fait aussi largement dans le sens contraire
: les antiquités sont utilisées afin de rendre acceptables
des objets techniques. Les dossiers de faillites de tapissiers après
les années 1860 permettent de noter une forte proportion de créances
chez les fabricants de becs de gaz puis
après 1880 de bougies électriques. Dans les ateliers,
les objets nouveaux habillés danciens sont de plus en plus
nombreux. La généralisation de léclairage
au pétrole ou huile raffinée et au gaz dans
les années 1850 pose de façon aiguë la question de
la technique. Généralement condamné pour la qualité
de sa lumière, léclairage à lhuile
et au gaz pose un autre problème : il fait surgir dans le privé
une tuyauterie abondante, dimposants becs de gaz et de complexes
et lourds systèmes mécaniques de régulation. Eugène
Aubry père, avocat, installé 5 rue dAguesseau, achète
dès 1858 à Drouot des « potiches anciennes »,
des « vieux chinois », des lustres anciens en cuivre et
des « vases de Delft » quil fait monter par son tapissier
pour recevoir des becs de gaz et des lampes à pétrole.
Tout se passe comme si la technique pouvait être domestiquée
dès lors quelle se présente sous les atours de lancien.
Larrivée dans les années 1880 de lélectricité
accentue ce recours aux costumes du passé.
Dans le cas du Dr Richelot dont la richesse de la comptabilité
permet de saisir les moindres détails, le tapissier se révèle
bien comme le maître duvre du décor privé.
Cest lui qui fait lintermédiaire avec quantité
dartisans : il paie directement les peintres, des ébénistes,
quelques restaurateurs, des vitriers, et plus occasionnellement des
électriciens et des téléphonistes.
Les piles et accumulateurs qui peuplent les intérieurs, les commutateurs,
les systèmes de sémaphores et de sonnettes internes comme
externes sont soigneusement dissimulés, à la fois dans
les espaces de réception vestibule, salons et salle à
manger et les espaces de lintimité chambre
conjugale et chambre denfant. Les rares archives de compagnie
délectricité ainsi que les nombreuses faillites
délectriciens dans la période 1880-1900 indiquent
de façon récurrente des liens avec des tapissiers. Il
est difficile détablir la nature de ces liens mais pour
autant, les archives privées montrent quune partie du travail
des tapissiers consistent à dissimuler les installations électriques,
longtemps encombrantes.
Les mémoires et les factures du tapissier Beaulieu qui travaille
pour Richelot sont explicites à ce sujet.
En février 1897, alors que lappartement du docteur comme
de très nombreux intérieurs est encore largement équipé
de piles et de batteries, Beaulieu réalise une « boîte
pour contenir un accumulateur électrique (6 fr.) » ainsi
quune « colonne pour supporter ladite boîte (150 fr.)
», les deux à partir de pièces de bois anciennes.
En août 1899, alors que la totalité des étages sont
équipés avec « lélectricité
courante », Beaulieu est chargé de dissimuler tous les
câbles dans des boiseries et des corniches, pour lessentiel
du XVIe siècle. La même année, il réalise
une série de lampes électriques faites à partir
de « 4 encensoirs anciens et dune lampe déglise
» à laquelle il ajoute « un plat de cuivre devant
être mis sur le centre de la lampe déglise »
; cet ensemble gothico-néogothique est équipé en
« lumières électriques ». En mai 1904, «
un grand lustre en bois sculpté et doré de la Renaissance
(780 fr.) » est équipé dun « vieux plat
en cuivre repoussé comme réflecteur (900 fr.) »
et est électrifié. En février
puis en décembre 1905, Beaulieu agence des « volumes torses
de la renaissance pour en faire quatre chandeliers électriques
(120 fr.) » et transforme « 4 cariatides en 2 chandeliers
électriques avec pied en marbre (100 fr.) ». Tous les éclairages
des pièces de réception sont montés sur des «
chandeliers » gothiques ou de la Renaissance.
Beaulieu, de la même façon quil vieillit les murs
et les plafonds, pratique le « vieillissage de lintérieur
de la cheminée (10 fr.) ». Le cas de Richelot nest
pas isolé. Eugène Aubry-Vitet commande les mêmes
travaux, 14 rue du Rocher. Larchitecte Pinat qui y dirige les
multiples aménagements travaille à dissimuler les tuyaux
de gaz et délectricité derrière les corniches
on ne plonge encore que rarement les fragiles câbles électriques
dans le plâtre et à habiller les lustres hollandais
en cuivre de « bougies électriques ». À nen
point douter, la sensibilité dEugène Aubry-Vitet,
neveu de Ludovic Vitet et archiviste-paléographe, joue ici un
rôle important. Nous pourrions multiplier les exemples au-delà
de ces deux cas. Dans la première décennie du siècle,
la majorité des antiquaires et des tapissiers proposent ainsi
dhabiller les nouveautés techniques des signes de lhistoire.
Lantiquaire Bretonnel, 22 rue La Fayette, annonce la vente de
« lustres à cristaux anciens avec appliques et girandoles
électriques » ; Géo Martel vend des « faïences
de Delft et Rouen pour ameublements montées en lampes électriques
» ; le bien nommé Patiné, 62 rue du Faubourg Poissonnière,
des « objets dart en émaux anciens en lampes électriques
»
et Collet, 43 boulevard Voltaire, voisin des marchands dantiquités,
propose de monter les « lampes électriques sur porcelaines
et bronze dart ancien
1900 le téléphone pose problème.
Objet encore très récent, son usage est défendu
en public et quasiment interdit aux femmes, sa place dans lespace
des salons est encore indéterminée.
Couvercles de poupée ancienne en biscuit .

La photo de gauche représente une poupée (d'après
la description de Bill Elsasser) datant des années 1890.
La tête est en cire sur une base en composition, et les bras en
biscuit. La perruque est en mohair et les vêtements sont faits
main, selon la mode de l'époque.
Le corps est constitué d'un treillis métallique rigide
et entièrement recouvert d'un rembourrage en coton pour protéger
le téléphone à cadran. La poupée ne doit
être retirée que pour téléphoner et remise
en place après la conversation.
La photo de droite est décrite comme suit sur le site web de
Gary Goff :
« Cette poupée en bois massif a été
fabriquée avant 1929 afin de dissimuler ou d« embellir »
les téléphones considérés comme disgracieux.
Le micro-émetteur est retiré, inséré dans
lorifice prévu à cet effet, puis revissé
dans la façade de lémetteur.
Le téléphone est facilement utilisable avec la « poupée »
en place. Au verso de cet exemplaire, une note a été écrite
au crayon en 1929 par son propriétaire, dont lécriture
et la grammaire trahissent un manque dinstruction. Cette note
était peut-être adressée à quelquun
ou constituait simplement une note de journal intime pour consigner
les événements de la journée. »
Beaulieu réalise en 1905 dans un « morceau de console Louis
XIV » un habillage qui permet descamoter lappareil
téléphonique.
Belle coiffeuse ornée, vers 1910 Propriété
du collectionneur Dan Gorden

La table et la chaise en bois sculpté à la main, richement
ornées, présentées ici sont une véritable
uvre d'art. Il s'agit d'un magnifique meuble indépendant.
Ces meubles étaient tous fabriqués en bois dur. Lorsque
la porte du meuble haut est fermée, le chandelier est complètement
dissimulé. Le plateau de la table sert de bureau. Cet objet est
très ancien, cependant, à mesure que le chandelier gagnait
en popularité, notamment dans les foyers des abonnés de
la classe moyenne, la popularité des téléphones
dissimulés s'est poursuivie jusque dans les années 30.
Les modèles sont devenus beaucoup plus simples, moins ornés
et moins coûteux à fabriquer, donc plus abordables pour
l'abonné moyen.
Armoire murale cache-chandelier appartenant au collectionneur Gary Goff,
provenant de l'hôtel Sheraton de San Francisco.

Valet de chambre cache chandelier en laque chinoise. Au centre et àdroite
Cabinet du salon victorien du musée de Milton Keynes à
Wolverton
En tirant le bouton sur le couvercle avant, le dessus s'ouvre. L'annuaire
téléphonique peut être placé dans le compartiment
à l'arrière.

Cache téléphone au Royaume-Uni « Valet de téléphone »,
vues avant et arrière
| |
Voici un meuble cahe téléphone
chandelier très particulier, conçu pour dissimuler
le téléphone.
Le panneau arrière coulisse vers le haut, permettant ainsi
de placer le téléphone à l'intérieur,
les fils sortant par l'arrière. Le téléphone
repose sur une tablette coulissante.
À côté du téléphone se trouve
une pochette pour les annuaires.
En dessous, un tiroir permet de ranger des objets de bureau.
Une étiquette à l'intérieur du tiroir indique
le nom du fabricant : Imperial Furniture Company, fabriqué
à Grand Rapids, Michigan.
Un petit tabouret se glisse entre les pieds du bureau.
Ce meuble est orné avec beaucoup de goût, avec des
portes travaillées et d'autres détails subtils, et
s'intègre à la plupart des intérieurs.
GARY'S Collection. Provenance Las Vegas |
 |
Cache
téléphone Mildé Français
Vers 1910-1920 , aux Etats-Unis, les téléphones
"chandelier" n'ont pas toujours été considérés
comme esthétiques. Il y a plus de cent ans, certaines personnes,
notamment les plus aisées, préféraient dissimuler
ces appareils utilitaires. Elles jugeaient les téléphones
à cadran trop disgracieux pour leurs demeures cossues. Pour répondre
à leurs besoins, L.C. Mayer a conçu le Hide-A-Phone.

1915 Célébre cache téléphone en
papier mâché modèle L.C. Mayer Hide-A-Phone Etats-Unis.
Il représente une dame en costume dépoque, tenant
un chérubin par la main, dansant autour du globe. Le symbolisme
est fascinant : le téléphone, nouveau média porte
des millions de personnes à travers le monde et les relie toutes
!

Cache téléphone en papier mâché modèle
Euphonia
Représente la tête et le cou moulés d'une femme,
nommée « Euphoria ». Deux chérubins, placés
derrière sa tête, lui murmurent des mots doux à
l'oreille. Le boîtier à charnière présente
une surface patinée enrichie de détails qui mettent en
valeur le design.
Le modèle Euphonia a été
déposé en 1917 et l'autre en 1915, mais d'après
les publicités, il semblerait qu'aucun des deux n'ait été
produit avant 1921 ou 1922. On retrouve également le nom de Mayer
sur d'autres objets décoratifs en plâtre, comme des serre-livres.
L.C. Mayer a aussi conçu de nombreux objets
d'art en verre, bronze et céramique. Exemples dans la figure

La photo présente deux cache-téléphone, celui de
gauche est de type « plateau tournant ». Il pivote lorsque
l'on a besoin du téléphone et se remet en place pour le
dissimuler une fois l'appel terminé. Il est orné d'un
motif floral coloré.
Une version légèrement différente est celle de
droite (même image) : un écran concave rigide sans fonction
pivotante. Ces modèles doivent être retirés manuellement
et remis en place une fois la conversation terminée.

Modèle postérieur à compartiment dissimulé
dans une rangée de livres.
sommaire
Pour s'accomoder au style de l'époque des fabricants
et installateurs de téléphones proposent de jolis modèles
qui ne se cachent plus.
En exemple:
On peut lire dans la documentation extaite de la France industrielle
:
" La maison Hegner est arrivée à des résultats
vraiment surprenants. Nous avons admiré au Palais de l' Industrie,
à droite du grand escalier, chez MM.Marillier et Robelet, un
poste mobile construit par Mr.H.Hegner, et qui est vraiment pratique.
Le constructeur a su joindre l'utile à l'agréable en corrigeant
la sévérité des modèles connus jusqu'a ce
jour, c'est ainsi qu'en guise du support, au lieu d'un socle de bois,
si bien sculpté ou orné qu'il fût, il imagine une
patite statuette fort jolie, qui supporte le transmetteur à plaque
vibrante.
L'oeil se repose agréablement sur ce petit appareil aussi sérieux
que coquet " ...
A gauche le modèle Hegner et à droite un Angelot
Mildé
Sans nom
Modèle Charron Belanger style Art-Déco
sommaire
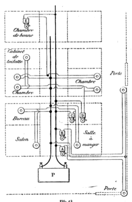
Schémas de câblage de l'époque
ou l'on installait des téléphones domestiques sur des
réseaux de sonnerie
(cliquez dessus pour agrandir)

 
sommaire
COMLEMENT SUR LES BOUTONS TELEPHONES
LE BOUTON-TELEPHONE
 
   
   (cliquez
dessus pour agrandir)
Texte du document
Le bouton-téléphone a pur but de
remplacer, dans une installation ordinaire de sonneries électriques,
les boutons d'appel par des boutons téléphoniques
qui permettent, en même temps que l'on sonne quelqu'un, d'entrer
en conversation avec la personne sonnée. En un mot, c'est
la transformation, obtenue à très peu de frais et
sans qu'il soit nécessaire d'augmenter le nombre des fils
existants, des réseaux de sonneries en réseaux téléphoniques.
Il a été construit sous différentes formes.Dans
sa disposition la plus simple, l'appareil se compose d'un socle
fixé au mur ou sur une planchette et d'une partie mobile
que l'on prend à la main quand on veut faire usage du téléphone
(fig. 54).
La partie fixe et la partie mobile sont reliées par un cordon
souple à trois fils.
La figure 55 donne le détail des différentes pièces
qui constituent l'appareil.
Le socle de l'appareil est représenté à droite
de la figure ; il est supposé vu de dos. Ce socle est formé
par une plaque métallique P1 munie d'un rebord sur lequel
sont fixées quatre griffes G ; les griffes G embrassent la
partie mobile lorsque l'appareil est au repos. La plaque P1 se fixe
sur un mur ou sur une planchette au moyen de deux vis dont on aperçoit
les extrémités filetées sur la figure. Les
deux bornes a et b servent à recevoir les fils qui aboutissent
d'habitude à un bouton d'appel ordinaire. De ces bornes partent
deux fils, fils 1 et 2 qui se rendent à la partie mobile
de l'appareil. Un troisième fil t, qui forme avec les deux
premiers un cordon souple, communique avec une touche métallique
m. En regard de cette touche est placée une lame élastique
n reliée à la borne a et portant à son extrémité
inférieure un tesson S ; ce teton traverse un trou ménagé
dans la plaque P1 et fait saillie sur la face antérieure
de cette même plaque. Il résulte de cette disposition
que, lorsque l'appareil est à l'état de repos, le
contact entre m et n est ouvert, tandis que ce contact se ferme,
par suite de l'élasticité de la lame n, dès
que l'on prend le bouton à la main et qu'on l'écarte
du socle.
La partie mobile, le bouton proprement dit, comprend essentiellement
un récepteur téléphonique dont M est la membrane
et T la bobine, et une lame élastique h placée en
regard d'un contact g : le tout enfermé dans une enveloppe
en bois ayant la forme et les dimensions d'un bouton de sonnerie
ordinaire. La lame h est en communication avec la masse de l'appareil,
tandis que le contact g est isolé de cette même masse.
Par l'intermédiaire du cordon souple on relie : la masse
de l'appareil avec le fil 1 et la borne b du socle, le contact isolé
g avec le fil 2 et la borne a du socle, l'une des extrémités
du fil de la bobine avec le fil t, c'est-à-dire avec le contact
m du socle.
L'autre extrémité du fil de la bobine est en communication
avec la masse de l'appareil.
Nous allons examiner quelques-uns des cas qui peuvent se présenter
dans l'application pratique du bouton-téléphone.
1er Cas - Transformation d'un réseau de sonnerie sans tableau
indicateur, en réseau téléphonique, chaque
bouton pouvant appeler le poste de service, mais ne pouvant pas
être appelé par lui.
Il suffira pour transformer ce réseau en réseau téléphonique,
d'enlever les boutons d'appel existants et de relier les fils qui
y aboutissaient aux bornes a et b des boutons-téléphones
(fig. 55).
Pour le poste de service un bouton spécial devra être
employé : la partie mobile de ce bouton ne contient qu'un
récepteur téléphonique, et le socle, un commutateur
à deux directions, représenté en détail
(fig. 57).
La lame n, au lieu d'être isolée à l'état
de repos comme dans le bouton ordinaire, appuie, lorsque le téléphone
est en place, sur un deuxième contact fixe f, qui communique
avec une troisième borne K3. Le cordon souple n'a que deux
brins, car il sert uniquement à relier l'une des extrémités
t' de la bobine du téléphone à la borne K1,
et l'autre extrémité t de cette même bobine
au contact m.
Au poste de service, on détache le fil de ligne aboutissant
à la pile et on l'attache à la borne K2 ; on relie
la borne de la pile devenue libre à la borne K3, et on relie
enfin la borne de gauche de la sonnerie à la borne K1. La
personne placée au poste de service, dès qu'elle prend
son téléphone à la main, rompt la communication
entre les bornes K2 et K3 et établit la communication entre
les bornes K2 et K1, c'est-à-dire qu'elle met hors du circuit
la pile et la sonnerie, en même temps qu'elle introduit son
téléphone dans le circuit.
Il est utile de convenir d'un signal différent, selon que
l'on veut faire venir la personne ou lui parler. Dans ce dernier
cas, la personne qui appelle, met, dès qu'elle a donné
le signal, son téléphone à l'oreille ; la personne
appelée doit immédiatement prendre le téléphone
du poste de service et parler. La conversation une fois engagée,
on porte alternativement le téléphone à la
bouche et à l'oreille : c'est une habitude facile à
prendre.
On peut d'ailleurs, pour plus de commodité, mettre sur une
même planchette, côte à côte, deux boutons,
dont l'un servira à parler et l'autre à écouter.
2è Cas - Transformation d'un réseau de sonnerieavec
tableau indicateur en réseau téléphonique,
chaque bouton pouvant appeler le poste de service, mais ne pouvant
pas être appelé par lui.
Supposons maintenant qu'il y ait au poste de service un tableau
indicateur, c'est-à-dire que l'on ait affaire à l'installation
de sonnerie représentée figure 58. Nous considérerons
un tableau à trois directions, mais les solutions peuvent
s'appliquer à un nombre quelconque de directions.
Pour transformer ce réseau existant en un réseau téléphonique,
tel qu'il a été défini plus haut, il suffit
de substituer à chacun des boutons d'appel un bouton-téléphone
ordinaire, et de placer auprès du tableau indicateur un bouton-téléphone
avec commutateur à deux directions (fig. 57.
Les trois bornes K1, K2, K3, de ce bouton sont reliées au
tableau, comme l'indique la figure 58 .
Le fil qui aboutit à la dernière borne de gauche du
tableau est détaché et relié à la borne
K3 ; la borne K est reliée à la dernière borne
de gauche du tableau, et la borne K1 à l'avant-dernière
borne de gauche de ce même tableau. Il est facile de s'assurerque
dans ces conditions, le système fonctionne de la même
façon que précédemment.
La personne placée au poste de service, en même temps
qu'elle retire son appareil du socle sur lequel il est fixé,
met hors du circuit la pile et la sonnerie. Dans le cas d'un tableau
à rappel mécanique, il faudrait évidemment
relier la borne K1 à la borne de la pile, qui ne communique
pas avec la sonnerie (ligne x, figure 58).
Il n'y a rien de changé au mode de fonctionnement, si ce
n'est que le poste de service est avisé chaque fois de l'endroit
d'où part l'appel.
3è Cas - Transformation d'un réseau de sonnerie avec
tableau indicateur en réseau téléphonique,
chaque bouton pouvant appeler le poste de service et être
appelé par lui.
Lorsqu'on veut que le poste de service puisse appeler les différents
postes du réseau, l'installation devient un peu plus compliquée.
L'appel se fait au moyen d'une bobine d'induction placée
au poste de service. Les courants induits de cette bobine sont envoyés
dans la ligne, ils agissent sur le téléphone et lui
font produire un bruit particulier assez intense pour être
entendu même à une grande distance. A l'aide de boutons
spéciaux, on dirige ces courants induits sur l'une ou l'autre
des lignes pour n'interpeller que le poste avec lequel on veut entrer
en communication (fig. 60).
Mais pour que l'appel pût être fait à chaque
instant,il fallait que les téléphones des différents
boutons fussent constamment en série avec les fils de ligne
; or, de cette manière, la pile eût été
placée dans un circuit toujours fermé sur ces téléphones,
ce qui est inadmissible ; ou installer des fils supplémentaires
spéciaux, ce qui serait une complication.
Cette difficulté a été levée d'une façon
élégante et fort ingénieuse par l'application
des coupe-circuit électriques de M. le Docteur A. d'Arsonval.
Le coupe-circuit se compose de quatre petits éléments.
Chaque élément est constitué par un tube en
ébonite rempli avec une pâte humide à base de
potasse dans laquelle plongent deux lames de fer. Le tube est hermétiquement
fermé au moyen d'une rondelle en ébonite et d'une
couche de ciment dissous dans de la potasse.
Lorsqu'un courant traverse ces petits couples, ils se polarisent
en moins d'une seconde et développent une force contre-électromotrice
qui arrête complètement le passage du courant, pourvu
que la force électromotrice de la source soit inférieure
à celle contre-électromotrice du coupe-circuit. Le
courant de la pile se trouve donc annulé, à cause
de sa faible force électromotrice, tandis que les courants
périodiques de la bobine d'induction, qui présentent
une grande tension, franchissent facilement l'obstacle créé
par le coupe-circuit.
Ces coupe-circuit sont disposés dans le socle de chaque bouton-téléphone
dont ils n'augmentent pas sensiblement les dimensions, puisque chaque
élément n'a pas plus de 1 centimètre de diamètre
et 4 centimètres de longueur. Ils sont encastrés au
dos de la planchette qui porte le socle du bouton. Les éléments
sont groupés en série avec la bobine du téléphone
et la ligne. Le circuit dans lequel se trouve le bouton d'appel
est en dérivation sur les bornes de l'appareil. Lorsqu'un
des boutons-téléphones veut appeler le poste de service,
il lui suffit d'appuyer sur son bouton qui met le coupe-circuit
en court-circuit. On supprime ainsi la force électromotrice
de polarisation de ce coupe-circuit, et la pile du poste de service
envoie alors un courant qui traverse sa propre sonnerie et l'actionne
ainsi que le tableau indicateur correspondant au bouton-téléphone.
Le poste de service engage alors la conversation en décrochant
son appareil, ce qui établit toutes les communications sur
téléphone, et en maintenant le doigt appuyé
sur un bouton numéroté qui relie son appareil à
la ligne de l'interpellant.
Lorsque le poste de service (fig. 60) veut appeler un des postes
du réseau, il doit appuyer en même temps sur la clef
à contact multiple et sur le bouton placé au-dessous
du numéro correspondant à celui du poste appelé.
Pour correspondre il doit abandonner la clef à contact multiple,
tout en appuyant sur le bouton tant que dure la conversation. Une
fois la conversation terminée, la mise en place des appareils
dispose automatiquement toutes les communications pour un nouvel
appel.
La figure 60 représente une vue perspective d'un poste de
service : planchette avec bouton d'appel à quatre directions,
planchette avec bobine d'induction et clef à contact multiple,
enfin téléphone de service sont placés au-dessous
du tableau indicateur.
Pour plus de commodité, on peut, au poste de service, disposer
un appareil transmetteur combiné avec un récepteur,
ainsi que l'indique la figure 60. Ce poste est en effet appelé
à parler bien plus souvent que chacun des postes du réseau
et, dans ces conditions, un téléphone de transmission,
doublement articulé, comme celui de la figure, est d'un emploi
plus facile que le bouton de service ordinaire.
On peut même installer des boutons-téléphones
avec poste central, permettant d'établir des communications
directes entre les différents boutons-téléphones.
Dans ce but, la Société Générale des
Téléphones a, la première, eu l'idée
d'établir un matériel spécial destiné
à remplacer les sonneries électriques et les porte-voix. |
sommaire
LE
BOUTON-TELEPHONE DE M. BARBIER

|
Texte du document "LE BOUTON-TELEPHONE
DE M. BARBIER"
Le bouton-téléphone est un petit
appareil simple et pratique, appelé à rendre de
grands services dans maintes applications de téléphonie
domestique, grâce à la modicité de son prix
et à la facilité de son installation.
En établissant cet appareil, l'inventeur a résolu
le difficile problème d'utiliser les installations de sonneries
électriques à la transmission de la parole au moyen
de téléphones remplissant le même office que
les boutons d'appel ordinaires et ayants des dimensions et une
forme analogues.
Le bouton-téléphone de M.Barbier est formé
d'un petit téléphone BELL, pouvant servir alternativement
de transmetteur et de récepteur; il est disposé
dans l'intérieur d'un bouton et placé sur un petit
disque de bois qui permet de le fixer facilement au mur. Ce bouton,
comme le montre la figure (page 243), est maintenu à la
planchette au moyen de quatre ressorts entre lesquels il s'introduit
à frottement. Une lame élastique rompt le circuit
téléphonique lorsque l'appareil est au repos, et
le ferme, au contraire, lorsqu'il est décroché.
Il suffit donc d'appuyer sur la touche placée au centre
du bouton pour faire retentir la sonnerie du poste correspondant,
et de prendre ensuite le téléphone à la main
pour engager la conversation.
Le montage des boutons téléphones peut s'effectuer
de bien des manière; mais l'installation la plus simple
est celle que représente le diagramme no 1, et dans laquelle
un ou plusieurs boutons sont reliés à un bouton
téléphonique spécial, dit poste de service
. Ce dernier appareil, ne permettant pas d'interpeller dans le
cas qui nous occupe, est dépourvu de touche d'appel. En
revanche, il est muni d'un commutateur qui met automatiquement
la sonnerie en communication avec la ligne, lorsqu'il est au repos,
et relie au contraire le téléphone à la ligne
toutes les fois que l'on décroche pour correspondre.
Le diagramme no 2 montre une installation de bouton-téléphone
dans laquelle plusieurs boutons sont reliés à un
poste de service muni d'un tableau indicateur indiquant la personne
interpellée l'endroit d'où vient l'appel. L'établissement
des communications entre les divers appareils n'offre, comme on
le voit, aucune difficulté, et l'examen de la figure ci-contre
suffit pour la faire comprendre.
En fin, le diagramme no 3 représente une installation un
peu plus complexe, dans laquelle le poste de service peut être
interpellé et interpeller lui même. Dans ce cas,
on a recours à une bobine d'induction qu'on intercale dans
le circuit, au poste de service, et qui, à un moment donné,
envoie dans la ligne des courants induits qui font vibre la plaque
du poste attaqué. Celle-ci rend alors un son assez intense
pour être entendu dans la pièce où se trouve
l'appareil. Un certain nombre de contacts, égal à
celui des postes secondaires, permet de lancer le courant dans
la direction voulue. Mais, comme il est indispensable pour que
ces appels puissent être faits, que les divers boutons-téléphones
soient eux-mêmes placés dans le circuit, on a recours,
afin de ne pas épuiser trop rapidement la pile, au coupe-circuits
de M. le docteur d'Arsonval.
Ces appareils se composent de quatre petits couples secondaires,
disposés dans le socle de chacun des boutons-téléphones;
ils ont pour mission d'arrêter le courant continu de la
pile, chaque fois que celui ci tend à les traverser, et
de laisser libre passage aux courants périodiques de la
bobine d'induction.
Dans ces conditions, il suffit au poste de service d'appuyer sur
l'un des contacts pour attaquer le poste secondaire avec lequel
il désire correspondre, et à chacun des postes secondaires
de presser sur le bouton de son appareil pour interpeller le poste
de service.
Bien qu'un seul bouton-téléphone soit suffisant
pour la transmission et la réception, il est préférable,
surtout au poste principal, de faire usage de deux appareils dont
l'un sert à parler et l'autre à écouter.
Il est assez difficile, en effet, de bien correspondre lorsqu'on
est obligé de porter alternativement l'appareil à
la bouche et à l'oreille, suivant que l'on veut parler
ou entendre.
L'appareil micro-téléphonique de M. Ch. Mildé
fils a sur le bouton-téléphone et les appareils
similaires,l'avantage de se prêter aux installations les
plus simples comme aux plus plus importantes, et de ne pas obliger,
lorsqu'on en fait usage, d'élever fortement la voix pour
être entendu de la personne avec laquelle la conversation
est engagée. De plus, avec cet appareil, il suffit, dans
les petites comme dans les grandes installations, de placer une
batterie au poste central pour actionner les micros téléphones
de tous les autres postes; on peut même en faisant usage
du système à appel magnétique, supprimer
complètement les batteries de piles et réaliser
une économie notable dans l'installation.
S'inspirant des remarquables travaux de M. Bourseul qui en 1851,
reconnu que la transmission électrique des ondes sonores
pouvait s'effectuer sans qu'il fût nécessaire de
transformer le courant primaire en un courant secondaire nécessitant
l'intervention d'une bobine d'induction, M. d'Argy, officier de
marine, eut l'heureuse idée de construire, en dehors des
brevets Edison, Ader, etc ..., un transmetteur à charbon,
basé sur l'emploi de matières pulvérulentes
semi-conductrices, et permettant de supprimer l'emploi de la bobine
d'induction.
Imaginé en 1883, cet appareil, défectueux au début,
a été depuis modifié et rendu tout à
fait pratique par M. Ch. Mildé, qui lui a donné
la disposition suivante :
Une petite boîte métallique, analogue à celle
des baromètres anéroïdes (fig. 1), et ayant
environ 4 millim.d'épaisseur, est remplie, jusqu'aux 5/6
de sa hauteur, de granules de coke tamisé.
A l'extérieur de cette boîte, et disposés
verticalement sur chacune de ses faces, se trouve un manchon métallique
dans lequel est serti un cylindre de charbon, isolé du
contact du métal par une rondelle de papier et portant
une gorge qui sert à l'attache du fil conducteur.
Les faces des cylindres qui touchent le coke sont striées,
afin de mieux assurer leur adhérence avec les granules;
enfin, l'un des cylindres est collé sur la face extérieure
à une planchette vibrante de sapin devant laquelle on émet
les sons.
Comme récepteur, M. Ch. Mildé emploie son téléphone
indéréglable et à cuvette métallique
dont il existe deux modèles, l'un à manche (fig.
2°, et l'autre à anneau de suspension. L'aimant de
ce téléphone est de forme hélicoïdal
et n'a qu'une seule bobine placée au centre de la plaque
vibrante. Cet appareil fonctionne d'une manière irréprochable;
il est d'ailleurs, comme l'a démontré l'expérience,
dans les meilleurs conditions pour le fonctionnement régulier
des vibrations de la plaque et pour la netteté de la parole.
Voici comment s'effectue la transmission de la parole avec l'appareil
micro-téléphonique de M. Ch. Mildé. Lorsqu'on
vient à parler devant la planchette du microphone, le récepteur
étant décroché, les vibrations de l'air,
engendrées par la parole, sont répercutées
par la planchette qui entraîne le cylindre de charbon et
le manchon métallique dans lequel il est serti. Par suite
de la force d'inertie, la partie postérieure de la boîte
du microphone vibrant avec moins d'intensité que sa partie
antérieure, il en résulte un léger aplatissement
de la boîte, et, par conséquent, une compression
des granules de coke qui facilite le passage du courant du courant
dans la ligne. Celui ci agira donc avec d'autant plus de force
sur la laque vibrante du récepteur correspondant, que la
parole aura été plus sonore et la compression des
granules plus énergique.
Sous le nom de porte-voix électrique, M. Ch. Mildé
a construit un petit poste domestique ayant la forme d'un porte-montre,
et que l'on peut facilement brancher sur une installation de sonnerie.
Ce poste dont le prix varie de 20 à 30 francs selon les
application qu'on en veut faire, s'emploie aux lieu et place d'un
bouton de sonnerie électrique. On peut l'utiliser encore
pour les communications d'un poste à un autre, avec ou
sans sonneries indépendantes.
Pour les usines et les réseaux téléphoniques
plus importants, M; Ch; Mildé construit des postes plus
complets dont le prix n'excède pas 60 Francs. Enfin, pour
les grandes distances, il a combiné des appareils magnétiques
qui ont, entre autres avantages, celui de nécessiter l'emploi
d'aucune pile.
Les quatre schémas figurés page 245 montrent la
disposition à donner aux appareils et aux fils conducteurs
dans les installations domestiques le plus en usage.
Disons, en terminant, que le poste micro-téléphonique
de M. Ch. Mildé, dont l'emploi se généralise
chaque jour davantage, a été adopté pour
le service intérieur de l'administration des postes et
des télégraphes, de la préfecture de la Seine,
de la Compagnie des petites voitures, du chemin de fer de l'Ouest,
etc.
Plus de 4000 postes sont actuellement installés chez divers
particuliers et dans les principaux établissements industriels.
Alfred De VAULABELLE
|
Modèle Hutinet
LA
POIRE-TELEPHONE
  
|
Texte sur le document "POIRE TÉLÉPHONE"
Dans les installations de sonneries d'appartement,
certaines personnes préfèrent se servir de poires
mobiles au lieu de faire usage de boutons d'appel fixés
au mur. La figure 61, représente la poire-téléphone
qui, dans ce cas,doit être substituée aux appareils
existants.
La forme extérieure de cet appareil est, à peu de
chose près, la même que celle des poires de sonnerie
simple, seulement le bouton K, au lieu d'être placé
à la partie inférieure de la poire (fig.61) est
disposé latéralement; la partie inférieure
est occupée par l'embouchure du téléphone.
La boîte en bois qui enveloppe les organes du téléphone
se compose de trois parties D, C et E; la partie intermédiaire
C se visse dans le chapeau D, les pièces C et E s'assemblent
au moyen d'une bague filetée F, en laiton. L'aimant A du
téléphone est une lame de 10 millimètres
de longueur environ recourbée en forme de V renversé.
Cet aimant porte les bobines b b au-dessous desquelles est placée
la membrane, et s'assemble de chaque côté au moyen
de quatre vis v, avec deux lames de laiton, soudées de
l'intérieur. On voit donc qu'il suffit de dévisser
le couvercle inférieur E de la bague F pour retirer, en
même temps que cette bague, tout l'appareil téléphonique.
L'appel se fait en appuyant sur le bouton K, lequel est solidaire
d'un ressort H relié à la masse; en regard du ressort
H se trouve un contact G qui est isolé de la masse.
Le coupe courant est formé par quatre petits accumulateurs
a a a a du modèle précédemment décrit;
ces accumulateurs sont enfermés dans un cylindre en ébonite
M, percé d'un trou, à travers lequel passe le cordon
souple S. Entre le coupe-courant que l'on peut placer à
une distance plus ou moins grande de la poire, suivant la disposition
de locaux et l'appareil lui-même, le cordon souple S est
composé de trois fils 1, 2 et 3; les deux fils 1 et 2 se
rendent seuls au poste de service.
Voici comment sont faites les communications : le fil 1 venant
du poste de service touche à l'une des bornes r du coupe-courant
et est relié au contact isolé G; le fil 2 traverse
tout simplement le cylindre M et communique avec la masse du téléphone,
le fil 3 part enfin de la seconde borne r' du coupe courant, pour
aboutir à l'une des extrémités de l'enroulement
des bobines b, l'autre extrémité de ce même
enroulement communiquant avec la masse du téléphone.
Le téléphone et les accumulateurs a sont constamment
en série avec la ligne; le circuit ou se trouve le bouton
d'appel, circuit normalement ouvert, est en dérivation
sur les bornes r et r' du cylindre M.
Le bouton téléphone peut-être employé
d'une façon utile presque partout ou la sonnerie électrique
est aujourd'hui appliquée. A ce point de vue, lorsque l'on
met en parallèle les services que peuvent rendre les uns
et les autres, la substitution des boutons téléphones
aux boutons ordinaires se trouve tout indiquée pour les
usages domestiques.
|
sommaire
|