Depuis le début du téléphone,
alors qu'il n'y avait pas encore de centraux téléphoniques
et de systèmes automatiques, les ingénieurs concevaient
et expérimentaient des systèmes depuis des années,
pour converser à plusieurs sur une seule ligne, chacun
son tour un seul à la fois, cela afin d'économiser
les coûts d'installation sachant que c'est le km de ligne qui
revient le plus cher.
C'est le domaine des stations téléphoniques à
embrochage, examiné dans le premier paragraphe ci dessous.
Puis le nouveau défi était de
pouvoir converser à plusieurs simultanément
sur une seule line de téléphone, ce sera t la téléphonie
multiple examiné dans le deuxième paragraphe.
Avant de poursuivre cette
page, consultez la rubrique Lignes
partagées, étude en 1919
des systèmes de lignes partagées Par KB Miller et SG
McMeen .
sommaire
I
- LES STATIONS TELEPHONIQUES A EMBROCHAGE
Le système ordinaire consistant
à fournir à chaque abonné d'un réseau
téléphonique un fil spécial (dans certains cas
même deux) est très coûteux.
Il y a bien entendu des abonnés qui utilisent leur fil de manière
presque continue, et ceux-ci doivent nécessairement disposer
d'un circuit entièrement disponible ; mais l'abonné
moyen ne dépasse pas dix appels par jour, de sorte que la plupart
du temps les fils ne sont pas occupés et ne font même
pas le dixième du travail qu'ils pourraient facilement accomplir.
Ceci est en contraste frappant avec les fils télégraphiques,
qui sont souvent utilisés à l'extrême ; des appareils
multiples et rapides sont employés pour épuiser leur
capacité, tandis que les fils téléphoniques des
abonnés sont débrayés pendant les neuf dixièmes
du temps.
Cette considération montre certainement que la téléphonie
en est encore à ses balbutiements et que, dans ce sens au moins,
des améliorations importantes sont à attendre.
Un certain nombre de tentatives ont été faites, avec
plus ou moins de succès, pour placer plusieurs abonnés
sur un même fil et accroître ainsi l'utilisation de ce
fil ; mais il y a une grande différence dans les conditions
à cet égard entre la télégraphie et la
téléphonie.
Rien n'est plus facile que de placer plusieurs postes télégraphiques
sur un même fil, alors qu'en téléphonie les conditions
sont entièrement changées : les abonnés ne sont
pas des fonctionnaires à qui des instructions spéciales
peuvent être données ; ils ne doivent pas être
gênés par des appels qui ne les concernent pas ; ils
exigent que leur conversation ne soit pas entendue par d'autres abonnés
sur la même ligne. Toutes ces conditions, qui nécessitent
des dispositions compliquées, n'existent pas en télégraphie.
Un appareil pleinement performant qui répondrait à ces
exigences serait une grande aubaine pour la téléphonie.
D'abord, cela signifierait une diminution considérable du nombre
des fils qui se croisent dans toutes les directions au-dessus des
toits dans les grandes villes, car il serait possible de desservir
un nombre beaucoup plus grand d'abonnés avec le même
nombre de fils ; et, en outre, les villages qui entourent les grands
centres de population pourraient facilement être exploités
avec un seul fil.
Les conditions que doit remplir un tel système sont les suivantes
:
- 1 Le poste central doit pouvoir appeler chaque abonné sans
déranger les autres abonnés placés sur la même
ligne.
- 2 Chaque abonné doit pouvoir appeler la centrale sans déranger
les autres abonnés.
- 3 Lorsqu'un abonné est en communication avec le poste central,
ou par l'intermédiaire de celui-ci avec un autre abonné,
il doit être impossible aux autres abonnés placés
sur la même ligne d'entendre ou d'interrompre la conversation.
- 4 Deux abonnés placés sur la même ligne doivent
pouvoir converser entre eux.
Les solutions proposées peuvent être regroupées
sous trois catégories : la première se limite à
trois abonnés sur un même fil ou à quatre abonnés
sur un fil double. Le second est disposé de telle manière
que le fil unique se dirige vers un point plus ou moins éloigné
de la station centrale, et de ce point rayonne vers un nombre indéfini
d'abonnés (disposition radiale). Le troisième comprend
les systèmes selon lesquels un nombre indéfini d'abonnés
sont placés les uns après les autres sur le même
fil (arrangement en série).
En 1879
Clément Ader s'était déjà
penché sur la question et inventé un système
à embrochage
opérationnel à Paris.
Ce système a été adapté
au circuit métallique de Paris, et permit de placer
quatre postes d'abonnés indépendants sur un double
circuit.
Au repos, la ligne de boucle est complétée à
la station centrale, mais est mise à la terre à
mi-chemin entre les quatre abonnés.
Lorsque l'opératrice du poste central veut appeler l'un
ou l'autre des quatre abonnés, il débranche l'un
des deux fils et envoie dans l'autre un courant positif ou négatif
qui, selon la ligne choisie et le sens du courant, agit sur un
des quatre relais
Lorsqu'un abonné décroche son téléphone,
la boucle devient complète, la terre est déconnectée
et la conversation téléphonique peut suivre son
cours régulier.
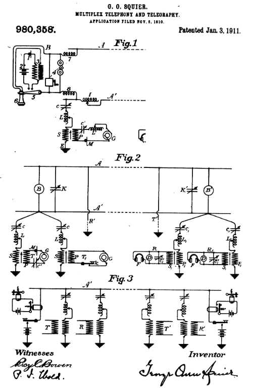
Tout cela sera mieux compris au moyen des figures 260 et 261

La figure 260 représente les quatre boutons d'appel, i
à 4, au poste central :
A est l'annonciateur, qui entre en action lorsque l'un des quatre
postes appelle, et après qu'un tel appel a été
reçu, l'opérateur place son téléphone
en circuit ; L et L' sont les deux fils de la boucle ou du circuit
métallique ; B et B^ deux batteries d'appel
Un courant arrivant par L traverse les boutons d'appel 4, 3, l'annonciateur
A, les boutons d'appel 2 et I, et revient par l'orsque l'opérateur
du poste central appuie sur le bouton d'appel i, un courant négatif
est envoyé dans la ligne L' et L est déconnectée.
En appuyant sur le bouton d'appel 2, un courant positif est envoyé
dans L'.
De la même manière des courants négatifs et
positifs sont envoyés dans la ligne L par les boutons d'appel
3 et 4 respectivement.
La figure 261 montre la combinaison des quatre postes d'abonnés,
I à IV, dans le circuit métallique L l'.
Chacune de ces stations est constituée d'un appareil microtéléphonique,
signalé par le téléphone F, d'un interrupteur
automatique u, d'un bouton-poussoir T, d'un annonciateur S, d'un
relais polarisé R, d'une sonnerie d'appel W et d'une batterie
locale d.
Les quatre stations ont en outre un relais R' et une batterie
B en commun. L'appel du poste central parcourt le circuit suivant
: En appuyant sur le bouton i un courant négatif traverse
L', et traverse d'abord tous les interrupteurs automatiques U
et appuie sur les boutons T des quatre postes d'abonnés
par le fil d, puis il passe par les relais R des deux Stations
I et II, puis, par l'intermédiaire de Q et de l'armature
du relais R', il va à la masse. Des relais R des deux postes
I et II, celui du poste I répond aux courants négatifs,
l'autre aux courants positifs ; à la station I le circuit
de la batterie locale b est donc fermé, et la station est
appelée. Lorsque l'opérateur de la centrale appuie
sur le bouton 2, le courant parcourt exactement le même
chemin ; mais il est positif, et actionne par conséquent
le relais de la station II, et non l'autre. En appuyant sur les
boutons 3 et 4 du poste central, des courants négatifs
ou positifs sont envoyés dans la ligne L, traversent les
relais des postes des abonnés III et IV et reviennent par
Q à la terre. Le courant négatif actionne le relais
du poste III, le courant positif celui du poste IV.
Lorsqu'un de ces abonnés, disons III, est appelé,
il décroche son téléphone et modifie ainsi
complètement les connexions.
Tout d'abord, un contact est établi entre le pôle
positif de la batterie B et la plaque inférieure de l'interrupteur
automatique, et par ce contact un courant provenant de la batterie
traverse les quatre indicateurs S. Un double objectif est atteint
par ce courant :
D'une part l'armature R' est attirée, et la mise à
la terre du système est interrompue ; par contre tous les
annonciateurs qui montraient à l'origine un disque avec
l'inscription « libre » (désengagé),
exhibent maintenant un disque avec l'inscription « occupe
» (engagé). Le bouclage est complet sans terre de
chaque côté. Le courant arrivant du poste central
par L passe par les quatre relais, les interrupteurs automatiques
U, et le fil v des postes T et II , téléphone F
du poste III , fil d entre III et IV , bouton T et interrupteur
U du poste IV , et renvoie 'Arough l' à la gare centrale
Il est impossible d'entendre la conversation, car si un autre
abonné, par exemple II, décrochait son téléphone,
le circuit serait rompu entre T et U de la station III.
Lorsque la conversation est terminée et que le téléphone
est de nouveau suspendu, tous reviennent à l'état
de repos.
Les annonciateurs affichent à nouveau le disque marqué
« libre », et Q est de nouveau connecté à
la terre.
Lorsqu'un des abonnés appuie sur son bouton d'appel T,
le courant positif de la batterie B passe par les fils d, et les
boutons T et fait passer u dans L', et revient directement par
S au pôle négatif de B.
Les relais R et les avertisseurs s sont polarisés, mais
ils n'ont pas d'électro-aimant ; une bobine très
plate se déplaçant entre les pôles d'un aimant
très puissant remplace l'électro-aimant.
Selon le sens du courant cette bobine est attirée par l'un
ou l'autre pôle, et ferme le circuit de la pile b, ou change
le disque de l'annonciateur S
Cette bobine sans noyau de fer présente de grands avantages
par rapport à un électro-aimant polarisé,
d'autant qu'il n'y a pas à craindre d'inversion de polarité,
ni des courants trop forts, ni des décharges atmosphériques.
Le fonctionnement du système Ader est des plus simples
: chaque abonné effectue sa communication comme s'il était
le seul dans le circuit ; à la gare centrale également,
aucune complication ne survient et une conversation secrète
est assurée.
Par contre, quelques inconvénients doivent être mentionnés
: les abonnés restants d'une même ligne ne peuvent
pas converser ensemble lorsqu'un abonné converse avec la
station centrale ou un autre abonné au-delà de celle-ci
; et les autres abonnés peuvent perturber la conversation
en appuyant sur leurs boutons ou en décrochant leur téléphone.
Enfin, la communication entre les quatre abonnés nécessite
de six à huit fils ; l'application du système doit
donc, par souci d'économie, être limitée au
cas où les quatre abonnés se trouvent dans le même
bâtiment.
M. Elsasser a réussi à surmonter le deuxième
inconvénient, mais en sacrifiant la simplicité des
connexions, et comme cet inconvénient n'a pas une très
grande importance pratique, il semble douteux que ces modifications
remplacent la disposition originale d'Ader. |
Le système Ader permet à plusieurs appareils
téléphoniques de partager (d'utiliser) les mêmes
filspour converser.
sommaire
Les systèmes suivants sont conçus pour téléphoner
et télégraphier sur le ou les mêmes fils
Le 3 août 1889 dans la revue "La
lumière électrique" parait un article de Paul Samuel
|
SUR UN NOUVEAU POSTE TÉLÉPHONIQUE
POUR LIGNE A BUREAUX NOMBREUX
Lorsquil sagit de relier par un seul fil plusieurs
postes télégraphiques, le problème
à résoudre est fort simple, et il est toujours
loisible de choisit entre deux genres de montage bien distincts
: celui par appels successifs et celui par embrochage.
Ces deux montages présentent chacun leurs avantages et
leurs inconvénients propres.
Dans le premier cas, lappel étant retransmis de
poste en poste, on est forcé pour obtenir la communication,
de mettre à contribution tous les bureaux intermédiaires;
par contre, il est possible de communiquer séparément
sur plusieurs tronçons de la ligne à la fois.
Dans le second cas, la résistance de la ligne se trouve
augmentée de la résistance des récepteurs
dappel des postes intermédiaires, ou même
de tous les postes ; mais les appels parviennent directement
à destination sans déranger personne inutilement.
Dans les appareils téléphoniques,
les organes de transmission et de réception de la parole
ne sont mis en ligne quaprès que lappel a
été émis dune part et reçu
de lautre. Un poste, téléphonique au repos
se trouve donc dans des conditions identiques à celles
dun poste télégraphique, et tel mode dappel
qui conviendra au premier système sera également
bon pour le second.
II semble, quune fois lappel parvenu à destination,
rien ne doit sopposer à la transmission de la parole,
et que la question du fil commun noffre pas plus de difficultés
avec le téléphone quavec le télégraphe.
Cependant, si lon veut installer plusieurs postes téléphoniques
sur un même fil, on se trouve le plus souvent en présence
dobstacles réels, et ce nest quexceptionnellement
que lon peut employer lun ou lautre des modes
de montage utilisés en télégraphie.
Les obstacles que lon rencontre sont de nature; différente,
suivant le montage en vue. Avec celui par appels successifs,
cest pour le service même du téléphone
que les inconvénients se présentent. Il faut,
en effet, la présence continue dun employé
à chaque poste; pour que ce service puisse se faire sans
interruption.
Pour la télégraphie, cette obligation nest
guère un obstacle, puisquil faut quand même
des agents spéciaux. Pour le téléphone,
dont le caractère propre est précisément
de se passer de ces agents, cest le plus souvent une cause
dimpossi bilité absolue.
Le montage par embrochage convient parfaitement sur une petite
ligne, si le nombre des bureaux est faible
; mais je ne connais pas dexemple ' de 10 ou 12 postes
reliés par cette méthode et donnant un bon résultat,
principalement entre les deux postes extrêmes.
Cela tient à ce que ce nest plus la résistance
seule des sonneries ou relais embrochés, qui intervient
pour affaiblir le courant (ainsi que cela se passe pour le télégraphe),
mais principalement la self-induction. Celle-ci est assez grande
à cause des armatures; et lon na pas ici
la ressource de renforcer les effets en augmentant la force
électromotrice.
Ainsi soient 12 postes embrochés sur un seul fil et possédant
un relais pour lappel. Si les deux postes extrêmes
ont leurs appareils disposés pour la conversation, lensemble
du circuit se présente comme dans la figure 1.

t est un récepteur téléphonique,
b le fil fin de la bobine dinduction et 2 un relais.
On voit que les causes daffaiblissement de la parole sont
importantes, puisquà la résistance de la
ligne, des téléphones et du fil induit et à
celle des dix relais vient encore sajouter la self-induction
de tous ces organes. Aussi, quand il faut relier par le téléphone
plusieurs bureaux, sensiblement dans le prolongement lun
de lautre, et que lon ne veut pas à chaque
poste un employé spécial , est-on forcé,
dès que le nombre des bureaux est un peu considérable,
de renoncer au fil unique et de se servir de plusieurs fils
pour faire le service, bien quun bureau central soit alors
nécessaire. Cest ce qui explique pourquoi le téléphone
nest pas plus répandu sur certaines lignes de chemin
de fer et dans les grands établissements industriels
ou les mines.
On vient de créer aux ateliers Mourlon, à Bruxelles
(Comagnje de Télégraphie et de Téléphonie
internationales) un poste téléphonique qui élimine
cette difficulté et qui permet précisément
de grouper par embrochage jusquà 12 postes sur
un même fil.
On obtient ce résultat en supprimant les effets nuisibles
des relais dappels par un procédé fort intéessant,
dû à Van
Rysselberghe, qui consiste à placer
en dérivation sur ces relais des condensateurs de capacité
moyenne : 1/2 microfarad.
Les ondes téléphoniques se propagent par induction
électrostatique au travers des condensateurs, et dautant
mieux que le coefficient dinduction et la résistance
du relais sont plus grands; tandis que les appels se font par
les relais, sans que les condensateurs occasionnent la plus
légère pertubation. On obtient ainsi, en quelque
sorte, leffet de deux circuits distincts.
Le nouveau poste est généralement disposé
pour courant de repos, l'ensemble du circuit est représenté
dans la figure 2.
Une pile à sulfate de cuivre, dont la moitié des
éléments est à un bout de la ligne, et
la seconde moitié à lautre, engendre un
courant de 10 à 12 milliampères qui circule constamment
dans la ligne au travers des relais 2, des clefs a, et des appareils
téléphoniques t, b, lorsque ceux-ci sont mis en
circuit (comme il est indiqué dans les postes 1 et 12).
Les relais agissent sur les sonneries par rupture du courant.
Il ne faut ainsi quune seule pile pour toute la ligne
et de plus, on est immédiatement averti par un roulement
continu de la sonnerie, si la ligne vient à être
rompue.

Ainsi que la figure 2 lindique, dune maniéré
sommaire et la figure 3 dune manière complète,
on voit que lorsque le crochet commutateur du téléphone
est soulevé, le fil induit b et les téléphones
t sont mis en circuit sans que le relais soit supprimé.
Cette disposition, nécessitée par la présence
du condensateur, est avantageuse, car elle permet de continuer
à appeler le correspondant bien
que le téléphone ne soit pas suspendu.
Et lon sait combien il est parfois impatientant de ne
pas recevoir de réponse aux Alloh ! Alloh ! les plus
énergiques.
Lorsquune quelconque des clefs d'appel
a est abaissée, les relais font marcher les sonneries
dans tous les bureaux. On est donc toujours averti lorsque la
ligne va être employée. Cependant, il se pourrait
que lon nait point entendu le signal, et que lon
fasse soi-même un appel pendant que deux autres postes
sont encore en conversation. Cest pour éviter,
dans ce cas, tout effet nuisible à la conversation engagée,
que la dérivation du condensateur est prise en deçà
de la clef dappel. Lensemble de tous les condensateurs
et de tous les relais, forme de la sorte un excellent anti-inducteur,
et les interruptions ou fermetures des courants sont absolument
inaudibles au téléphone.
Pendant que deux postes parlent ensemble, deux autres postes
pourront impunément sappeler et au besoin converser
par signaux Morse, soit même à laide dun
récepteur Morse substitué dans ce cas à
la sonnerie au moyen d'un commutateur. Les postes qui parlent
au téléphone ont soin alors darrêter
leur sonnerie locale (si cela empêche dentendre)
soit en coupant le circuit local, soit simplementen maintenant
le marteau de la sonnerie qui, dans ce but, est à proximité
de la main.
Si deux postes, ignorant que la ligne
est occu--pée, voulaient parler après léchange
de leurs appels, ils sapercevraient irqmédiatement
de leur erreur, en écoutant dans les récepteurs.
Ils peuvent du reste également prendre part à
la conversation.
Le seul inconvénient de ce poste, si toutefois cen
est un, cest quil ne peut empêcher un bureau
découter ce qtii se dit sur la ligne, Mais si lon
tient au secret, il ny a dautre moyen que davoir
des fils spéciaux. Il en est de même du reste en
télégraphie.
La figure 3 indique le schéma des communications du
poste.
P est un parafoudre.
G le condensateur à papier paraffiné de 1/2 microfarad.
S la sonnerie.
R le relais.
B le bouton dappel.
C T le crochet du téléphone.
B I la bobine dinduction, et
M le transmetteur microphonique.
Le montage noffre rien de particulier, sinon que l'extrémité
du crochet du téléphone est isolée pour
couper toute communication entre la ligne et les organes téléphoniques,
dans la position dattente.
Plusieurs applications de ce poste dont un spécimen est
exposé dans la section belge, au palais des machines,
ont été faites jusquici avec succès;
la plus importante, est celle qui sert à lexploitar
tion du chemin de fer funiculaire des hauts-fourneaux du Luxembourg.
Paul Samuel.
|
Le système Berheim vu dans "LA LUMIÈRE
ÉLECTRIQUE" de 1889
|
INTERCOMMUNICATIONS TÉLÉPHONIQUES ET TÉLÉGRAPHIQUES
(système bernheim)
Linstallation de bureaux secondaires permettant de mettre
un même poste en communication avec plusieurs autres,
est une des charges des services téléphoniques.
Elle entraîne de sérieuses dépenses de personnel
et dentretien, et introduit dans le service des complications
et des retards;
remplacer ces bureaux par des systèmes automatiques est
un problème depuis longtemps posé, il a déjà
reçu plusieurs solutions qui ont été â
leur heure décrites dans ce journal. Toutes sont par
malheur compliquées et délicates, en sorte quaucune
ne semble avoir été sérieusement appliquée.
M. Bernheim en apporte une qui paraît simple, mais
qui en échange ne sapplique quà des
cas limités, cest-à-dire à un nombre
d'intercommunications peu élevé.
Lorgane fondamental de ce système est un relai
non polarisé.
Entre les branches dun fort aimant permanent en fer à
cheval A se trouve suspendue la bobine r (fig. 1) formée
dun disque à gorge profonde autour de laquelle
on a enroulé un certain nombre de spires de fil isolé,
intercalées dans le circuit de la ligne.
Cette bobine est [suspendue par une extrémité
sur des pivots lui permettant dosciller, lorsque le courant
la traversant, elle est soumise aux actions des aimants fixes.
Des butées D convenablement disposées sont placées
dun côté ou de lautre du pendule.
Ce relai sera, suivant le sens du courant quil reçoit,
appelé vers lun des pôles de laimant.
Dans le système de M. Bernheim, on fait usage de deux
fils conducteurs ; à chacun des postes qu oi veut mettre
en communication, on place un de ces relais sur chacun des fils.
Pour que le poste soit appelé il faut que les deux relais
soient sur leurs butées, ils ferment alors un circuit
local renfermant une pile et une sonnerie.
On conçoit immédiatement quil peut y avoir
plusieurs combinaisons distinctes amenant cet appel. Appelons
A lun des fils et le relai quil porte, B lautre
fil et son relai. Nous fermons le contact davance sur
B, pour appeler on pourra fermer A sur le pôle nord en
lançant dans le fil A un courant dun sens déterminé
ou sur le pôle sud en envoyant sur
ce même fil un courant de sens contraire : soit deux combinaisons.
Inversement nous fermons davance le contact sur A, pour
compléter nous avons deux moyens en amenant B soit au
pôle nord soit au pôle sud de laimant, ci
deux combinaisons nouvelles, soit quatre. Enfin nous pouvons
laisser normalement les deux contacts ouverts et les fermer
en envoyant dans les deux fils deux courants parallèles,
tantôt dans un sens tantôt dans l'autre, amenant
les deux pendules soit sur les pôles sud soit sur les
pôles nord. En tout six combinaisons.
Fig2
Fig3
On se rendra compte du mode de réalisation par les figures
2 et 3, la première indique schématiquement larrangement
des circuits, la seconde donne lidée de la disposition
des relais sur les fils principaux et le circuit local.
Pour que lappel se fasse, il faut que les relais F du
poste appelé se trouvent simultanément au contact
de leurs butées.
Si nous envoyons un courant positif dans le fil 1 (fig. 2) et
que nous nen envoyions aucun dans le fil 2, le relais
du poste 3, placé sur le fil 1 mettra son armature en
mouvement dans un sens tel que celle-ci viendra au contact de
sa butée.
Le relais du même poste placé sur la ligne 2, ayant
normalement son armature en contact avec sa butée, le
circuit local dans lequel se trouvent intercalés les
deux relais et leurs butées se trouvera fermé
par le fait de cette seule émission de courant.
La figure 3 qui est le diagramme théorique des communications
intérieures servant à recevoir lappel dans
le poste 3, permet de comprendre suffisamment le principe.
A une émission du courant positif dans le fil L correspond
la fermeture du circuit local dans lequel est intercalée
la pile P actionnant la sonnerie S.
Nous avons donc appelé le poste 3.
En envoyant simultanément un courant positif dans chacune
des lignes 1 et 2, nous déterminerons un mouvement du
pendule de chacun des relais du poste 6 dans un sens tel que
la déviation aura pour effet de mettre au contact les
armatures avec leurs butées.
Les deux butées reliées simultanément au
massif des relais disposés dans le circuit du courant
local détermineront le mouvement de la sonnerie Nous
aurons donc ainsi effectué lappel du poste 6.
La figure 4 montre en détail lensemble dinstallation
de deux des postes disposés sur une seule ligne à
deux fils, chacun de ces postes destiné à téléphoner
et à télégraphier à chacun des six
autres.
A chacune des stations sont disposés une clef dappel
A et un certain nombre de touches t permettant, lorsquon
les abaisse, denvoyer des courants de sens différents.
.
Chaque poste est, en outre , muni de deux commutateurs à
six lames B B' et de deux commutateurs à deux lames C
C.
Chacun des deux postes extrêmes na quun commutateur
à deux lames G.
Ces commutateurs G sont destinés à couper la terre
aux postes extrêmes de façon que le courant émis
circule sur la ligne et naille pas directement à
la terre.
Cette disposition des commutateurs, ainsi quon peut le
concevoir, permet de faire communiquer avec la terre les extrémités
des deux fils de chacune des sections qui se trouvent dun
côté et de lautre dune section de ligne
occupée, ce qui permet à un poste quelconque situé
sur lune ou lautre de ces sections inoccupées
dappeler un autre poste situé sur la même
section que lui.
Par convention, chaque poste sonne autant de fois quil
y a dunités dans son numéro dordre,
le poste appelé sait donc par qui il est appelé,
il sait aussi si la communication est
demandée pour le télégraphe ou pour le
téléphone au moyen dun signal spécial
précédent ou suivant lappel et dispose en
conséquence les divers commutateurs B B' CC' et D.
Le poste appelant prend les mêmes dispositions dans létablissement
des connexions intérieures de son poste.
Lappareil téléphonique dans le cas de transmission
télégraphique et téléphonique sur
une même ligne est mis en court circuit hors de cette
ligne ; on le place dans la ligne en déviant le commutateur
à 6 lames de gauche, si on veut correspondre avec un
poste de gauche, dans le cas dune transmission à
droite en déplaçant celui de ce côté.
Linstallation du système Bernheim présente
encore lavantage qu'un poste intermédiaire entre
deux postes qui communiquent entre eux ne peut se mettre en
dérivation dans le circuit; par conséquînt
aucune indiscrétion ne peut se produire, car on ne peut
écouter à ce poste quen coupant la communication
entre les deux postes parlants.
La clef dappel A sert en même temps de manipulateur
pour télégraphier et envoyer des signaux.
Les touches dont les différents postes sont pourvus sont
disposées comme le montrent la figure
5 qui est une coupe dont la figure 6 est le plan.
Les figures 7 et 8 représentent en perspective la même
clef levée et baissée.
Chaque poste est en outre pourvu de galvanomètres g,
destinés à indiquer le genre de transmission qui
affecte la ligne traversant un poste, soit quon télégraphie,
soit quon téléphone.
Lorsquon télégraphie, les aiguilles des
galvanomètres des postes placés sur la section
de la ligne affectée indiquent par leur déviation
que le courant passe; on ne peut donc appeler.
Entre deux postes qui communiquent téléphoniquement
les galvanomètres ne dévient pas, mais si un poste
intermédiaire veut sonner, le courant ne passe pas, puisquil
ny a pas de terre aux extrémités ; le galvanomètre
par conséquent ne dévie pas et lemployé
sait par là que la ligne est occupée.
Si au lieu de 2 fils nous employons 3 fils de ligne, nous pourrons
appeler dun poste dans 17 autres, en employant 4 fils
et davantage, nous mettons en communication directe 26 postes
en plus.
On trouve donc une application avantageuse du système
pour les réseaux téléphoniques de petites
villes, puisque avec un nombre de fils restreint on pourra se
passer de bureau central et économiser les nombreux frais
dinstallation et dexploitation quil entraîne.
On prévoit divers autres cas où on pourra appliquer
avantageusement le système Bernheim.
Ainsi sur les lignes de chemins fer, on pourra mettre en communication
pour sappeler entre elles et communiquer les stations
disposées sur une même ligne.
Les postes des réseaux municipaux dincendie ou
de police pourront être reliés de cette manière.
On embranchera les signaux de chemins de fer manuvrables
à distance, étc,, etc.
Avant de terminer nous donnerons quelques détails sur
une installation de ce système faite par la Société
générale des Téléphones.
Dans cette application M. Bernheim avait une difficulté
à résoudre.
La série des postes étant reliée à
lun des bureaux centraux du réseau
téléphonique de Paris, il fallait mettre lun
quelconque des abonnés placés sur la ligne en
communication avec les abonnés du réseau de Paris.
Pour les appels des différents postes au bureau central
il ny avait rien à changer au système tel
que nous lavons décrit plus haut.
La communication a lieu sur un circuit entièrement métallique
avec une terre branchée en dérivation ; entre
cette terre et la ligne, on a intercalé une résistance
de 1000 ohms, laquelle a été reconnue ninfluencer
nullement la conversation qui reste très nette.
Voici à quoi servait cette terre. Il fallait que les
abonnés pussent donner le signal de fin de conversation.
Comme les abonnés de la ligne Bernheim, sonnent avec
une terre, ils peuvent le faire avec une terre en dérivation.
La palette de lannonciateur étant attirée
ferme un circuit local qui va faire tomber les annonciateurs
du bureau central placés sur la communication établie.
De cette façon les téléphonistes sont toutes
prévenues de la fin de la conversation et retirent leurs
fiches.
A. Guilloux
|
Parallelement le belge
Rysselberghe, et
le russe Gwozdeff
inventent un système similaire .
Au Portugal le 19 Avril 1894 dans le journal "O
Povo de Avero"
Nouvel appareil téléphonique
(L'électricien russe Gwozdeff a inventé un
nouveau téléphone qui est théoriquement et
pratiquement différent de la plupart des systèmes
connus à ce jour.
Avec le nouvel appareil, la parole était transmise sur
de très longues distances à l'aide d'un seul fil
télégraphique, sans interrompre le service télégraphique.
Il a aussi la particularité de pouvoir transmettre la parole,
via le même fil, vers plusieurs points à la fois,
pouvant ainsi parler simultanément dans quatre directions
différentes. Exemple : avec un seul fil parlant de
Lisbonne à Porto, on pourrait également l'entendre
à Santarem, Entroncamento et Coimbra. |
Dans les Mémoires et compte-rendu des travaux de la société
des ingénieurs civils Vol. 59, 1893
Le système Gwozdeff présente
quelque analogie avec celui de M. Van Rysselherghe ; il est caractérisé
également par lemploi de condensateurs, mais de capacités
très différentes alors que ceux du système
Van Rysselherghe sont de même capacité. Ainsi M.
Gwozdeff donne au condensateur du microphone une capacité
de 1 à 10 microfarads, et à celui du téléphone
une capacité de 0,02 à 0,023 microfarad , soit une
capacité 40 à 50 fois moindre.
On fait usage aussi de déchargeurs analogues à une
clef Morse pour éviter la charge de la ligne pendant le
passage des courants téléphoniques, et ensuite sa
décharge, ce qui rend moins brusque la diminution de loscillation
électrique.
Enfin, certains perfectionnements ont été apportés
aux microphones dans le but de les approprier aux transmissions
à grande distance.
Les premiers essais du système datent de 1888-89; ils ont
eu lieu sur la ligne télégraphique du chemin de
fer Rybinsk-Bologoë. On a pu converser à 294 km sur
un conducteur en fer et, pendant le travail sur cette ligne, des
appareils télégraphiques étaient continuellement
en jeu.
Si nous insistons sur ce système de téléphonie,
cest que les chemins de fer russes de Kozloff-Voronège-Rostov
et de Saint-Pétersbourg-Varsovie lont installé
pour les besoins de leur service.
On correspond ainsi téléphoniquement :
De Saint-Pétersbourg à Pskov,- à une distance
de 284 km,
De Saint-Pétersbourg à Louga (138 km),
Entre Saint-Pétersbourg et Alexandrowka et à Gatschina.
De plus, entre Saint-Pétersbourg et Alexandrowka, on a
installé onze postes téléphoniques de pleine
voie desservis par un fil unique spécial ; chaque poste
comprend un microphone et deux téléphones récepteurs.
Les gardiens sont appelés aux téléphones
par un rugissement spécial que produisent ces appareils
sous linfluence de courants dinduction lancés
à travers la ligne entière par le circuit secondaire
dune bobine de Rhumkorff au moyen dinterruptions réitérées
du courant de son circuit primaire. Le gardien ainsi appelé,
sinforme quelle est la station qui veut correspondre avec
lui : Saint-Pétersbourg ou Alexandrowka.
Enfin, sur les chemins de fer russes pourvus de ces installations
téléphoniques, on peut converser au moyen de postes
téléphoniques portatifs dun point quelconque
de la ligne avec les stations voisines.
Ainsi, sur certaines lignes de chemins de fer russes on a réalisé
la transmission acoustique à des distances de plusieurs
centaines de kilomètres au moyen des conducteurs télégraphiques
ordinaires. Pour les conversations à grande distance, on
a réuni en boucle deux conducteurs télégraphiques.
Nous ne connaissons aucune installation de ce genre sur les chemins
de fer français et, ainsi que nous le faisions remarquer
plus haut, ladministration des télégraphes
na pas cru devoir adopter les systèmes anti-inducteurs
pour lutilisation de son réseau télégraphique
lorsquelle a eu à créer la téléphonie
interurbaine. Elle a préféré poser des lignes
spéciales en cuivre de haute conductibilité permettant
de correspondre très nettement à des distances considérables
(par exemple de Paris à Marseille, distantes de 863 km),
et qui ne nécessitent pas la modification de tous les postes
télégraphiques.
Nous pensons que cette mesure radicale est en effet la meilleure
et quelle devra être imitée par les Compagnies
de chemins de fer si elles jugent utile de créer un réseau
téléphonique. |
sommaire
Puis en 1893 voici ce qu'expose E.Estaunier dans les annales télégraphiques
Les systèmes
d'installation de postes téléphoniques en embrochage
réalisés pratiquement sont, assez peu nombreux à
cette date,
- L'un des plus anciens et des plus connus est celui qu'a employé
en Amérique la Stabler
Individual Téléphone Call C .
E.Estaunier dans les annales télégraphiques de 1893


Dès 1882, l'Américain James.P Stabler
oeuvrait déjà dans les installations d'alarme, a mis
au point un système d'installation de postes téléphoniques
en embrochage (ou en série). L'un des plus anciens en
Amérique et des plus connus.
Associé à un centre manuel, l'appareil permettait à
l'opérateur qui recevait une demande (appel) de séléctionner
et sonner un autre abonné à l'aide d'un boitier à
touches, puis de mettre en conversation les deux abonnés au
moment ou il appuyait sur la touche de mise en relation
Nous en indiquerons uniquement le principe.
Chaque poste est muni d'un mouvement d'horlogerie qui fait avancer
un frotteur sur un cercle. Il n'est relié à la ligne
que pour une position déterminée de ce frotteur sur
le cercle. Pour tout autre position, il en est isolé.
Du bureau central on peut, à l'aide d'un manipulateur, faire
avancer simultanément et par impulsions successives les frotteurs
de tous les appareils.
Les positions des frotteurs pour lesquelles chacun des postes est
relié à la ligne, sont différentes, si on les
rapporte à une origine commune.
Jamais deux postes ne pourront donc se trouver simultanément
rattachés à la ligne, et l'on voit aussi que deux abonnés
desservis par un même fil ne peuvent causer entre eux.
La fig, 43 représente les communications théoriques
d'un poste.
Le frotteur est indiqué en Z, T anneau métallique sur
lequel il se déplace, en V. Le frotteur est fixé sur
une roue dentée que les oscillations d'une ancre commandée
par l'armature d'un électro aimant E font avancer à
chaque envoi de courants alternatifs effectués par le bureau
central. Cette armature est mobile autour de l'axe L S'il n'y a pas
de raté, tous les frotteurs avancent synchroniquement.
Au point de vue électrique, un poste d'abonné peut occuper
trois positions :
1** Le frotteur est appuyé sur le contact S, le poste est à
la position d'attente. La ligne arrive en L, passe par l'électro
E, Z, V, S, le générateur d'appel J et continue en L.
2** Le frotteur est appuyé sur le contact , le poste est en
communication avec le poste central. La ligne L traverse l'électro-aimant
E, passe par Z, la sonnerie G, U et L, ou bien si l'abonné
a décroché son téléphone, ce qui provoque
la manuvre du levier K, passe directement de t aux contacts
a et a', au microphone M pour continuer encore par L. Dans cette deuxième
position la sonnerie a est mise en court circuit.
3** Le frotteur est appuyé sur un point r de la couronne X.
Le poste de l'abonné est tout entier mis en court circuit.
La ligne L passe directement par l'électro-aimant E, par z
r, a et L.
Lorsque l'abonné veut appeler le poste central il se sert d'un
appareil électro-magnétique figuré en G, muni
d'un redresseur de courants et ne pouvant par suite affecter l'électro-aimant
E. Le frotteur étant en S, c'est à-dire à sa
position de repos, les courants envoyés passent directement
de J au ressort K, et se rendent au poste central par S, z, l'électro
E et L.
Enfin, quand une communication est terminée, c'est le poste
central qui se charge de ramener au repos tous les frotteurs. Il envoie
pour cela une série de courants alternatifs sur la ligne qui
font avancer tous les frotteurs jusqu'à ce qu'ils soient venus
se placer sur le secteur S, une butée V empêche de le
dépasser. On est donc sûr, en prolongeant un certain
temps cette émission de courants, d'avoir ramené tous
les frotteurs à l'origine commune du mouvement.
Il est évident qu'il faudra ensuite déclencher les frotteurs
qui se trouvent en prise avec l'arrêt. Des électro-aimants
V servent à cet usage, un courant d'intensité déterminé
les actionne.
Il parait inutile d'insister sur les inconvénients du système.
Outre la complexité des manuvres du système, j'en
citerai deux principaux : aucune précaution n'a été
prise pour garantir le synchronisme des frotteurs, et il y a en permanence
sur la ligne autant d'électro-aimants que de postes embrochés.
sommaire
- Un deuxième système essayé avec succès
pour deux postes dans quelques installations privées
françaises est dû à M. Sieur.
E.Estaunier dans les annales télégraphiques de 1893
Bien qu'il eût été rationnel en apparence d'en
donner la description lorsque les appareils de cette catégorie
ont été étudiés, elle trouve ici sa place
indiquée ; elle est en effet, comme on en jugera plus loin,
le point de départ d'une solution assez simple du problème
des postes en embrochages.
Chacun des deux postes est placé en dérivation sur le
circuit principal (fig. 44). Leur insertion sur les deux fils de ligne
est faite en sens inverse.
La fig. 45 représente le détail des communications dans
l'un de ces postes : tous deux sont identiques.
Les organes essentiels qu'on y rencontre, outre les éléments
habituels : sonnerie, microphone, etc., sont :
1** Un électro-aimant B appelé électro-commutateur
à balancier;
2** Un relai polarisé A à deux armatures fonctionnant
chacune sous l'action d'un courant de sens différent.

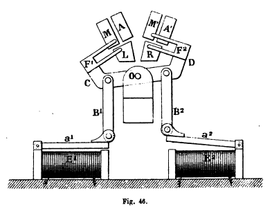
L'électro-commutateur à balancier (fig. 46) se compose
d'un levier isolant CD mobile autour d'un axe 0, et portant à
ses deux extrémités deux frotteurs F, et F, destinés
à glisser sur les contacts métalliques M, A, L, M',
A', R.
Les mouvements sont transmis à ce balancier au moyen de deux
petites bielles B1 et B2, par les armatures . Ces armatures sont elles-même
attirées par deux électro-aimants E1, et E2.
Suivant que l'un ou l'autre de ces électros fonctionne, le
balancier CD s'incline à droite ou à gauche, les contacts
L et R sont mis en communication avec A1 et A2 ou M1 et M2 et un voyant
apparaît portant l'une des deux mentions : Libre Occupé.
Le relai polarisé a déjà été décrit
; il est inutile d'y revenir. Chacun des deux postes possède
en outre en H les organes nécessaires à l'émission
automatique du courant de fin de conversation décrit déjà
à l'occasion de la station automatique du système Sieur.
Le poste central est muni de deux clefs lui permettant d'envoyer à
volonté un courant d'appel d'un sens ou d'un autre sur la ligne.
Son annonciateur est polarisé. Un voyant indique donc toujours
le numéro du poste appelant.
Supposons que le poste 1 (fig, 45) veuille sonner le bureau central.
Il appuie sur la clef d'appel G. Le pôle positif de sa pile
d'appel est ainsi placé sur le fil 1 ; le pôle négatif
sur le fil 2. Le récepteur polarisé du poste central
fonctionne.
Dans le poste 2, par suite de l'intervertion des fils, un courant
négatif entre par le contact de l'électro commutateur
; il passe ensuite par les contacts t , L, L' (dans le commutateur
H), traverse le crochet mobile K, la clef d'appel G et les deux bobines
du relai. Il revient ensuite par les contacts E' et R de H et les
contacts t' et r de l'électro-commutateur à balancier.
L'armature du relai A marquée du signe - est attirée.
Le courant de la pile locale est alors fermé sur l'électro
aimant E' qui attire son armature et fait basculer le balancier.
L'aiguille amène le voyant « Occupé ». Les
fils de ligne sont isolés de l'appareil téléphonique
et reliés directement au relai A par les contacts a et a' d'une
part, r et a' de l'autre. Ce poste est donc immobilisé.
Le poste central répond en appuyant sur la clef d'appel du
poste 1 ; il envoie ainsi un courant positif sur le fil 1.
Ce courant a pour effet, au poste 2, de faire fonctionner l'armature
- du relai A, ce qui maintient le balancier dans la position «
Occupé » qu'il a prise précédemment.
Au poste 1, au contraire, c'est l'armature + qui fonctionne et ferme
le circuit de la pile locale sur la sonnerie S.
La communication du poste 1 avec le central ou l'abonné demandé
se fait ensuite à la manière ordinaire, le commutateur
à levier ayant mis hors circuit la clef d'appel. et le relai
A.
Dès que le téléphone est raccroché, le
transmetteur automatique du signal de fin de conversation fonctionne.
Il a pour effet, comme on l'a vu, de mettre à la terre le pôle
négatif de la pile d'appel et d'envoyer simultanément
un courant positif sur chacun des fils 1 et 2. Un courant positif
entre donc au poste 2 dans chacune des bobines du relai A dont les
deux armatures sont attirées.
La pile locale est alors fermée sur l'électro-aimant
E dont l'armature ramène le balancier CD à la position
normale.
Tout est rétabli dans l'état initial.
Comme on peut s'en rendre compte par le détail qui précède,
l'organisme de ce système est relativement peu compliqué
et chacun des postes est relié au bureau central par deux fils
seulement.
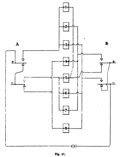
On conçoit tout de suite qu'il est facile en adjoignant un
deuxième relai analogue au relai A de multiplier considérablement
le nombre des abonnés reliés ainsi en embrochage.
La fig. 47 indique théoriquement un agencement de circuits
qui permet d'actionner un quelconque des huit électro aimants
à l'exclusion des sept autres et cela à l'aide des quatre
armatures de deux relais polarisés.
Voici la liste des jeux d'armatures correspondants à chacun
des huit électro-aimants.
Deux relais polarisés permettent donc sur une ligne donnée
à double fil de réaliser huit opérations distinctes.
Dans une communication téléphonique en embrochage deux
opérations se font à l'aide du même procédé
électrique dans tous les postes. Ce sont la réponse
à un appel et le signal de fin de conversation, signal qui
ramène à l'état libre les postes isolés.
Il reste encore six opérations distinctes possibles qui correspondront
aux appels individuels des postes.
On peut donc relier en embrochage six postes.
Un arrangement schématique de ce genre est effectivement représenté
ici (fig. 48). On y a figuré un poste central et cinq abonnés.
Dans le poste central, A est un annonciateur polarisé, Il est
un relai polarisé également, dont l'armature est attirée
sous l'influence d'un courant positif, R' est un relai ordinaire fonctionnant
sous l'action d'un courant de sens quelconque. R, F, 1, 2, 3, 4, 5
sont les clefs d'appel destinées : R à répondre
aux appels, F à donner le signal de fin de conversation (cette
dernière clef est supprimée si chaque appareil téléphonique
est pourvu d'un transmetteur automatique), les cinq autres à
appeler le poste dont elles portent le numéro.
On a indiqué seulement sur le croquis, pour en faciliter la
lecture, le signe du pôle des piles aboutissant à chacune
des butées.
De même, dans les postes d'abonnement, S est la sonnerie, E
et F sont les électro-aimants d'un électro commutateur
à balancier : on n'a point marqué leurs frotteurs. Rappelons
que suivant que Télectro E ou E'. fonctionne, la ligne est
mise sur les relais R^ et R, soit directement, soit à travers
l'appareil téléphonique. Rj et Rj sont des relais polarisés
à deux armatures , on a marquées chacune d'elles du
signe + ou suivant qu'un courant positif ou négatif
les fait fonctionner. La clef R répond aux appels, la clef
F donne le signal de fin de conversation (elle devient inutile comme
dans le poste central en cas d'émission automatique de ce signal),
les autres clefs enfin servent à appeler la station centrale
ou les autres stations.
Supposons maintenant que le poste 5 désire le poste 2. L'abonné
5 appuie pour cela sur la clef 2 qui transmet un courant positif sur
le fil 1 de la ligne et un courant négatif sur le fil 2.
Il décroche ensuite son téléphone pour mettre
ses relais Rj et R^ hors du circuit et porte les écouteurs
à l'oreille pour entendre la réponse du poste 2.
Au poste central les deux relais attirent leurs armatures, aucun courant
local ne fait donc marcher l'annonciateur.
Dans les postes 1, 2, 3 et 4, l'armature + du relais Rj et l'armature
du relai R'^ sont attirées. Le circuit de la pile locale
des postes 1, 3, 4, reste ouvert; au poste 2, au contraire, le courant
de la pile locale est fermé : il passe en effet par l'armature
-j- du relai R, et son contact supérieur, traverse la sonnerie
et revient au pôle négatif en passant
par le contact supérieur de l'armature du relai R\.
L'abonné est bien appelé.
Le poste 2 répond en appuyant sur la clef R qui transmet un
courant négatif sur le fil 2.
Le poste central n'est pas plus dérangé que la première
fois puisque son relai R' marche seul : l'annonciateur A reste au
repos. Aux postes 1, 3 et 4, au contraire, l'armature du relai
R^ est attirée. Elle ferme le circuit de la pile locale dans
Télectro-aimant E' de l'électro-commutateur. Dans chacun
de ces postes, l'appareil téléphonique et les clefs
d'appel sont alors exclus, et le signal « ligne occupée
» apparaît.
Tous les appareils autres que ceux des postes 2 et 5 ont disparu de
la ligne. Les deux abonnés causent en toute sécurité.
La conversation terminée, chacun d'eux accroche son téléphone,
et si les appareils sont pourvus de l'organe nécessaire le
courant de fin de conversation est envoyé automatiquement dans
le sens voulu : sinon il faut appuyer sur les clefs F qui l'une et
l'autre dans ce cas transmettent un courant positif sur la ligne 2^
ramenant tous les postes en l'état initial.
En effet, chez les abonnés 1, 3 et 4, l'armature f du relai
R, est attirée : le circuit de la pile locale se ferme sur
Télectro-aimant E de l'électro commutateur et le balancier
revient à sa position primitive.
On pourrait évidemment mettre au poste central des relais polarisés
et un électro-commutateur comme au cinq autres postes. Il a
semblé, au contraire, plus pratique d'encombrer moins celle-ci
en laissant aux abonnés embrochés sur le même
fîl le soin de correspondre directement entre eux. Lorsque le
central veut établir une communication, il lui suffit pour
s'assurer si le fil est libre ou non d'écouter
au téléphone ; il entendra si
une conversation est déjà engagée ou non.
L'inconvénient de la solution de M. Sieur réside dans
l'obligation de mettre une terre en dérivation sur chacun des
postes. On sait qu'on arriverait facilement à l'atténuer
en mettant en avant de la terre une bobine à forte self-induction
sur laquelle est dérivé un condensateur.
Il est clair que le prix d'une pareille installation est également
assez élevé.
Il faut remarquer en revanche qu'un dérangement dans l'une
des stations n'entrave pas la marche des autres. C'est un avantage
considérable sur tous les dispositifs en étoile. De
plus les organes à adjoindre sont des électro-aimants
robustes, et il n'y a pas nécessité de recourir à
des courants d'intensités variables.
A ce double point de vue il était intéressant d'étudier
ce dispositif en détail comme on vient de le faire.
sommaire
- Un autre système, appliqué depuis
six ans dans un certain nombre d'installations particulières,
est dû à M. Bernheim. (1889)
E.Estaunier dans les annales télégraphiques de 1893
Pour chaque mise en communication, il oblige l'abonné à
manuvrer une ou plusieurs manettes. On lui laisse donc une beaucoup
plus grande part d'initiative que ne le permettrait une exploitation
de grand réseau. A priori c'est un inconvénient grave.
Par ce fait, également, le problème s'est trouvé
considéra blement simplifié et ramené en somme
à la recherche d'un procédé d'appel; c'est à
ce point de vue surtout nous l'avons montré que
s'étaient placés les Américains.
Dans l'appel Bernheim il est fait usage de relais sans armature de
fer et à peu près semblables aux relais Àder.

La fig. 49 donne le dessin d'un d'entre eux, assez complètement
pour qu'il soit inutile de s'arrêter à une description
détaillée.
Chaque poste d'abonné est desservi par deux fils, et muni de
deux de ces relais, un sur chaque conducteur. Une terre est à
l'état normal établie aux extrémités de
la boucle du circuit. Sur chacun des fils on peut, par suite, envoyer
un courant spécial actionnant les relais qui y sont embrochés.
Le jeu convenable des deux palettes provoque , dans chacun des postes
, la fermeture de son circuit d'appel.
Au poste 6 par exemple, les deux relais doivent s'appliquer sur leurs
butées de droite pour amener l'appel.
Au poste 5, le relais du fil 1 doit aller à gauche et le relais
du fil 2 doit demeurer immobile, etc.
On a marqué, pour plus de commodité, à l'aide
de flèches le mouvement que doivent prendre les armatures pour
obtenir en chaque poste la formation du circuit local.
Dans ces conditions, M. Bernheim propose d'embrocher sept postes sur
un même circuit, chacun d'eux pouvant répondre à
un appel déterminé à l'exclusion de tous les
autres. En réalité on peut, comme l'a fait remarquer
M. Serruau, augmenter ce nombre de deux.
La fig. 51 donne, indiquée de la même façon que
précédemment, la succession des combinaisons dans cette
hypothèse.
Dans le premier dispositif proposé par M. Bernheim, on ne supposait
nullement qu'un des postes jouât le rôle de station centrale
par rapport aux autres.
Chacun d'eux était donc muni :
1** D'une clé d'appel A et , d'autant de touches t qu'il y
avait d'autres postes embrochés. En abaissant une de ces touches
déterminées, on amenait sous les butées de la
clé A les pôles de pile nécessaires à l'appel
du poste choisi.
2** De deux commutateurs à six lames B et B', et de deux commutateurs
à deux lames G et G'.
Aux deux postes extrêmes, ce dispositif était d'ailleurs
simplifié et réduit à un commutateur à
deux lames G.
Ges commutateurs permettent, comme on va le voir, de faire communiquer
avec la terre les extrémités des deux fils de ligne
dans chacune des sections qui se trouvent de part et d'autre d'une
portion occupée. Un poste quelconque d'une section inoccupée
peut donc encore communiquer avec un poste de la même section
que lui.
Remarquons d'abord qu'à l'état normal les commutateurs
sont orientés comme l'indique la fig. 52. Les postes téléphoniques
et les claviers sont en dehors du circuit ; en outre, les relais r,
r, sont tous embrochés sur les fils et sont par suite susceptibles
de recevoir l'appel.
Supposons maintenant que le poste 2 désire appeler le poste
4. Il déplace d'abord vers la gauche les commutateurs C et
B'.
Le déplacement de C a pour résultat de mettre à
la terre les extrémités des deux flls du circuit venant
du côté gauche du poste. Le poste 1, par suite, est bloqué
et ne peut plus surprendre la conversation.
La manuvre de B' a pour effet d'introduire h Textrémité
des deux fils du circuit de droite, le clavier d'appel et le poste
téléphonique n+ 2.
Si l'abonné abaisse ensuite la touche 4, il appellera le poste
4 en appuyant sur la clé d'appel double A.
On a vu, d'après le schéma des appels (fig, 50), que
pour appeler le poste 4 il fallait envoyer sur le fil 2 un courant
faisant osciller la palette de relais vers la gauche. Aucun courant
ne doit au contraire passer sur le fil 1 . Il est facile, en suivant
les communications du croquis, de vérifier que les choses se
passent bien ainsi.
Chaque poste doit, en outre, sonner autant de coups qu'il y a d*unités
dans son numéro d'ordre. Le poste 4 sait donc immédiatement
qu'il est appelé par le poste n° 2 situé à
sa gauche.
Pour que la conversation s'établisse, il suflSra que chacun
des postes 4 et 2 orientent leurs commutateurs.
Au poste 4 on dévie B et G vers la gauche, G et B' restant
à la position de repos.
Au poste 2, on relève la touche t^ et on laisse B' et G vers
la gauche.
On a indiqué plus haut pour ce poste 2 l'effet de cette position
de B' et G.
Au poste 4, en déplaçant B et G' vers la gauche , B'
et G restant fixes, on a fait communiquer avec le téléphone
du poste la portion de la ligne située à gauche du poste
4. Le déplacement de G h gauche a eu en même
temps pour résultat de mettre à la terre la section
de ligne du côté droit. Cette dernière peut donc
être encore utilisée par les postes 5 et 6.
La fig. 52 donne un ensemble de communications permettant, en outre,
aux divers postes de substituer à leurs postes téléphoniques
des appareils télégraphiques.
Il est inutile de s'arrêter sur ce point. Il est facile, d'après
ce qui précède, de voir que si le système dû
à M. Bernheim est praticable dans le cas d'installations privées,
il devient d'une application malaisée dans une exploitation
de réseau. Il est toujours délicat de confier à
un public absolument inexpérimenté des manuvres
de commutateurs. A fortiori, semblerat-il plus dangereux de lui laisser
un choix entre ces manuvres. Les seules opérations qui
peuvent être faites par l'abonné doivent être d'une
nature tellement simple qu'une erreur de sa part soit impossible ;
de plus
elles ne doivent jamais être de nature à entraver le
service dans le cas d'oubli ou de fausse manuvre.
Le système Bernheim, en dépit de son ingéniosité,
ne répond pas à cette condition. Les modifications que
lui a fait récemment subir son inventeur n'ont pas supprimé
ce défaut et c'est la raison pour laquelle nous n'y insisterons
pas ici.
sommaire
Conclusion de l'exposé de E.Estaunier dans les annales télégraphiques
de 1893
Quelle conclusion pratique convient-il de tirer de cette longue
revue des systèmes téléphoniques automatiques
?
Les appareils proposés peuvent être divisés
en deux groupes.
Les premiers, d'un fonctionnement peu sûr ou ne sauvegardant
pas l'indépendance entière des communications ne pourraient
être acceptés dans des réseaux tels que les réseaux
français où le public est accoutumé à
une grande régularité dans le service.
Les seconds, solutions ingénieuses et complètes de la
question, n'arrivent à ce résultat qu'en utilisant des
organes délicats et coûteux. Leur prix de revient dépasserait
dans la plupart des cas l'économie de fil correspondante.
Beaucoup d'appareils indiqués par leurs auteurs plutôt
que réalisés, ont été soumis à
l'appréciation du public depuis l'origine de cette étude.
Sans avoir la prétention d'avoir passé en revue la totalité
des Systèmes possibles, on peut dire que la plupart rentrent
pourtant dans les catégories diverses dont le principe a été
exposé ici.
Dans aucun cas, ce n'est l'ingéniosité qui a manqué
; s'il est un reproche à faire, c'est au contraire une trop
grande complexité de moyens, complexité entraînant
du même coup une élévation de prix considérable
et un entretien difficile.
Enfin, un fait nouveau est survenu qui a modifié complètement
la nature du problème : l'exploitation des grands réseaux
tend à se faire désormais à peu près exclusivement
à l'aide d'appareils multiples.
Comme la complication de ces multiples se prêterait mal à
des règles particulières d'appel concernant des groupes
d'abonnés spéciaux, la recherche des petites stations
automatiques s'est trouvée, par ce fait même, reléguée
au second plan. Quelque simples qu'elles soient, elles ne paraissent
plus pouvoir trouver place dans le nouvel outillage mis en uvre.
Les conclusions auraient donc été, à première
vue, assez décourageantes si, des conditions nouvelles de l'exploitation
téléphonique, n'avait surgi l'idée audacieuse
et, il faut l'espérer, féconde d'étendre
le champ de la station automatique, en l'obligeant à mettre
en communication non plus deux, six ou même dix abonnés,
mais la totalité des abonnés d'un réseau.
On voit à ce desideratum divers avantages.
Lès multiples téléphoniques, actuellement en
service, ont réussi à supprimer l'intermédiaire
des lignes de renvoi, et les téléphonistes desservant
ces dernières. Un seul employé suffit pour établir
une communication entre deux abonnés quelconques.
Le multiple automatique supprimerait ce dernier intermédiaire
et laisserait au public le soin de se mettre lui-même directement
en relation avec lès abonnés qu'il désire.
Le bureau central n'existerait plus qu'au point d'une machine : le
personnel actuel deviendrait inutile, et l'unique intervention d'un
mécanicien surveillant le fonctionnement de l'appareil resterait
nécessaire.
La voie nouvelle est encore trop récente pour
qu'il soit possible de donner ici des appareils réalisés.
sommaire
1893 Toutefois , ne fut-ce que pour indiquer la possibilité
de résoudre ce problème, il est nécessaire de
terminer cette étude par une description sommaire du principe
de l'autocommutateur téléphonique de MM. Verner et
Tedesco.
Dans ce système, chaque abonné est relié au bureau
central à l'aide de 2 fils l'un dit fil d appel sert
uniquement à la mise en contact avec la ligne désirée
l'autre sert à la conversation et est appelé
par l'invenveur fil de son.

Au bureau central, tous les fils de son sont reliés
à des barres verticales i1 i2, pouvant au besoin pivoter légèrement
sur elles-mêmes. Chacune de ces barres est ensuite reliée
électriquement à une courroie horizontale recouverte
de matière conductrice G1 G2,, etc.
Il y a donc autant de courroies que de fils et de barres ces courroies
peuvent décrire , dans leur déplacement, une sorte de
spirale carrée entre les parties de laquelle passent les barres
i1 12, etc. Elles sont disposées les unes au-dessus des autres
de manière à former des colonnes verticales.
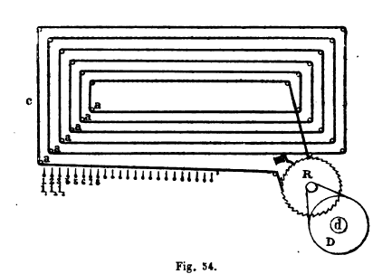
La projection horizontale d'une de ces courroies est représentée
fig. 54.

aaa sont des tiges polies servant de support et dirigeant la course
: i^i^i^ sont les barres verticales dont on a parlé plus haut.
En regard de chaque courroie , ces dernières sont armées,
en outre, de contacts portés par des ressorts.
La courroie est munie d*un contact analogue. Grâce à
ce dispositif quand cette dernière se déplace, on conçoit
qu elle se mette successivement en rapport avec chacune des barres
i^ i^ et par conséquent avec chacun des fils de son des abonnés.
La courroie est mise en marche par une transmis sion D qu'actionne
une machine ; l'arbre d est toujours en mouvement et tend à
entraîner la roue R. Un cliquet commandé par un électro-aimant
arrête le mouvement et, par suite, empêche le déplacement
de la courroie. Le fil d'appel se rend à cet électro-aimant,
puis à la terre. A chaque manuvre de l'armature, le cliquet
est soulevé, une dent de la roue R peut passer et la courroie
avance d'un contact.
Si les barres verticales ont été disposées dans
l'ordre de numéro des abonnés, pour que l'un d'eux se
mette eu relation avec l'abonné n° 365, il lui suffira
d'envoyer 365 émissions sur son fil d'appel.
Outre les circuits ordinaires, le poste d'un abonné comprend,
à cette intention, un appareil d'appel et un avertisseur.
L'appareil d'appel comporte extérieuiment des cadrans pareils
à ceux d'un compteur, et servant à compter les mille,
centaines, dizaines et unités.
Chacun de ces cadrans porte 10 numéros (0 à 9). Pour
appeler l'abonné 365, il suffira de mettre l'aiguille des centaines
sur 3 , celle des dizaines sur 6 , celle des unités sur 5.
La manuvre de ces aiguilles provoque, à l'aide de trains
d'horlogerie sur laquelle il est inutile d'insister le nombre de fermetures
correspondantes du circuit d'envoi.
Il convient de remarquer qu'au central, les barres verticales sont
groupées par dix et qu'entre chaque dizaine est laissée
une place libre. C'est devant cette place libre que s'arrête
le contact de la courroie lorsqu'on met l'aiguille sur 0.
Au repos, le fil de son aboutit à l'avertisseur qui est une
sonnerie combinée avec un voyant.
Le fonctionnement s'explique de lui-même; il suffit d'appuyer
sur le bouton d'appel lorsqu'on a amené la courroie du central
à sa position convenable pour envoyer l'appel dans l'indicateur
de l'abonné choisi.
Cet appel provoque, en outre, un autre résultat. La fig. 53
montre, en effet, que des électro-aimants sont placés
en dérivation sur le fil de son de chacun des abonnés.
Le passage du courant d'appel dans les électros provoque une
faible rotation des tiges i autour de leurs axes. Grâce à
leurs ressorts, les plaques de contact réunies en m ne se séparent
pas mais aucune courroie nouvelle ne peut plus entrer en contact avec
les barres qui ont tourné. Les deux abonnés qui causent
ne risquent point d'être dérangés.
Il serait de peu d'intérêt d'entrer dans plus de détails,
ou même d'indiquer les simplifications considérables
dont le projet de ces inventeurs est susceptible.
En 1887 Dans les "Annales télégraphiques"
était présenté ;
LE NOUVEAU SYSTEME DE TRANSMISSION POUR TÉLÉPHONES ET
ÉLÉGRAPHES
DE MM. LOUIS MAICHE & DONATO TOMMASI qui était
un physicien d'origine italienne établi en France, chimiste
électricien.
Chacun sait que dans l'établissement des
lignes ou des réseaux téléphoniques ou télégraphiques
, les conducteurs et leurs accessoires constituent la plus forte
dépense et que pour les téléphones surtout
, plus les postes à relier sont éloignés
du poste central , plus il est à craindre que cette dépense
n'oblige à porter le prix de l'abonnement à un chiffre
inacceptable ; on sait aussi que , d'autre part, la mutiplicité
des lignes crée aux compagnies de sérieuses entraves
à l'extension. des réseaux , tant lorsque l'installation
des fils est aérienne que si elle est souterraine.
Il y aurait donc un immense avantage si l'on parvenait à
réduire le nombre des fils, c'est à dire si l'on
pouvait desservir un certain nombre de postes
avec une seule ligne.
On comprend que outre l'économie réalisée
sur les conducteurs et leurs supports, on obtiendrait une très
sérieuse réduction de l'encombrement qui résulte
de la multiplicité actuelle des lignes , laquelle atteint
presque partout la limite d'emplacement disponible, et que l'on
pourrait, sans dépasser cette limite , desservir un nombre
beaucoup plus considérable de postes . De là résulterait
une économie très sensible et , par suite , un notable
abaissement du prix de l'abonnement , c'est-à-dire le meilleur
argument que l'on puisse employer pour provoquer l'extension des
correspondances électriques dans les relations commerciales
et privées .
En attendant que nous puissions donner une description complète
et le diagramme d'une installation téléphonique
de notre système , nous nous bornerons à mettre
sous les yeux du lecteur l'appareil servant à l'application
du principe qui constitue l'invention .
Ce principe consiste à employer, du poste central, des
courants de potentiels croissants, suivant la position du poste
que l'on veut appeler sur la ligne qui les relie tous, et à
disposer dans ces postes des paires de résistances réglées
de telle sorte que la seconde de chaque poste soit égale
à la
première du poste suivant.
Chaque paire de résistances constitue l'appareil représenté
par la figure ci-contre.
Ainsi qu'on le remarque au premier coup d'il , cet appareil
se compose de deux électro-aimants fixés à
la suite l'un de l'autre sur un socle . A chaque extrémité
de l'appareil se trouvent deux petites colonnes supportant l'axe
de l'armature de l'électro-aimant correspondant . La résistance
de chaque armature à l'action de son électro-aimant
est constituée par un petit ressort à boudin accroché
au levier extérieur de l'armature et par un contre-poids
mobile sur la partie filetée de ce levier .
L'amplitude des oscillations des armatures est limitée
, pour l'électro-aimant qui constitue la première
résistance du poste (celui de gauche dans notre dessin)
, d'abord par une vis de position placée au-dessuset au
milieu de la monture du barreau de fer doux ou armature, puis
par une vis d'arrêt placée vers l'extrémité
de cette monture et qui vient porter sur la seconde bobine ; pour
l'électro-aimant qui constitue la seconde (celui de droite)
la première de ces vis existe seule.
Le contact entre les deux armatures peut s'effectuer par une vis
spéciale qui traverse l'extrémité repliée
dla monture de celle de la première résistance.
A l'aplomb de cette vis se trouve un autre contact sur lequel
peut s'appuyer la monture de l'armature du second électro-aimant
; dans ce cas , les deux armatures cessent d'être en contact,
grâce à la vis d'arrêt de la première.
Tous ces organes , parfaitement visibles sur le dessin, sont susceptibles
d'être réglés avec la plus grande précision,
tant pour la résistance que doivent opposer les armatures
que pour l'amplitude de leurs oscillations .
Les quatre grandes bornes que l'on voit aux angles du socle servent
à placer les appareils soit en circuit , soit en dérivation.
Les petites bornes reçoivent les fils de la pile locale
et de l'appareil téléphonique ou télégraphique
.
Lorsque les appareils doivent être placés en circuit,
tous les électro-aimants ont la même résistance
propre ; il n'en est plus ainsi quand ils sont montés en
dérivation . La résistance des armatures à
l'action des électro-aimants est réglée de
telle sorte que chacune d'elle ne peut être attirée
que si un électro - aimant est traversé par un courant
d'un potentiel déterminé , et , en outre , la disposition
de l'appareil est telle que si la première armature (gauche)
seulement est attirée , la communication s'établit
entre le poste appelé et le bureau d'appel , tandis que
, au contraire , si les deux armatures de l'appareil sont attirées
en même temps , leurs efforts se neutralisent, au point
de vue des contacts , c'est-à- dire mécaniquement
, et le courant passe aux postes suivants . Ces différences
dans la circulation résultent de ce que , lorsque la première
armature s'abaisse seule , la vis qui la termine s'appuie sur
la seconde armature , et de ce que celle-ci s'éloigne de
cette vis aussitôt qu'elle-même est attirée
, pour venir en contact avec la vis de la petite colonne centrale
.
Supposons , par exemple que les résistances des armatures
des postes I,II,III ... d'une ligne aient été réglées
pour des courants de 1 et 2, 2 et 4, 4 et 6 ... daniells, respectivement.
Si on lance dans la ligne un courant de deux daniells , ce courant
surmontera les résistances des armatures des deux électro-aimants
du poste I , et la résistance de l'armature du premier
électro-aimant du poste II ; le poste I ne sera pas appelé
, tandis que le poste II sera mis en communication avec le bureau
d'appel ; en même temps , l'apparition d'un signal prévient
tous les autres postes que la ligne est occupée .
Le nouveau système s'applique non seulement aux téléphones
et aux télégraphes , mais encore à tous les
genres de communications électriques tels que signaux de
chemin de fer , de défense des places et des côtes
,lignes de torpille , etc. , etc. |
En 1896 Dans l'ouvrage
"Réseaux téléphoniques et sonnettes"
de Bernard, E. et Cie était exposé un principe de téléphone
multiple du Dr.Donato Tommasi , on retrouve
une nouvelle explication mais pas de schéma ou de plan.
|
Pargraphe 63
La méthode proposée par
le Dr Donato Tommasi repose sur un phénomène
physiologique bien connu : limpression de la perception
dun son par loreille alors même que ce son
a cessé dexister.
Ce phénomène, analogue à celui observé
pour la vision, a reçu le nom de persistance auditive,
et on a constaté par expérience que le son est
perçu pendant 1/32 de seconde après sa cessation.
Si donc on sarrange pour que le plus grand écart
existant entre deux émissions successives ne dépasse
pas ce laps de temps, on percevra un son continu.
Réciproquement, si un auditeur perçoit un son
continu, on pourra scinder ce son par une série dinterruptions
ne dépassant pas 1/32 de seconde, sans que loreille
sen aperçoive.
Ceci posé, le Dr D. Tommasi intercale dans un circuit
téléphonique un interrupteur produisant une série
dinterruptions de courant durant au maximum 1/32 de seconde
(ce qui ne gêne pas la communication), et il utilise ces
interruptions de courant pour établir dautres communications
simultanées. A cet effet, linterrupteur est disposé
de façon que pendant chacune des interruptions il ferme
tour à tour le circuit dautres couples de téléphones
reliés à la ligne, le rétablit sur le premier,
et ainsi de suite, sans que le contact ait jamais lieu sur deux
circuits à la fois.
Cette série de fermetures successives étant continue
et seffectuant en un peu moins de 1/32 de seconde, les
choses se passent pour chaque poste téléphonique
comme si ce poste était seul sur la ligne, cest-à-dire
que, pour aucun deux, la communication néprouve
dinterruption sensible.
Pour que les courants successifs qui parcourent la ligne et
qui appartiennent tour à tour à
chacune des communications en cours passent par le récepteur
correspondant ou, en dautres termes, pour que celles-ci
ne se mélangent pas, un deuxième interrupteur
semblable au premier et fonctionnant synchroniquement avec lui,
est disposé à lautre bout de la ligne.
Chaque appareil occupe donc une extrémité du conducteur
à utiliser en commun, et à chacun deux viennent
se relier les divers correspondants du lieu où il se
trouve.
Le système du T)1 D. Tommasi comporte deux pièces
principales :
1° Un cylindre creux en ébonite ou toute autre matière
isolante, monté sur un arbre métallique relié
dune manière permanente à lun des
fils de la ligne, et tournant dans des coussinets isolés
;
2° Une barre fixe en ébonite ou en toute autre matière
isolante, placée parallèlement à laxe
du cylindre et dont on peut régler lécartement.
Sur la surface du cylindre sont disposés régulièrement,
suivant un seul tour dhélice, en nombre égal
à celui des communications simultanées que lon
veut obtenir, des contacts saillants reliés chacun à
larbre du cylindre.
La barre fixe porte, dans le plan de rotation de chacun de ces
contacts et sur la face du cylindre, un balai de forme convenable
communiquant avec une borne placée sur la face opposée.
Comme complément de ces organes principaux, une barre
métallique fixe porte une deuxième série
de bornes correspondant aux précédentes et est
reliée avec le deuxième fil de la ligne. Toutes
ces bornes communiquent avec le commutateur du poste où
est placé lappareil.
Ceci posé, on comprend que, dès que le cylindre
sera animé dun mouvement de rotation sur son axe,
les divers circuits seront successivement fermés, puis
ouverts et que, les distances angulaires
étant convenablement-mesurées, chaque fermeture
ne pourra avoir lieu quaprès louverture du
circuit précédent. Lobligation de limiter
la durée des interruptions des circuits à 1/32
de seconde, conduit à donner au cylindre de lappareil
une vitesse de 32 tours par seconde, soit 1.920 tours ou, pour
plus de certitude, 2.000 tours par minute.
Le D D. Tommasi fait observer que lon pourra sans
doute réduire cette vitesse dans une certaine mesure
si, comme il faut peut-être le prévoir, la persistance
des vibrations de la membrane ou plaque téléphonique
apporte quelque compensation à la brièveté
de la persistance auditive.
Il va de soi que légalité parfaite de fonctionnement
des deux appareils placés aux extrémités
de la ligne ne peut être obtenue que par le synchronisme
absolu de leur mouvement de rotation.
Pour réaliser ce synchronisme, M. D. Tommasi propose
demployer un petit moteur électrique monté
sur larbre même du cylindre.
Le mouvement de ce cylindre serait communiqué à
celui du deuxième appareil par lun ou lautre
des dispositifs connus, ce qui nécessite lemploi
dune deuxième ligne double, mais en fils télégraphiques
ordinaires.
La dépense occasionnée par lemploi de cette
ligne auxiliaire en fer, conjointement avec la ligne téléphonique
en bronze, serait, daprès linventeur, négligeable
si on la compare au bénéfice que lon retirerait
de lutilisation multiple de la ligne principale.
|
Après cet éxposé, il n'a pas été
trouvé de trace de mise en service d'un tel système.
Ce qu'il était bon de montrer, c'est que l'idée du
multiple automatique est posée.
(rappelons que cet exposé est écrit en 1993 et le système
Tommssi est puplié en 1896).
sommaire
II - LA TELEPHONIE
MULTIPLE
Alors que la téléphonie
automatique est à l'étude, les nouveaux défix
etaient de pouvoir converser à plusieurs simultanément
sur une seule line de téléphone et de communiquer à
grande distance.
Ce sera en 1906 en Roumanie, Cluj, Augustin Maior qui
relèva le premier ces défis.
La téléphonie multiple peut être obtenue à
l'aide de courants alternatifs haute fréquence, de sorte que
chaque courant alternatif puisse être porteur d'un courant microphonique.
|
L'histoire du grand inventeur de Cluj,
Augustin Maior, peut sembler incroyablement incroyable
.
(
une biographe
est disponible ici )
Augustin Sabiniu Maior est né le 21 août 1882
à Reghin. Son père, Gheorghe Maior, était
professeur à l'école primaire de Reghin. Sa mère,
Tereza, née Cornea, a élevé et éduqué
les cinq enfants des Maior : Olivia, Augustin, Iuliu, Gheorghe
et Ana.
Grâce à son érudition, il a réussi
à former chez les enfants le désir de comprendre
les choses au-delà de la première impression.
L'allemand est la langue dans laquelle il apprend les premiers
poèmes, à l'école maternelle allemande
de Reghin. L'allemand est la langue dans laquelle il a appris
à écrire à l'école primaire de Reghin.
En 1892, il fut inscrit en première année du lycée
évangélique allemand de Reghin. Il y étudia
jusqu'en 1896. Ensuite, il poursuivit ses études jusqu'en
sixième année au lycée apiculteur de Târgu
Mures, puis à celui de Budapest. Il y rencontre le professeur
Schmidt Agoston, pédagogue doué, qui lui ouvre
la voie des sciences.
Durant toutes ces années, il a démontré
une passion remarquable pour la recherche, pour la recherche
documentaire, pour expliquer la réalité en utilisant
la science, et pas seulement son intuition. En 1900, il obtient
son diplôme d'études secondaires et réussit
l'examen du baccalauréat. À l'automne, il devient
étudiant à l'Institut Polytechnique de Budapest,
faculté de Mécanique. En 1905, il devient ingénieur,
mais avant d'exercer cette profession, il passe plusieurs mois
dans les universités de Vienne,
Munich et Göttingen pour la recherche. Il a suivi plusieurs
cours post-académiques et y a rencontré de nombreuses
personnalités scientifiques de l'époque, parmi
lesquelles on peut citer Hermann. Minkowski, celui qui a ajouté
la dimension du temps aux trois autres dimensions de lespace,
résultant en la variété tétradimensionnelle
de lespace-temps. Cette propriété fut ensuite
utilisée par August Maior dans ses études .
Les débuts de la recherche dans le domaine
des systèmes téléphoniques multiples :
Il trouva un emploi d'ingénieur
au département technique de la Poste de Budapest, il
participa au concours organisé en novembre 1905 et convainquit
le jury d'examen qu'il possédait de grandes connaissances
théoriques. Il commença donc son activité
à la Station Expérimentale de la Compagnie des
Postes. Il est nommé ingénieur de jour au laboratoire
électrique de la Poste hongroise à Budapest.
Le nom « Station expérimentale
» ou « Station de recherche » a été
utilisé pendant longtemps en Europe, y compris en Roumanie
pour désigner un institut de recherche. Les problèmes
étudiés étaient liés à l'industrie
téléphonique, à l'augmentation de la qualité
des conversations téléphoniques, pour supporter
un nombre croissant de conversations par unité de temps.
Cela ne s'est produit que trente ans après en 1876, lorsque
Graham Bell a transmis les premiers mots par téléphone.
Cela ne s'est produit que treize ans après en 1892, lorsque
le premier standard téléphonique automatique a
commencé à fonctionner dans l'Indiana, aux États-Unis.
Il a mené de nombreuses expériences et a étayé
théoriquement des solutions pour la transmission
simultanée de plusieurs conversations sur le même
circuit électrique.
1906 Augustin Maior participe aux expériences
menées au laboratoire postal afin d'améliorer
le fonctionnement du télégraphe et du téléphone.
Propose pour la première fois l'utilisation du courant
alternatif en téléphonie. Il commence ses expériences
sur ce sujet en utilisant un générateur de courant
alternatif haute fréquence.
Il démontre théoriquement le rôle de la
résonance électromagnétique dans les transmissions
téléphoniques longue distance. Il réalise
des expériences sur des lignes artificielles, parvenant
à transmettre cinq appels téléphoniques
sur le même circuit, prouvant que la téléphonie
à courant alternatif, basée sur la résonance,
se prête à la téléphonie multiple.
Seulement un an après son embauche comme ingénieur,
fin 1906, il réussit à transmettre cinq
conversations simultanées entre deux standards téléphoniques
situés à 15 kilomètres l'un de l'autre
et qui étaient reliés par une seule ligne téléphonique
composée de deux conducteurs électriques. La théorie
a été publiée en 1907 dans le journal «
Elektrotechnische Zeitschrift ».
1907 Sous le titre "Uber Mehrfach-Fernsprechen"
(Sur la téléphonie multiple), il publie les résultats
de ses recherches expérimentales et théoriques
dans la revue allemande "Elektrotechnische Zeitschrift".
Il prouve mathématiquement que la téléphonie
multiple peut être obtenue à l'aide de courants
alternatifs haute fréquence, de sorte que chaque courant
alternatif puisse être porteur d'un courant microphonique.
Plusieurs courants peuvent être transmis sur la même
ligne.
Le magazine américain "Electrical World" publia
un résumé de cet article en 1907 sous le titre
"Multiple Telephony".
Maior poursuit ses expériences sur des lignes de fer
artificielles, longues de 15 à 20 km.
Du 22 au 30 septembre 1908, il participe
à la Première Conférence Internationale
des Ingénieurs de la Compagnie Téléphonique
et Téléphonique, à Budapest.
Des délégués de 15 pays arrivent à
Budapest pour échanger leurs points de vue sur les dernières
expériences et succès obtenus dans l'exploitation
du télégraphe et du téléphone. Augustin
Maior présente l'article « La Téléphonie
Harmonique » dans lequel il décrit ses résultats
expérimentaux et théoriques.il fait
une communication dans laquelle il attire l'attention des spécialistes
sur un nouveau système téléphonique prédit
et expérimenté par lui, "Telefonia armonica"
(comme il l'appelait alors), ou téléphonie à
courant alternatif. La communication est accompagnée
d'une brève démonstration théorique pour
souligner les grands avantages qu'offre le courant alternatif
à haute fréquence dans les transmissions téléphoniques,
en mentionnant, en même temps, la possibilité d'utiliser
le courant alternatif à haute fréquence dans la
téléphonie multiple longue distance.


Novembre 1908 Paraît le deuxième ouvrage
d'Augustin Maior sur le thème de la téléphonie
à courant alternatif multiple. Il s'intitule "Uber
Wechselstrom Telephonie" ("Téléphonie
à Courant Alternatif").
Un résumé de l'ouvrage paraît à nouveau
dans le magazine américain "Electrical World"
sous le titre "Alternating Currents for Telephony".
Décembre 1908 Il est promu au poste d'ingénieur
stagiaire.
Février 1909 Dans la revue "Elektrotechnische Zeitschrift"
paraît le travail de E. Weinberg de Washington, qui confirme
la validité des expériences de Maior et propose
l'utilisation de sa méthode pour la réalisation
de téléphonie multiple transatlantique.
Février 1910 En utilisant les travaux du mathématicien
Poincaré et une nouvelle méthode de résolution
d'équations aux dérivées partielles, Maior
démontre théoriquement la possibilité de
transmettre, presque sans distorsion, le signal téléphonique.
11 Mars 1910 Sous le même titre, « Perspectives
de téléphonie rapide et de télégraphie
par câbles sous-marins », Augustin Maior communique
les conclusions de ses démonstrations théoriques.
L'année 1910 est l'année de la reconnaissance
internationale de la contribution apportée par le Roumain
Augustin Maior au développement de nouveaux systèmes
téléphoniques.
Du 5 au 10 Septembre 1910 Le premier congrès international
de téléphonie à courant faible a lieu à
Paris.
Délégué au Congrès, Maior soutient
une communication théorique dans laquelle il démontre
la possibilité d'appliquer la méthode de téléphonie
multiple aux transmissions téléphoniques et télégraphiques
à travers des câbles sous-marins. Les premières
propositions de collaboration avec des sociétés
d'installation et de réseaux téléphoniques
étrangères lui sont faites, ce que Maior refuse.
Du 14 Septembre au 15 Octobre 1910 Avec d'autres délégués
au Congrès, il part pour l'exposition à Bruxelles
et de là en voyage à Nuremberg, Munich, Vienne,
Graz.
Au cours des années 1910-1911, l'Américain
George Owen Squier fit également plusieurs expériences
sur la téléphonie multiple, mais il breveta
également la solution technique, qu'Augustin Maior omet
à l'époque.
3 Janvier 1911 G.O. Squier, des États-Unis,
fait breveter un système téléphonique
à l'aide duquel il parvient à réaliser
la transmission simultanée, sur le même circuit,
de deux conversations téléphoniques. Brevet 930,857.
L'État de New York lui accorde la somme de 50 mille dollars.
 |
Pour kes amateurs de technique, Consulter
le Document
TÉLÉPHONIE
MULTIPLEX ET TÉLÉGRAPHIE AU MOYEN DE L'ÉLECTRIQUE
ONDES GUIDÉES PAR DES FILS de GEORGE O. SQUIER.
Département de la Guerre, Bureau du chef de cabinet,
Washington, le 29 mars 1911,
Le rapport suivant sur "la téléphonie
multiplex et la télégraphie au moyen d'ondes
électriques guidées par des fils", préparé
dans le bureau du chef des transmissions de l'armée
par Le major George O. Squier, Signal Corps, et publié
comme un journal professionnel du Signal Corps pour l'information
de l'Armée régulière et milice organisée.
Par instruction du secrétaire à la Guerre
:
Léonard Bois, Général de division,
chef d'état-major
Extrait
|
Téléphonie et Télégraphie MULTIPLEX
17 Mars 1911 Le magazine anglais «
The Electrician » à travers larticle de B.S.
Cohen attribue l'invention de la téléphonie multiple
à l'américain Squier. Le 24 Mars Augustin Maior
écrit une courte note au rédacteur en chef du
magazine pour attirer l'attention sur l'erreur commise.
21 Avril 1911 Le magazine "L'Électricien" publie
la lettre de Maior lui donnant la priorité dans le domaine.
1er mars 1912 Maio est promu au poste d'ingénieur.
Il est nommé au conseil d'administration des PTT à
Budapest. Il devient une personnalité scientifique reconnue
dans les milieux compétents du pays et de l'étranger.
La compagnie téléphonique argentine propose à
Maior un poste de conseiller technique, lui offrant la possibilité
de breveter toutes ses inventions et leur mise en uvre
immédiate. Caractère d'intégrité,
poursuivant l'acquisition de certains avantages matériels
dès la fin ses recherches, Maior refuse de se mêler
des affaires de la grande industrie, où son nom aurait
été rémunéré par des sommes
extraordinaires dans les années de prospérité.
1913 Il s'intéresse à de nouveaux aspects de la
propagation des ondes électriques le long des fils et
entrevoit la possibilité d'utiliser des conducteurs électriques
comme guides d'ondes électromagnétiques.
1915 Les services postaux, télégraphiques et téléphoniques
en Hongrie sont surchargés. Augustin Maior est mobilisé
à la Poste où il travaille jour et nuit.
4 Mars 1916 Le mariage d'Augustin Maior avec Alexandrina Precup
a lieu. Née le 24 avril 1988 dans la commune de Solovastru
(Reghin), Alexandrina Precup a grandi dans la maison de son
oncle, Gheorghe Taranu, employé de poste à Budapest,
l'un des plus
membres actifs de la Société Littéraire
"Petru Maior". Dotée de qualités morales
et intellectuelles sélectionnées, Alexandrina
Maior contribuera à la création d'un climat favorable
au développement de l'activité scientifique de
son époux.
27 Août 1916 La guerre mondiale bat son plein. La Roumanie
entre en guerre aux côtés des troupes alliées.
Le major est temporairement libéré de la Poste.
Février 1917 Il est mobilisé à la Cannon
Factory de Györ, au grade de sous-lieutenant, où
il est chargé de calculer les données balistiques
des nouveaux types de canons qui devaient être construits.
Dans les conditions difficiles dans lesquelles s'exerce désormais
l'activité scientifique internationale, où les
collaborations entre scientifiques de différents pays
sont entravées par des facteurs politiques et où
l'échange d'informations s'effectue à travers
quelques revues scientifiques, Augustin Maior écrit son
ouvrage le plus complet, une synthèse de tous les problèmes
apparus dans ses publications précédentes. Intitulé
"Uber das Einschalten langer Leitungen mit Wechselstrom"
(Sur le raccordement de longs tuyaux au courant alternatif),
le journal paraît dans le magazine allemand "Elektrotechnische
Zeitschrift". La solution la plus générale
au problème très discuté des phénomènes
de transition qui apparaissent le long des circuits électriques
est donnée ici.
6 Octobre 1917 Naissance de Maria, le premier enfant du couple
Maior.
1er Décembre 1918 La Grande Assemblée populaire
d'Alba Iulia proclame l'union de la Transylvanie et de
la Roumanie.
C'est la fin de la première guerre mondiale.
Maior se voit offrir une chaire universitaire à l'Institut
polytechnique de Budapest. Il refuse car son intention est de
rentrer au pays.
17 Janvier 1919 Dans le "Journal Officiel" de Sibiu
paraît l'appel adressé aux intellectuels roumains
à retourner à la Patrie et à mettre toute
leur puissance créatrice au service du peuple roumain.
30 Janvier 1919 Maior arrive à Sibiu, se mettant à
la disposition des autorités roumaines.
Février-Mars 1919 la réorganisation des services
PTT en Transylvanie commence. Maior assure, en tant que Directeur
Central, l'organisation des services PTT de jour et de nuit ;
a l'initiative de réimprimer les timbres pour leur entrée
dans l'usage courant ; en maintenant l'ancien personnel, introduit
le roumain comme langue officielle dans le service administratif
de la Poste.
1er Avril 1919 Afin de compenser le manque de personnel qualifié
dans la Poste, à l'initiative de Maior, la première
école télégraphique et téléphonique
de Transylvanie a été créée à
Sibiu, avec le roumain comme langue d'enseignement. Maior est
le directeur de cette école et l'un des trois enseignants
qui composent le corps enseignant de l'école. Il enseigne
ici le cours "Appareils de transmission télégraphique
et téléphonique". Après trois mois
de fonctionnement, l'école a produit les 44 premiers
spécialistes, commis et techniciens du télégraphe
et du téléphone affectés
immédiatement dans les services PTT dans toute la Transylvanie.
Cette école était le noyau des futures écoles
techniques et professionnelles de télégraphie
et de téléphonie qui fonctionneront plus tard
en Transylvanie.
14 Avril 1919 La décision de nommer Augustin Maior comme
directeur central des Postes, Télégraphes et Téléphones
dans toute la Transylvanie et le Banat apparaît.
Mai-Juin 1919 Maior dirige la restauration de l'ensemble
du réseau télégraphique et téléphonique
urbain et interurbain sur le territoire de la Transylvanie.
Ses suggestions et idées originales ont permis de rétablir
les communications téléphoniques et télégraphiques
en peu de temps, avec de faibles investissements matériels,
avec les installations et équipements existants dans
le pays.
L'activité menée pendant cette période
difficile de réorganisation du service administratif
et technique de la Poste roumaine, totalement désorganisé
et en grande partie détruit par la guerre, interrompit
l'activité scientifique d'Augustin Maior. C'est pourquoi,
lorsqu'on lui propose, il accepte d'adresser une demande au
département des cultes qui fonctionnait à Sibiu
sous l'égide du Conseil de Direction, pour être
nommé professeur agrégé de physique technologique
à la Faculté des Sciences de l'Université
de Cluj. , qui devait ouvrir ses cours à l'automne de
la même année
Juillet 1919 La commission composée des académiciens
Petru Poni, Ludvic Mrazec et Gheorghe Titeica étudie
les travaux scientifiques publiés par Maior et décide
de sa nomination comme professeur titulaire à l'Institut
de Physique Théorique et Technologique de la Faculté
des Sciences de Cluj. En Août-Septembre, parallèlement
à son activité de Directeur Central des PTT, Maior
est en charge de l'aménagement des locaux du futur Institut.
En Octobre Augustin Maior est nommé directeur de l'Institut
de physique théorique et technologique au sein de la
Faculté des sciences.
27 Octobre 1919 Naissance de Gheorghe-Augustin, le deuxième
enfant d'Augustin Maior.
D'Octobre à Décembre 1919, le premier semestre,
désormais, se déroule dans des conditions difficiles.
Incapable de créer un laboratoire technologique, Maior
change le nom de son institut. A partir du 1er janvier, l'institut
qu'il dirige s'appellera l'Institut de physique théorique
et appliquée.
Janvier 1920 En tant que professeur titulaire, il entame les
démarches officielles pour obtenir les fonds nécessaires
pour équiper le laboratoire et la bibliothèque
et embaucher du personnel qualifié : assistants, formateurs.
Le noyau de la première école roumaine de physique
théorique est en train de se constituer. Elle fonctionnera
à Cluj pendant plus de trois décennies sous la
direction du professeur Augustin Maior et plus tard de ses disciples.
En Février, libéré du poste de directeur
central des PTT, Maior est réélu membre du conseil
d'administration de la direction des PTT Cluj, poste qu'il occupera
jusqu'à sa retraite.
sommaire
Malheureusement, Maior na pas délivré
de brevet pour sa solution technique ; la priorité
dAugustin Maior dans ce domaine nest donc assurée
que par le droit dauteur.
Même Nicolae Vasilescu-Karpen écrivit une lettre
à l'Académie des Sciences de Paris en 1909 dans
laquelle il décrivait ses propositions concernant la
téléphonie multiple à partir de son expérience
dans la téléphonie sans fil. Au cours des années
1910-1911, l'Américain George Owen Squier a mené
plusieurs expériences concernant la téléphonie
multiple, mais il a également délivré un
brevet pour la solution technique.
Les fondements théoriques de la téléphonie
multiple sont publiés en 1907 dans la revue Elektrotechnische
Zeitschrift puis en 1914 dans The Use of High-Frequency Alternating
Currents in Telegraphy, Telephony and for Power Transmission
in The Electrician.
Au cours des années 1910-1911,
l'Américain George Owen Squier fit également plusieurs
expériences sur la téléphonie multiple,
mais il breveta également la solution technique,
qu'Augustin Maior omet à l'époque.
Augustin Maior remarque le danger de ne pas
être reconnu comme prioritaire dans le domaine et écrit
une lettre au magazine The Electrician publiée dans le
numéro du 21 avril 1911. Augustin Maior déclare
: pour que chaque flux porte un appel, j'ai mentionné
que Je pouvais envoyer cinq messages à la fois. J'ai
présenté mes expériences à la première
conférence postale et télégraphique européenne
et j'ai dit à la conférence que j'avais réussi
à envoyer des messages le long d'une ligne de 15 km.
Cependant, en 1921 EH Colpitts publie un article de synthèse
dans le magazine AIEE Transactions dans lequel il affirme que
GO Squier, par des expériences entre 1910 et 1911, a
réussi à développer la téléphonie
multiple. Il est vrai qu'il cite six des ouvrages de Maior dans
la bibliographie, mais ne mentionne pas sa priorité."
Encore une fois c'est une injustice envers un Roumain, envers
un petit pays que beaucoup ne voulaient pas promouvoir.
Ies contributions au développement de ces domaines scientifiques
seront reconnues en 1950, lorsque le prix Nobel M. Louis de
Broglie présente à l'Académie de Paris
l'ouvrage d'Augustin Maior intitulé "Champs gravitationnels
et magnétisme". Mais cela n'a pas changé
sa priorité méconnue .
Une reconnaissance tardive de sa contribution
au développement de l'enseignement moderne et de la recherche
en physique intervient en 1995 lorsque le Conseil de la Faculté
de la Faculté de Physique de l'Université de Cluj
a décidé de nommer l'un de ses amphithéâtres
"Augustin Maior Amphitheater".
|
sommaire
- Dès 1918, aux USA, est utilisé le
procédé de Multiplexage Analogique par onde porteuse.
Désormais sur une liaison de transmission il est possible de
transmettre deux conversations téléphoniques simultanément,
sans qu'elles se mélangent, grâce à la Répartition
en Fréquences.
- En 1931, l'ingénieur français Pierre Marzin, conçoit
un procédé de Multiplexage Analogique par onde porteuse
que l'on dénommera Système Marzin pouvant transmettre
2 voies téléphoniques simultanément. Puis, les
progrès furent continus, on parvint à faire passer ultérieurement
3 puis 6 conversations téléphoniques simultanées
sur la même liaison métallique de deux fils à
partir de 1942 (Système CNET) et plus encore par la suite...
- Il fut inventé également le principe du circuit
fantôme qui consista, avec deux liaisons, à créer
une troisième voie, la voie fantôme : c'est à
dire qu'avec deux liaisons métalliques de transmissions, nous
pouvions désormais transmettre 1 voie téléphonique
supplémentaire portée entre les deux liaisons métalliques,
ce qui permettait d'augmenter sensiblement le nombre de voies de transmissions
avec le même nombre de liaisons métalliques installées...
Dans le monde, le premier système à
courants porteurs à 3 voies téléphoniques modulées
est mis en service entre Londres et Madrid (avec stations intermédiaires
à Versailles, Saumur, Saintes, Bordeaux, Saint-Sébastien
et Saragosse) le 8 juin 1928.
En France, les 2 premiers systèmes à courants porteurs
à 3 voies sont mis en service (fournis par la société
LMT) pour les communications interurbaines : le 5 août 1929
entre Dijon et Annemasse et le 5 octobre 1929 entre Marseille et Nice.

Vue d'ensemble d'un imposant équipement terminal d'un système
à courants porteurs à 3 voies, à Paris.
En haut, à droite sur la baie la plus à droite, nous
distinguons 8 rangées de tubes électroniques à
effet thermoïonique, utilisés pour l'amplification, la
modulation et la démodulation des signaux téléphoniques
transmis.
Ces systèmes 3 voies simultanées seront modernisés
après la seconde guerre mondiale et permettront le passage
de 6, puis 12 voies téléphoniques simultanées
au lieu de 3.
Les différents assemblages de base à courants porteurs
:
Avec lapparition des matériels de Multiplexage analogique
par Répartition de Fréquences (MRF), les premières
liaisons à grande distance multiplexées ont dabord
compté 2 puis 3 voies... (Par convention, chaque voie téléphonique
est une bande de fréquence réservée dune
largeur spectrale de 4 kHz.)
Puis, avec lévolution des matériels, les types
de liaisons ont été normalisés :
-Le Groupe Primaire (GP) a été normalisé en regroupant
12 voies téléphoniques, modulées par 12 ondes
porteuses différentes par 12 circuits, sur une bande de fréquences
large de 48 kHz. (de 60 kHz à 108 kHz).
-Le Groupe Secondaire (GS) a été normalisé en
regroupant 60 voies téléphoniques, en regroupant 5 Groupes
Primaires (GP), modulés par 5 ondes porteuses différentes,
par 5 circuits, sur une bande de fréquences large de 240 kHz.
(de 312 kHz à 552 kHz).
-Le Groupe Tertiaire (GT) a été normalisé en
regroupant 300 voies téléphoniques, en regroupant 5
Groupes Secondaires (GS), modulés par 5 ondes porteuses différentes,
par 5 circuits, sur une bande de fréquences large de 1,232
MHz. (de 812 kHz à 2,044 MHz).
-Le Groupe Quaternaire (GQ) a été normalisé en
regroupant 900 voies téléphoniques, en regroupant 3
Groupes Tertiaires (GT), modulés par 3 ondes porteuses différentes,
par 3 circuits, sur une bande de fréquences large de 3,872
MHz. (de 8,516 MHz à 12,388 MHz).
-Au 1er janvier 1970, la France compte en service
4705 Groupes Primaires (GP) de 12 voies téléphoniques
à courants porteurs.
-Le 10.000ème Groupe Primaire (GP) de 12 voies téléphoniques
à courants porteurs est mis en service le 10 février
1973.
-Le 20.000ème Groupe Primaire (GP) de 12 voies téléphoniques
à courants porteurs est mis en service en France, entre Paris
et Bordeaux, via un faisceau hertzien
de 1.800 voies, le 2 juin 1975.
Après les tous débuts des premiers câbles mis
en service en France dans les années 1926-33 avec leurs premiers
équipements de multiplexage analogique à courants porteurs
évoqués plus-haut, qui marquent les débuts de
lexploitation interurbaine et internationale moderne, les principaux
matériels damplification ultérieurs, modulation-démodulation,
amplification et transmission ont été les suivants,
notamment déployés à Paris-Interurbain-Archives.
...
sommaire
|