LES LIGNES PARTAGEES
Une ligne partagée est une ligne destinée
à l'utilisation conjointe de plusieurs stations. Il s'agit donc
d'une ligne qui relie un central téléphonique à
deux ou plusieurs stations d'abonnés ou, lorsqu'il n'y a pas
de central téléphonique, d'une ligne qui relie trois ou
plusieurs stations isolées entre elles. La caractéristique
distinctive d'une ligne partagée est donc qu'elle dessert plus
de deux stations, le central téléphonique, s'il y en a
une, étant compté comme une station.
Les compagnies de téléphone ont proposé des lignes
partagées à partir de la fin des années 1800, bien
que les abonnés de toutes les zones, sauf les plus rurales, aient
pu avoir la possibilité de passer à un service de ligne
individuelle moyennant un supplément mensuel. Le service était
courant dans les zones peu peuplées où les abonnés
étaient répartis sur de grandes distances. Un exemple
est l'Australie où ces lignes étaient exploitées
par le Government Postmaster General's Department. Dans les zones
rurales au début du XXe siècle, des abonnés et
des téléphones supplémentaires, souvent au nombre
de plusieurs dizaines, étaient fréquemment connectés
à la seule boucle disponible.
La croissance rapide de la demande de services téléphoniques,
surtout après la Seconde Guerre mondiale, a donné lieu
à de nombreuses installations de lignes partagées au milieu
du XXe siècle aux États-Unis. Cela a souvent entraîné
une congestion du trafic sur le réseau téléphonique,
car la ligne vers un téléphone de destination était
souvent occupée. Près des trois quarts du service résidentiel
de Pennsylvanie en 1943 était des lignes partagées, les
utilisateurs étant encouragés à limiter leurs appels
à cinq minutes. Les pénuries ont persisté pendant
des années après chaque guerre ; les lignes individuelles
à Montréal restaient rares à la fin de 1919 et
des pénuries similaires ont été signalées
par les compagnies de téléphone en Floride jusqu'en 1948.
Certains utilisateurs ruraux devaient tirer leurs propres fils pour
atteindre les lignes du service public...
À la fin des années 1980, les lignes partagées
ont été supprimées dans la plupart des localités.
Elles n'étaient pas prises en charge par les nouvelles technologies
et les équipements appartenant aux abonnés, tels que les
répondeurs et les modems informatiques .
sommaire
Etude des systèmes de lignes
partagées . Par KB Miller et SG McMeen en 1919
CHAPITRE I Systèmes de lignes partagées
non sélectives Série et pontage Code de
signalisation
CHAPITRE II Systèmes de lignes de parti
sélectifs : polarité, harmonique, pas à pas et
ligne brisée
CHAPITRE III Systèmes de verrouillage par
ligne partagée : Poole, étape par étape et ligne
brisée
Dans le même domaine, une page complémentaire à
conslter sur ce site : La
téléphonie multiple .
sommaire
I - SYSTÈMES DE LIGNES PARTICIPATIVES NON
SÉLECTIVES
À proprement parler, le terme « ligne partagée
» doit être utilisé en opposition au terme «
ligne privée » .
Toutefois, les sociétés qui exploitent des centraux téléphoniques
louent souvent leurs lignes à des particuliers pour un usage
privé, sans connexion au standard du central téléphonique,
et ces lignes sont, dans l'usage courant, appelées « lignes
privées ». Ces lignes peuvent être utilisées
pour relier deux ou plusieurs stations isolées. Une ligne privée
, dans le jargon des opérateurs de centraux téléphoniques,
peut donc être une ligne partagée , aussi incohérente
que cela puisse paraître.
Une ligne téléphonique connectée à un central
est une ligne de central et est une ligne partagée si elle comporte
plusieurs postes.
Il s'agit d'une ligne individuelle ou d'une ligne partagée unique
si elle ne comporte qu'un seul poste.
Une ligne qui n'a pas de connexion à un central est appelée
« ligne isolée » et est une ligne partagée
si elle comporte plus de deux postes.
Le problème de la simple transmission de la parole
sur des lignes partagées est relativement simple, et n'est guère
plus complexe que celui des lignes privées ou individuelles.
Il n'en va pas de même pour le problème de la signalisation
des différentes stations.
En effet, la ligne est destinée à l'usage commun de tous
ses usagers ou abonnés, comme on les appelle, et il est donc
nécessaire que la personne qui envoie un signal, qu'il s'agisse
d'un opérateur ou d'un abonné, soit en mesure d'informer
d'une manière ou d'une autre une personne du poste souhaité
que l'appel est en cours. destiné à cette station. Il
existe deux manières générales d'atteindre cet
objectif.
( 1 ) La première et la plus simple de ces méthodes
consiste à ne pas faire sonner une seule cloche sur la ligne
à l'exclusion des autres, et à permettre ainsi à
toutes les cloches de sonner en même temps chaque fois qu'une
station de la ligne est sollicitée. Dans ce cas, pour empêcher
toutes les stations de répondre, il est nécessaire, d'une
manière ou d'une autre, de transmettre à la station souhaitée
l'information que l'appel lui est destiné, et à toutes
les autres stations l'information que l'appel ne leur est pas destiné.
Sur ces lignes, cela se fait par ce qu'on appelle la « sonnerie
codée », le code consistant en diverses combinaisons de
sonneries longues et courtes.
( 2 ) L'autre méthode, plus complexe, consiste
à prévoir une sonnerie sélective, de sorte que
la personne qui envoie l'appel puisse sonner à la station souhaitée,
laissant ainsi les sonneries de toutes les autres stations rester silencieuses.
Ces deux catégories générales de systèmes
de lignes partagées peuvent donc être qualifiées
de systèmes « non sélectifs » et «
sélectifs ».
Les lignes partagées non sélectives sont largement utilisées
à la fois sur des lignes reliées à un central téléphonique
et, par l'intermédiaire de ce dernier, sur d'autres lignes, ainsi
que sur des lignes isolées dépourvues de connexion à
un central téléphonique. Les lignes non sélectives
sont particulièrement utiles dans les zones rurales et dans les
échanges de services desservant des zones peu peuplées
où le coût des lignes individuelles ou même des lignes
ne desservant que quelques abonnés est prohibitif.
Les lignes téléphoniques non sélectives utilisent
le plus souvent des téléphones à magnéto.
Les premières formes de lignes téléphoniques partagées
utilisaient le téléphone à magnéto série
ordinaire, les sonneries étant de faible résistance et
d'impédance relativement faible, tandis que les générateurs
étaient équipés de dispositifs de dérivation
automatique, de sorte que leur résistance était normalement
supprimée du circuit de la ligne.
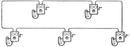
Systèmes en série.
Fig. 163. Ligne série
avec circuit mis à la terre
La disposition générale d'une ligne partagée en
série utilisant un retour à la terre est illustrée
à la figure 163.
Dans cette figure, trois appareils en série ordinaires sont connectés
ensemble en série, les stations terminales étant mises
à la terre, afin de fournir un chemin de retour pour les courants
de sonnerie et de voix.
Fig. 164. Ligne
série à circuit métallique
La figure 164 montre une ligne série à circuit métallique
sur laquelle cinq téléphones ordinaires sont placés
en série. Dans ce cas, aucune mise à la terre n'est utilisée,
le retour s'effectuant par un fil de ligne, ce qui rend le circuit entièrement
métallique.
Les limites de la ligne téléphonique
en série ordinaire peuvent être mieux comprises en se référant
à la figure 165, dans laquelle les circuits de trois téléphones
en série sont représentés connectés à
une seule ligne.
Fig. 165. Série
Party Line
Le récepteur du poste A est représenté comme étant
sur son crochet, tandis que les récepteurs des postes B et C
sont retirés de leurs crochets, comme lorsque les abonnés
de ces deux postes sont en conversation. Les commutateurs de crochet
des postes B et C étant en position relevée, les générateurs
et les sonneries de ces postes sont coupés du circuit, et seul
l'appareil téléphonique proprement dit est inclus, mais
le crochet de l'interrupteur de la station A étant enfoncé
par le poids de son récepteur, inclut la sonnerie de cette station
dans le circuit, et à travers cette sonnerie, par conséquent,
les courants vocaux des stations B et C doivent passer.
Le générateur de la station A n'est cependant pas dans
le circuit des courants vocaux, en raison du shunt automatique dont
le générateur est pourvu.
Une légère considération du système en série
tel que représenté sur cette figure montre que les courants
vocaux de deux postes quelconques en service doivent passer (comme l'indiquent
les traits gras) à travers les sonneries de tous les postes qui
ne sont pas en service ; et lorsqu'un grand nombre de postes sont placés
sur une seule ligne, comme c'est souvent le cas, l'impédance
offerte par ces sonneries devient un sérieux obstacle au passage
des courants vocaux. Ce défaut de la ligne partagée en
série est fondamental, car il est évident que les sonneries
doivent être laissées dans le circuit des postes qui ne
sont pas en service, afin que ces postes puissent toujours être
en mesure de recevoir un appel.
Ce défaut peut être réduit dans une certaine mesure
en fabriquant des sonneries à faible impédance. C'est
la pratique courante avec les téléphones en série,
les sonneries ayant généralement des noyaux courts et
un nombre relativement faible de spires, la résistance étant
en règle générale d'environ 80 ohms.
Systèmes de pontage.
Bien plus efficace que le plan en série des connexions en ligne
partagée, le système selon lequel les instruments sont
placés en ponts sur la ligne, ces lignes étant communément
appelées lignes pontées ou lignes de pontage. Ce système
a été le premier à être fortement préconisé
et mis en pratique à grande échelle par JJ Carty, aujourd'hui
( en 1919) ingénieur en chef de l'American Telephone and Telegraph
Company.
Fig. 166. Ligne
de pontage mise à la terre
La figure 166 montre une illustration simple d'une ligne téléphonique
de pontage, où les trois téléphones représentés
sont chacun connectés dans un chemin de pont du fil de ligne
à la terre, un type connu sous le nom de « ligne de pontage
avec mise à la terre ». Son utilisation est très
courante dans les zones rurales.
Fig. 167.
Ligne de pontage métallique
Une meilleure disposition est illustrée dans la Fig. 167, qui
représente une ligne de pontage à circuit métallique,
trois instruments téléphoniques étant représentés
en parallèle ou en chemins de pont sur les deux fils de ligne.
Fig. 168. Ligne de pontage
métallique
Les dispositions réelles des circuits d'une ligne de groupe de
pontage sont mieux illustrées dans la figure 168.
Il y a trois stations et on verra qu'il est à noter qu'à
chaque station, il existe trois ponts ou voies de pont possibles entre
les deux branches de la ligne. Le premier de ces ponts est commandé
par le commutateur de crochet et est normalement ouvert. Cependant,
lorsque le crochet est relevé, ce chemin est fermé par
le récepteur et le secondaire de la bobine d'induction, le circuit
primaire étant également fermé de manière
à inclure la batterie et l'émetteur. Il s'agit d'un poste
de communication local à batterie ordinaire.
A chaque station, un second pont est conduit par la sonnerie ou la cloche
d'appel, et celui-ci, dans la plupart des téléphones de
pont, est fermé en permanence, la continuité de ce chemin
entre les deux branches de la ligne n'étant affectée ni
par le commutateur à crochet ni par le commutateur automatique
en liaison avec le générateur.
A chaque station, un troisième pont traverse le générateur.
Comme indiqué, celui-ci est normalement ouvert, mais l'interrupteur
automatique du générateur sert, lorsque le générateur
est en marche, à fermer son passage à travers la ligne,
de sorte qu'il puisse envoyer ses courants à la ligne et faire
sonner les cloches de toutes les stations.
Lorsqu'un générateur est en marche, son courant se divise
et passe sur les fils de la ligne et à travers tous les sonneurs
en plusieurs fois. On voit donc que les exigences pour un générateur
de pont sont qu'il doit être capable de générer
un courant important, suffisant une fois divisé entre toutes
les cloches pour faire sonner chacune d'elles ; et qu'il doit être
capable de produire une tension suffisante pour envoyer le courant requis
non seulement aux stations proches, mais aussi aux stations situées
à l'extrémité éloignée de la ligne.
Il pourrait sembler à première vue que
le système de pontage évite une difficulté pour
en rencontrer une autre.
Il évite clairement la difficulté du système en
série en ce sens que les courants de voix, pour atteindre les
stations éloignées, n'ont pas à passer par toutes
les cloches des stations inactives en série. Il existe cependant
à chaque station un chemin de fuite à travers la cloche
pontée sur la ligne, par lequel il semblerait que les courants
de voix pourraient fuir inutilement d'un côté de la ligne
à l'autre et ne pas passer en volume suffisant jusqu'à
la station éloignée. Cette difficulté est cependant
plus apparente que réelle. On a constaté qu'en fabriquant
des sonneries à haute impédance, la fuite de courants
de voix à travers elles d'un côté de la ligne à
l'autre est pratiquement négligeable.
Il est évident que dans une ligne pontée
fortement chargée, la sonnerie de la station d'origine, c'est-à-dire
de la station d'où l'appel est envoyé, prendra un peu
plus que sa part de courant, et il est également évident
que la sonnerie de la station d'origine ne remplit aucune fonction utile.
On adopte donc souvent le plan consistant à faire en sorte que
le fonctionnement du générateur serve à couper
sa propre sonnerie du circuit.
Fig. 169. Circuits
de la station de pontage
La disposition par laquelle cela se fait est clairement illustrée
dans la figure 169. Le circuit de la sonnerie est normalement complet
sur la ligne, tandis que le circuit du générateur est
normalement ouvert. Cependant, lorsque la manivelle du générateur
est tournée, ces conditions sont inversées, le circuit
de la sonnerie étant interrompu et le circuit du générateur
fermé, de manière à permettre à son courant
de passer la ligne. Cette caractéristique de faire en sorte que
la sonnerie locale reste silencieuse sur le fonctionnement de son propre
générateur est également avantageux car les autres
personnes présentes dans la même station ne sont pas dérangées
par la sonnerie lorsqu'un appel est émis par cette station.
Une difficulté rencontrée sur les lignes
partagées non sélectives, qui peut paraître amusante
à première vue plutôt que sérieuse, mais
qui est néanmoins souvent un problème vexatoire, est due
à la tendance naturelle de certaines personnes à «
écouter » sur la ligne lorsqu'elles entendent des appels
destinés à d'autres postes que leur propre poste. Les
personnes dont les normes éthiques ne leur permettraient pas
d'écouter ou de regarder à travers un trou de serrure
se livrent souvent à ce type d'écoute téléphonique
clandestine.
Il arrive fréquemment que non seulement un mais
plusieurs abonnés répondent à un appel destiné
à d'autres et écoutent la conversation qui s'ensuit. Cette
situation est désavantageuse à plusieurs égards
: elle détruit la confidentialité de la conversation entre
deux interlocuteurs, elle soumet les batteries locales à une
consommation inutile et elle nuit considérablement à l'efficacité
de la sonnerie de la ligne. La raison de cette interférence avec
la sonnerie est que la présence de récepteurs à
faible résistance sur la ligne permet au courant envoyé
par l'un des générateurs de passer en grande partie à
travers les récepteurs, privant ainsi les sonneries, qui ont
une résistance et une impédance relativement élevées,
de l'énergie nécessaire à leur fonctionnement.
Il en résulte qu'il est souvent impossible pour un interlocuteur
de répéter l'appel pour un autre, car, pendant l'intervalle
entre le premier et le deuxième appel, plusieurs interlocuteurs
décrochent leurs récepteurs pour écouter. Les signaux
de fin de sonnerie ou de libération sont également perturbés.
Un remède partiel à cette interférence avec la
sonnerie, due à l'écoute clandestine, consiste à
introduire un condensateur de faible capacité dans le circuit
récepteur de chaque station, comme le montre la figure 169.
Cela n'interfère pas sérieusement avec la transmission
de la parole puisque les condensateurs transmettront facilement les
courants vocaux à haute fréquence. De tels condensateurs,
cependant, n'ont pas une capacité suffisante pour leur permettre
de transmettre facilement les courants de sonnerie à basse fréquence
etPage 234par conséquent, ceux-ci sont obligés, dans une
large mesure, de passer à travers les cloches auxquelles ils
sont destinés plutôt que de fuir à travers les voies
de réception à faible résistance.
Le condensateur le plus adapté à cet usage
est d'une capacité d'environ 1/2 microfarad, ce qui est largement
suffisant pour la transmission de la voix, tout en servant à
bloquer efficacement la majeure partie des courants du générateur.
Un condensateur de capacité supérieure supporterait beaucoup
plus facilement les courants du générateur et irait ainsi
à l'encontre de l'objectif pour lequel il a été
conçu.
Pour que les sonneries utilisées pour le pontage
des lignes partagées aient l'impédance requise, il est
courant de fabriquer des noyaux plutôt longs et d'un diamètre
un peu plus grand que dans les sonneries en série et d'enrouler
en même temps les bobines avec un fil assez fin afin d'obtenir
le nombre de tours requis. Les sonneries de pontage sont généralement
enroulées avec une résistance de 1 000 ou 1 600 ohms,
ces deux chiffres étant devenus la pratique courante. Ce n'est
cependant pas tant la résistance élevée que l'impédance
élevée que l'on recherche dans les sonneries de pontage
; c'est le nombre de tours qui est d'une importance primordiale.
Comme nous l'avons déjà dit, les générateurs
utilisés pour les ponts de lignes sont conçus pour fournir
un courant de sortie plus important que celui nécessaire dans
les appareils en série et, à cet effet, ils sont généralement
équipés d'au moins quatre, et généralement
de cinq, aimants en barre. L'armature est de longueur correspondante
et est enroulée, en règle générale, avec
du fil n° 33 environ.
Parfois, lorsqu'une ligne partagée en pont aboutit
à un standard téléphonique central, il est souhaitable
de faire fonctionner la ligne de telle sorte que les abonnés
ne puissent pas s'appeler les uns les autres, mais puissent, au contraire,
signaler uniquement l'opérateur du central téléphonique,
qui, à son tour, pourra appeler le correspondant souhaité
en désignant son poste par un code de sonnerie approprié.
Une façon courante de procéder consiste à utiliser
des sonneries polarisées au lieu des sonneries polarisées
ordinaires. Pour que les sonneries ne puissent pas être sonnées
par les générateurs des abonnés, ces générateurs
sont de type à courant continu et sont associés à
la ligne de telle sorte que les courants qu'ils envoient seront dans
la mauvaise direction pour actionner les sonneries. D'autre part, le
générateur du central téléphonique est de
type à courant continu et est associé à la ligne
dans la bonne direction pour alimenter les sonneries. Ainsi, tout abonné
sur la ligne peut appeler le central téléphonique en tournant
simplement son générateur à manivelle, action qui
ne fera pas sonner les cloches des abonnés en ligne. L'opératrice
pourra alors recevoir l'appel et à son tour envoyer des courants
de direction adéquate pour faire sonner toutes les cloches et,
par code, appeler le correspondant désiré au téléphone.
sommaire
Code de signalisation.
Le code par lequel les postes sont désignés sur les lignes
partagées non sélectives consiste généralement
en une combinaison de sonneries longues et courtes semblables aux points
et aux tirets du code Morse. Ainsi, une sonnerie courte peut indiquer
le poste n° 1, deux sonneries courtes le poste n° 2, et ainsi
de suite jusqu'à, disons, cinq sonneries courtes, indiquant le
poste n° 5. Il n'est pas recommandé d'utiliser plus de cinq
sonneries courtes successives en raison de la confusion qui surgit souvent
dans l'esprit des gens quant au nombre de sonneries qu'ils entendent.
Par conséquent, lorsque le nombre de postes à appeler
par code dépasse cinq, il est préférable d'utiliser
des combinaisons de sonneries longues et courtes, et une bonne méthode
consiste à adopter un système décimal partiel,
en omettant les nombres supérieurs à cinq dans chaque
dizaine, et en utilisant des sonneries longues pour indiquer les chiffres
des dizaines et des sonneries courtes pour indiquer le chiffre des unités,

D'autres dispositifs sont souvent utilisés et permettent d'obtenir
une grande variété de signaux facilement distinguables.
Les usagers de ces lignes apprennent à distinguer, avec relativement
peu d'erreurs, les appels qui leur sont destinés de ceux destinés
aux autres, mais il arrive souvent qu'ils ne fassent pas la distinction,
comme cela a déjà été souligné.
Limitations.
Avec de bons téléphones, la limite du nombre de postes
qu'il est possible d'utiliser sur une seule ligne est généralement
due davantage à des limitations de sonnerie qu'à des limitations
de conversation. Lorsque le nombre de postes augmente indéfiniment,
une condition sera atteinte dans lequel les générateurs
ne pourront pas générer suffisamment de courant pour faire
sonner toutes les cloches, et cette condition est susceptible de se
produire avant que l'efficacité de la communication ne soit sérieusement
altérée par le nombre de ponts traversant la ligne.
Aucune de ces considérations ne devrait toutefois déterminer
le nombre maximum de stations à placer sur une ligne.
La limite appropriée quant au nombre de stations n'est pas le
nombre de stations qui peuvent être appelées par un seul
générateur, ni le nombre de stations avec lesquelles il
est possible de transmettre correctement la parole, mais plutôt
le nombre de stations qui peuvent être utilisées sans provoquer
d'interférences excessives entre les différentes parties
qui souhaitent utiliser la ligne.
Les lignes partagées surchargées sont très gênantes,
non seulement parce que les abonnés ne peuvent souvent pas utiliser
la ligne quand ils le souhaitent, mais aussi, dans les lignes non sélectives,
en raison de la sonnerie incessante des cloches et du risque de confusion
dans l'interprétation du code de signalisation, qui devient bien
sûr plus complexe à mesure que le nombre de stations augmente.
Le volume d'affaires effectué sur une ligne téléphonique
est généralement désigné par le terme de
« trafic ». Il faut cependant comprendre, en considérant
le fonctionnement en ligne partagée, que le nombre d'appels par
jour ou par heure, ou par unité plus courte, n'est pas la véritable
mesure du trafic et, par conséquent, pas la véritable
mesure de la quantité d'interférences possibles entre
les différents abonnés sur la ligne.
La durée moyenne de la conversation est un facteur presque aussi
important.
Sur les lignes urbaines, c'est-à-dire sur les lignes des centraux
urbains, la conversation est généralement courte et dure
en moyenne deux minutes. Sur les lignes rurales, en revanche, qui desservent
des habitants des zones rurales, qui n'ont guère de possibilités
de se voir, en particulier en hiver, les conversations sont en moyenne
beaucoup plus longues.
Dans les communautés rurales, les gens se rendent souvent visite
par téléphone et des conversations d'une demi-heure ne
sont pas rares. Il est évident que dans de telles conditions,
une ligne partagée comportant un grand nombre de postes sera
sujette à de très graves interférences entre les
parties, les personnes désirant utiliser la ligne à des
fins professionnelles étant souvent obligées d'attendre
un temps excessif avant de pouvoir obtenir l'utilisation de la ligne.
Il est donc évident que le volume de trafic sur
la ligne, qu'il soit dû à de nombreuses conversations courtes
ou à un nombre relativement restreint de conversations, Le nombre
de stations qui peuvent être placées sur une ligne, de
façon économique, dépend essentiellement de la
longueur des lignes. Les facilités de construction des lignes
entrent également en ligne de compte, car il est évident
que dans les localités relativement pauvres, l'argent ne suffit
pas toujours à construire le nombre de lignes nécessaire
pour assurer correctement le trafic.
Un compromis est donc souvent nécessaire, et la seule règle
qui puisse être établie en toute sécurité
est de placer sur une ligne donnée le moins de stations possible
dans la mesure où les conditions le permettent.
Il n'existe pas de limite précise applicable à toutes
les situations, mais on peut affirmer sans risque de se tromper que
dans des circonstances ordinaires, il ne faut pas placer plus
de dix postes sur une ligne non sélective.
Il est toutefois courant de placer vingt postes sur une seule ligne,
et parfois quarante, voire cinquante, sont connectés à
une seule ligne. Dans de tels cas, la confusion qui en résulte,
même si l'efficacité des conversations et des sonneries
est tolérable, rend le service sur ces lignes surchargées
insatisfaisant pour toutes les parties concernées.
sommaire
II - SYSTÈMES DE LIGNES PARTICIPATIVES SÉLECTIVES
Le problème auquel est confronté un individu
qui met en place un système de sonnerie sélective sur
des lignes partagées est celui de faire en sorte que la sonnerie
de l'un des différents interlocuteurs d'un circuit réponde
à un signal envoyé par le central téléphonique
sans faire retentir les autres sonneries. Cela doit bien entendu être
accompli sans interférer avec les fonctions normales de la ligne
et de l'appareil téléphoniques. Cela signifie que les
abonnés doivent pouvoir appeler le central téléphonique
et signaler la déconnexion lorsqu'ils le souhaitent, et également
que l'association des dispositifs de signalisation sélective
avec la ligne ne doit pas interférer avec la transmission de
la parole sur la ligne.
De nombreuses méthodes de mise en uvre de la sonnerie sélective
sur les lignes partagées ont été proposées
et un grand nombre d'entre elles ont été utilisées.
Toutes ces méthodes peuvent être classées en quatre
catégories différentes selon le principe sous-jacent impliqué.
Classification.
( 1 ) Les systèmes à polarité sont ainsi appelés
parce que leur fonctionnement dépend de l'utilisation de cloches
ou d'autres dispositifs sensibles polarisés de manière
à ne réagir qu'à un seul sens du courant. Ces cloches
ou autres dispositifs sont disposés de telle manière par
rapport à la ligne que celle à faire sonner sera traversée
par un courant dans le bon sens pour l'actionner, tandis que toutes
les autres ne seront pas traversées par un courant du tout, ou
par un courant dans le mauvais sens pour provoquer leur fonctionnement.
( 2 ) Les systèmes harmoniques ont pour principe
fondamental le fait qu'un pendule ou une anche élastique, supportée
de manière à pouvoir vibrer librement, aura un taux de
vibration particulier qu'on peut facilement lui faire adopter. Ce pendule
ou anche est placé sous l'influence d'un électroaimant
associé à la ligne, et du fait qu'il vibrera facilement
à un taux de vibration particulier et avec une extrême
difficulté à tout autre taux, il est clair que pour des
impulsions de courant d'une fréquence correspondant à
son rythme naturel, l'anche captera la vibration, tandis que pour d'autres
fréquences, elle ne répondra pas.
La sélection sur les lignes partagées au moyen de ce système
est assurée par le réglage de toutes les lames de la ligne
à des vitesses de vibration différentes et est accomplie
en envoyant sur la ligne des courants de sonnerie de fréquence
appropriée pour faire sonner la cloche désirée.
Les dispositifs générateurs de courant pour faire sonner
ces cloches sont capables d'envoyer des fréquences différentes
correspondant respectivement aux vitesses de vibration de chacune des
lames vibrantes. Pour sélectionner une station quelconque, par
conséquent, la fréquence du courant correspondant à
la vitesse de vibration de la lame de la station est envoyée
et celle-ci, étant désaccordée avec les lames de
toutes les autres stations, fait fonctionner la lame de la station désirée,
mais ne fait pas fonctionner celles de toutes les autres stations.
( 3 ) Dans le système pas à pas, les sonneries
de la ligne ne sont normalement pas en relation opérationnelle
avec la ligne et la sonnerie de la personne désirée sur
la ligne est rendue réactive par l'envoi sur la ligne d'un certain
nombre d'impulsions préliminaires à sonner. Ces impulsions
actionnent à l'unisson des mécanismes pas à pas
à chacune des stations, l'agencement étant tel que les
sonneries des différentes stations sont chacune rendues opérationnelles
après l'envoi d'un certain nombre d'impulsions préliminaires,
ce nombre étant différent pour toutes les stations.
( 4 ) Les systèmes à lignes brisées
sont nouveaux dans le domaine de la téléphonie et semblent
prometteurs pour certains domaines d'activité.
Dans ces systèmes, le circuit de ligne est normalement divisé
en sections, la première section se terminant à la première
station en dehors du central téléphonique, la seconde
section à la seconde station, et ainsi de suite. Lorsque la ligne
est dans son état normal ou inactif, seule la sonnerie de la
première station est reliée au circuit de ligne de manière
à pouvoir être sonnée, la ligne étant ouverte
au-delà. L'envoi d'une seule impulsion préliminaire actionnera
cependant un dispositif de commutation de manière à déconnecter
la sonnerie de la première station et à connecter la ligne
à la seconde station. Cela peut être réalisé
en envoyant le nombre approprié d'impulsions préliminaires,
de manière à construire le circuit de ligne jusqu'à
la station souhaitée, après quoi l'envoi du courant de
sonnerie fera sonner la sonnerie à cette station uniquement.
Méthode de polarité.
La méthode de polarité de la signalisation sélective
sur les lignes partagées est probablement la plus largement utilisée.
Le système sélectif de l'American Telephone and Telegraph
Company fonctionne sur ce principe.
Ligne à deux abonnés. Il est évident
que la sélection peut être effectuée entre deux
abonnés sur une seule ligne à circuit métallique
sans utiliser de sonneries polarisées ou de courant de polarité
différente. Ainsi, une branche d'un circuit métallique
peut être utilisée comme une ligne mise à la terre
pour faire sonner la sonnerie de l'une des stations, et l'autre branche
du circuit métallique peut être utilisée comme une
autre ligne mise à la terre pour faire sonner la sonnerie de
l'autre station ; et les deux branches peuvent être utilisées
ensemble comme un circuit métallique pour les conversations comme
d'habitude.
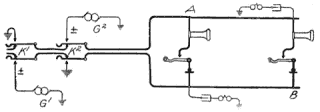
Fig. 170. Sélection
simple de ligne à deux parties
Ceci est illustré sur la figure 170, où les touches de
sonnerie du central téléphonique sont représentées
schématiquement dans la partie gauche de la figure par K1 et
K2 . Le fonctionnement de ces touches sera expliqué plus en détail,
mais on comprendra bien si l'on se rappelle que les circuits sont normalement
maintenus par ces touches dans la position indiquée. Cependant,
lorsque l'une des touches est actionnée, les deux longs ressorts
peuvent être considérés comme écartés
de manière à désengager les contacts normaux entre
les ressorts et à engager les deux contacts extérieurs,
avec lesquels ils sont représentés dans la coupe comme
devant être désengagés. Les deux contacts extérieurs
sont connectés respectivement à un générateur
de sonnerie à courant alternatif ordinaire et à la terre,
mais la connexion est inversée sur les deux touches.
À la station A, le poste de conversation ordinaire est représenté
sous une forme simplifiée, composé simplement d'un récepteur,
d'un émetteur et d'un commutateur à crochet dans un seul
circuit en pont sur la ligne. Une sonnerie polarisée ordinaire
est représentée connectée en série avec
un condensateur entre la branche inférieure de la ligne et la
terre. À la station B, le même circuit de conversation
est représenté, mais la cloche polarisée et le
condensateur sont pontés entre le membre supérieur de
la ligne et la terre.
Si l'opératrice désire appeler la station
A, elle appuiera sur la touche K 1 qui mettra à la terre le côté
supérieur de la ligne et connectera le côté inférieur
de la ligne au générateur G 1 , ce qui, évidemment,
fera sonner la cloche de la station A. La cloche de la station B ne
sonnera pas car elle n'est pas dans le circuit. Si, par contre, l'opératrice
désire sonner la cloche de la station B, elle appuiera sur la
touche K 2 , ce qui permettra au courant du générateur
G 2 de passer par le côté supérieur de la ligne
à travers la cloche et le condensateur de la station B et de
revenir par le chemin à travers la terre. Le but de la mise à
la terre des côtés opposés des touches au central
est d'empêcher la sonnerie croisée, c'est-à-dire
la sonnerie de la mauvaise cloche. Si les touches n'étaient pas
mises à la terre, cela pourrait se produire lorsqu'un courant
de sonnerie était envoyé alors que le récepteur
de l'une des stations était décroché ; Le courant
de sonnerie provenant par exemple du générateur G 1 passe
alors non seulement par la cloche de la station A comme prévu,
mais aussi par la cloche de la station B par le biais du pont passant
par le récepteur qui se trouve être connecté en
travers de la ligne. Avec les clés de sonnerie mises à
la terre comme indiqué, il est évident que cela ne se
produira pas, car le chemin du courant de sonnerie à travers
la mauvaise cloche sera toujours shunté par un chemin direct
vers la terre du même côté de la ligne.
Dans un tel système sélectif à
deux lignes, les deux générateurs G1 et G2 peuvent être
le même générateur et être du type à
courant alternatif ordinaire. Les sonneries peuvent également
être du type à courant alternatif ordinaire.
La ligne sélective à deux correspondants
qui vient d'être décrite utilise pratiquement deux circuits
séparés pour la sonnerie. Chacun de ces circuits peut
être utilisé seul pour réaliser une sonnerie sélective
entre deux postes en utilisant deux sonneries polarisées opposées
et en utilisant des courants de sonnerie pulsés dans un sens
ou dans l'autre selon la sonnerie que l'on souhaite faire sonner.
Un côté d'un circuit ainsi équipé est représenté
sur la figure 171.
Fig. 171. Principe de sélection
par polarité
Dans ce cas, les deux sonneries polarisées se trouvent à
la station A et à la station B, celles-ci étant reliées
à la terre dans chaque cas et adaptées pour ne répondre
qu'aux impulsions positives et négatives respectivement. Au central,
les deux touches K 1 et K 2 sont représentées.
Un seul générateur de courant alternatif G est représenté,
dont le balai 1 est mis à la terre et le balai 2 est relié
à un disque commutateur 3 monté sur de l'arbre du générateur
est entraîné en rotation par un disque dont la moitié
de la périphérie est en matériau isolant, de sorte
que les balais 4 et 5 , qui s'appuient contre le disque, sont alternativement
reliés au disque et donc au balai 2 du générateur.
Or, le balai 2 , étant une borne d'une machine à courant
alternatif, est alternativement positif et négatif, et l'agencement
du commutateur est tel que le disque, qui est toujours au potentiel
du balai 2 , ne sera relié au balai 5 que lorsqu'il est chargé
positivement et au balai 4 que lorsqu'il est chargé négativement.
Il en résulte que le balai 5 a une succession d'impulsions positives
et le balai 4 une succession d'impulsions négatives. Il est donc
évident que lorsque la touche K1 est enfoncée, seule la
cloche du poste A sonnera, et de même que l'enfoncement de la
touche K2 n'entraînera que la sonnerie du poste B.
Fig. 172. Sélection
de polarité à quatre parties
Le système représenté sur la figure 172 présente
un défaut assez grave. Dans les chapitres suivants, nous soulignerons
que dans les systèmes à batterie commune, l'affichage
du signal de ligne au central téléphonique est affecté
par le simple fait que l'un des abonnés décroche son récepteur
et établit ainsi une connexion entre les deux branches du circuit
métallique. Dans de tels systèmes à batterie commune,
les deux branches de la ligne doivent normalement être entièrement
isolées l'une de l'autre. On voit que ce n'est pas le cas dans
le système qui vient d'être décrit, car il existe
un chemin conducteur d'une branche de la ligne à travers les
deux sonneries de ce côté jusqu'à la terre, et de
là à travers l'autre paire de sonneries jusqu'à
l'autre branche de la ligne. Cela signifie qu'à moins que la
résistance des enroulements de sonnerie ne soit très élevée,
le chemin du circuit de signalisation aura une résistance suffisamment
faible pour actionner le signal de ligne au central téléphonique.
Il n'est pas possible de surmonter cette objection en utilisant des
condensateurs en série avec les cloches, comme cela a été
fait dans le système montré dans la figure 170, car les
cloches sont nécessairement polarisées et ces cloches,
comme on peut facilement le voir, ne fonctionneront pas correctement
à travers des condensateurs, car le placement d'un condensateur
dans leur circuit signifie que le courant qui traverse la cloche est
alternatif plutôt que pulsé, bien que la source d'origine
puisse avoir été de nature pulsatoire uniquement.
Le remède à cette difficulté a donc été
de placer en série avec chaque sonnerie une résistance
non inductive très élevée d'environ 15 000 ou 20
000 ohms, et de fabriquer également les enroulements des sonneries
avec une résistance relativement élevée, généralement
d'environ 2 500 ohms. Même avec cette précaution, il y
a une fuite considérable du courant de la batterie du central
d'un côté de la ligne à l'autre à travers
les deux chemins vers la terre en série. Cette méthode
de signalisation sélective a donc été plus fréquemment
utilisée avec les systèmes magnéto. Un effort pour
appliquer ce principe aux systèmes à batterie commune
sans les objections mentionnées ci-dessus a conduit à
l'adoption d'une modification, dans laquelle un relais à chaque
station maintient normalement la connexion à la terre ouverte.
Fig. 173. Système
de polarité standard
Ceci est représenté sur la figure 173 et constitue le
circuit de sonnerie standard de ligne à quatre abonnés
utilisé par l'American Telephone and Telegraph Company et ses
concessionnaires.
Dans ce système, les sonneries polarisées
sont normalement déconnectées de la ligne et, par conséquent,
le chemin de fuite à travers elles d'un côté de
la ligne à l'autre n'existe pas. A chaque station se trouve un
enroulement de relais adapté pour être actionné
par le courant de sonnerie ponté à travers la ligne en
série avec un condensateur. En conséquence, lorsque le
courant de sonnerie est envoyé sur la ligne, tous les relais,
c'est-à-dire un à chaque station, sont excités
et attirent leurs armatures. Cela établit la connexion de toutes
les sonneries à la ligne et provoque en fait temporairement une
condition équivalente à celle de la figure 172. En conséquence,
l'envoi d'un courant positif sur la ligne inférieure avec un
retour à la terre provoquera le fonctionnement de la sonnerie
à la station A. Elle ne fera pas sonner la sonnerie à
la station B en raison de la mauvaise polarité. Elle ne fera
pas sonner les sonneries des stations C et D car elles sont dans le
circuit entre l'autre côté de la ligne et la terre. Dès
que le courant de sonnerie cesse, tous les relais libèrent leurs
armatures et déconnectent toutes les sonneries de la ligne.
Grâce à ce dispositif très simple, le problème
dû au fonctionnement marginal du signal de ligne est éliminé,
car normalement il n'y a pas de fuite d'un côté de la ligne
à l'autre en raison de la présence des condensateurs dans
le pont à chaque station.
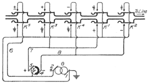
Fig. 174. Disposition des
touches de sonnerie
La figure 174 montre les connexions les plus complètes
des touches de sonnerie du central téléphonique, au moyen
desquelles les courants de sonnerie positifs ou négatifs appropriés
sont envoyés à la ligne de manière appropriée
pour provoquer la sonnerie de l'une des quatre cloches sur une ligne
partagée de l'un des types représentés dans les
figures 172 et 173.
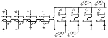
Dans ce cas, le générateur G et son disque
commutateur 3 , avec les différents balais 1 , 2 , 4 et 5 , sont
disposés de la même manière que celle illustrée
sur la figure 171. Il ressort de ce qui a été dit que
le fil 6 partant du balai 2 du générateur et du disque
commutateur 3 véhiculera un potentiel alternatif, que le fil
7 véhiculera des pulsations de potentiel positives et que le
fil 8 véhiculera des pulsations de potentiel négatives.
Le jeu illustré sur la figure 174 comporte cinq clés,
dont quatre, à savoir K1 , K2 , K3 et K4 , sont connectées
de la même manière que celle indiquée schématiquement
sur les figures 172 et 173 , et serviront évidemment à
envoyer le courant approprié sur la branche appropriée
de la ligne pour faire sonner l'une des cloches. La touche K 5 , la
cinquième de l'ensemble, est ajoutée pour permettre à
l'opérateur de faire sonner une sonnerie ordinaire non biaisée
sur une ligne à un seul correspondant lorsqu'une connexion est
établie avec cette ligne. Comme les deux contacts extérieurs
de cette touche sont reliés respectivement aux deux balais de
la dynamo à courant alternatif G , il est clair qu'elle appliquera
un courant alternatif sur la ligne lorsque ses contacts seront fermés.
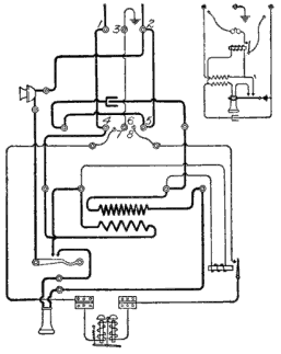
Circuits des téléphones à
deux lignes.
Fig. 175. Circuit d'une
station à deux parties
170
La figure 175 montre en détail le câblage du poste téléphonique
habituellement utilisé en liaison avec le système de sonnerie
sélective de ligne partagée illustré à la
figure 170.
Dans le câblage de ce poste et des deux suivants, il faut garder
à l'esprit que la partie du circuit utilisée pendant la
conversation. On pourrait câbler de nombreuses manières
sans affecter le principe de sonnerie sélective employé
; cependant, les circuits représentés sont ceux les plus
couramment utilisés avec les systèmes de sonnerie sélective
respectifs qu'ils sont destinés à illustrer. Pour connecter
les circuits de cet appareil téléphonique à la
ligne, les deux conducteurs de ligne sont connectés aux bornes
de connexion 1 et 2 et une connexion de terre est établie sur
la borne de connexion 3. En pratique, afin d'éviter la nécessité
de changer le câblage permanent du poste téléphonique
lors de sa connexion en tant que poste A ou B (Fig. 170), les conducteurs
de ligne sont connectés aux bornes de connexion dans l'ordre
inverse aux deux postes ; c'est-à-dire que pour le poste A, le
conducteur supérieur, Fig. 170, est connecté à
la borne de connexion 1 et le conducteur inférieur à la
borne de connexion 2 , tandis qu'au poste B, le conducteur supérieur
est connecté à la borne de connexion 2 et le conducteur
inférieur à la borne de connexion 1. Le câblage
permanent de ce poste téléphonique est le même que
celui fréquemment utilisé pour un poste connecté
à une ligne n'ayant qu'un seul poste, le circuit de sonnerie
approprié étant réalisé par la méthode
de connexion des bornes de connexion. Par exemple, si ce poste téléphonique
devait être utilisé sur une ligne à poste unique,
les bornes de raccordement 1 et 2 seraient reliées aux deux conducteurs
de la ligne comme précédemment, tandis que la borne de
raccordement 3 serait reliée à la borne 1 au lieu d'être
mise à la terre.
Circuits de téléphones à quatre lignes.
Le câblage du poste téléphonique utilisé
avec le système illustré à la figure 172 est montré
en détail à la figure 176.
Fig. 176.
Fig.
172
Circuit d'un poste à quatre abonnés sans relais.
Le câblage de ce poste est prévu pour fonctionner sur batterie
locale ou sur magnéto, car cette méthode de sonnerie sélective
est plus fréquemment utilisée avec les systèmes
à magnéto, en raison des caractéristiques indésirables
qui apparaissent lorsqu'elles sont appliquées aux systèmes
à batterie commune. Dans cette figure, les conducteurs de ligne
sont connectés aux bornes de connexion 1 et 2 , et une connexion
à la terre est établie sur les bornes de connexion. Afin
que tous les ensembles puissent être câblés de la
même manière et pourtant permettre à l'instrument
d'être connecté à l'une quelconque des différentes
stations, la cloche n'est pas câblée en permanence à
une partie quelconque du circuit mais possède des connexions
flexibles qui permettront à l'ensemble d'être correctement
connecté à n'importe quelle station souhaitée.
Les bornes de la cloche sont connectées aux bornes de connexion
9 et 10 , auxquelles sont connectés des conducteurs flexibles
se terminant par les bornes 7 et 8. Ces bornes peuvent être connectées
aux bornes de connexion 4 , 5 et 6 de la manière appropriée
pour connecter l'ensemble en tant que station A, B, C ou D, selon les
besoins.
Par exemple, pour connecter l'ensemble pour la station A, Fig. 172,
la borne 7 est connectée à la borne de connexion 6 et
8 à 5. Pour connecter l'ensemble pour la station B, la borne
7 est connectée à la borne de connexion 5 et 8 à
6. Pour connecter l'ensemble pour la station C, la borne 7 est connectée
à la borne de connexion 6 et 8 à 4 . Pour connecter l'ensemble
de la station D, la borne 7 est connectée à la borne de
connexion 4 et la borne 8 à la borne 6 .
Fig. 177.
Circuit d'un poste à quatre abonnés avec relais
Le câblage détaillé
du poste téléphonique utilisé en relation avec
le système illustré à la figure 173 est représenté
à la figure 177. Le câblage de ce poste est prévu
pour un système à batterie commune, dans la mesure où
cette disposition du circuit de signalisation est plus particulièrement
adaptée au fonctionnement à batterie commune. Cependant,
cette disposition est fréquemmentPage 248Adapté aux systèmes
magnéto, car même avec les systèmes magnéto,
une connexion permanente à la terre au poste d'un abonné
est répréhensible dans la mesure où elle augmente
la difficulté de déterminer l'existence ou l'emplacement
d'une mise à la terre accidentelle sur l'un des conducteurs de
ligne. Le câblage de cet ensemble est également organisé
de manière à ce qu'un type de câblage standard puisse
être utilisé tout en permettant de connecter n'importe
quel poste téléphonique en tant que poste A, B, C ou D.
sommaire
Méthode harmonique.
Principes. Pour mieux comprendre le principe de fonctionnement des systèmes
de signalisation harmonique à ligne partagée, il faut
se rappeler qu'une anche flexible, montée rigidement à
une extrémité et dont l'autre extrémité
est libre de vibrer, aura, comme une corde de violon, une certaine période
naturelle de vibration ; c'est-à-dire que si on la met en vibration,
par exemple en la faisant claquer avec les doigts, elle prendra un certain
taux de vibration qui continuera à un taux uniforme jusqu'à
ce que la vibration cesse complètement. Une telle anche sera
plus facilement mise en vibration par une série d'impulsions
ayant une fréquence correspondant exactement au taux de vibration
naturel de l'anche elle-même ; elle peut être mise en vibration
par de très légères impulsions si elles se produisent
exactement au bon moment.
Il est bien connu qu'une personne qui pousse une autre
personne sur une balançoire peut provoquer une amplitude de vibration
considérable avec l'exercice d'une petite force, si elle synchronise
ses poussées de manière à se conformer exactement
au taux de vibration naturel de la balançoire. Il est bien sûr
possible, cependant, de faire en sorte que la balançoire adopte
d'autres taux de vibration en appliquant une force suffisante. Prenons
un autre exemple : un pendule d'horloge qui bat les secondes. Par de
légers coups fournis par l'échappement au moment précis,
le lourd pendule est maintenu en mouvement. Cependant, si une personne
saisit le poids du pendule et le secoue, il peut être amené
à vibrer à presque n'importe quel taux désiré,
en fonction de la force et de l'agilité de l'individu.
La conclusion est donc qu'une anche ou un pendule peut
être amené à démarrer et à vibrer
facilement par l'application d'impulsions à des intervalles appropriés,
et seulement avec une grande difficulté par l'application d'impulsions
à des intervalles autres que les intervalles appropriés
; et ces faits constituent la base sur laquelle reposent les systèmes
de sonnerie harmonique.
Le premier système de ligne sélective harmonique fut celui
inventé par J. B. Currier un entrepreneur de pompes funèbres
de Lowell, dans le Massachusetts, et breveté par lui en 1881,
et utilisé pendant plusieurs heures par la New England Bell Telephone
Company.
La figure représente
une copie du dessin du brevet.
Dans ce système, les électroaimants avec leurs armatures,
qui dans ce cas contenaient le percuteur de sonnerie, étaient
disposés en série sur la ligne, comme dans le télégraphe
harmonique d'Edison. Currier produisait ses courants pulsatoires au
moyen de pendules de différentes longueurs, lesquels pendules
étaient munis de contacts pour interrompre le courant de sonnerie.
Les cloches harmoniques étaient placées en série
sur la ligne téléphonique et étaient largement
utilisées en Nouvelle-Angleterre dans les pratiques commerciales
au début des années 1880. Un peu plus tard, James A. Lighthipe
de San Francisco inventa indépendamment un système de
sonnerie harmonique, qui fut utilisé avec succès à
Sacramento et dans quelques autres petites villes de Californie. Lighthipe
polarisait ses cloches et les reliait en série sur la ligne avec
des condensateurs, comme dans la pratique moderne, et à part
quelques crudités de conception, son appareil ressemblait beaucoup,
tant dans son principe que dans sa construction, à certains de
ceux utilisés avec succès aujourd'hui.
Lamélioration suivante dans cette ligne
fut le système de J. A. Lighthipe, breveté en 1895,
qui fut utilisé dans une mesure limitée par la Bell Telephone
Company sur la côte Pacifique,
Le système
de Lighthipe est presque identique aux systèmes de lignes partagées
sélectives harmoniques utilisés à cette époque.
Il fut le premier à introduire le condensateur en série
avec la cloche sur la ligne pour empêcher le courant du central
de circuler dans les bobines magnétiques.
En 1897 Wm W DEAN. reçoit le brevet US593372 SYSTÈME
TÉLÉPHONIQUE.qui concerne un appareil de central téléphonique
particulièrement adapté pour être utilisé
en relation avec des lignes téléphoniques collectives.
Breveté le 9 NOVEMBRE
1897. US593372
Le système de Lighthipe tomba en désuétude
et fut presque oublié, lorsque vers 1903, Wm. W. Dean
redéveloppa de nouveau indépendamment le système
harmonique et produisit une cloche étonnamment semblable à
celle de Lighthipe, mais de conception plus raffinée, démarrant
ainsi le développement qui a abouti à l'utilisation généralisée
actuelle de ce système.
Le dispositif de réception du signal dans les
systèmes de sonnerie harmonique prend la forme d'une sonnette,
dont l'armature et le percuteur sont montés sur un ressort plutôt
rigide plutôt que sur des tourillons. De cette manière,
les parties mobiles du pavillon constituent en fait une languette de
anche, qui a une vitesse de vibration naturelle à laquelle elle
peut facilement être amenée à vibrer avec une amplitude
suffisante pour frapper les gongs. La sonnette harmonique diffère
donc de la cloche ou de la sonnette polarisée ordinaire, en ce
sens que son armature vibre plus facilement à une vitesse particulière,
tandis que l'armature de la sonnette ordinaire est presque indifférente,
entre des limites assez larges, quant à la vitesse à laquelle
elle vibre.
En règle générale, les systèmes
de lignes partagées harmoniques sont limités à
quatre stations sur une ligne.
Les fréquences employées sont généralement
de 16-2/3, 33-1/3, 50 et 66-2/3 cycles par seconde, ce qui correspond
à 1 000, 2 000, 3 000 et 4 000 cycles par minute. La raison pour
laquelle cet ensemble particulier de fréquences a été
choisi est qu'il représente approximativement la gamme de fréquences
souhaitables, et que les premières machines à courant
de sonnerie dans de tels systèmes ont été fabriquées
en montant les armatures de quatre générateurs différents
sur un seul arbre, ceux-ci ayant respectivement deux pôles, quatre
pôles, six pôles et huit pôles chacun. Le générateur
à deux pôles donnait un cycle par tour, le générateur
à quatre pôles deux, le générateur à
six pôles trois et le générateur à huit pôles
quatre, de sorte qu'en faisant tourner l'arbre de la machine à
exactement 1 000 tours par minute, les fréquences mentionnées
ci-dessus ont été atteintes. Cette gamme de fréquences
s'est avéré à peu près exact pour la pratique
générale et les premiers sonneurs ayant tous été
réglés de manière à fonctionner sur cette
base, la pratique consistant à adhérer à ces nombres
de vibrations a été maintenue, à une exception
près, par tous les fabricants qui fabriquent ce type de sonneur.
Accordage.
Le processus d'ajustement de l'armature d'une sonnette à un certain
taux de vibration est appelé accordage, et il est habituel de
se référer à une sonnette comme étant accordée
à un certain taux de vibration, tout comme il est habituel de
se référer à une corde de violon comme étant
accordée à une certaine hauteur ou taux de vibration.
La différence physique entre les sonneurs des différentes
fréquences réside principalement dans la taille des poids
placés à l'extrémité de l'anche vibrante,
c'est-à-dire des poids qui forment le percuteur du pavillon.
Les sonneurs à basse fréquence ont les poids les plus
gros et les sonneurs à haute fréquence les plus petits,
bien entendu. Les sonneurs sont accordés approximativement aux
fréquences souhaitées en plaçant simplement le
poids souhaité sur la tige de percuteur, puis un accord plus
précis leur est donné en modifiant légèrement
la position des poids sur la tige de percuteur. Pour que l'anche ait
une vitesse de vibration naturelle légèrement inférieure,
le poids est éloigné de l'extrémité fixe
de l'anche, tandis que pour lui donner une vitesse de vibration naturelle
légèrement supérieure, le poids est déplacé
vers l'extrémité fixe. De cette manière, des réglages
très précis peuvent être effectués, et le
but des différentes usines qui fabriquent ces cloches est de
rendre le réglage permanent afin qu'il n'ait jamais à
être modifié par les sociétés exploitantes.
Plusieurs années d'expérience avec ces cloches ont montré
qu'une fois correctement assemblées, elles maintiennent le même
taux de vibration avec une grande constance.
Il existe deux méthodes générales
de fonctionnement des cloches harmoniques.
L'une d'elles peut être appelée le système d'accordage
et l'autre le système de sous-accordage. Le système de
sous-accordage a été le premier à être utilisé.
Système de sous-accord.
Les premiers chercheurs dans le domaine de la signalisation sélective
harmonique ont découvert que lorsque le percuteur de l'anche
frappait les gongs, le taux de vibration naturel de l'anche était
modifié, ou plus exactement, l'anche était amenée
à avoir un taux de vibration différent de son taux naturel.
Cela était dû au fait que l'élasticité des
gongs s'avérait être un autre facteur. L'effet de ce facteur
supplémentaire était toujours d'accélérer
la vitesse de vibration de l'anche lorsqu'elle ne frappait pas les gongs.
En d'autres termes, le rebond du marteau sur les gongs tendait à
accélérer la vitesse de vibration, ce qui, comme on pouvait
s'y attendre, causait de sérieuses difficultés dans le
fonctionnement pratique des cloches. Pour illustrer cela : si une anche
avait une vitesse de vibration naturelle, lorsqu'elle ne frappait pas
les gongs, de 50 par seconde et qu'un courant de 50 cycles par seconde
était appliqué sur la ligne, l'anche absorberait facilement
cette vitesse de vibration, mais lorsqu'une amplitude de vibration suffisante
était atteinte pour amener le frappeur à frapper les gongs,
l'anche serait désaccordée, en raison de la tendance des
gongs à faire vibrer l'anche à une vitesse plus élevée.
Cela provoquait une sonnerie irrégulière et suffisait
souvent à faire cesser complètement la sonnerie des cloches
ou à la faire sonner de manière totalement insatisfaisante.
Pour remédier à cette difficulté, les premières
cloches de Currier et Lighthipe furent fabriquées
selon ce que l'on a appelé depuis le principe du "sous-accord".
Les premières cloches de la Kellogg Switchboard and Supply Company,
développées par Dean, étaient basées
sur cette idée comme principe cardinal. Les anches avaient toutes
un taux de vibration naturel, lorsqu'elles ne frappaient pas les gongs,
légèrement inférieur à celui des fréquences
de courant à utiliser ; et pourtant pas suffisamment inférieur
à la fréquence de courant correspondante pour désaccorder
la cloche au point que la fréquence de courant ne puisse pas
la faire démarrer. Cela était fait de sorte que lorsque
le batteur commençait à frapper les gongs, il était
accéléré et pratiquement accordé avec la
fréquence du courant, et la sonnerie continuait régulièrement
tant que le courant circulait. On voit que le système sous-accordé
impliquait donc une certaine difficulté à démarrer
afin d'assurer une régularité appropriée pendant
la sonnerie.
Les sonneurs de ce type étaient toujours fabriqués avec
un seul gong, car il était difficile d'assurer une uniformité
de sonnerie et de réglage lorsque deux gongs étaient utilisés.
Bien qu'aucun sonneur de ce type ne soit fabriqué à l'heure
actuelle, un grand nombre d'entre eux sont néanmoins utilisés
et ils seront donc décrits. Leur fonctionnement est intéressant
car il jette une meilleure lumière sur les types plus perfectionnés,
ne serait-ce que pour cette raison.
Fig.
178 et 179. Sonnerie sous-accordée Kellogg
Les figures 178 et 179 montrent respectivement des vues
latérales et frontales de la cloche Kellogg originale.
L'ensemble du mécanisme est autonome, toutes les pièces
étant montées sur la plaque de base 1. L'électroaimant
est du type à deux bobines et est supporté sur les supports
2 et 3. Le support 2 est en fer de manière à fournir un
joug magnétique pour le champ de l'électroaimant, tandis
que le support 3 est en laiton de manière à ne pas court-circuiter
les lignes magnétiques à travers l'entrefer. La languette
de l'anche, constituée du ressort en acier 5 , des pièces
d'armature en fer doux 6 , du ressort auxiliaire 7 et de la bille de
frappe 8 , tous rivetés ensemble, comme le montre la figure 178,
constitue la seule partie mobile de la cloche. Le ressort en acier 5
est monté rigidement dans la pièce de serrage 9 à
la partie supérieure du support 3 , et la languette de l'anche
ne peut vibrer que par la flexibilité de ce ressort. Le ressort
auxiliaire 7 est beaucoup plus léger que le ressort 5 et a pour
fonction de fournir une certaine petite quantité de flexibilité
entre la bille de taraudage et la partie plus rigide de l'armature formée
par les bandes de fer 6-6 . Les extrémités avant des pièces
polaires de l'aimant s'étendent à travers le support 3
et sont pourvues de pièces polaires carrées en fer doux
10 placées à angle droit par rapport aux noyaux de l'aimant
de manière à former un entrefer assez étroit dans
lequel l'armature peut vibrer.
Les noyaux de l'aimant et la languette sont polarisés au moyen
de l' aimant en forme de barreau 4 en forme de L , monté sur
la culasse en fer 2 à une extrémité de telle manière
que son autre extrémité se trouve tout près de
l'extrémité du ressort 5 , qui, étant en acier,
fournira un chemin aux lignes de force vers l'armature proprement dite.
Nous voyons donc que les deux noyaux de l'aimant reçoivent, par
cet aimant permanent, une polarité, tandis que la languette elle-même
reçoit l'autre polarité, ce qui est exactement la condition
qui a déjà été décrite à propos
de la cloche ou du carillon polarisé régulier.
L'action électromagnétique par laquelle cette languette
de roseau est amenée à vibrer est donc exactement la même
que celle d'une sonnerie polarisée ordinaire, mais la différence
entre les deux est que, dans le cas, de la sonnerie harmonique, la languette
de l'anche ne répondra qu'à un taux particulier de vibrations,
tandis que la sonnerie polarisée régulière répondra
à presque tous.
Comme le montre la figure 178, la bille de frappe frappe
la surface intérieure du gong unique. La fonction du ressort
auxiliaire 7 entre la bille et la partie principale de l'armature est
de permettre une certaine élasticité entre la bille et
l'équilibre de l'armature de manière à contrecarrer
dans une certaine mesure l'influence accélératrice du
gong sur l'armature. Dans ces cloches, comme déjà indiqué,
la vitesse de vibration naturelle de la languette de l'anche était
quelque peu inférieure à la vitesse à laquelle
la cloche devait être actionnée, de sorte que la languette
de l'anche devait être mise en marche par un courant légèrement
désaccordé avec lui, puis, lorsque la bille de frappe
frappait le gong, l'accélération due au gong mettait la
vibration de la languette de l'anche, telle que modifiée par
le gong, en accord avec le courant qui la faisait fonctionner. En d'autres
termes, dans ce système, les courants de sonnerie appliqués
à la ligne avaient des fréquences correspondant à
ce que l'on peut appeler les taux de vibration opérationnels
des languettes de l'anche, taux de vibration opérationnels qui
étaient dans chaque cas la résultante de la hauteur naturelle
de l'anche modifiée par l'action du timbre de la cloche lorsqu'il
était frappé.
Système d'accordage.
La méthode d'accordage la plus moderne consiste à régler
le taux de vibration naturel de la languette de l'anche, c'est-à-dire
le taux auquel elle vibre naturellement lorsqu'elle ne frappe pas les
gongs, de manière à ce qu'il corresponde exactement au taux
de vibration auquel les cloches doivent être actionnées.
Autrement dit, le taux de vibration naturel des languettes de l'anche
est rendu identique au taux de fonctionnement. Ainsi, les cloches sont
accordées pour un démarrage facile, ce qui constitue un
grand avantage par rapport au système sous-accordé. Dans
le système sous-accordé, les anches étant désaccordées
au démarrage, il faut un courant de démarrage plus important,
ce qui est évidemment propice au croisement des sons, c'est-à-dire
à la réponse des cloches à une fréquence autre
que celle prévue.
De plus, un démarrage facile est souhaitable
car lorsque l'armature est au repos ou en très légère
vibration, elle se trouve à une distance maximale des pôles
de l'électroaimant et, par conséquent, soumise à
la plus faible influence des pôles. Un courant suffisamment fort
pour déclencher la vibration sera donc suffisamment fort pour
maintenir la sonnerie correcte de la cloche.
Lorsque, avec ce mode de fonctionnement « en accord », l'armature
est soumise à une vibration suffisamment large pour amener le
percuteur à frapper le gong, le gong peut avoir tendance à
accélérer la vibration de la languette de l'anche, mais
les impulsions de courant à travers les bobines de l'électroaimant
continuent exactement aux mêmes vitesses qu'auparavant. Dans ces
conditions de vibration, lorsque la languette de l'anche a une amplitude
de vibration suffisamment large pour amener le percuteur à frapper
les gongs, les extrémités de l'armature se rapprochent
des pièces polaires, de sorte que les pièces polaires
ont leur effet magnétique maximal sur l'armature, avec pour résultat
que même si la tendance à l'accélération
des gongs était considérable, les impulsions d'attraction
magnétique relativement importantes se produisant au même
rythme que le taux naturel de vibration de la languette de l'anche servent
entièrement à empêcher toute accélération
réelle de la languette de l'anche. Les attractions magnétiques
sur les extrémités de l'armature, se poursuivant au rythme
initial, servent donc de frein pour compenser toute accélération,
de la tendance que la frappe du gong peut avoir sur la languette vibrante
de l'anche.
Il est donc évident que dans le système
« en harmonie », l'effet électromagnétique
sur l'armature doit, lorsque l'armature est la plus proche des pièces
polaires, être d'une nature si puissante qu'il empêche toute
tendance accélératrice des timbres de faire dévier
l'armature de sa « foulée » en phase avec le courant.
Pour cette raison, il est courant dans ce type de système d'ajuster
l'armature de manière à ce que ses extrémités
heurtent effectivement les pièces polaires de l'électroaimant
lorsqu'elles sont mises en vibration. Une flexibilité suffisante
est donnée à la tige de taraudage pour lui permettre de
continuer légèrement au-delà du point où
elle serait amenée à s'arrêter par la frappe des
extrémités de l'armature contre les pièces polaires
et ainsi exercer une action de fouettage de manière à
permettre à la bille de continuer son mouvement suffisamment
loin pour heurter les timbres. Le rebond du gong est alors absorbé
par l'élasticité de la tige du taraud, qui revient à
une position non fléchie, et à peu près à
ce moment-là, la pièce polaire libère l'armature
de sorte qu'elle peut basculer dans l'autre sens pour amener le taraud
à frapper l'autre gong.
La construction de la sonnerie harmonique « en accord »
utilisée par la Dean Electric Company, d'Elyria, Ohio, est illustrée
dans les figures 180, 181 et 182.
180
181
182

Fig. 180. Sonnerie Dean In-Tune . Fig. 181. Tarauds pour Dean Ringers
. Fig. 182. Sonnerie Dean In-Tune
On voit d'après la figure 180 que la disposition
générale de l'aimant et de l'armature est la même
que celle de la sonnerie polarisée ordinaire ; la différence
essentielle est que l'armature est montée sur ressort au lieu
d'être pivotante. L'armature et la tige de taraudage se trouvent
normalement dans la position centrale normale par rapport aux pièces
polaires de l'aimant et des timbres.
La figure 181 montre les parties vibrantes complètes de quatre
sonneries, adaptées respectivement aux quatre fréquences
différentes du système. L'armature, la tige de taraudage
et la tige de taraudage assemblées sont toutes rivetées
ensemble et ne sont pas réglables. Tous les réglages qui
y sont effectués en usine et est accompli, d'abord, en choisissant
la taille appropriée du poids, et ensuite, en forçant
ce poids dans la bonne position sur la tige de taraudage pour donner
exactement le taux de vibration souhaité.
Une caractéristique intéressante de cette sonnette harmonique
Dean est le réglage des gongs. Comme on le verra, les gongs sont
montés sur des poteaux portés par des leviers pivotants
sur le cadre de la sonnette. Ces leviers ont à leur extrémité
extérieure une crémaillère incurvée munie
de dents d'engrenage adaptées pour s'engager dans un filetage
à vis sans fin ou à vis monté sur le cadre de la
sonnette. Évidemment, en tournant cette vis sans fin dans un
sens ou dans l'autre, les gongs sont légèrement déplacés
vers ou depuis l'armature ou le taraud. Cela permet un moyen très
délicat de régler les gongs, et en même temps un
moyen qui n'a pas tendance à se desserrer ou à se dérégler.
Fig. 183. Sonnerie
Kellogg In-Tune
La figure 183 montre un dessin de la sonnerie harmonique « en
accord » fabriquée par la Kellogg Switchboard and Supply
Company.
Celle-ci ne diffère en rien de celle de la Dean Company, sauf
au niveau du réglage du gong, ce dernier étant effectué
par une vis traversant un écrou dans le poteau du gong, comme
clairement indiqué.
Dans les deux types de sonneries, Kellogg et Dean, en
raison de la rigidité relative des ressorts de l'armature et
de la position normale de l'armature avec des entrefers maximum et une
attraction magnétique minimale, l'armature ne sera pratiquement
pas affectée à moins que le courant d'alimentation ne
soit réglé avec précision sur son propre taux naturel.
Lorsque le courant approprié est envoyé sur la ligne,
la bille sera soumise à de violentes vibrations et les extrémités
de l'armature seront mises en contact avec les pièces polaires,
qui sont en fer nu et ne sont protégées d'aucune façon.
L'armature dans cette position est très fortement attirée
et s'arrête brusquement sur les pièces polaires. Les timbres
sont réglés de telle sorte que la bille de frappe devra
rebondir d'environ un trente-deuxième de pouce pour les frapper.
L'armature est maintenue contre la pièce polaire tandis que la
bille de frappe est engagée dans la frappe du gong et dans son
retour partiel depuis celui-ci, et si forte est la traction de la pièce
polaire sur l'armature dans cette position que l'influence accélératrice
du gong n'a aucun effet sur l'accélération du taux de
vibration de l'anche.
Circuits .
La figure 184 montre sous une forme simplifiée les circuits d'une
ligne téléphonique à quatre stations.
Fig. 184. Circuits du système
harmonique de Dean
On voit qu'au central il y a quatre touches de sonnerie, adaptées
respectivement pour imprimer sur la ligne des courants de sonnerie de
quatre fréquences différentes. Aux quatre stations de
la ligne, désignées par les lettres A, B, C et D, il y
a quatre cloches harmoniques accordées en conséquence.
A la station A est montré l'appareil de conversation utilisant
le dispositif de pont de Wheatstone. L'appareil de conversation de toutes
les autres stations est exactement le même, mais est omis par
souci de simplicité. Un condensateur est placé en série
avec chacune des cloches afin qu'il n'y ait pas de trajet de courant
continu d'un côté à l'autre de la ligne lorsque
tous les récepteurs sont accrochés aux différentes
stations.
Fig. 185. Circuits du système
harmonique de Kellogg
La figure 185 montre exactement le même agencement, à l'exception
du fait que l'appareil de communication illustré en détail
à la station A est celui de la Kellogg Switchboard and Supply
Company. Sinon, les circuits de la Dean and the Kellogg Company, et
en fait de toutes les autres sociétés fabriquant des systèmes
de sonnerie harmonique, sont les mêmes.
Avantages .
Un des grands avantages du système de ligne partagée harmonique
est la simplicité de l'appareillage au poste de l'abonné.
La sonnerie harmonique est à peine plus complexe que la sonnerie
polarisée ordinaire, et la seule différence entre le téléphone
à sonnerie harmonique et le téléphone ordinaire
réside dans la sonnerie elle-même. L'absence de relais
et d'autres mécanismes ainsi que l'absence de nécessité
de connexions à la terre au niveau du téléphone
sont autant d'arguments en faveur du système harmonique.
Limitations .
Comme nous l'avons déjà dit, les systèmes harmoniques
des différentes compagnies, à une exception près,
sont limités à quatre fréquences. L'exception est
le cas de la North Electric Company, qui emploie parfois quatre et parfois
cinq fréquences et a ainsi le choix entre cinq stations. Dans
le système à quatre parties du Nord, les fréquences,
contrairement à celles des systèmes Dean et Kellogg, où
les fréquences les plus élevées sont des multiples
des fréquences les plus basses, sont disposées de manière
à être proportionnelles aux nombres entiers 5, 7, 9 et
11, qui, bien entendu, n'ont pas de dénominateur commun. Les
fréquences ainsi employées dans le système du Nord
sont, en cycles par seconde, 30,3, 42,4, 54,5 et 66,7. Dans le système
à cinq parties, la fréquence de 16,7 est ajoutée
arbitrairement.
Bien que tous les systèmes harmoniques commerciaux
sur le marché soient limités à quatre ou cinq fréquences,
il n'en résulte pas qu'un nombre supérieur à quatre
ou cinq stations ne puisse pas être appelé de manière
sélective. Il est possible de placer le double de ce nombre sur
une ligne partagée et d'actionner de manière sélective,
si le premier ensemble de quatre ou cinq est ponté sur la ligne
et le second ensemble de quatre ou cinq est connecté entre une
branche de la ligne et la terre. Le premier ensemble de ces derniers
est appelé de manière sélective, comme cela a déjà
été décrit, en envoyant les courants de sonnerie
sur le circuit métallique, tandis que le second ensemble peut
également être appelé de manière sélective
en envoyant les courants de sonnerie sur une branche de la ligne avec
un retour à la terre. Cette méthode est fréquemment
utilisée avec succès sur les lignes rurales, où
l'on souhaite placer un nombre supérieur à quatre ou cinq
d'appareils sur une ligne.
sommaire
Méthode pas à pas. (step by step)
Un très grand nombre de systèmes pas à pas ont
été proposés et mis en pratique, mais ils n'ont
pas encore rencontré un grand succès dans le domaine de
la téléphonie commerciale et sont loin d'être aussi
couramment utilisés que les systèmes de polarité
et d'harmoniques.
Principes . On peut se faire une idée
des caractéristiques générales des systèmes
pas à pas en concevant à chaque station de la ligne une
roue à rochet munie d'un cliquet adapté pour l'entraîner
pas à pas, ce cliquet étant associé à l'armature
d'un électroaimant qui reçoit les impulsions de courant
du circuit de ligne. Il y a donc un de ces aimants d'entraînement
à chaque station, chacun relié en pont à travers
la ligne de sorte que lorsqu'une seule impulsion de courant est envoyée
depuis le central, toutes les roues à rochet se déplacent
d'un pas. Une autre impulsion déplace toutes les roues à
rochet d'un autre pas, et ainsi de suite pendant tout le nombre d'impulsions
souhaité. Les roues à rochet sont donc toutes entraînées
à l'unisson.
Imaginons encore que toutes ces roues à rochet
soient pourvues d'une encoche, d'un trou ou d'une saillie, identiques
à tous égards à toutes les stations, sauf dans
la position que cette encoche, ce trou ou cette saillie occupe sur la
roue. Ce qu'il faut bien comprendre dans cette partie de la conception,
c'est que toutes ces encoches, ces trous ou ces saillies sont identiques
sur toutes les roues, mais qu'elles occupent une position différente
sur la roue pour chacune des stations.
Considérez en outre que le circuit de sonnerie de chacune des
stations est normalement ouvert, mais que dans chaque cas, il est adapté
pour être fermé lorsque l'encoche, le trou ou la saillie
est amené à un certain point par la révolution
de la roue.
Imaginons en outre que cette encoche, ce trou ou cette saillie distinctive
est disposée sur la roue de la première station de manière
à fermer le circuit de sonnerie lorsqu'une impulsion a été
envoyée, que celle de la seconde station fermera le circuit de
sonnerie après l'envoi de la seconde impulsion, et ainsi de suite
pour l'ensemble des stations.
Il apparaîtra donc que les circuits de sonnerie des différentes
stations se fermeront les uns après les autres lorsque les roues
tourneront à l'unisson. Pour appeler une station donnée,
il suffit donc de faire tourner toutes les roues à l'unisson,
en envoyant les impulsions pas à pas appropriées jusqu'à
ce qu'elles occupent toutes une position telle que celle de la station
souhaitée se trouve dans une position telle qu'elle ferme le
circuit de sonnerie de cette station.
Puisque toutes les encoches, tous les trous ou toutes les saillies sont
disposés de manière à fermer les circuits de sonnerie
de leurs stations respectives à des moments différents,
il s'ensuit que lorsque le circuit de sonnerie de la station souhaitée
est fermé, ceux de toutes les autres stations seront ouverts.
Si donc, après avoir envoyé le nombre approprié
d'impulsions de pas à pas à la ligne pour fermer le circuit
de sonnerie de la station désirée, un courant de sonnerie
est appliqué à la ligne, il est évident que la
sonnerie de cette station sonnera à l'exclusion de toutes les
autres. Il est bien sûr nécessaire de prendre des dispositions
pour que les aimants qui fournissent l'énergie pour faire sonner
les roues ne soient pas excités par le courant de sonnerie. Cela
se fait de plusieurs manières, la plus courante étant
de polariser ou de polariser les aimants de pas à pas dans une
direction et de polariser les sonneries des différentes stations
dans des directions opposées, de sorte que le courant de sonnerie
n'affecte pas l'aimant de pas à pas et que le courant de sonnerie
n'affecte pas les aimants de sonnerie.
Une fois la conversation terminée, la ligne peut
être ramenée à sa position normale de plusieurs
manières.
On utilise généralement des aimants de déclenchement
pour actionner le dispositif de déclenchement à chaque
station. Ceux-ci, lorsqu'ils sont excités, retirent les cliquets
de maintien des cliquets et leur permettent de revenir à leur
position normale. Parfois, ces aimants de déclenchement sont
actionnés par une longue impulsion de courant, étant trop
lents dans leur action pour répondre aux impulsions rapides ;
parfois, les aimants de déclenchement sont mis à la terre
à partir d'une branche de la ligne, afin de ne pas être
affectés par les courants de pas ou de sonnerie envoyés
sur le circuit métallique ; et parfois d'autres expédients
sont utilisés pour obtenir la libération des cliquets
au moment opportun, une grande quantité d'ingéniosité
ayant été dépensée à cette fin.
Comme pratiquement tous les systèmes de lignes
partagées étape par étape utilisés dans
le commerce ont également certaines autres caractéristiques
destinées à assurer la confidentialité des conversations
aux utilisateurs et, par conséquent, relèvent de la rubrique
générale des systèmes de lignes partagées
de verrouillage, la discussion d'exemples commerciaux de ces systèmes
sera laissée pour le prochain chapitre, qui est consacré
à ces systèmes de verrouillage.
sommaire
Méthode de la ligne brisée.
Le système de la ligne brisée, comme le système
pas à pas, est également essentiellement un système
de verrouillage et pour cette raison, seules ses caractéristiques
générales, par lesquelles la sonnerie sélective
est réalisée, seront traitées ici.
Principes . Dans ce système, il
n'y a pas de sonneries accordées, pas de sonneries polarisées
positivement et négativement reliées à la terre
de chaque côté de la ligne, et pas de dispositifs pas à
pas au sens ordinaire du terme, par lesquels la signalisation sélective
est habituellement réalisée sur les lignes partagées.
Au lieu de cela, chaque appareil sur la ligne est exclusivement mis
en relation opérationnelle avec la ligne, puis retiré
de cette relation opérationnelle jusqu'à ce que l'abonné
souhaité soit connecté, moment auquel tous les autres
appareils sont verrouillés et la ligne n'est pas encombrée
par des circuits en pont sur l'un des appareils qui ne sont pas engagés
dans la conversation. De plus, lors de la sélection d'un abonné
ou de la sonnerie de sa sonnerie, il n'y a pas de répartition
du courant entre les aimants des différentes stations comme dans
la pratique ordinaire, mais le courant de fonctionnement va directement
à la station souhaitée et à cette station seule
où toute sa puissance est disponible pour effectuer son travail
approprié.
Pour rendre le système plus clair, il convient
de préciser dès le départ qu'un côté
de la ligne métallique continue comme dans la pratique ordinaire,
traversant toutes les stations comme un conducteur continu. L'autre
côté de la ligne, cependant, est divisé en sections,
sa continuité étant interrompue à chacune des stations
de l'abonné.
Fig. 186. Principe du système
de lignes brisées
La figure 186 a pour but de montrer de la manière la plus simple
possible comment le circuit de la ligne peut être prolongé
d'une station à l'autre de telle manière que seule la
sonnerie d'une station soit en circuit à la fois. Les deux côtés
de la ligne sont représentés sur cette figure, et on voit
que la branche L s'étend du central téléphonique
de gauche jusqu'à la dernière station de droite sans interruption.
La branche R , en revanche, s'étend jusqu'à la première
station, où elle est coupée de l'extension R x par les
contacts ouverts d'un interrupteur. Pour des raisons de simplicité,
cet interrupteur est représenté comme un interrupteur
manuel ordinaire, mais en fait, il fait partie d'un relais dont la bobine
de fonctionnement est représentée en 6 , juste au-dessus,
en série avec la sonnerie.
De toute évidence, si un courant de sonnerie
approprié est envoyé sur le circuit métallique
à partir du central téléphonique, seule la sonnerie
de la station A fonctionnera, puisque les sonneries des autres stations
ne sont pas dans le circuit. Si, par quelque moyen que ce soit, le levier
de commutation 2 de la station A était déplacé
hors de l'engagement avec le contact 1 et en engagement avec le contact
3 , il est évident que la sonnerie de la station A ne serait
plus dans le circuit, mais la branche R de la ligne serait prolongée
jusqu'à l'extension R x et la sonnerie de la station B serait
dans le circuit. Tout courant alors envoyé sur le circuit de
la ligne à partir du central téléphonique ferait
sonner la sonnerie de cette station.
Fig. 187. Principe du système
de lignes brisées.
Sur la figure 187, les commutateurs des stations A et B ont été
ainsi actionnés, et la station C est ainsi mise en circuit. L'inspection
de cette figure montre que les sonneries des stations A, B et D sont
toutes hors circuit, et que, par conséquent, aucun courant provenant
du central téléphonique ne peut les affecter. Ce système
général de sélection est nouveau dans le domaine,
et pour certaines classes de travaux, il est sans aucun doute prometteur.
sommaire
III - SYSTÈMES DE VERROUILLAGE DE LIGNES PARTAGÉES
Le problème des lignes partagées dans
les zones rurales est quelque peu différent de celui des zones
urbaines.
Dans ces derniers cas, en raison du regroupement plus serré des
abonnés, il n'est généralement pas considéré
comme souhaitable, même du point de vue économique, de
placer plus de quatre abonnés sur une seule ligne. Pour une telle
ligne, la sonnerie sélective est simple, tant du point de vue
de l'appareil que du fonctionnement ; de plus, en raison du petit nombre
de postes sur une ligne et du faible volume de trafic en provenance
et à destination des abonnés qui utilisent habituellement
le service de lignes partagées, les interférences entre
les abonnés sur la même ligne ne constituent pas un problème
très grave.
Pour les districts ruraux, en particulier ceux qui sont
tributaires de petites villes, ces conditions n'existent pas. En raison
de l'éloignement des stations les unes des autres, il n'est pas
possible, du point de vue du coût de la ligne, de limiter le nombre
de stations à quatre. On utilise un nombre beaucoup plus grand
de stations et la confusion qui en résulte est pénible
non seulement pour les abonnés eux-mêmes mais aussi pour
la direction de la compagnie. Il existe donc un besoin de système
de lignes partagées qui offrira à l'utilisateur limité
des districts ruraux un service au moins proche de celui qu'il obtiendrait
s'il était desservi par une ligne individuelle.
L'investissement principal nécessaire pour fournir
des installations de service téléphonique est celui requis
pour produire la ligne téléphonique.
Dans de nombreux cas, le coût des instruments et des appareils
est faible par rapport au coût de la ligne. De loin, la plupart
des abonnés des zones rurales sont ceux qui utilisent leurs appareils
un nombre relativement faible de fois par jour, et entretenir une ligne
téléphonique coûteuse pour l'usage exclusif d'un
seul abonné qui ne l'utilisera que quelques minutes par jour
est à première vue un gaspillage économique. Par
conséquent, là où le service de ligne individuelle
est pratiqué exclusivement il y a deux choses qui doivent se
produire : soit l'abonné moyen paie son service plus cher qu'il
ne devrait, soit l'opérateur vend le service moins cher qu'il
ne coûte, ou au mieux avec un bénéfice insuffisant.
Ces deux situations sont contre nature et ne peuvent pas être
permanentes.
La méthode de fourniture de services par lignes
partagées, par laquelle une seule ligne est destinée à
desservir un certain nombre d'abonnés, offre une solution à
cette difficulté, mais la ligne partagée ordinaire non
sélective ou même sélective présente de nombreuses
caractéristiques indésirables si l'on tente d'y placer
un nombre aussi élevé de postes que celui qui est considéré
comme économiquement nécessaire dans le travail rural.
Ces caractéristiques indésirables sont préjudiciables
à la fois à l'utilisateur du téléphone et
à l'exploitant.
De nombreuses tentatives ont été faites pour remédier
aux inconvénients de la ligne partagée dans les communautés
peu peuplées, en produisant ce que l'on appelle communément
des systèmes de verrouillage.
Ces systèmes, comme leur nom l'indique, utilisent une disposition
des pièces telle que lorsque la ligne est utilisée par
deux parties quelconques, toutes les autres parties sont exclues du
circuit et ne peuvent y accéder tant que les parties qui l'utilisent
n'ont pas terminé. Des systèmes les uns après les
autres pour atteindre cet objectif ont été annoncés,
mais pour la plupart, ils impliquaient un tel degré de complexité
et introduisaient tellement de caractéristiques indésirables
qu'ils affectaient sérieusement le bon fonctionnement du système
et la fiabilité du service.
Nous pensons cependant, malgré de nombreux échecs,
que la ligne partagée à signalisation sélective
avec verrouillage présente un réel champ d'application
et que les sociétés d'exploitation ainsi que les fabricants
commencent à en apprécier la nécessité,
et que, par conséquent, le soulagement de l'abonné rural
du service presque intolérable qu'il a souvent dû supporter
est à portée de main. Nous allons donc décrire
en détail quelques-uns des systèmes de lignes partagées
avec verrouillage les plus prometteurs actuellement proposés
au public.
Le Système Poole.
Le système Poole est un système de verrouillage pur et
simple, ses dispositifs étant de la nature d'un dispositif de
verrouillage pour lignes de signalisation sélective, soit de
type polarité, soit de type harmonique, dans lequel la transmission
par batterie commune est utilisée. Il sera décrit ici
comme étant utilisé en relation avec un système
de sonnerie harmonique ordinaire.
Fig. 188. Système
de verrouillage Poole
La figure 188 montre une ligne partagée à
quatre postes équipée de dispositifs de verrouillage Poole,
en supposant que les sonneries de chaque poste sont harmoniques et que
les touches du central téléphonique sont des touches ordinaires
adaptées pour imprimer la fréquence appropriée
sur la ligne pour faire sonner l'un des postes. En plus de l'appareil
de conversation et de sonnerie ordinaire de chaque poste d'abonné,
il y a un relais de forme spéciale ainsi qu'une touche à
bouton-poussoir.
Chacun des relais possède deux enroulements, l'un à haute
résistance et l'autre à faible résistance. En se
rappelant que le système auquel ce dispositif est appliqué
est toujours un système à batterie commune et que, par
conséquent, l'état normal de la ligne sera celui dans
lequel il y aura une différence de potentiel entre les deux branches,
il sera évident que chaque fois qu'un abonné d'une ligne
non utilisée décrochera son récepteur, un circuit
sera établi à partir du contact supérieur du crochet
à travers le levier du crochet jusqu'à l'enroulement à
haute résistance 1 du relais et de là jusqu'à l'autre
côté de la ligne par l'intermédiaire du fil 6. Il
en résultera un courant passant à travers l'enroulement
à haute résistance du relais et le relais tirera son armature
vers le haut. Dès qu'il le fera, il établira deux autres
circuits par la fermeture de l'armature du relais contre les contacts
4 et 5 .
La fermeture du contact 4 établit un circuit depuis le côté
supérieur de la ligne à travers le contact supérieur
du crochet de commutation, de là à travers les contacts
du bouton-poussoir 3 , de là à travers l'enroulement à
faible résistance 2 du relais jusqu'à la borne 4 , de
là à travers l'armature du relais et l'émetteur
jusqu'au côté inférieur de la ligne. Ce chemin à
faible résistance à travers la ligne sert à maintenir
l'armature du relais attirée et également à fournir
du courant à l'émetteur pour la conversation. L'établissement
de ce chemin à faible résistance à travers la ligne
a cependant une autre fonction importante : elle court-circuite pratiquement
la ligne par rapport à tous les enroulements du relais à
haute résistance, et empêche ainsi tout autre enroulement
du relais à haute résistance de recevoir suffisamment
de courant pour les actionner, si l'abonné d'une autre station
décroche son récepteur pour essayer d'écouter ou
de faire un appel pendant que la ligne est utilisée. Comme un
abonné ne peut établir les conditions appropriées
pour parler et écouter que par l'attraction de cette armature
de relais à sa station, il est évident qu'à moins
qu'il ne puisse provoquer la remontée de son armature de relais,
il ne peut pas se mettre en communication avec la ligne.
La deuxième chose qui est accomplie par la remontée
de l'armature du relais est la fermeture des contacts 5 , ce qui ferme
le circuit de conversation à travers le condensateur et le récepteur
à travers la ligne d'une manière évidente. Le résultat
de cette disposition est que c'est le premier abonné qui décroche
son récepteur qui est en mesure d'établir avec succès
une connexion avec la ligne, tous les efforts ultérieurs des
autres abonnés échouant à cause du fait que la
ligne est court-circuitée par le chemin à travers l'enroulement
à faible résistance et l'émetteur de la station
qui est déjà connectée à la ligne.
Une petite cible est déplacée par l'action du relais,
de sorte qu'une indication visuelle est donnée à l'abonné
qui effectue un appel pour lui montrer s'il a réussi ou non à
obtenir l'utilisation de la ligne. Si le relais fonctionne et qu'il
obtient le contrôle de la ligne, la cible indique le fait par
son mouvement, tandis que si quelqu'un d'autre utilise la ligne et que
le relais ne fonctionne pas, la cible, par son immobilité, indique
ce fait.
Lorsqu'un correspondant désire converser avec un autre sur la
même ligne, il appuie sur le bouton 3 de son poste jusqu'à
ce que le correspondant appelé ait été sonné
et ait répondu. Cela maintient le circuit de son enroulement
à faible résistance ouvert et empêche ainsi le verrouillage
de devenir effectif jusqu'à ce que le correspondant appelé
soit connecté à la ligne. L'armature du relais du correspondant
appelant ne retombe pas avec l'établissement du trajet à
faible résistance au poste appelé, car, bien que shuntée,
elle reçoit toujours suffisamment de courant pour maintenir son
armature dans sa position attirée. Une fois que le correspondant
appelé a répondu, le bouton du poste appelant est relâché
et les deux bobines de maintien à faible résistance agissent
en multiple.
Aucune bobine d'induction n'est utilisée dans ce système
et l'impédance de la bobine de maintien est telle que les courants
vocaux entrants circulent à travers le condensateur et le récepteur,
qui, en se référant à la figure, sont en dérivation
avec la bobine de maintien. La bobine de maintien est en série
avec l'émetteur local, créant ainsi un circuit similaire
à celui du circuit de conversation à pile commune Kellogg
déjà décrit.
Un défaut possible dans l'utilisation de ce système
est celui qui est commun à un grand nombre d'autres systèmes
de verrouillage, dépendant pour leur fonctionnement du même
plan d'action général. Cela apparaît lorsque les
instruments sont utilisés sur une ligne relativement longue.
Étant donné que le verrouillage de tous les instruments
qui ne sont pas utilisés par celui qui est utilisé dépend
du shunt à faible résistance placé en travers de
la ligne par l'instrument qui est utilisé, il est évident
que, dans le cas d'une ligne longue, la résistance du fil de
ligne entrera en jeu de telle manière qu'elle tendra à
annihiler la fonction de verrouillage dans certains cas. Ainsi, lorsque
le premier instrument à utiliser la ligne se trouve à
l'extrémité éloignée de la ligne, l'effet
de shunt que cet instrument peut exercer par rapport à un autre
instrument proche du central est dû à la résistance
de la ligne plus la résistance de la bobine de maintien de l'instrument
d'extrémité. La résistance du fil de ligne peut
être suffisamment élevée pour permettre à
un courant suffisant de circuler à travers la bobine à
haute résistance de la station la plus proche pour permettre
son fonctionnement, même si l'instrument le plus éloigné
est déjà utilisé.
Passons maintenant à l'examen des systèmes
de verrouillage à signalisation sélective complets, dans
lesquels la sélection de la partie et le verrouillage des autres
sont tous deux des caractéristiques inhérentes, et nous
allons examiner un seul exemple de systèmes de verrouillage sélectif
étape par étape et de systèmes de verrouillage
à ligne brisée.
Brevet US810345,
PATENTE JAN, 16, 1906... A, F. POULE @ L P, B. HALL. TELEPHONE PARTY
LINE SYSTEM.
Système pas à pas.
Le système dit KB, fabriqué par la Dayton Telephone
Lock-out Manufacturing Company de Dayton, Ohio, fonctionne selon le
principe pas à pas. La caractéristique essentielle de
l'équipement téléphonique de l'abonné dans
ce système est le mécanisme d'actionnement pas à
pas qui remplit également les fonctions d'un relais. Ce dispositif
se compose d'un électroaimant à deux noyaux, avec un aimant
polarisant permanent entre eux, la disposition à cet égard
étant la même que dans une sonnette polarisée ordinaire.
L'armature de cet aimant fonctionne avec un culbuteur qui, en plus de
faire tourner le segment sélecteur, ferme également, dans
certaines conditions, le circuit de sonnerie et le circuit de conversation,
comme cela sera décrit.
Fig. 189.
Système de verrouillage KB
En se référant d'abord à la figure
189, qui montre sous une forme simplifiée une ligne de verrouillage
KB à quatre stations, l'électroaimant est représenté
en 1 et le culbuteur en 2. Le rochet 3 dans ce cas n'est pas une roue
complète mais plutôt un segment de celle-ci, et il est
pourvu d'une série d'encoches de différentes profondeurs.
Il est évident que la profondeur des encoches déterminera
le degré de mouvement que l'extrémité supérieure
du culbuteur peut avoir vers la gauche, ceci dépendant de la
mesure dans laquelle le cliquet 6 est autorisé à entrer
dans le segment. La première encoche ou encoche normale, c'est-à-dire
l'encoche supérieure, est toujours d'une profondeur telle qu'elle
permettra au levier du culbuteur 2 d'engager le levier de contact 4
, mais ne permettra pas au culbuteur de basculer suffisamment loin vers
la gauche pour amener ce contact à engager le contact de sonnerie
5. Comme on le montrera plus loin, la condition pour que le circuit
de conversation soit fermé est que le culbuteur 2 repose contre
le contact 4 ; et nous voyons de là que l'encoche normale de
chacun des segments 3 est d'une profondeur telle qu'elle permet de fermer
le circuit de conversation de chaque station. L'encoche suivante, c'est-à-dire
la seconde de chaque disque, est toujours peu profonde, comme le sont
toutes les autres sauf une. Une encoche profonde est placée sur
chaque disque n'importe où, du troisième au dernier sur
le segment. Cette encoche profonde est appelée encoche sélective
, et c'est celle qui permet d'établir un contact avec le circuit
de sonnerie de cette station lorsque le cliquet 6 tombe dedans. La position
de cette encoche diffère sur tous les segments d'une ligne, et
donc évidemment, le circuit de sonnerie de n'importe quelle station
peut être fermé à l'exclusion de toutes les autres
en déplaçant toutes les encoches des segments à
l'unisson jusqu'à ce que l'encoche profonde du segment de la
station désirée se trouve en face du cliquet 6 , ce qui
permettra au culbuteur 2 de basculer assez loin vers la gauche pour
fermer non seulement le circuit entre 2 et 4 , mais aussi entre 2 ,
4 et 5. Dans cette position, les circuits de conversation et de sonnerie
sont tous deux fermés.
La position de l'encoche la plus profonde, c'est-à-dire l'encoche
sélective, sur la circonférence du segment à n'importe
quelle station dépend du numéro de cette station ; ainsi,
le segment de la station 4 aura une encoche profonde à la sixième
position ; le segment de la station 9 aura une encoche profonde à
la onzième position ; le segment de n'importe quelle station
aura une encoche profonde à la position correspondant au numéro
de cette station plus deux.
Il ressort donc de ce qui précède que
la première encoche, ou encoche normale, de chaque segment est
d'une profondeur telle qu'elle permet au cliquet mobile 6 de tomber
dans le segment à une profondeur telle que le culbuteur 2 ne
ferme que le circuit de conversation. Toutes les autres encoches, sauf
une, sont relativement peu profondes et, si elles permettent au cliquet
mobile 6 de déplacer le segment 3 sous l'influence du culbuteur
2 , elles ne permettent pas au culbuteur 2 de se déplacer vers
la gauche suffisamment pour fermer même le circuit de conversation.
L'exception est l'encoche profonde, ou encoche sélective, qui
est d'une profondeur telle qu'elle permet au cliquet 6 de tomber suffisamment
dans le segment pour permettre au culbuteur 2 de fermer à la
fois les circuits de conversation et de sonnerie. Outre le cliquet mobile
6, il existe un cliquet de détente 7. Celui-ci maintient toujours
le segment 3 dans la position dans laquelle il a été déplacé
en dernier par le cliquet mobile 6 .
L'aimant d'actionnement 1 , comme indiqué, est
polarisé et lorsqu'il est excité par des courants dans
une direction, le culbuteur déplace le cliquet 6 de manière
à faire avancer le segment d'un cran. Lorsque ce relais est excité
par un courant dans la direction opposée, le fonctionnement est
tel que le cliquet mobile 6 et le cliquet de détente 7 sont tous
deux éloignés du segment, permettant ainsi au segment
de revenir à sa position normale par gravité. Ceci est
accompli par le mécanisme suivant : une butée d'armature
pivote sur la face du culbuteur de manière à osciller
dans un plan parallèle aux faces polaires du relais, et est adaptée,
lorsque le relais est actionné par des impulsions sélectives
d'une polarité, pour être tirée vers l'une des faces
polaires où elle agit, par impact avec une plaque fixée
à la face polaire. Le relais est un dispositif de limitation
du mouvement du culbuteur lorsque le culbuteur est actionné par
l'aimant. Cependant, lorsque le relais est alimenté par un courant
dans la direction opposée, comme lors d'une impulsion de déclenchement,
la butée d'armature bascule sur son pivot vers la face polaire
opposée, position dans laquelle la patte située à
l'extrémité de la butée d'armature s'aligne avec
un trou dans la plaque du relais, permettant ainsi le mouvement complet
du culbuteur lorsqu'il est attiré par l'aimant. Ce mouvement
du culbuteur retire le cliquet de détente de l'engagement avec
le segment ainsi que le cliquet mobile, et permet ainsi au segment de
revenir à sa position normale. Comme on le voit sur la figure
189, chacun des aimants de relais 1 est relié en permanence par
pont entre les deux branches de la ligne.
Chaque poste est pourvu d'un bouton-poussoir, non représenté,
au moyen duquel l'abonné qui fait un appel peut empêcher
que le levier à bascule de son appareil ne soit actionné
pendant que des impulsions sélectives sont envoyées sur
la ligne. Le but est de permettre à un correspondant d'effectuer
un appel pour un autre sur la même ligne, en appuyant sur son
bouton-poussoir pendant que l'opératrice sélectionne et
appelle le correspondant appelé. Le segment de son propre poste
reste donc dans sa position normale, position dans laquelle, comme nous
l'avons déjà vu, son circuit de conversation est fermé
; tous les autres segments sont cependant intensifiés jusqu'à
ce que les circuits de sonnerie et de conversation du poste souhaité
soient dans la bonne position, moment auquel le courant de sonnerie
est envoyé sur la ligne. Les segments de la figure 189, à
l'exception de la station C, sont représentés comme ayant
été élevés jusqu'à la sixième
position, qui correspond à la position de sonnerie de la quatrième
station, ou station D. La condition représentée sur cette
figure correspond à celle dans laquelle l'abonné de la
station C a lancé l'appel et appuyé sur son bouton, conservant
ainsi son propre segment dans sa position normale de sorte que les circuits
de conversation seraient établis avec la station D.
Lorsque la ligne est en position normale, tout abonné
peut appeler le central à l'aide de son générateur
magnéto, non représenté sur la figure 189, qui
actionnera la dérivation au central, mais ne fera fonctionner
aucune des sonneries des abonnés, car tous les circuits de sonnerie
sont normalement ouverts. Lorsqu'un abonné désire se connecter
à une autre ligne, l'opérateur envoie une impulsion sur
la ligne qui se met en marche et bloque tous les appareils sauf celui
de l'abonné appelant.
Fig. 190
Fig. 191
Station
de verrouillage KB
Les figures 190 montrent un téléphone de verrouillage
KB complet. C'est le type d'appareil qui est généralement
fourni lors de la commande d'un nouvel équipement. Si, toutefois,
on souhaite utiliser le système KB en liaison avec des téléphones
de type pontage ordinaire qui sont déjà en service, le
mécanisme de verrouillage et de sélection, qui est représenté
sur la face intérieure supérieure de la porte de la figure
190, est fourni séparément dans un boîtier qui peut
être monté à proximité du téléphone
ordinaire et relié à celui-ci par des fils appropriés,
comme le montre la figure 191. On voit que cet appareil utilise une
batterie locale pour parler et également un générateur
magnéto pour appeler le central.
L'équipement du central téléphonique se compose
d'un cadran relié à une roue à impulsions, ainsi
que de touches appropriées permettant de manipuler les différents
circuits. Ce cadran et son mécanisme associé peuvent être
montés dans l'armoire du tableau de distribution ordinaire, ou
bien ils peuvent être fournis dans un boîtier séparé
et montés à côté de l'armoire dans l'une
des positions indiquées en 1 ou 2 de la figure 192.
Afin d'envoyer le nombre approprié d'impulsions
à la ligne pour appeler un correspondant donné, l'opératrice
place son doigt dans le trou du cadran qui porte le numéro correspondant
au poste désiré et fait tourner le cadran jusqu'à
ce que le doigt soit amené en engagement avec la butée
fixe représentée au bas du cadran sur la Fig. 192.
Fig. 192. Appareil
d'appel Système KB
Le cadran est alors autorisé à revenir par l'action d'un
ressort à sa position normale, et ce faisant, il actionne un
interrupteur à l'intérieur du boîtier pour établir
et interrompre le circuit de la batterie le nombre approprié
de fois.
Fonctionnement.
Une description complète du fonctionnement peut maintenant être
obtenue en relation avec la figure 193, qui est semblable à la
figure 189, mais contient les détails de l'arrangement d'appel
au central ainsi que des circuits de conversation aux différents
postes d'abonnés.
Fig. 193.
Circuit KB System
En se référant à l'appareil du central téléphonique,
on voit la touche de sonnerie habituelle, dont les contacts intérieurs
conduisent à la touche d'écoute et au poste téléphonique
de l'opératrice comme dans la pratique ordinaire du standard
téléphonique. Entre le contact extérieur de cette
touche de sonnerie et le générateur de sonnerie sont interposées
une paire de ressorts de contact 8-8 et une autre paire 9-9 . Les ressorts
de contact 8 sont adaptés pour être déplacés
en avant et en arrière par la roue d'impulsion qui est directement
commandée par le cadran sous la manipulation de l'opératrice.
Lorsque ces ressorts 8 sont dans leur position normale, le circuit de
sonnerie est poursuivi par les ressorts de la touche de déclenchement
9 jusqu'au générateur de sonnerie. Ces ressorts 8 occupent
leur position normale uniquement lorsque le cadran est dans sa position
normale, ceci étant dû à l'encoche 10 dans la roue
de contact. A tout autre moment, c'est-à-dire lorsque la roue
d'impulsion est sortie de sa position normale, les ressorts 8-8 sont
soit enfoncés de manière à engager les contacts
inférieurs de la batterie, soit maintenus dans une position intermédiaire
de manière à n'engager ni les contacts de la batterie
ni les contacts du générateur.
Lorsqu'on désire appeler un poste donné, l'opératrice
tire le numéro de l'abonné sur le cadran et maintient
la touche de sonnerie fermée, ce qui permet au cadran de revenir
à la normale. Cela permet de connecter la batterie d'impulsions
à la ligne de l'abonné autant de fois qu'il est nécessaire
pour déplacer les secteurs de l'abonné dans la position
appropriée, et dans une direction telle que cela provoque le
mouvement pas à pas des différents relais. Lorsque la
roue d'impulsions revient à sa position normale, les ressorts
8 qui lui sont associés engagent à nouveau leurs contacts
supérieurs, grâce à l'encoche 10. L'impulsion est
transmise à la roue à impulsions, ce qui établit
la connexion entre le générateur de sonnerie et la ligne
de l'abonné, la touche de sonnerie étant toujours maintenue
fermée. Le fait de tirer sur le cadran de l'émetteur et
de maintenir la touche de sonnerie fermée, non seulement envoie
donc les impulsions de pas à la ligne, mais les suit également
du courant de sonnerie. L'envoi de cinq impulsions à la ligne
déplace tous les secteurs vers le sixième cran, ce qui
correspond à la position nécessaire pour rendre opérationnelle
la quatrième station. Une telle condition est illustrée
sur la figure 193, en supposant que l'abonné de la station C
a lancé l'appel et a appuyé sur son propre bouton de manière
à empêcher que son secteur ne soit déplacé
hors de sa position normale. En conséquence, le circuit de conversation
de la station C reste fermé, et les circuits de conversation
et de sonnerie de la station D, la station appelée, sont fermés,
tandis que les circuits de conversation et de sonnerie de toutes les
autres stations restent ouverts. La station D peut donc être appelée
et communiquer avec la station C, tandis que toutes les autres stations
de la ligne sont bloquées, du fait que leurs circuits de conversation
et de sonnerie sont laissés ouverts .
Lorsque la conversation est terminée, l'opératrice
est avertie par le signal de fin de conversation habituel, et elle appuie
alors sur le bouton de déclenchement, ce qui amène les
ressorts 9 hors de contact avec le contact du générateur
mais en contact avec le contact de la batterie de telle sorte qu'un
courant de batterie est envoyé sur la ligne dans la direction
inverse de celui envoyé par la roue d'impulsion. Cela envoie
du courant à travers tous les relais dans une direction telle
qu'il retire à la fois les cliquets mobiles et de maintien des
segments et permet ainsi à tous les segments de revenir à
leur position normale. Bien entendu, pour établir ainsi le courant
de déclenchement, il est nécessaire que l'opératrice
appuie sur la touche de sonnerie ainsi que sur la touche de déclenchement.
Un condensateur d'un demi-microfarad est placé dans le circuit
du récepteur de chaque poste afin que la ligne ne soit pas encombrée
si un abonné oubliait par inadvertance de décrocher son
récepteur. Cela permet le passage des courants vocaux, mais pas
des courants continus utilisés pour actionner les relais ou les
relâcher.
Le circuit de la figure 193 est quelque peu simplifié par rapport
à celui de la pratique réelle, et il faut se rappeler
que le commutateur à crochet, qui n'est pas représenté
sur cette figure, contrôle de manière habituelle la continuité
des circuits récepteur et émetteur ainsi que des circuits
générateurs, le générateur étant
relié à la ligne comme dans un téléphone
ordinaire.
Système de lignes brisées.
La méthode de la ligne brisée pour réaliser une
signalisation sélective et un verrouillage sur les lignes téléphoniques
partagées est due à Homer Roberts et à ses associés.
Pour comprendre exactement comment les principes illustrés dans
les figures 186 et 187 sont mis en oeuvre, il faut comprendre le relais
à enclenchement représenté schématiquement
dans ses deux positions possibles dans la figure 194 et en perspective
dans la figure 195.
Fig. 194
Fig. 195
Relais
de verrouillage Roberts
En se référant à la figure 194, dont la coupe de
gauche montre le relais de ligne dans sa position normale, on voit que
la structure du dispositif ressemble à celle d'un relais de sonnerie
polarisé ordinaire. Sous l'influence du courant dans un sens
traversant la bobine de gauche, l'armature de ce dispositif appuie sur
le plot en caoutchouc dur 4 , et les ressorts 1 , 2 et 3 sont poussés
vers le bas jusqu'à ce que le ressort 2 soit passé sous
le verrou porté par le ressort 5. Lorsque le courant de fonctionnement
à travers la bobine 6 cesse, la pression de l'armature sur le
ressort 1 est relâchée, ce qui permet à ce ressort
de reprendre sa position normale et au ressort 3 de s'engager avec le
ressort 2 . Le ressort 2 ne peut pas monter, car il est maintenu par
le verrou 5 , et la condition représentée sur la coupe
de droite de la figure 194 existe. On voit que le ressort 2 a dans cette
opération rempli exactement la même fonction que le levier
de l'interrupteur, comme décrit en relation avec les figures
186 et 187.
Une analyse de cette action montrera que le contact normal entre les
ressorts 1 et 2 , contact qui commande le circuit à travers la
bobine du relais et la cloche, n'est pas rompu tant que la bobine 6
n'est pas hors tension, ce qui signifie que l'aimant est efficace tant
qu'il n'a pas accompli son travail. Il est donc impossible que ce relais
se coupe lui-même du circuit avant d'avoir provoqué l'
engagement du ressort 2 sous le verrou 5. Si un courant de la bonne
direction était envoyé à travers la bobine 7 du
relais, l'extrémité opposée de l'armature serait
tirée vers le bas et le goujon en caoutchouc dur à l'extrémité
gauche de l'armature s'appuierait contre la partie courbée du
ressort 5 de manière à provoquer le verrouillage de ce
ressort pour libérer le ressort 2 et permettre ainsi au relais
de prendre sa position normale, ou déverrouillée.
Une bonne idée de la construction mécanique de ce relais
peut être obtenue à partir de la figure 195. La fonction
de sélection entière du système Roberts est réalisée
par ce simple appareil à chaque station.
Fig. 196. Circuits simplifiés
du système de Roberts
Le schéma de la figure 196 montre, sous une forme
simplifiée, une ligne à quatre stations, les circuits
étant donnés plus en détail que dans les schémas
du paragraphe précedent.
On remarquera que la sonnerie et la bobine de relais 6 de la première
station sont reliées par un pont entre les deux côtés
de la ligne menant au central téléphonique. De la même
manière, la sonnerie et les aimants du relais sont reliés
par un pont entre les deux branches de la ligne menant à chaque
station suivante, mais ce pont à chacune des stations au-delà
de la station A est inefficace car le prolongement de ligne R x est
ouvert à la station suivante la plus proche du central téléphonique.
Pour faire sonner la station A, il suffit d'envoyer un courant de sonnerie
depuis le central. Ce courant est dirigé de telle manière
qu'il ne provoque pas le fonctionnement du relais, bien qu'il passe
par la bobine 6. Si, au contraire, on désire faire sonner la
station B, une impulsion préliminaire serait envoyée sur
le circuit métallique depuis le central, impulsion qui serait
dirigée de telle manière qu'elle actionne le relais de
la station A, mais pas la sonnerie de cette station. Le fonctionnement
du relais de la station A amène le ressort 2 de ce relais à
engager le ressort 3 , prolongeant ainsi la ligne jusqu'à la
seconde station. Une fois que le ressort 2 de la station A a été
forcé à entrer en contact avec le ressort 3 , il est attrapé
par le verrou du ressort 5 et maintenu mécaniquement. Lorsque
l'impulsion provenant du central cesse, le ressort 1 reprend sa position
normale, rompant ainsi le circuit en pont à travers la sonnerie
de cette station. Il est maintenant évident que l'action de la
bobine 6 de la station A a rendu le relais incapable d'effectuer une
action supplémentaire, et en même temps la ligne a été
prolongée jusqu'à la deuxième station. Une deuxième
impulsion similaire provenant du central téléphonique
amènera le relais de la station B à prolonger la ligne
jusqu'à la station C, et en même temps à couper
le circuit à travers la bobine de fonctionnement et la sonnerie
de la station B. De cette façon, n'importe quelle station peut
être sélectionnée en envoyant le nombre approprié
d'impulsions pour actionner les relais de ligne de toutes les stations
entre la station souhaitée et le bureau central, et après
avoir choisi une station, il suffit d'envoyer un courant de sonnerie,
qui est dans une direction telle qu'il sonne la cloche mais ne fait
pas fonctionner l'aimant du relais à cette station.
Fig. 197. Circuits simplifiés
du système de Roberts
La figure 197 représente une ligne à quatre
postes, telle que celle représentée sur la figure 196,
mais la condition représentée ici est celle qui existe
lorsque deux impulsions préliminaires ont été envoyées
sur la ligne, ce qui a provoqué le fonctionnement des relais
de ligne aux postes A et B. La cloche du poste C est donc la seule susceptible
de recevoir le courant de sonnerie du central.
Comme il n'y a qu'une seule sonnerie et qu'un seul relais en circuit
à un moment donné, il est évident que tout le courant
qui passe sur la ligne ne sert qu'à actionner une seule sonnerie
ou un seul relais. Il n'y a pas de répartition du courant entre
un grand nombre de sonneries comme dans le système de pontage
des dispositifs à fonctionnement pas à pas, méthode
qui réduit parfois tellement le courant efficace pour chaque
sonnerie qu'il est très difficile de la faire réagir.
Toute l'énergie disponible est appliquée directement à
l'appareil au moment où il est actionné. Cela tend à
une plus grande sûreté de fonctionnement, et le réglage
des différents appareils peut être effectué avec
moins de délicatesse que ce qui est nécessaire lorsque
de nombreux appareils, chacun ayant un travail considérable à
effectuer, doivent nécessairement être actionnés
en plusieurs.
La méthode de déverrouillage des relais
a été brièvement évoquée. Après
qu'une connexion a été établie avec une station
de la manière déjà décrite, l'opérateur
peut libérer la ligne lorsqu'il convient de le faire en envoyant
des impulsions de nature à faire fonctionner les relais de ligne
des stations au-delà de celle choisie, ce qui sur l'impulsion
suivante sur le circuit métallique traverse la bobine 8 et provoque
le fonctionnement de ce dispositif de mise à la terre qui, en
se déverrouillant, met à la terre la branche L de la ligne
par l'intermédiaire de la bobine 8. Cette mise à la terre
temporaire en bout de ligne permet d'envoyer un courant de déverrouillage
ou de rétablissement depuis le central sur la branche L , courant
qui traverse toutes les bobines de déverrouillage 7 , représentées
sur les figures 194, 196 et 197 , provoquant ainsi le déverrouillage
simultané de tous les relais de ligne et le rétablissement
de la ligne dans son état normal , comme le montre la figure
196.
Comme on l'a déjà dit, les enroulements 7 des relais de
ligne sont les enroulements de déverrouillage.
Dans les figures 196 et 197, pour des raisons de simplicité,
ces enroulements ne sont pas représentés connectés,
mais en fait chacun d'eux est inclus en série dans la branche
continue L de la ligne. Cela introduirait une caractéristique
hautement critiquable du point de vue de la communication sur la ligne
s'il n'y avait pas les bobines d'équilibrage 7' , chacune enroulée
sur le même noyau que l'enroulement correspondant 7 , et chacune
incluse en série dans la branche R de la ligne, et dans une direction
telle qu'elle est différentielle par rapport à celle-ci
par rapport aux courants passant en série sur les deux branches
de la ligne.
Les enroulements 7 sont les véritables enroulements de déverrouillage,
tandis que les enroulements 7' n'ont d'autre fonction que de neutraliser
les effets inductifs de ces enroulements de déverrouillage nécessairement
placés en série dans le circuit de conversation. Tous
ces enroulements sont de faible résistance ohmique, construction
qui, comme on l'a déjà noté, permet d'obtenir l'effet
désiré sans introduire d'auto-induction dans la ligne,
et sans produire aucun effet appréciable sur la transmission.
L'étude de la figure 198 permettra de comprendre les connexions
de ces enroulements de déverrouillage et d'équilibrage
à chaque station.
Fig. 198. Détails
des connexions du relais de verrouillage
L'exposé de fonctionnement donné jusqu'ici
révèle la méthode générale de construction
de la ligne en sections afin de choisir un abonné et de la diviser
à nouveau en sections lorsque la conversation est terminée.
Il a été dit que la même opération qui sélectionne
l'abonné souhaité sert également à donner
à cet abonné l'utilisation de la ligne et à bloquer
les autres. On comprendra que cela est vrai quand on dit que la sonnerie
est d'une telle construction que lorsqu'elle est actionnée pour
faire sonner l'abonné souhaité, elle fonctionne également
pour déverrouiller un ensemble de ressorts similaires à
ceux représentés sur la figure 194, ce déverrouillage
provoquant la connexion appropriée du circuit de conversation
de l'abonné à travers les branches de la ligne, et fermant
également le circuit local à travers son émetteur.
Le tout premier mouvement de l'armature de la sonnerie effectue cette
opération de déverrouillage après quoi la sonnerie
se comporte exactement comme une sonnerie polarisée ordinaire.
La construction de ce carillon est intéressante
et est représentée dans ses deux positions possibles sur
la figure 199.
Fig. 199. Sonnerie à
dos cassé
Le groupe de ressorts porté sur son châssis est entièrement
indépendant du mouvement de l'armature pendant l'opération
de sonnerie. Cependant, avec des courants inversés, l'armature
est déplacée dans la direction opposée à
celle nécessaire pour faire sonner les cloches, ce qui provoque
le verrouillage des ressorts dans leur position normale. Pour que ce
dispositif puisse fonctionner la double fonction de sonnerie et de relais
est que la tige de la cloche est articulée sur l'armature de
manière à participer aux mouvements de l'armature dans
une seule direction. C'est ce que l'inventeur et les ingénieurs
du système Roberts ont appelé une sonnerie à dos
cassé , un nom qui évoque la relation mobile entre l'armature
et la tige de la cloche. La construction de la sonnerie est de la même
nature que celle de la sonnerie polarisée standard universellement
utilisée, mais une action de charnière entre l'armature
et la tige de la cloche, de nature à faire participer positivement
la cloche aux mouvements de l'armature dans une direction, mais à
rester parfaitement immobile lorsque l'armature se déplace dans
l'autre direction, est prévue.
Fig. 200. Détails
de la connexion de la sonnerie
La figure 200 montre comment cette sonnerie à retour brisé
contrôle les conditions de conversation et de blocage.
Les ressorts de sonnerie sont normalement verrouillés dans toutes
les stations. Dans ces conditions, le récepteur est court-circuité
par l'engagement des ressorts 10 et 11 , le circuit du récepteur
est ouvert entre les ressorts 10 et 12 et le circuit de la batterie
locale est ouvert entre les ressorts 9 et 12. Les abonnés dont
les sonneries sont verrouillées sont donc bloqués de plusieurs
façons.
Lorsque la cloche sonne, le premier coup qu'elle fait déverrouille
les ressorts, qui prennent la position montrée dans la coupe
de droite de la Fig. 199, et ceci, comme on le verra d'après
la Fig. 200, établit les conditions appropriées pour permettre
à l'abonné de transmettre et de recevoir la parole.
L'interrupteur à crochet coupe les circuits de l'émetteur
et du récepteur lorsqu'il est abaissé et lorsqu'il est
relevé, il établit un circuit momentané entre le
sol et le membre L de la ligne, les deux contacts de crochet supérieur
et inférieur engageant simultanément le levier de crochet
pendant la montée du crochet.
Fig. 201. Transmetteur
d'impulsions du central téléphonique
Le mécanisme au bureau central par lequel la
sélection de la figure 201 montre comment la sélection
du poste approprié s'effectue rapidement.
On a déjà dit que la sélection du poste approprié
s'effectue par l'envoi d'un nombre prédéterminé
d'impulsions depuis le central téléphonique, ces impulsions
ne passant que dans un seul sens et sur le circuit métallique.
Une fois le poste approprié atteint, le courant de sonnerie est
envoyé dans le sens inverse.
L'opérateur détermine le nombre d'impulsions
à envoyer en plaçant l'aiguille en face du numéro
du cadran correspondant à la station désirée. La
roue à rochet est déplacée automatiquement par
chaque impulsion de courant provenant d'un changeur de pôles ordinaire
tel que celui utilisé pour sonner les cloches polarisées.
Lorsque le nombre d'impulsions requis a été envoyé,
une saillie, portée par un groupe de ressorts, tombe dans une
encoche du tambour de l'arbre sélecteur, ce qui arrête
instantanément les impulsions de courant de sélection
et lance en même temps le courant de sonnerie qui consiste en
impulsions dans la direction inverse. Ce dispositif fonctionne si rapidement
qu'il suivra facilement les impulsions d'un changeur de pôles
ordinaire, même lorsque celui-ci est réglé à
sa vitesse de vibration maximale.
Fonctionnement. L'espace ne nous permettra
pas de décrire en détail le fonctionnement du système
sélectif du central, mais nous pouvons maintenant résumer
le fonctionnement général du système à l'aide
de la figure 202, qui montre une ligne à quatre stations avec
les circuits de trois d'entre elles quelque peu simplifiés.
Fig. 202. Circuits de la
ligne Roberts
Dans cette figure, la station B et la station D sont représentées
dans leurs positions verrouillées, A et B ayant été
dépassées par la sélection et la sonnerie de la
station C, tandis que la station D est inopérante car elle n'a
pas été atteinte lors de la sélection et la ligne
est toujours interrompue à la station C. La station C est donc
en possession de la ligne.
Lorsque l'abonné de la station C a soulevé
son récepteur pour appeler le central, un contact "éclair"
a été établi lorsque le crochet s'est relevé,
ce qui a momentanément mis à la terre la branche L de
la ligne (voir la figure 200). Ce contact "éclair"
est produit par la disposition du crochet qui assure que le contact
inférieur, en vertu de sa flexibilité, suivra le levier
du crochet jusqu'à ce que le levier du crochet engage le contact
supérieur, après quoi le contact inférieur se rompt.
Il en résulte la connexion momentanée des contacts supérieur
et inférieur du crochet avec le levier, et, par conséquent,
la mise à la terre momentanée de la branche L de la ligne.
Cette branche étant toujours continue, sert, lorsque ce contact
"éclair" est établi, à actionner le signal
de ligne au central.
Cependant, comme tous les interlocuteurs sur la ligne sont normalement
exclus des circuits de communication, il faut prévoir un moyen
permettant à l'opérateur de placer l'interlocuteur en
communication de communication et de laisser tous les autres appareils
sur la ligne dans leur position normalement verrouillée. En fait,
l'opérateur doit pouvoir automatiquement repérer la station
qui a signalé et actionner la sonnerie pour déverrouiller
les ressorts qui contrôlent le circuit de communication de cette
station. En conséquence, l'opérateur envoie des impulsions
sur la ligne, à partir d'une batterie mise à la terre,
qui sont dans le sens de faire fonctionner les relais de ligne et de
poursuivre le circuit de ligne jusqu'à la station qui appelle.
Lorsque, après un nombre suffisant d'impulsions, ce courant atteint
cette station, il trouve un chemin ,une liaison à la terre est
établie à partir de la branche L. Ce chemin est rendu
possible par le fait que le récepteur de l'abonné est
décroché à cette station. Pour comprendre exactement
comment cette liaison à la terre est établie, il faut
se rappeler que chacun des aimants de sonnerie est excité à
chaque impulsion de sélection, mais dans une direction telle
qu'il ne fait pas sonner les cloches, étant entendu que tous
les mécanismes de sonnerie sont normalement verrouillés.
Lorsque l'impulsion de sélection pour la station C arrive, elle
traverse la sonnerie et les bobines du relais de sélection à
cette station et commence à actionner le reste des sonneries
suffisamment pour amener le ressort 12 à engager le ressort 13.
Ceci établit la liaison à la terre à partir de
la branche L de la ligne, le circuit étant tracé à
travers la branche L à travers le contact supérieur du
commutateur, de là à travers les ressorts 12 et 13 jusqu'à
la terre, et ceci, avant que le relais de ligne n'ait le temps de se
verrouiller, actionne le relais à action rapide au central, qui
agit pour couper d'autres impulsions, et s'arrête ainsi automatiquement
à la station appelante. Le courant de sonnerie dans la direction
opposée est alors envoyé à la ligne ; cela déverrouille
les ressorts de sonnerie et place l'abonné appelant dans le circuit
de conversation. Lorsque l'opératrice a communiqué avec
l'abonné appelant et a découvert, par exemple, qu'un autre
correspondant sur une autre ligne similaire est souhaité, elle
tourne l'aiguille du cadran du sélecteur sur le numéro
correspondant au numéro du correspondant appelé sur cette
ligne et appuie sur la touche de signal. L'appui sur cette touche provoque
le « parcours » des impulsions sur la ligne, sélectionnant
le correspondant approprié et faisant sonner sa cloche de la
manière déjà décrite. La connexion entre
les deux correspondants est alors établie et personne d'autre
ne peut, de quelque manière que ce soit, sauf avec la permission
de l'opératrice, obtenir l'accès à la ligne.
Il est évident qu'il faut prévoir un moyen
pour rétablir les relais de sélection à la normale
après la fin d'une conversation. En se référant
à la figure 194, on voit que l'extrémité supérieure
du ressort de verrouillage 5 est recourbée de telle manière
que lorsque l'armature est attirée par le courant traversant
la bobine 7 , le bouton situé à l'extrémité
gauche de l'armature, en se levant, s'engage avec la surface de came
recourbée et repousse le verrou, permettant au ressort 2 de revenir
à sa position normale.
Pour rétablir la ligne, l'opérateur envoie
suffisamment d'impulsions sélectives supplémentaires pour
prolonger le circuit jusqu'à l'extrémité de la
ligne et ainsi mettre le conducteur de terre en circuit. L'enroulement
du conducteur de terre est relié de telle manière que
l'impulsion suivante qui passe déclenche son verrou, ce qui permet
au ressort long d'entrer en contact avec le ressort de terre. L'opérateur
envoie alors une impulsion de terre sur la branche continue L de la
ligne qui passe par les bobines de rappel 7 de toutes les stations et
par la bobine droite du dispositif de mise à la terre jusqu'à
la terre. Les relais de sélection sont donc simultanément
remis en état normal. Le relais de mise à la terre est
également mis sous tension et remis en position normale par le
même courant.
Si un correspondant découvre que sa propre ligne
est occupée et qu'il ne peut joindre le central, il peut laisser
son récepteur décroché. Lorsque le correspondant
qui utilise la ligne raccroche son récepteur, le fait qu'un autre
correspondant souhaite une connexion est automatiquement indiqué
à l'opératrice, qui verrouille alors l'appareil du correspondant
qui vient de terminer la conversation et passe devant son poste. Lorsque
l'opératrice lance à nouveau la touche, l'abonné
en attente est automatiquement sélectionné de la même
manière que le premier correspondant. S'il n'y a pas d'abonnés
en attente de service, le relais d'arrêt du central ne fonctionnera
pas tant que l'extrémité de la ligne côté
terre n'aura pas été déverrouillée, les
relais de sélection étant alors automatiquement rétablis
à la normale.
Les circuits sont organisés de telle sorte qu'à
tout moment, que la ligne soit occupée ou non, le mouvement de
haut en bas du crochet de commutation, dans n'importe quelle sous-station,
déclenche un signal avant l'opératrice. Un tel mouvement,
lorsqu'il est effectué lentement et de manière répétée,
indique à l'opératrice que l'abonné a un appel
d'urgence et elle peut faire preuve de discernement pour retirer la
ligne aux personnes qui l'utilisent et découvrir à quoi
sert l'appel d'urgence. Si l'opératrice découvre que l'abonné
a abusé de ce privilège de faire l'appel d'urgence, elle
peut rétablir la connexion avec les personnes précédemment
engagées dans la conversation.
L'un des points saillants de ce système Roberts
est que l'opérateur a toujours le contrôle de la ligne.
Un abonné ne peut même pas utiliser sa propre batterie
tant qu'il n'y est pas autorisé. Un abonné qui laisse
son récepteur décroché afin que l'opérateur
lui signale que la ligne est libre, ne provoque aucune détérioration
de la batterie locale car le circuit de batterie est maintenu ouvert
par les contacts de commutation portés par la sonnerie. On ne
peut nier, cependant, que ce système est compliqué et
qu'il présente d'autres défauts. Par exemple, comme décrit
ici, les deux côtés de la ligne doivent être reliés
en boucle.Page 286Le poste d'abonné nécessite donc quatre
fils de dérivation ou de service au lieu de deux. Il est possible
de surmonter cette objection en plaçant les relais de ligne sur
le poteau dans un boîtier convenablement protégé,
auquel cas il suffit de faire passer deux fils de dérivation
de la ligne la plus proche jusqu'au poste. Il existe sans aucun doute
d'autres objections à ce système, mais malgré tous
ses défauts, il présente un grand intérêt
et, bien que radical à bien des égards, il enseigne des
leçons d'une valeur incontestable.
