|
APPAREILS ACCESSOIRES POUR POSTES DABONNÉS
En France, les modèles dappareils accessoires pour bureaux
téléphoniques sont peu nombreux .
La raison en est facile à concevoir : lAdministration des
P&T : Postes et des Télégraphes de France, nadmet
sur ses réseaux que les modèles étudiés dans
ses propres ateliers et que tous les constructeurs sont autorisés
à fabriquer.
Au Etats-Unis, le problème des lignes communes est probablement
celui qui a été le plus travaillé par les inventeurs
et qui a reçu la plus grande part de solutions ingénieuses.
7 - Les lignes communes aux
USA.
Ne sont pas présentés dans
cette étude, les installations privées, ou il a existé
un grand nombre de constructions, de produits différents pour répondre
aux besoins des particuliers.
sommaire
I - LES APPAREILS DAPPEL
1- Sonneries.
La sonnerie française de réseau est une trembleuse
à deux bobines dont la résistance électrique est
de 200 ohms.
Elle constitue avec les sonneries à voyant de M. Bailleux
et de M. Montillot les seuls organes récepteurs dappel
admis sur les réseaux français.
La sonnerie Bailleux porte une troisième bobine, montée
en dérivation sur les deux autres, de façon à constituer
une résistance totale de 200 ohms.
Larmature de cette bobine supplémentaire commande un volet
qui séchappe lorsque larma ture est attirée.
La sonnerie Montillot est à double armature.
Lorsque le courant traverse les bobines de lélectro-aimant,
les deux armatures sont attirées simultanément, lune
dans la direction de laxe des noyaux, lautre perpendiculairement
à cette direction; la première, garnie dun marteau,
agit sur le timbre de la sonnerie; la seconde, garnie dun levier
à crochet qui soutient un volet dannonciateur, déclenche
celui-ci.
Parmi les sonneries destinées à la téléphonie
domestique, nous avons remarqué une disposition originale exposée
par Mme Veuve Charron et Bellanger. Dans
cette sonnerie, à une seule bobine, le noyau de lélectro-aimant
ne sélève pas au-dessus du milieu de la partie centrale
de la bobine. La seconde partie de ce noyau est reportée sur larmature
et pénètre librement à linté rieur de
la bobine, dont la résistance nest que de 5 ohms. Cette sonnerie
est dune grande puissance et, avec 3 éléments Leclanché,
actionne des cloches de grandes dimensions.
Les modèles de sonnerie polarisées sont très nombreux,
surtout dans les sections étrangères ; on en trouve dont
la résistance atteint 2000 ohms. Elles sont, soit associées
aux appareils, soit indépendantes ; souvent on leur adjoint un
commutateur et un parafoudre.
2 - Relais.

Parmi les relais nous citerons celui de lAdministration des
Postes et des Télégraphes de France, exposé par plusieurs
constructeurs.
Ce relais est à deux bobines (fig . 111 et 112) dont la résistance
est de 200 ohms. Au dessus des noyaux, une chape f laisse pivoter, entre
les pointes de deux vis u, v', l'armature A que le ressort antagoniste
r maintient éloignée de lélectro-aimant et
dont la vis b limite lécartement.
Lorsque larmature est attirée, le ressort l qui la termine
prend contact avec la pointe de la vis p et ferme le circuit de la pile
locale sur la sonnerie par les bornes P et S, les iils de ligne étant
attachés en L et en T.
Le rappel par inversion de courant constitue un relais polarisé
dont tous les électriciens connaissent le fonctionnement.
Le relais Ader ( fig . 113) est une autre forme de relais polarisé.
Entre les pôles de laimant NS, la bobine B est suspendue et
se maintient dans une position déquilibre. Suivant le sens
du cou rant qui la traverse, la bobine B est orientée à
droite ou à gauche et, sappuyant sur le butoir d' ou sur
le butoir rf, ferme un circuit ou un autre.
On construit des relais Ader à simple ou à double enroulement,
suivant les usages auxquels on les destine.
sommaire
II - LES APPAREILS DE PERMUTATION
|
Les commutateurs ne présentent aucune
disposition nouvelle ; ce sont des dérivés du commutateur
rond ou du commutateur bavarois, instruments connus
de tout le monde.
En France, cest le commutateur à deux
directions pour lignes simples, puis le commutateur
à 6 directions, également pour lignes simples,
et enfin le commutateur à deux directions pour lignes
doubles, que lon peut aisément transformer
en commutateur inverseur.
Les figures 114 et 115 représentent ce dernier modèle
et dispensent de toute description. Les commutateurs à
manette pour lignes doubles que lon utilise dans les installations
domestiques sont non moins connus.
|
  |
Les commutateurs à cheville du type bavarois
ne méritent aucune mention spéciale.
La figure 116 est la reproduction des modèles de l'Elektrisk
Bureau de Christiania.

Les modèles de la maison Siemens et Halske,
de Berlin, se composent dune manette qui commande des leviers
articulés destinés à prendre contact avec des plots
fixes.
sommaire
III - LE COMMUTATEUR DE MISE A LA TERRE
1 - LE COMMUTATEUR DE MISE SIMULTANÉE A LA TERRE DE LA SOCIÉTÉ
INDUSTRIELLE DES TÉLÉPHONES
On en construit pour 10, 25 et 50 lignes doubles.
|
Un plot et un ressort sont affectés à
chaque conducteur.
Le fil allant à lappareil est attaché au plot
c ( fig . 117), sur lequel repose, en temps normal, le ressort
r, vissé sur le plot d, qui reçoit le fil de ligne
correspondant.
Au-dessous de tous les ressorts r, laxe métallique
EE tourillonne entre les flasques e, e'.
Cet axe est terminé en PP par une manette; un système
dencliquetage, figuré à part, permet darrêter
laxe ER dans deux positions fixes, suivant que la manette
est inclinée à droite ou à gauche.
Laxe EE est excentré et, lorsque la manette PP est
inclinée à droite, il ne touche pas les ressorts
r qui reposent sur les plots c, assurant ainsi la continuité
entre le fil de ligne et lappareil téléphonique.
Mais, lorsque la manette est inclinée à gauche,
laxe EE soulève tous les ressorts r et rompt le contact
avec les plots c. Si donc EE est en relation avec le sol, ce qui
a lieu par la borne T, tous les fils de ligne sont mis, du même
coup, à la terre lorsquon incline à gauche
la manette PP.
2 - LE COMMUTATEUR DE MISE A LA TERRE MANDROUX
Cest un commutateur qui assure, par la manuvre de
sa manette, la mise à la terre simultanée de toutes
les lignes qui y aboutissent, mais qui garantit aussi leur indépen
dance et leur parfaite sécurité par une mise à
la terre automatique et individuelle en cas de danger.
Les fils de ligne arrivent aux plots L, L, ..., les fils qui,
conduisent aux appareils téléphoniques, aboutissent
aux plots A, A,... (fig. 118 et 119).
Entre L et A, la continuité du conducteur est assurée
par un fil métallique fusible ff, tendu entre les deux
plots et pincé sous les vis v, v.
Les plots L et A de chaque ligne sont isolés lun
de lautre par Fig. 117. CommiUateur de tamise une
réglette en ébonite qui les unit ; ils ne communiquent
électriquement que par le fil ff et cette communication
est évidemment détruite si le fil ff vient à
être fondu ou brisé.
Fig. 118. Commutateur de mise à la terre, système
Mandroux (Plan).
|
 |

Sur le prolongement de L est monté un levier coudé Vod,
métallique et mobile autour de laxe o. La masse P de ce levier
maintient la partie d appuyée sur le fil ff, un levier étant
affecté à chaque ligne. Au-dessous des fils ff, et sans
les toucher, court la réglette métallique p, mon tée
sur pivot à ses deux extrémités. Une languette t
se détache de la réglette p, en regard de chaque fil ff
et est soutenue parle ressort r. En arrière, une saillie de la
réglette p repose sur lexcentrique E', qui appartient à
laxe CC, en relation avec la terre par la borne T.
Lorsquun des fils ff vient à être fondu par une décharge
atmosphérique, la communication est évidemment rompue entre
les plots L et A que réunissait ce til ; mais le levier P od, man
quant de point dappui, tombe sur la languette t et met la ligne
à la terre. Voilà pour la mise automatique et individuelle
de chaque ligne à la terre.
Quant à la mise à la terre collective, elle est assurée
par la manuvre de la manette m, qui porte des indications de nature
à éviter toute erreur.
Laxe CC, commandé par la manette m , porte un second excentrique
E, qui agit en sens inverse de E', cest à-dire que, quand,
en tournant, E soulève t, E' permet à lappendice postérieur
d e p de sabaisser. De ce fait, toutes les languettes t soulèvent
tous les leviers P od. Tous les leviers P od abandonnent donc en même
temps les fils fusibles ff sur lesquels ils reposaient et toutes les lignes
sont mises simultanément à la terre par le contact des leviers
P od avec les languettes t de la réglette p qui, comme nous lavons
dit, communique avec la prise de terre T.
sommaire
IV - LES APPAREILS DE PROTECTION : PARAFOUDRES. FILS
FUSIBLES
|
Aujourdhui que les circuits électriques
à haute tension deviennent de plus en plus nombreux, il
ne suffît plus de protéger les bureaux téléphoniques
contre les effets de la foudre; il faut aussi, dans la mesure
du possible, les mettre à labri des accidents que
pourraient provoquer les mélanges des fils téléphoniques
avec les conducteurs que parcourent des courants dangereux.
L'expérience a conduit à faire usage
de dispositifs protecteurs plus compliqués que ceux que
1'on utilisait, même au début de la téléphonie.
1 - Parafoudre a charbon de ladministration française
des postes et des télégraphes.
Ce parafoudre a pour organes essentiels : une plaque de laiton
qui forme prise de terre et deux lames de charbon séparées
par une lame perforée en mica. La figure 120 montre cette
disposition.
Le parafoudre est installé pour une ligne à double
fil. La vis V sert à fixer le fil de terre.
Sur la plaque de cuivre rectangulaire K, en A, à lintersection
des deux diagonales, s élève un axe en laiton sur
lequel sont successivement entilées la plaque de charbon,
la lame de mica M, puis un bloc formé par les deux charbons
C,C., et par la pièce d ébonite E ; le tout est
serré sur la plaque de cuivre par lécrou A.
Les charbons C,C 2 sont isolés lun de lautre
et sont assemblés avec la pièce d ébonite
E, chacun par deux boulons entre les écrous desquels sont
pincés les fils de ligne et celui qui conduit aux appareils
à protéger.
Ces parafoudres sont montés sur planchettes lorsquils
doivent être posés isolément chez les abonnés;
ils sont groupés sur des panneaux lorsquils sont
destinés à des bureaux centraux.
Exposé par M. Digeon (France).
|
 |
2 -Protecteurs de l'American Bell Telephon C°.
Ces protecteurs sont exposés par la Western Electric C°
de Chicago.
Trois organes, agissant isolément ou combinés, suivant les
besoins de lexploitation, sont mis en uvre :
1° Un parafoudre à charbon et à lame dair;
2° Un fil fusible ;
3° Un dispositif connu sous le nom de sneaff current arreslor et que
lon pourrait appeler protecteur à glissement ou encore bobine
thermique.
Pour obtenir le maximum de protection, ces trois appareils doivent être
intercalés sur chaque fil pénétrant dans un bureau
entre la ligne téléphonique et les appareils à préserver.

Le parafoudre à lame dair (fig. 121) comprend deux prismes
rectangulaires en charbon ab , entre lesquels on place une feuille de
mica m en forme dU. Une rainure longitudinale est pratiquée
dans le bloc a et une excavation g dans le bloc b. Outre lisolement
produit par la feuille de mica entre les blocs a et b , il résulte
de la forme de cette feuille quun espace libre existe entre les
deux charbons. Si lun des blocs de charbon est en relation avec
la ligne et avec les appareils à protéger, si lautre
bloc communique avec la terre, on est évidemment en présence
dun paratonnerre à feuille de mica et à lame dair
: cest ce qui a lieu.
De lépaisseur du diélectrique dépend la sensibilité
de linstrument. Lexpérience a démontré
quune feuille de mica de 0,14 mm dépaisseur assure
la décharge entre les deux blocs de charbon, lorsque la différence
de potentiel entre ces blocs est de 350 volts.
Lemploi du charbon a lavantage déviter les transports
de matière qui se produisent souvent, au moment des décharges,
entre les plaques métalliques des paratonnerres et qui occasionnent
des mises à la terre persistantes.
Ici, en orientant vers le bas la partie évasée de la lame
de mica, on permet aux poussières de charbon de séchapper
facilement.
Lun des blocs du paratonnerre,
le bloc b , repose sur une plaque de terre; lautre, le bloc
a est pincé sous un ressort de maillechort auquel aboutissent
le fil de ligne entrant dans le bureau, ainsi que le fil se dirigeant
vers le second parafoudre.
Ce parafoudre protège les bureaux contre les décharges
atmosphériques et aussi contre les mélanges avec des
circuits fonctionnant à 350 volts et au dessus.
Dans le cas de décharges atmosphériques ou de mélanges
momentanés, il se produit, entre les deux blocs de charbon,
un arc voltaïque qui ne dure quun instant. Cet arc peut
devenir persistant si le mélange se prolonge. Pour éviter
cet inconvénient, lun des blocs de charbon a été
creusé dune légère excavation g, qui
contient un globule dalliage fusible. Lorsque les charbons
séchauffent au-delà dune certaine limite,
le globule fond et, coulant dans lespace qui sépare
les deux blocs, éteint larc, en même temps quil
met la ligne à la terre en réunissant les deux blocs.
Le fil fusible sert, en coupant le circuit, à pré
server les bobines des appareils contre les courants capables déchauffer
le fil fin de leur enroulement.
La forme la plus généralement employée (fîg.
122) consiste en un fil fusible, tendu entre les deux goupilles
a , g , et enfermé dans un petit tube de verre Y. Le tube
Y est lui-même protégé par un second tube en
fibre vulcanisée T, fermé à un de ses bouts.
La partie fermée a est vissée sur une plaque de laiton,
tandis que la partie ouverte est reliée, au moyen dun
collier métallique b et dun écrou e, à
un ressort de maillechort L auquel le conducteur de ligne est attaché
par lintermédiaire dun boulon à écrous.
|
 |
 
Loriginalité du protecteur à glissement réside
tout entière dans la bobine B qui sépare les deux ressorts
en maillechort AC (fig. 123 et 124).
La construction de cette bobine est assez compliquée. Sur une cheville
métallique centrale dd est enfilé un manchon de cuivre 7
mm, d'un diamètre intérieur tel quil puisse glisser
librement sur la cheville. Dans une entaille k, une goutte de soudure
très fusible rend le manchon adhérent à la cheville
et maintient aussi lextrémité dénudée
dun mince fil de maillechort ff, recouvert de soie et long de 50
centimètres, qui senroule autour du manchon, formant ainsi
une petite bobine. La résistance électrique de ce fil est
de 27 ohms; son extrémité libre est soudée, après
avoir été préalablement dénudée, à
une rondelle de laiton ; percée dun trou central. La bobine
est enveloppée par une gaine cylindrique en ébonite B, fermée
par une de ses bases et fendue suivant une de ses génératrices.
La cheville métallique est vissée sur la face interne du
fond de ce cylindre; la rondelle j est posée sur la face externe
garnie dun appendice qui traverse le trou central de j.
Le petit bloc, ainsi constitué, est pincé entre les deux
ressorts A et C, la tête en ébonite sengageant dans
la fourche de A, la base de la douille en cuivre sappuyant sur la
mortaise de C et la pointe de la cheville cl comprimant le ressort r qui,
dans cetle position, reste encore éloigné de
la plaque de terre T, placée en regard. La communication électrique
entre A et C est assurée par le fil ff.
Ce fil vient-il à être échauffé par un courant
anormal, la goutte de soudure qui rend la douille adhérente à
la cheville fond; cette douille glisse de bas en haut le long de la cheville
et cette dernière senfonçant davantage dans la mortaise
du ressort C, par la pression de A, abaisse suffisamment le ressort pour
le mettre en contact avec la plaque de terre T.
Un doigt darrêt en ébonite i, fixé, sur le ressort
C, rencontre le ressort A lorsquon enlève la bobine B et
coupe le circuit II fois quelle a fonctionné.
La figure 124 représente lensemble des dispositions précédentes
montées pour une ligne à double fil ; on installe généralement
ces protecteurs sur les réparti teurs dentrée des
bureaux.
Un autre modèle de protecteur diffère du précédent
par sa forme générale, mais surtout par la fabrication de
sa bobine thermique.
Le dispositif complet
(fig. 125) est monté sur un socle en porcelaine pour éviter
les dangers dincendie.
Le parafoudre à charbon et à couche dair est
sem blable à celui que nous venons de décrire; il
est pincé entre deux ressorts verticaux BD (fig. 126).
Le ressort B établit la liaison avec la plaque de terre,
le ressort D avec lanneau K qui supporte le fd fusible.
Ce fil, en alliage spécial, dont la section est calculée
pour fondre sous un courant de 5 ampères, est entouré
dune tresse damiante A (fig. 127), qui empêche
les projections d'étincelles; il est enfermé dans
un tube en fibre vulcanisée F.
La pièce dattache II établit la liaison avec
la ligne; l'anneau EE s'intercale entre deux ressorts qui forment
dérivation vers le parafoudre à charbon; .1 met le
fil fusible en relation avec l'appareil téléphonique;
enfin la bobine thermique M est interposée entre EE et J.
|
 |
La
bobine thermique (fig. 128) est constituée par un tube métallique
M, autour duquel est enroulé le fil dè maillechort R. Dans
le tube M se trouve une tige de verre V, pressée par le ressort
à boudin S contre le disque Q soudé, dune part, en
L, au moyen dun alliage très fusible au tube M et, dautre
part, au fil fusible F.
Tout courant dangereux traversant le fil de mail lechort échauffe
le tube M et fond lalliage de soudure, de sorte que le disque Q
devient libre et est écarté par la tige de verre Y poussée
par le ressort S. La connexion du fil fusible F avec la bobine thermique
et avec le parafoudre à charbon est ainsi automatiquement interrompue
et la ligne est isolée.
3 - Parafoudres de lElektrisk Bureau de Christiania.
Paratonnerre à papier.
Il se compose de deux plaques en laiton
nickelé, placées lune sur lautre, mais
séparées par une mince feuille de papier.
Ces plaques sont garnies de bornes pour la ligne et pour la terre.
Paratonnerre à bobine.
Ce paratonnerre (fig. 129), utilisé souvent dans les petits
postes centraux, a été plus spécialement construit
pour la téléphonie à longue distance. Il comprend
un paratonnerre à peignes et des bobines à fil fusible.
Lorsquune bobine a été brûlée par
un coup de foudre et que la ligne est ainsi mise à la terre,
il convient de remplacer cette bobine.
Paratonnerre à surface. Cest un paratonnerre
à peignes (fig . 130).
Il peut
servir de commutateur ou de paratonnerre, les pièces de contact
étant munies de dentelures ne laissant quun faible
intervalle entre elles et les barrettes du fil de terre. Une fiche
permet de mettre à la terre lune ou lautre ligne
ou bien toutes deux à la fois. |

|
Paratonnerre de mise simultanée
à la terre
Il se compose de deux rangées de ressorts (fig. 131) auxquels on
rattache les lignes, et dun conducteur de terre commun placé
au-dessus de ces ressorts, mais séparé deux par une
couche isolante en soie.
La soie étant brûlée par un coup de foudre, les ressorts
sont mis directement à la terre en sappuyant sur la pièce
métallique centrale.
Dans un autre modèle, deux rangées de charbons sont poussées
par des ressorts contre deux plaques de charbon reliées à
la terre, les charbons restant séparés des plaques par une
couche isolante.
4 - Coupe-circuit a fil fusible Postel-Yinay.
Le fil fusible pincé entre deux équerres montées
sur un socle en ébonite est protégé par un tube de
verre dans laxe duquel il est tendu. Ce fil est saupoudré
dun explosif qui détermine brusquement la rupture à
une température déter minée. La sensibilité
de ce coupe-circuit dépend de la nature du fil fusible et de son
diamètre.
5 - Paratonnerre Siemens.
Les paratonnerres à pointes (fig. 132) sont formés
par des équerres garnies de vis dont les pointes effilées
sont situées en regard dune plaque de terre commune, chaque
équerre étant affectée à un conducteur de
ligne.
Ce paratonnerre prend la forme représentée figure 133, lorsquil
est combiné avec un fil fusible et un ressort de court-circuit.
Dans les paratonnerres du système Bose (fig. 134), les pointes
sont disposées en deuxran gées en face de la plaque de terre.
Les fils fusibles, enroulés en spirale, sont protégés
par des tubes en verre et maintenus en place par des ressorts.
Le paratonnerre à plaque de charbon avec fil fusible (fig. 135)
pour postes téléphoniques est le type normal de ladministration
des Postes allemandes.
sommaire
V
1 - LE SYSTÈME BREGUET-RODARY
Omnibus
Breguet
Le système dappel omnibus, construit par la maison Breguet
et étudié par M. Rodary pour l'usage particulier
des réseaux de voies ferrées, sapplique avec de légères
modifications aux postes téléphoniques et aux postes télégraphiques.
Il existe trois modèles de rappels dont les organes
communs sont : un bouton dappel, un cadran divisé en autant
de cases plus quatre quil existe de postes sur la ligne. Les quatre
cases supplémentaires portent les indications Dépêche
circulaire , ligne occupée , ligne libre , attaque ; les autres
sont numérotées comme les postes eux-mêmes. Une aiguille
indicatrice se déplace sur le cadran sous laction des courants
dappel; elle est commandée par larmature dun
électro-aimant, sans quun mouvement dhorlogerie ait
à intervenir.
Dans le rappel pour postes téléphoniques, linstallation
est complétée par un relais polarisé dont larmature
peut occuper trois positions, par un bouton dappel ordinaire et
par un poste microtéléphonique.
Dans le modèle de la Compagnie des
chemins de fer de Paris à Lyon et à la Méditerranée
(fig. 136), il existe deux relais polarisés et une sonnerie à
trembleur. Deux manettes de com mutateurs, situées à la
partie supérieure du tableau, permettent de mettre deux sections
de ligne à la terre ou bien de leur donner la communication directe.

Lorsqu'un poste appelle en appuyant sur son bouton-poussoir, il fait,
à chaque coup, avancer simultanément dune division
les aiguilles de tous les postes. Lorsque, dans un poste, laiguille
sarrête sur le numéro de ce poste ou sur dépêche
circulaire , la sonnerie dappel se fait entendre jusquà
ce que lagent appelé ait répondu en amenant laiguille
sur ligne occupée et ait poussé son commutateur sur correspondance.
La transmission terminée, laiguille est ramenée, dun
coup de bouton, sur ligne libre , puis le commutateur remis sur attente.
Lorsquun poste veut en appeler un autre, il doit :
1° Sassurer que laiguille de son cadran est sur ligne
libre;
2° Placer les commutateurs du rappel sur correspondance ;
3° Envoyer un premier courant sur la ligne pour amener laiguille
de tous les cadrans sur la position attaque ;
4° Pousser le bouton dappel, lentement et à fond, autant
de fois quil est nécessaire pour amener laiguille du
cadran sur le numéro correspondant au poste appelé ; les
aiguilles de tous les cadrans de la ligne suivent le même mouvement.
Le poste appelé entend le bruit continu de sa sonnerie, il doit
alors :
1° Placer le commutateur de son rappel sur correspondance ;
2° Répondre par le nombre de coups de bouton nécessaire
pour amener son aiguille et, par suite, celles de tous les postes sur
ligne occupée.
La correspondance s'engage ensuite à la manière ordinaire;
lorsqu'elle est terminée, le poste appelant pousse son bouton une
seule fois et ramène ainsi toutes les aiguilles sur l'indi cation
ligne libre; les deux correspondants remettent enlin leur commutateur
dans la position altente.
S'il s'agit dun message collectif, le nombre des coups de bouton
destinés à lappel doit être tel que toutes les
aiguilles soient amenées sur la case dépêché
circulaire. Un coup de bouton sup plémentaire porte les aiguilles
sur la case ligne occupée. Les postes sont ensuite appelés
nominalement.
sommaire
2 - LE SYSTÈME BERNHEIM
Le dispositif de M. Bernheim permet de desservir sept postes montés
en série sur une ligne double. Le circuit de conversation ne comprend
que les deux fils de ligne; mais on a recours à des prises de terre
pour réaliser les différentes combinaisons destinées
à produire les appils. La ligne n'est immobilisée que lorsque
les postes extrêmes sont en communication et encore les postes intermédiaires
peuvent-ils rentrer en cas durgence.
 
Chaque poste est monté sur un tableau. Les postes intermédiaires
(fig. 137) se composent de deux relais Ader polarisés, à
simple enroulement, de 6 clés dappel, de 2 leviers ou clés
de conversation, lun pour le côté gauche, lautre
pour le côté droit de la ligne, de 2 galvanomètres,
dun transmetteur Ader à pupitre, de 2 récepteurs Ader
et dune sonnerie.
Les postes extrêmes {fig. 138) ne possèdent quun seul
levier de conversation ; tous les autres organes sont semblables à
ceux des postes intermédiaires.
Organes. - Chaque clé dappel commande
5 ressorts, qui prennent contact soit avec des plots de repos, soit avec
des plots de travail ; le levier se relève de lui-même lorsquil
nest plus actionné par lopérateur.
Les leviers de conversation ont une forme analogue; dans les postes exlrèmes,
ils ne comportent que 2 ressorts; ils en ont quatre dans les postes intermédiaires.
Les leviers de conver sation ne se relèvent pas automatiquement.
Les communications du transmetteur Ader sont légèrement
modifiées; il nexiste plus que trois bornes en haut et deux
en bas. Les deux bornes latérales du haut correspondent aux deux
fils de ligne, celle du milieu au fil de terre. En bas, les deux bornes
reçoivent les pôles de la pile du microphone qui est indépendante
de la pile dappel.
Manuvres. Au poste qui désire appeler,
il convient dabaisser les deux leviers de con versation, de décrocher
les récepteurs et découter pour sassurer que
la ligne est libre.
Il faut ensuite relever les deux leviers de conversation, accrocher les
récepteurs et appuyer sur la clé dappel correspondant
au numéro du poste que lon désire appeler. Si les
deux galvanomètres ont fonctionné normalement, lappel
est parvenu à destination.
On abaisse alors le levier de conversation du côté de la
section de ligne appelée; on décroche les récepteurs
et on parle.
Après la conversation on'accroche les récepteurs et on relève
le levier de conversation.
A lappel de la sonnerie, lemployé du poste récepteur
abaisse le levier de conversation du côté doù
vient lappel, décroche les récepteurs et parle.
Pour les postes intermédiaires, il pourrait se présenter
une difficulté, car lopérateur ne sait pas de quel
côté vient l'appel ; on y a remédié en convenant
que les appels destinés à la ligne de droite se font par
trois coups et ceux de la ligne de gauche par deux coups seulement.
Fonctionnement.
Les figures 139 et 140 représentent les communications intérieures
dun poste extrême et dun poste intermédiaire.

Tous les postes sont embrochés sur les deux fils de ligne ; et
ces fils sont bouclés et mis à terre aux deux postes extrêmes
(fig. 141).
Au poste n° 1 (terminus de gauche), les fils de ligne pénètrent
par les bornes L de droite (fig. 138 et 139).
Le fil n° 1 traverse la clé de conversation C par son ressort
court et ...
Dans tous les postes intermédiaires, le fil n° 1 pénètre
parla borne L, de gauche, arrive au grand ressort de la clé Ci/,
passe par son contact ...
Ainsi, dans tous les postes, le fil de ligne n° 1 traverse lenroulement
du relais Ader n° 1 placé à droite et le fil de ligne
n° 2 traverse lenroulement du relais Ader n° 2, placé
à gauche.
Dans chaque station, le contact de travail a du relais n° 1 est relié
au pôle positif dune pile locale; la borne S de droite est
reliée au pôle négatif de cette pile. Le contact de
travail « 2 du relais n° 2 est relié à la borne
S de gauche. Entre les deux bornes S est intercalée la sonnerie
du poste.
Enfin, les massifs m,, m 2 des deux relais sont réunis ensemble.
De ce dispositif il résulte que, lorsque les deux relais sont orientés
en même temps sur leur contact de travail, le circuit local de la
sonnerie est fermé et celle-ci fonctionne.
Pour que chacun des sept postes du réseau puisse être appelé
par lun quelconque des six autres, il faut que lon dispose
de sept combinaisons, dont chacune orientera les deux relais sur leur
contact de travail dans un des postes, mais dans celui-là seulement.
Ces combinaisons sont les suivantes :
Le poste n° 7, terminus de droite, ne reçoit pas d'appel de
la droite.
Lorsqu'un poste en appelle un autre, l'un des pôles de la pile est
mis en relation avec lun ou lautre des fils de ligne ou bien
avec tous les deux dans la direction du poste appelé ; lautre
pôle de la pile est mis à la terre dans la direction opposée,
ainsi que les deux fils de ligne bouclés.
Il est facile de voir, par l'examen des figures 139 et 140, que la manuvre
des clés de con versation a pour effet de transformer deux postes
intermédiaires causant ensemble en postes terminus; laligne se
trouve donc sectionnée pendant la conversation, de telle sorte
que, si les postes 4 et 5 sont en communication téléphonique,
les postes 1, 2, 3, et les postes 6 et 7 peuvent sappeler et échanger
des messages.
Le circuit de conversation utilise les deux fils de ligne ; mais la terre
est éliminée de ce circuit.
Il est une objection que lon peut faire au système: si lune
des clés de conversation reste abaissée après la
fin de la correspondance, le poste ne peut plus recevoir les appels de
ce côté. Si les deux clés sont restées abaissées,
le poste est en dehors du circuit dappel. Il est facile de parer
à cet inconvénient en faisant usage de clés de conversation
à relèvement auto matique ; mais, il faut bien le reconnaître,
cest une gêne introduite dans le service, puisqu'il faut maintenir
les clés abaissées avec la main pendant toute la durée
de la conversation.
Ces appareils sont construits par la Société
industrielle des Téléphones.
sommaire
3 - LE SYSTÈME DARDEAU
POUR POSTES MULTIPLES .
sommaire
4 - L'APPEL OMNIBUS POUR RÉSEAUX TÉLÉPHONIQUES
SANS BUREAUX CENTRAUX, SYSTÈME MORS-MANDROUX
Ce dispositif a pour but de permettre à un certain nombre de postes
télégraphiques ou téléphoniques, reliés
les uns aux autres par une ligne à double fil, de s appeler directement
et indépendamment les uns des autres, lappel nétant
perçu que par le poste appelé, mais tous les autres étant
avisés que la ligne est occupée.
Bien que lappel ait lieu sans lintervention d'un bureau central,
on a la possibilité de considérer lun quelconque des
postes comme station de contrôle et alors on dispose cette station
de telle sorte quelle puisse recevoir les appels destinés
aux autres postes.
La disposition générale du système comprend :
1° Un distributeur dappel qui envoie sur la ligne des courants
alternatifs dégale durée et dégale intensité
;
2° Un clavier dappel ;
3° Une sonnerie et un indice de contrôle des manuvres
embrochés sur le circuit ;
4° Un dispositif établissant la connexion directe entre les
téléphones en correspondance ;
5° Un rappel automatique au zéro, après chaque opération,
de toutes les aiguilles des indicateurs dappel.
Les postes sont en relation avec la ligne, comme le montre la figure 145;
branchés sur le fil n° 2 en A, B, C, D, ils sont, dans la position
dattente, isolés du fil n° 1, réservé pour
les appels.
Lorsque la conversation doit sen gager entre deux postes, A et C,
par exemple, les crochets commutateurs L, et L s de ces deux postes, en
se relevant, ferment le circuit en a et c.
Lun des deux fils de ligne est utilisé pour le fonctionnement
dun indicateur, et les deux fils à la fois pour les émissions
des courants d'appel et pour assurer la concordance des appareils entre
eux.
 
Le dispositif comprend donc les parties suivantes :
1° Indication de ligne occupée;
2° Appel dun poste a un autre et correspondance entre les deux
postes intéressés;
3° Remise au zéro de tous les indicateurs après chaque
opération.
Le dispositif d'appel comprend :
1° Un clavier a ( fig . 146 et 147) du système des tableaux
téléphoniques Mandroux déjà décrits
et composé dun nombre de touches égal à celui
des postes, chaque touche portant le numéro du poste correspondant
;
2° Un mouvement dhorlogerie b faisant tourner deux axes dont
le jeu combiné déter mine le nombre et la succession des
courants dappel ;
3° Un électro-aimant c, dont larmature polarisée
porte une ancre déchappement d , com mandant une aiguille
e mobile devant un cadran divisé.
Le jeu du clavier est purement mécanique. Le mouvement dhorlogerie
b, par lintermé diaire des pignons dangle g t g. 2
i fait tourner laxe horizontal , sur lequel sont implantées
des goupilles h en- regard des touches du clavier.
La longueur des goupilles, disposées suivant une ligne hélicoïdale,
est réglée de telle sorte quelles passent librement
au-dessus des touches lorsque celles-ci sont au repos ; mais, si lon
abaisse une touche, elle arrête la goupille qui lui fait face. Si,
ensuite, on abaisse une autre touche, la première goupille échappe,
en raison du mécanisme de déclic du clavier, et larbre
f tourne jusquà ce que la goupille placée en regard
de la nouvelle touche abaissée soit arrêtée par celle-ci.
Le mouvement de rotation de larbre commande celui de deux jeux de
frotteurs métalliques appuyés sur quatre couronnes dun
distributeur (fig. 146).
La couronne j1 est complète et reliée au fil de ligne n°
1.
La couronne j2 est partagée en secteurs comprenant :
1° Un secteur relié à lélectro-indicateur
du poste ; 2° des secteurs reliés alternativement au pôle
positif et au pôle négatif dune pile ; ces secteurs
sont en plus grand nombre quil ny a de statious en circuit,
soit, par exemple, 21 secteurs (11 positifs et 10 négatifs) pour
14 stations ; cet excédent a pour but dassurer la concordance
des cadrans, nous le verrons plus loin.
La couronne j3 est divisée en quatre secteurs; les secteurs de
rang impair sont reliés à la terre, les secteurs de rang
pair à la ligne n° 2.
La couronne j4, ne comprend quun petit secteur réuni à
la sonnerie et à lélectro-aimant o et par ceux-ci
à la ligne n° 2.
Le premier jeu de frotteurs est formé par trois balais métalliques
i 1 ,i 2 , i 3 , disposés suivant un même rayon du distributeur
et appuyés respectivement sur les secteurs j1,j2,j3.
Le second jeu de frotteurs comprend deux balais i 41 , i 51, dont lun
est en avance sur laulre dune division ; i 4 sappuie
sur j2 , j5 sur i3 .
Lorsque la touche de repos du clavier a est abaissée, larbre
f, qui porte les chevilles h, est arrêté dans une position
telle que le frotteur i1, i2,i3 du distributeur met la ligne 1 en relation
avec lélectro-indicateur c et avec la ligne 2 par lélectro-correcteur
o.
Si on abaisse la touche 4, le frotteur i 2 sarrête sur le
bloc 4. Sur les secteurs impairs, il met le pôle positif à
la ligne \, pendant que les balais i h et i- mettent le pôle négatif
à la terre ; le contraire a lieu quand i 2 passe sur les secteurs
pairs; la ligne 1 est donc parcourue par des courants alternatifs égaux
en intensité et en durée ; la ligne 2 est isolée,
le balai i 3 ayant aban donné lunique secteur de la couronne
j .
Dans toutes les stations, sauf dans la station qui appelle, les émissions
successives pro duisent des battements alternés de larmature
polarisée de lélectro-indicateur c, qui, par linter
médiaire de lancre déchappement cf, amènent
laiguille e devant le chiffre 4 ; elle y reste jusquà
la fin de la conversation et sert à indiquer loccupation
de la ligne dans les postes non appelés.
La clé dappel k , à double fil (fig . 146 et 147),
est formée par deux leviers pivotant simulta nément autour
des points p, p' et abandonnant les plots de repos q , q pour sappuyer
sur les plots de tra vail r, r. Chacun des pôles de la pile est
relié à lun des pivots des leviers de la clé
dappel, le pôle positif en p\ le pôle négatif
en p. Le plot de repos q est réuni à tous les secteurs négatifs
de la couronne j 2 ; le plot de repos q' est réuni à tous
les secteurs positifs. Le plot de travail r est relié au galvanomètre
l et à la ligne 2 ; le plot de travail r est relié à
la couronne /, et à la ligne 1.
Laxe de laiguille e porte un petit disque m sur lequel est
fixée une goupille transversale m K , convenablement orientée,
qui, au poste 4 seulement, soulèvera un levier articulé
n en relation avec la sonnerie dappel.
Le circuit étant ainsi constitué au poste 4, on pourra,
au poste de départ, appuyer sur la clé dappel k et
on enverra alors un courant qui passera sur la ligne à travers
le galvanomètre Z, puis, au poste 4, par la goupille , le levier
n et la sonnerie dappel quil actionnera.
Le poste appelé répond et, les récepteurs étant
décrochés, le circuit est constitué par les deux
lignes, comme il a été dit plus haut [fig. 145).
Le courant dappel passe en même temps dans un électro-aimant
o, dont la fonction est dassurer la concordance de marche des appareils.
En effet, lorsque la conversation est terminée, le poste appelant
appuie sur la touche repos; la touche 4 se relève et, le distributeur
continuant à tourner, le balai i. 2 envoie des courants alter natifs
qui doivent ramener toutes les aiguilles au repos après quatorze
émissions. A ce moment, une deuxième goupille m 2 , portée
par le disque m, rencontre lextrémité du levier s,
mis dans cette position par le courant dappel. Mais si, par hasard,
lune des aiguilles était en retard, les émissions
continuant encore à se produire par les plots suivants, cette aiguille
rattraperait les autres et la concordance serait rétablie.
A la fin du tour, le balai f 2 , en passant sur le plot 20, envoie un
courant négatif sur la ligne 1, et le balai i 4 , un courant positif
sur la ligne 2, le courant étant ainsi inversé dans lélectro-aimant
o de chaque poste, le levier s débloque la goupille m et, tout
étant revenu au repos, les appareils sont prêts à
fonctionner de nouveau.
Lorsquun poste veut téléphoner à un autre,
il abaisse la touche du clavier portant le numéro du poste demandé,
appuie sur le manipulateur k et observe si laiguille du galvano
mètre l dévie; lorsque cette aiguille se déplace,
le circuit électrique est fermé entre les deux postes; le
poste appelant abandonne le manipulateur /;, décroche le téléphone
et parle.
Au poste appelé, dès que lemployé entend la
sonnerie dappel, il abaisse une ou deux fois le manipulateur et
avertit ainsi le poste appelant quil a entendu son appel, puis il
décroche le téléphone et écoute.
Lorsque la conversation est terminée, lemployé du
poste appelé abaisse une fois le mani pulateur k et raccroche le
récepteur.
Lemployé du poste appelant, dès quil perçoit
cet indicatif de fin de conversation, rac croche le récepteur et
abaisse la touche de repos.
Ces appareils sont construits par la maison Mors
(France).
sommaire
5 - LA STATION AUTOMATIQUE SIEUR
Le but à atteindre était celui-ci :
Grouper un nombre relativement considérable dabonnés
sur une seule ligne et desservir automatiquement ce petit réseau,
chaque abonné nayant à exécuter que des manuvres
peu compliquées.
Comme conséquence, il fallait : 1° que le poste central pût
appeler chaque abonné sans déranger les autres et, réciproquement,
que chaque abonné pût appeler le poste central sans déranger
les autres abonnés ; il fallait, en outre, que chaque poste pût
sassurer que la ligne était libre ou occupée.
Le poste central possède une clé à quatre contacts,
placée sur la ligne principale qui aboutit à la station
automatique. De là partent toutes les lignes des abonnés.
Dans chaque poste dabonné est placé un inverseur de
courant (fig. 148) muni dun vibrateur; les étiquettes placées
sur le socle de lintrument ne laissent aucun doute sur la façon
dont il faut le manuvrer.
La station automatique comprend des relais polarisés et des électro-commutateurs
dont le nombre varie avec celui des lignes à desservir.
Dans le relais polarisé (fig. 149), un noyau D, monté sur
le ressort R, traverse une bobine B. Lextrémité d
du noyau D, qui peut se déplacer entre les butées ab est
en regard des pièces polaires NS de laimant A; elle est en
équilibre entre ces deux pièces. Daprès le
sens du courant qui traverse lenroulement de la bobine B, l'armature
D est attirée par une des pièces polaires et repoussée
par lautre; cette double action donne au relais une grande sensibilité.
Suivant le sens du courant, la partie d du noyau D viendra sappuyer
sur a ou sur b.

Les électro-commutateurs se composent dun aimant en fer à
cheval NAS (fig. 150) pivotant sur les vis V, V'. Un électro-aimant
BB' a ses pièces polaires DD' en regard des pôles NS de laimant.
La face supérieure de laimant porte une réglette en
ébonite dans laquelle sont incrustés des contacts métalliques
sur lesquels reposent deux jeux de ressorts. Suivant la pola rité
donnée par le sens du courant aux bobines BB', laimant pivote
autour de son axe et, en se déplaçant sous les ressorts,
modifie les communications établies entre les deux jeux de ressorts.
Les vibrations de larmature de linver seur de courant peuvent,
par un réglage convenable, produire un son assez intense pour attirer
lattention et servir de signal dappel.

Le poste central dune station à quatre directions (fig. 151)
dispose de quatre signaux pour appeler les quatre bureaux correspondants
:
En appuyant sur la clé 1, il lance sur le fil n° 1 de la ligne
principale un courant positif et appelle labonné n° 1
;
En appuyant sur la clé n° 2, il lance sur le fil n° 1 de
la ligne principale un courant négatif et appelle labonné
n° 2;
En appuyant sur la clé n° 3, il lance sur le fil n° 2 de
la ligne principale un courant positif et appelle labonné
n° 3 ;
En appuyant sur la clé n° 4, il lance sur la ligne principale
un courant négatif et appelle labonné n° 4.
Dans la position normale, aucune des lignes dabonnés ne communique
avec la ligne prin cipale, mais chacune delles est reliée
à un électro-commutateur. Cest par lorientation
des relais polarisés et des électro-commutateurs que la
liaison des lignes a lieu et que les appels se produisent.
La conversation entre le poste central et lun quelconque des postes
dabonnés greffés sur la station automatique a lieu
dans les conditions ordinaires et le poste central peut relier labonné
appelant à tout autre abonné du réseau général;
mais alors, lorsque la conversation est terminée, labonné
greffé doit non seulement donner le signal de fin de conversation,
mais aussi redresser l'électro-commutateur de la station automatique
par un double mouvement de son inverseur.
Si un poste appelle pendant une conversation entre deux autres postes,
il est averti que la ligne est occupée, car son vibrateur ne fonctionne
pas au moment de lappel. Le poste appelant doit alors laisser son
commutateur dans la position remise et attente de ligne. Dès que
le signal de fin de conversation du poste qui immobilise la ligne sest
produit et a redressé lélectro-commutateur, le vibrateur
du poste en attente fonctionne et ce poste peut appeler.
Les stations automatiques Sieur sont construites par la maison L.
Digeon et C ie .
sommaire
VI - TABLEAUX TÉLÉPHONIQUES
6 - 1 Tableau téléphonique DUCOUSSO.
Ces tableaux sont monocordes.
Il en existe deux modèles: lun, permettant détablir
la communication entre deux quelconques des lignes aboutissant au tableau,
mais laissant la faculté au poste central de se placer en dérivation
sur la communication établie et, par conséquent, découter
les conversations; lautre, dit à communications secrètes,
permettant également de mettre en relation deux quelconques des
lignes reliées au tableau, mais ne permettant plus au poste central
de surprendre les conversations.
Le tableau pour les communications ordinaires comprend autant dannonciateurs,
de clés dappel et de jacks quil dessert de lignes.
Le nombre des fiches est égal au nombre des lignes desservies plus
une.
Le tableau pour les communications secrètes comprend autant dannonciateurs,
de clés d'appel et défichés quil dessert de
lignes. Le nombre des jacks est égal au nombre des lignes desservies
plus une.
Chacun des tableaux est pourvu dun commutateur IOC, cest-à-dire
dun commutateur permettant dutiliser une sonnerie intermittente
(position I), de ne pas employer la sonnerie (position O), ou bien dobtenir
un tintement continu, tant que le volet de lannonciateur nest
pas relevé (position C).
En principe, les montages des deux genres dinstallation (fig. 153
et 154) diffèrent par les points suivants :
Dans le tableau pour communications ordinaires, les deux fils de chaque
ligne reliée au tableau aboutissent à la pointe et au corps
de la fiche, quelle que soit la position du jack ; les bornes L1,L2 du
poste central sont reliées à une fiche placée sur
le tableau.
Dans le tableau à communications secrètes, la fiche ne représente
l'extrémité de la ligne quautant que le jack de cette
fiche est au repos; si une fiche est introduite dans ledit jack, la ligne
est coupée en ce point et ne correspond plus avec sa fiche; les
bornes L,L2 du poste central sont reliées à un jack placé
sur le tableau.
Annonciateur.
Lannonciateur est dun modèle analogue à
celui quemploie la maison Postel-Vinay dans la construction de ses
multiples du système dÀdhémar.
Le noyau et les joues de la bobine forment une seule masse de fer doux
sur laquelle est vissée une plaque, également en fer doux,
qui supporte larmature. Cette armature est réunie à
la plaque par un ressort-lame en acier, fixé de part et dautre
par deux vis.
Larmature supporte une tige à crochet en laiton qui soutient
le volet ou bien labandonne, suivant que l'armature est au repos
ou attirée.
Lorsque larmature est attirée, la tige de laiton rencontre
une vis qui, tout en limitant la course de cette tige, joue un rôle
électrique; en effet, le contact de ces deux pièces ferme
le circuit qui assure le fonctionnement intermittent de la sonnerie.
D'autre part, le volet, en tombant, met en relation un mince ressort d'acier
à contact platiné avec une autre vis et ferme ainsi le circuit
qui assure le fonctionnement continu de la sonnerie.
Lune ou lautre des deux vis est dans le circuit de sonnerie
ou bien elles ny sont ni l'une ni lautre; cela dépend
de la position delà manette du commutateur IOC.
Lenroulement de la bobine de lannonciateur a une résistance
de 200 ohms.
Par-dessus cet enroulement, dont les extrémités se terminent
par des boudins, se trouve un autre enroulement en fil de cuivre nu de
0,40 mm de diamètre, enroulement fermé sur lui-même
et constituant autour de la bobine proprement dite une gaine de cuivre
qui a pour objet déviter linduction mutuelle entre
les annonciateurs voisins.
Jack.
Le jack est simple et robuste. Il se compose d'un massif en laiton
dont la partie antérieure, évidée, forme la douille
dans laquelle sengage la fiche ; cette partie est fixée par
deux vis à lébénisterie du tableau.
Sur la partie postérieure du massif sont boulonnés deux
ressorts dinégale longueur. Le boulon est complètement
isolé ; les ressorts sont isolés lun de lautre
et du massif.
Des équerres en laiton, garnies de vis, servent à assujettir
les fils de communication abou¬ tissant aux ressorts. Au repos, le
ressort long, celui qui doit prendre communication avec le corps de la
fiche, repose sur une goupille isolante enfoncée dans le massif
du jack ; le ressort court, celui qui doit être en relation avec
la pointe de la fiche, sappuie directement sur la masse métallique
du jack ; cette liaison cesse dexisler lorsque la fiche est enfoncée
dans le jack.
Fiche.
La fiche, à deux conducteurs, ne présente aucune
disposition particulière; elle comprend un corps et une pointe
isolés lun de lautre.
Commutateur. Le commutateur IOC est bien connu : cest une
manette centrale à laquelle aboutit le conducteur à permuter
et qui peut, à volonté, être posée sur les
plots I, O ou C.
Clé d'appel.
Cest un bouton-poussoir actionnant un ressort qui, au repos,
reste appliqué sur un contact en relation avec lannonciateur
et qui, lorsquon appuie sur le bouton, prend contact avec le plot
de pile, représenté par une barrette en laiton commune à
toutes les clés.
A lintérieur du tableau, la borne CA correspond aux plots
de travail , p2 de chacune des clés dappel, la borne CS à
laxe de la manette du commutateur IOC, la borne S à la masse
m1 m2, ..., de chacun des annonciateurs. Le plot 1 du commutateur est
relié aux vis supérieures ur w2, ..., des annonciateurs,
le plot C aux vis inférieures v1, v.2 ; le plot O est isolé
et dépourvu de toute communication.
Dans chaque circuit de ligne, la borne L, est reliée au ressort
R de la clé d'appel, la borne L2 à la pointe de la fiche
(F,, F2, ...), avec une dérivation en d sur le ressort court r
du jack. Le plot de repos q de la clé dappel est réuni
dune part, en rt, à lentrée de la bobine de
lannonciateur, de lautre au ressort long s du jack avec, en
/*, une dérivation sur le corps de la fiche ; enfin la sortie b
de la bobine de l'annonciateur est en relation avec la masse n du jack.
Fonctionnement du tableau ordinaire.
Au moment de lappel, provenant dune des lignes qui
aboutissent au tableau, le volet de lannonciateur correspondant
tombe ; la sonnerie ne fonctionne pas si la manette du commutateur est
sur le plot 0; elle fait entendre un tintement continu si la manette est
sur le plot C ; elle nest actionnée quà chaque
attraction de larmature de lannonciateur si la manette repose
sur le plot I.
Pour répondre, la personne préposée au service du
tableau enfonce la fiche F dans le jack de la ligne qui a appelé
et presse sur la clé dappel de la même ligne; elle
peut également faire usage du bouton dappel de son propre
transmetteur. Le circuit 1 demande la communication avec le circuit 2
; la fiche F, est aussitôt introduite dans le jack J de droite.
Le poste central peut alors laisser la fiche F dans le jack J de gauche
ou la retirer. Sil la laisse, il se trouve en dérivation
sur les deux circuits reliés ensemble et peut saisir les conversations;
il est à remarquer que si, dans cette position, il presse sur son
bouton dappel, il appellera le poste terminus de chacun des deux
circuits 1 et 2.
Pour éviter les indiscrétions pouvant provenir de la dérivation
que le poste central a la faculté détablir, M. Ducousso
a construit son tableau à communications secrètes.
Fonctionnement du tableau a communications secrètes.
Lappel au poste central a lieu comme dordinaire ; il
est signalé par la chute du volet et, sil y a lieu, par le
tintement de la sonnerie. Pour répondre, il suffit au poste central
dappuyer sur la clé située au-dessous du volet tombé;
mais, pour se mettre en relation avec le circuit doù provient
lappel, il faut introduire la fiche de ce circuit dans le jack J.
Soit le circuit 1 appelant: la fiche F, est introduite dans le jack J
; le circuit 1 demande la communication avec le circuit 2 ; la fiche F,
est retirée du jack J et introduite dans le jack J2. La communication
entre 1 et 2 est alors absolument secrète; cest en vain que,
pour prendre une dérivation sur les circuits 1 et 2 associés,
le poste central intro¬ duirait la fiche F2, restée libre,
dans le jack J. En effet, la fiche F,, placée dans le jack J2,
a soulevé les ressorts s, r; le ressort r na plus de communication
avec la masse n du jack et, par consé¬ quent, la borne L2 ne
communique plus avec la fiche F2 ; la pointe de la fiche du circuit appelé
est donc isolée, tant que la fiche du circuit appelant reste dans
le jack du circuit appelé. Le rappel de lun ou lautre
circuit peut toujours avoir lieu par la clé dappel qui lui
est propre.
Tableaux sans clés dappel.
Tels que nous les avons décrits, les tableaux Ducousso ne
fonctionnent pas avec la nouvelle installation des postas dabonnés,
seuls admis sur les réseaux français depuis le 1er janvier
1900 ; il a donc fallu modifier leur construction pour les adapter tant
aux anciens quaux nouveaux aménagements. La transformation
est dautant plus heureuse quelle simplifie le tableau.
Dans le poste dabonné, pour assurer lindépendance
des circuits, la pile de microphone a été séparée
delà pile d'appel. Les pôles de la première sont reliés
aux bornes ZM, CM, les pôles de la seconde aux bornes ZS, CS. La
liaison ZM, ZS, L2, S2, a été supprimée. La clé
dappel est double. Pour approprier ses tableaux à ce nouveau
montage, M. Ducousso supprime ses clés d'appel ; il enlève
le fil de liaison pf, p2, CA et réunit le point R au point e.
Avec cetle nouvelle disposition, lappel des abonnés reliés
au tableau se fait toujours par la clé d'appel du poste téléphonique
amené audit tableau.
Ces tableaux sont construits par la Société des établissements
Postel-Vinay.
sommaire
6 - 2 Tableau téléphonique MANDROUX
Ce sont des tableaux monocordes que l'on peut aussi bien employer chez
les abonnés que dans les bureaux centraux.

Annonciateur. Lannonciateur ne présente rien
de particulier : cest un électro-aimant à deux bobines
(,fig. 155), dont larmature terminée par un crochet soutient
le volet qui, au repos, masque le numéro de la ligne.
Conjoncteur. Le conjoncteur (fig. 156) se compose de trois
blocs en laiton D, F, H isolés les uns des autres par la plaque
d'ébonite F.. Les blocs D et F, ainsi que la plaque débonite
E sont perforés de part en part. Le trou est calibré de
façon à recevoir une fiche qui y pénètre à
frottement. Des ressorts en acier r, r' sont vissés sur les plots
D, F. Logés dans des rainures, ces ressorts ont leur face interne
arrondie et font légèrement saillie à l'intérieur
dutrou. Le ressort/ est, en outre, garni dun contact platiné
et repose sur un contact semblable soudé sur la pièce IL
En temps normal, la pièce D est en communication avec la pièce
II par le ressort r. Lorsquune fiche est enfoncée dans le
trou, le ressort r est écarté et la pièce H reste
isolée des pièces D et F.
Le conjoncteur est fixé au tableau par les boulons d, , h. Le boulon
cfcommunique avec D, mais est isolé de F ; h communique avec II,
mais est isolé de F est relié à F.
Les deux fils de ligne aboutissent à d et à /; le
fil de lannonciateur est fixé à h.
Fiche. La fiche est représentée en profilet
en coupe sur la figure 156. La pointe A2 est en relation avec lun
des fils de ligne, le corps A avec l'autre ; A2 est évidemment
isolé de AL Les deux conducteurs du cordon souple sont attachés
en II1 et B2 dans une boîte cylindrique dont les deux parties sont
isolées par la rondelle i. Cette boîte peut tourner autour
de laxe VA2 et le système est assemblé par la vis
V. Un ressort à boudin R laisse une certaine élasticité
aux parties mobiles, ce qui permet à la boîte B'B2 de tourner
librement. Un jeton démail est calé au-dessus de la
tête de la vis V et porte le numéro de la ligne à
laquelle est affectée la fiche.
 |
Clavier découte.
Les commutateurs qui mettent les lignes en relation avec le
poste dopéra¬ teur sont des touches qui forment un
clavier (fig. 157).
Les touches sont numérotées comme les lignes auxquelles
elles correspondent; elles communiquent toutes avec lappareil
d'opérateur, de sorte qu'en abaissant une touche on met la
ligne quelle représente en relation avec le poste; mais
les mélanges sont évités, car, en abaissant une
touche, on déclenche la touche préalablement abaissée
qui reprend automatiquement sa position de repos. Il ne peut donc
jamais y avoir quune seule ligne reliée au poste dopérateur,
la mise en communication dune ligne interrompant lautre.
Une pédale neutre permet dailleurs de relever toute touche
abaissée sans qu'il soit nécessaire den abaisser
une autre.
Le mécanisme de chaque ttfuche est le suivant :
AB est un levier qui porte en A le numéro de la touche ; il
pivote autour de laxe F. Un second levier coudé CGD,
repose sur le premier, pivote autour de l'axe G et porte un ressort
M ; il sappuie sur un autre ressort N, mais en est isolé
par la goupille débonite E. La partie C, qui repose sur
lextrémité B de la touche, porte un appendice
biseauté a. En regard, la pièce JH, montée sur
un axe indépendant H, est également biseautée;
le ressort P, fixé à l'ébénisterie de
lappareil, maintient JH dans la position que nous représentons.
Le ressort N est monté sur la pièce Q; I, L, K sont
des plots de contact servant dappui aux ressorts M, N dans leurs
différentes positions et assurant leurs communications électriques.
Dans la figure 157, la clé est au repos. Si on appuie sur la
partie A, le bras de levier B soulève C, la pièce biseautée
a glisse sur la pièce J et la rejette en arrière. Dès
que a a dépassé J dans son mouvement de bas en haut,
J, poussé par le ressort P, se porte vers la droite, passe
au-dessus de a et le levier CGD reste accroché sur J. A ce
moment, le ressort N a abandonné L pour sappuyer sur
K; le ressort M a pris contact avec I. Les choses restent en cet état
jusquà ce quune nouvelle touche soit abaissée,
lenclenchement de celle-ci provoquant le déclenchement
de celle-là, parce que la pièce J est une réglette
commune à toutes les touches.
Clés dappel. La clé d'appel consiste
en un bouton-poussoir qui déplace simultanément deux
ressorts et les amène de leurs plots de repos sur leurs plots
de travail. Il existe une seule, paire de clés par tableau. |
Communications intérieures. La figure
157 les représente pour une ligne à double fil. La prise
de communication du poste dopérateur est assurée par
la mâchoire à quatre con¬ tacts V, dans laquelle on introduit
la fiche à quatre lames m(, n,, o,, p, qui, par un cordon souple,
correspond à l'appareil combiné Y.
Les tableaux Mandroux pour les bureaux centraux sont à 20, 40 et
00 directions. Pour les abonnés, on les construit depuis deux directions.
Ces appareils sont exposés par linventeur et par la maison
Mors (France).
sommaire
6 - 3 Tableau téléphonique
TABLEAU MILDÉ A LEVIERS
Annonciateur. Lannonciateur est un électro-aimant
à deux bobines B (fig. 158), dont la masse est constituée
par la platine métallique ACD. La résistance totale des
deux bobines est 200 ohms.
Larmature a est montée sur un levier coudé pivotant
autour des vis Y et terminée à un bout par le crochet E,
à V
lautre par le ressort R. La vis à contre-écrou V,
limite le mouvement de bascule en sappuyant sur le massif ACD.
Le ressort R prend contact avec la colonne F, lorsque larmature
a est attirée. Celte colonne est isolée du massif ACB par
la rondelle e. Le volet U, monté à charnière sur
la plaque U,, tombe lorsque larmature a est attirée et, dans
sa chute, rencontre le bouton S relié à D.
Levier. Le levier se compose de deux ressorts isolés
lun de lautre et commandés en commun par une manette
à came agissant sur un piston. Lorsque la manette est relevée,
lun des ressorts est appuyé sur le plot de repos; lautre
ressort est isolé; lorsque la manette est abaissée, le premier
ressort prend contact avec le plot de travail, et lautre ressort
avec le plot de travail.
Communications intérieures. A la partie supérieure
du tableau, il existe deux bornes de sonnerie S, S et autant de paires
de bornes que de lignes arrivant au tableau. A la partie inférieure,
on trouve quatre bornes, deux pour la pile CZ, deux pour le transmetteur
L. La figure 159 représente les communications dun tableau
à deux directions.
sommaire
6 - 4 Tableau téléphonique SIEUR

Annonciateur. Il sg compose dun électro-aimant
horizontal E (fig. 100) dont le noyau, garni de pièces polaires,
agit sur une armature AB suspendue par laxe O. Le poids de la branche
OA suffit pour maintenir larmature écartée des pièces
polaires. Lorsque larmature A est attirée, le volet D tombe,
rencontre la vis Y et ferme ainsi le circuit dune pile locale sur
une sonnerie; le tintement de la sonnerie dure tant que le volet nest
pas relevé. Dans un autre genre de montage, la vis Y est située
au- dessus du crochet B, de sorte que la sonnerie fonctionne seulement
chaque fois que larmature A est attirée.
Conjoncteur. Le crochet C est fixé par le ressort
R et la vis V sur le patin métallique AB, boulonné lui-même
sur lébénisterie du tableau. La vis F traverse librement
le patin AB et sa tête limite la course du crochet C. Tel est le
conjoncteur pour ligne à simple fil; mais, si lon veut couper
lannoncia¬ teur, on place, en arrière de F, une butée
qui communique avec cet annonciateur; la communication entre F et sa butée
est coupée lorsquune clé est introduite entre C et
AB. En faisant usage, pour chaque ligne, dun crochet monté
comme nous venons de lindiquer et dun autre agencé
simplement, comme le montre la figure 161, on peut, en plaçant
la clé sur lun ou sur lautre, couper lannonciateur
ou le laisser en dérivation. Pour les lignes à double fil,
on attribue deux ou trois crochets pour chaque ligne. Lorsque le conjoncteur
comporte trois crochets, la clé placée sur le crochet de
droite et sur celui du milieu laisse lannonciateur en dérivation;
elle le coupe si on le met sur le crochet de gauche et sur celui du milieu.
Clés. La clé pour simple fil est un anneau
auquel on attache le cordon souple préala¬ blement dénudé
; le point de liaison est protégé par un manche en ébonite.
La clé pour ligne double est formée par deux crochets métalliques
isolés lun de lautre (fig. 162).
Communications. La figure 163 montre les communications
dun tableau à deux direc¬ tions pour lignes doubles.
Ces tableaux sont construits et exposés par MM. Digeon
et Cle (France).
sommaire
6 - 5 Tableau téléphonique DE
LA SOCIÉTÉ INDUSTRIELLE DES TÉLÉPHONES
La multiplicité des tableaux construits par la Société
industrielle des Téléphones ne nous permet pas de les décrire
tous en détail ; nous en ferons connaître les organes en
insistant sur les types les plus répandus.
 
Fig. 169. Tableau à cinq directions
de la Société industrielle des Téléphones.
  
Fiche. La fiche, représentée par la figure
168, comporte une pointe et un corps isolés lun de lautre.
Le cordon souple à deux conducteurs, recouvert dune tresse
de soie,
Annonciateurs. La Société utilise dans le
montage de ses tableaux trois types dannon¬ ciateurs. Dans le
premier (type A, fig. 164), lélectro-aimant est à
deux bobines verticales dont la résistance totale est de 200 ohms.
Dans le second (type B), il nexiste quune seule bobine horizontale
de 100 ohms; le levier qui porte larmature est coudé et ramené
au repos par son propre poids. Dans le type C, la bobine unique est horizontale
et de 200 ohms.
Commutateurs a leviers. Ce sont deux ressorts, isolés
lun de lautre, se déplaçant simultanément
sous laction dun levier qui, lorsqu'on labaisse, chasse
un piston qui commande les ressorts. Seul, le ressort le plus long sappuie
sur un contact de repos; les contacts de travail sont représentés
par deux barrettes qui courent le long du tableau, en regard des extrémités
libres des deux ressorts, et qui communiquent avec le transmetteur. Il
existe autant de leviers que dannonciateurs. On peut exceptionnellement
mettre deux lignes en communication en abaissant les deux leviers correspondants;
mais le poste qui donne la communication reste en dérivation.
Certains tableaux sont montés avec des annonciateurs polarisés
; il en existe quatre types.
Type A : Cest un aimant en fer à cheval, entre les
pôles duquel oscille une pièce de fer doux fixée à
lextrémité du noyau dune bobine délectro-aimant.
Cette bobine est montée sur un des bras d'un levier coudé
pouvant pivoter autour dun axe fixe et dont lautre bras, terminé
en crochet, retient le volet. Suivant le sens du courant qui traverse
la bobine, ladhérence entre le crochet et le volet est augmentée,
ou bien le volet est déclenché.
Type B : Il comprend deux bobines montées sur lun
des pôles dun aimant recourbé à angle droit.
Le second pôle supporte une armature maintenue à égale
distance de deux pièces polaires placées sur les noyaux
des bobines. Le crochet qui termine larmature soutient un volet.
Lorsque léquilibre est rompu par le passage du courant, larmature
est sollicitée vers le haut ou vers le bas, suivant le sens de
ce courant: cest dans le second cas que le volet tombe.
Type D : Laimant est recourbé deux fois à angle
droit; cest une variante du type B.
Type L : Dans ce modèle, le noyau de la bobine constitue
lun des pôles dun aimant recourbé à angle
droit. Le volet est fixé à une pièce de fer doux
articulée sur lautre pôle ; il nest retenu que
par le noyau de la bobine aimanté par contact; le sens du courant,
traversant la bobine, peut donc ou bien augmenter ladhérence
ou bien la diminuer et alors le volet tombe.
Revenons à lannonciateur ordinaire du type A (fig. 164);
avec ce modèle, on fait généralement usage dun
commutateur que l'on désigne par le nom de I O C, et qui permet
de mettre une sonnerie en circuit par intermittence, de la supprimer ou
de là rendre con tinue.
Chaque suppor dannonciateur est relié au support voisin par
un fil isolé.
Les bornes I sont montées sur le support, mais isolées de
lui par un manchon divoire ; on les relie ensemble par un fil de
cuivre nu pincé sous une vis que porte chaque colonne.
Les bornes C sont montées dans lébénisterie
et réunies entre elles par un fil isole. des Téléphones.
Détails de construction.
Le volet, en tombant, sappuie sur la borne C.
La course et la sensibilité de larmature sont réglées
par des vis, dont lune surmonte la colonne à laquelle est
relié le plot I, et dont l'autre est fixée à lébénisterie,
au-dessus du crochet.
Avec les différents annonciateurs dont nous venons de parler, on
emploie des commutateurs à levier ou des jacks-knives.

Fig. 170. Schéma des communications d'un tableau à
trois directions de la Société industrielle des Téléphones.
Conjoncteur jack-knive. On les établit pour lignes
simples et pour lignes doubles. Les conjoncteurs pour lignes doubles se
composent de deux plaques de laiton superposées et séparées
par une lame d'ébonite, le tout percé de deux trous, les
trous de la plaque inférieure étant plus petits que ceux
de la plaque supérieure. Les figures 166 et 167 représentent
cette disposition.
Dans la figure 167, m est un ressort de sûreté qui assure
un bon contact avec une fiche que lon introduit dans le jack. RR'
est un ressort de coupure qui sappuie sur une goupille a, en relation
avec lannonciateur. Au repos, le ressort RR réunit donc lannonciateur
au conjoncteur. Ce ressort RR' porte un goujon qui pénètre
dans le trou A. Les deux fils de ligne sont attachés, lun
en V, l'autre en U.
Lorsquune fiche est introduite dans le trou B, lannonciateur
resle en dérivation. Si, au contraire, on la place dans le trou
A, elle chasse le goujon, soulève le ressort RR' qui abandonne
la goupille a et lannonciateur est coupé.
traverse le lube qui forme le corps de la fiche ; les conducteurs sont
divisés à lintérieur; lun est fixé
au lube, lautre à la douille qui forme la pointe.
Communications intérieures. La figure 169 montre un
tableau à leviers à cinq directions
avec place pour le transmetteur; la figure 170 représente les communications
du même tableau, mais pour trois directions seulement.
La figure 171 est la vue dun tableau jack-knive à deux directions
pour ligne simple; la figure 172 montre les communications dun tableau
analogue à trois directions pour lignes doubles.
sommaire
6 - 6 Tableau téléphonique A LEVIERS
POUR LIGNES DOUBLES SYSTÈME CH. TOURNAIRE
Les communications qui peuvent être données simultanément
à des abonnés au moyen dun tableau à leviers
sont ordinairement très restreintes.
M. Tournaire a eu pour but den augmenter le nombre. Ses leviers
peuvent occuper certaines positions bien déterminées et
assurées parun procédé mécanique.

Chaque levier (fig. 173) est monté sur une pièce en ébonite.
Il comprend une manette métallique et deux ressorts- lames, situés
de part et dautre de la pièce débonite et isolés.
Chacun des ressorts est monté sur un axe autour duquel il pivote;
les deux axes se trouvant dans le prolongement lun de lautre,
il en résulte quen déplaçant la manette on
déplace du même coup les deux ressorts.
La manette ne peut occuper quun certain nombre de positions, 5,
6, 7 ou 8, suivant l'importance du tableau. Sur la tranche de la pièce
en ébonite est disposée, en regard de la manette et en prise
avec elle, une sorte de secteur denté, en acier, portant autant
de crans que le levier doit occuper de positions. La manette se termine
par un tube contenant un ressort à boudin et une bille dacier
qui repose sur la denture du secteur; il se produit alors, lorsquon
manoeuvre la manette, un mouvement très doux et une pression suffisante
pour la maintenir au fond des crans du secteur denté.
Sur la pièce débonite, en regard des pointes des ressorts
qui sont orientées différemment, sont disposés des
plots de contact. A chacun correspondent des vis sous lesquelles sontpincés
les fils de communication. Les fils de la ligne aboutissent aux deux ressorts.
La figure 174 montre le schéma des communications. Les paires de
bornes de 1 à 10 reçoivent les lignes que dessert le tableau.
La première position de chaque levier correspond au repos c'est
la position dattente pendant laquelle la ligne est en relation avec
lannonciateur d'appel.
. La seconde position sert à mettre lagent qui dessert le
poste en relation avec labonné appelant.
Les 3e, 4e, 5e, 0e positions sont utilisées pour mettre en relation
huit abonnés entre eux, cest-à-dire pour établir
quatre communications indépendantes et simultanées.
Ainsi, sil sagit d'un tableau à 10 directions,
Pendant ce temps les directions 8 ou 10 peuvent appeler le poste central
qui, à la rigueur, pourra les relier sur la 2e position ; le tableau
est alors immobilisé.
On pourrait évidemment augmenter le nombre des positions en augmentant
les dimensions du tableau ; mais nous ne pensons pas quil soit avantageux
de dépasser le chiffre de 8 positions correspondant à G
communications simultanées.
Pendant lintercommunication, lannonciateur de fin de conversation
reste en dérivation sur le circuit et indique, par la chute de
son volet, que la conversation est terminée.
Ce tableau est construit et exposé par la Société
industrielle des Téléphones (France).
sommaire
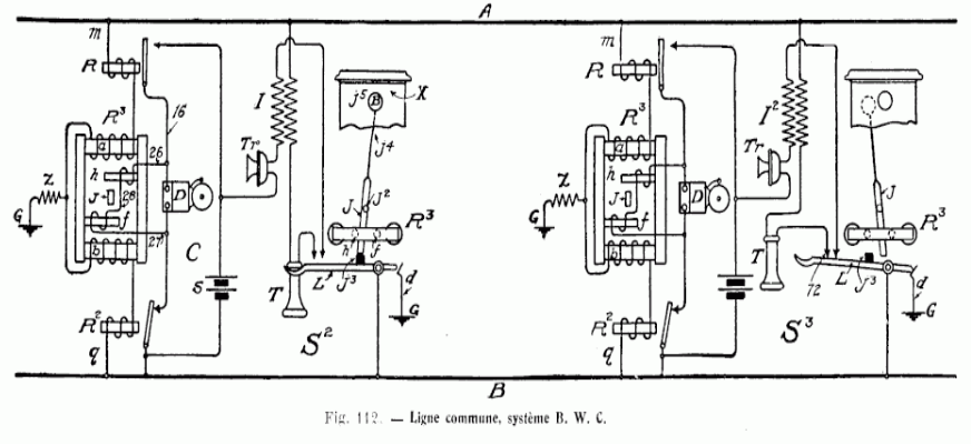
7 - Les lignes
communes aux USA.
Le terme « ligne commune » est employé pour désigner
les lignes auxquelles sont reliés plus de deux postes, lun
des postes étant généralement le bureau central,
par opposition à « ligne individuelle », qui relie
un seul poste avec un bureau central, ou a « ligne privée
» qui relie deux postes entre eux, sans passer par le bureau central.
Les lignes communes peuvent être divisées
en deux classes :
1° Celles dans lesquelles les sonneries de tous les postes
sonnent simultanément, un code étant employé pour
choisir les postes;
2° Celles dans lesquelles un système de sélection
est employé de façon que la sonnerie du poste appelé
soit seule actionnée.
Les premières sont connues sous le nom de « lignes sans sélection
» ou « lignes omnibus » ; elles se divisent elles-mêmes
en deux catégories :
- a) Lignes avec postes en série, dans lesquelles les sonneries
sont toutes reliées en série sur la ligne.
- b) Lignes avec postes en dérivation, où les sonneries
sont reliées en dérivation sur les deux fils de ligne.
La seconde classe, les lignes avec appel sélectif, se divise
en trois catégories :
- a) Lignes*".employant un mécanisme marchant par impulsions,
pour relier au poste appelé la. sonnerie à la ligne.
- b) Lignes dans lesquelles la sélection des sonneries se fait
au moyen de courant de diverses polarités.
- c) Lignes dans lesquelles des courants alternatifs de diverses fréquences
sont employés pour actionner les sonneries voulues.
Les systèmes sans sélection seront
dabord étudiés.
La figure 102 représente le schéma dune ligne à
simple fil reliant quatre postes système série.

On voit que le circuit de conversation entre deux postes traverse les
sonneries des autres postes, et, par suite, à. cause de limpédance
des bobines, lintensité de transmission est rapidement affaiblie
et on ne peut placer quun petit nombre de postes sur la même
ligne. Pour cette raison les sonneries sont enroulées à
une faible résistance (à 80 ohms en général).
Linduit de la magnéto nest pas dans le circuit car
il est mis en court-circuit par le commutateur au repos. On peut arriver
à sonner 50 sonneries en série, mais avec 25 postes la transmission
est déjà extrêmement faible.
Une autre objection au système série réside dans
ce fait quil est pratiquement impossible déquilibrer
la ligne, même lorsquelle est à double fil. Dans ce
dernier cas, on relie les postes sur un fil et sur lautre alternativement,
comme le montre la figure 103, mais cette précaution est insuffisante.

Le système série a été complètement
remplacé par le système en dérivation reposant sur
le brevet Carty.

La figure 104 montre quatre postes en dérivation reliés
à une ligne commune à simple fil.

Dans la figure 105 les postes sont reliés à une ligne à
double fil.

La figure 106 est la copie de la figure principale du brevet Garty
; elle montre 11 postes reliés à un même circuit.
Tous les postes sont semblables, mais le schéma du poste 9 est
seul montré. Les sonneries P de tous les postes sont reliées
en permanence à la ligne ; elles sont enroulées à
un grand nombre de tours afin davoir une impédance élevée
et par suite de ne constituer pour les courants vocaux quune dérivation
insignifiante. Leur résistance est généralement de
1.000 ohms mais souvent une résistance plus élevée
est adoptée. Le circuit de la magnéto G est normalement
coupé par le commutateur, et nest fermé que lorsquon
tourne la magnéto. Le circuit de conversation est normalement ouvert
au crochet commutateur, et est fermé lorsque le récepteur
est enlevé du crochet.
Il est nécessaire, afin dobtenir une grande impédance
pour les bobines des sonneries, de les enrouler avec un grand nombre de
tours de fil aussi gros que possible. La Western Electric Company emploie
du fil de 0mm18 pour 1.000 ohms. Quelques compagnies, afin dobtenir
une résistance élevée à moins de frais, emploient
du fil de maillechort ; mais il y a lieu de remarquer quune grande
résistance noffre pas dintérêt et quon
ne la recherche pas pour elle-même. On ne cherche quà
avoir un grand nombre de tours de fil, ce qui entraîne fatalement
une grande résistance.
Les magnétos doivent donner un débit relativement grand,
et le voltage doit être tel quil permette dactionner
la sonnerie la plus éloignée. Lorsque la ligne est longue
et résistante, des magnétos puissantes à quatre ou
cinq aimants sont nécessaires. Leur résistance est généralement
de 350 ohms.
Il semble bon demployer des bobines dinduction dont le secondaire
ait une faible résistance afin doffrir aux courants vocaux
un circuit ayant peu dimpédance. Ceci présente cependant
un petit inconvénient : si le récepteur est laissé
accidentellement décroché à lun des postes,
il est difficile de sonner les autres postes à cause de la faible
impédance du circuit de conversation qui absorbe le courant envoyé
par la magnéto. Sur les lignes placées dans la campagne
et servant à relier les fermes isolées, il arrive généralement
que les différents abonnés écoutent,
même lorsque lappel ne leur est pas destiné, et empêchent
dactionner les sonneries. On remédie à cet inconvénient
en plaçant un condensateur de un microfarad dans le circuit de
conversation de chaque poste. Ce condensateur naffaiblit que peu
la transmission, et il augmente la résistance de la dérivation
pour les courants dappel à faible fréquence.
Lorsquune ligne commune est reliée à un commutateur,
elle est munie dun annonciateur, suivant la pratique habituelle.
Il y a lieu de remarquer que lannonciateur joue le même rôle
par rapport à la ligne que les sonneries, et par suite il doit
présenter les mêmes propriétés, cest-à-dire
quil doit être à faible résistance pour le système
en série, et à grande résistance pour le système
en dérivation.
Sur les lignes à conversation taxée, une partie des taxes
est perdue par ce fait que les abonnés dune même ligne
cherchent à causer entre eux sans avertir le bureau central. Plusieurs
dispositions ont été essayées pour éviter
cet inconvénient. Lune delles consiste à munir
la ligne au bureau central dun annonciateur à très
faible résistance qui absorbe tout le courant émis par les
magnétos et évite que les sonneries des autres postes soient
actionnées lorsquun abonné appelle. Lenfoncement
dune fiche dans le jack de la ligne met hors circuit lannonciateur
à faible résistance et lopératricë du
bureau central peut appeler les abonnés. Ce système nest
bon que pour les lignes courtes. Lorsque la ligne est longue la résistance
de la ligne sajoute à celle de lannonciateur et les
postes éloignés peuvent sappeler.
La meilleure méthode consiste à munir les postes de magnétos
envoyant le courant dans un seul sens et de sonneries répondant
à un courant pulsatoire de sens inverse. De la sorte, lorsquun
abonné appelle, il nactionne pas les sonneries des autres
abonnés, mais lannonciateur du bureau central tombe. Lopératrice
peut appeler en envoyant du courant de sens inverse de celui donné
par les magnétos des postes dabonnés.
La suite de létude nous amène maintenant aux lignes
avec sélection, et dabord à celles employant des mécanismes
marchant par impulsions.
Le principe de celles-ci est lemploi à chaque poste dun
disque pouvant recevoir un mouvement de rotation par degrés au
moyen dune roue à rochets et dun cliquet actionné
par un électro-aimant. Les disques de tous les postes dune
même ligne tournent simultanément.
En un point de la circonférence de chaque disque est placé
un contact destiné à relier la sonnerie à la ligne
et à mettre le poste en état de transmettre et de recevoir.
Langle dont doit tourner le disque pour effectuer cette connexion
est différent pour tous les postes, et par suite lopératrice
peut choisir un poste en faisant tourner les disques de langle voulu
au moyen dimpulsions de courant envoyées sur la ligne, puis
en envoyant le courant dappel qui actionne la sonnerie du poste
choisi, sans déranger les autres postes. Quoique séduisant,
ce système na pas été beaucoup employé,
et ce nest que récemment quune grande compagnie a mis
sur le marché un appareil présentant toute sécurité
de fonctionnement. Lun des premiers appareils à marche par
impulsions, celui de Dickerson, datant de 1879, était muni de deux
disques, lun en matière isolante avec un petit segment conducteur,
et lautre en métal avec un petit segment isolant, correspondant
au segihent du premier disque. Le premier disque commandant le circuit
de la sonnerie, qui était reliée à la ligne lorsque
le segment conducteur venait en contact avec un balai, et le second mettant
en court-circuit le récepteur, sauf lorsque le balai appuyait sur
le segment isolant. On remettait tous les disques au repos à la
fin de la conversation en envoyant sur la ligne un fort courant. Un électro-aimant
spécial écartait à ce moment le cliquet darrêt
et libérait les disques quun ressort ramenait à la
position initiale. Les segments des disques occupant des positions différentes
pour tous les postes, le nombre dimpulsions à envoyer pour
chaque poste était variable.
A peu près à la même époque, George L. Anders
inventa un mécanisme à marche par impulsions, utilisé
dune façon tout à fait différente. Toutes les
sonneries des postes étaient reliées en permanence à
la ligne et elles fonctionnaient toutes simultanément. Un disque
présentant une encoche empêchait les marteaux des sonneries
de frapper les timbres, sauf pour le poste dont le disque, après
sa rotation, présentait son encoche en face du marteau. Les disques
étaient actionnés par des électro-aimants fonctionnant
au moyen dimpulsions émises sur la ligne.
Ces deux systèmes, qui ont été proposés
dans les premiers temps de la téléphonie, ont été
suivis par un grand nombre dautres plus ou moins compliqués
et possédant des caractéristiques ayant des valeurs diverses.
Mais il est surprenant que, étant donné le besoin dun
système dappel sélectif, aucun
système nait encore été trouvé qui ait
pu être accueilli favorablement.
De bons systèmes existent maintenant.
On peut notamment citer le système de sélecteur de la Western
Electric Company qui a été étudié principalement
pour les applications aux réseaux téléphoniques des
chemins de fer. Il est fait pour permettre de placer jusquà
125 postes par ligne
La Stromberg Carlson Téléphoné Manufacturing Company
construit en grandes quantités un système qui semble se
répandre dans les lignes placées à travers la campagne.
Il est employé pour les lignes ayant jusquà vingt
postes.
sommaire
Nous arrivons maintenant à la méthode la plus employée,
qui consiste à utiliser des courants de polarité différente
ou appliqués dans des circuits différents pour produire
lappel par sélection.
Ce système était déjà connu en télégraphie,
avant linvention du téléphone ; les systèmes
duplex et quadruplex sont une application de ce principe.
De même que pour le système à mécanisme à
marche par impulsions, George L.Anders fut un des promoteurs du système
et, en 1879, il inventa un mode dappel sélectif pour deux
postes sur une même ligne utilisant des sonneries polarisées
dans une direction différente aux deux postes et montées
en série sur la ligne. Ce fut la naissance des sonneries polarisées
dites « biaisées » dans lesquelles larmature
est munie dun ressort qui, au repos, la maintient oblique (en biais)
de telle façon que laction du courant qui traverse les bobines
dans une direction tend à renforcer laction du ressort, et
que seul un courant de sens inverse fait fonctionner la sonnerie.
Mr Augus. S. Hibbard, de la Chicago Téléphoné Company,
a employé le système à dérivation et son système
permet au bureau central dappeler sélectivement quatre postes
placés sur une même ligne. Ce système est presque
exclusivement employé par les Compagnies Bell, avec quelques modifications
nécessitées par les besoins du service. Le principe du système
Hibbard est montré sur la figure 107.

La sonnerie 1 est reliée entre le fil de ligne b et la terre ;
elle est polarisée négativement. La sonnerie 2 reliée
au même fil est polarisée positivement. De même les
sonneries 3 et 4 reliées au fil a sont respectivement polarisées
négativement et positivement. Au bureau central se trouve un générateur
de courants pulsatoires positif et négatif. En envoyant soit
le courant positif, soit le courant négatif, soit sur un fil, soit
sur lautre, on appelle le poste voulu sans déranger les autres
postes.
La figure 108 représente la disposition employée pour envoyer
le courant convenable.

La fiche dappel est munie de quatre clés dappel numérotées
1, 2, 3, 4 et correspondant aux numéros des postes de la ligne.
Les ressorts de ces clés sont disposés de façon à
effectuer les connexions voulues.
Dans le but déviter la complication des clés dappel
et de rendre le travail de lopératrice absolument uniforme,
quel que soit le genre de ligne que lopératrice a à
appeler, M. F. R. MacBerty, de là Western Electric Company,
a proposé un système très ingénieux montré
sur la figure 109.

Un jack est employé sur le commutateur pour chaque poste de la
ligne ; par conséquent une ligne à quatre postes aura quatre
jacks. La disposition des sonneries des postes est la même que celle
qui vient dêtre décrite. La ligne est munie de quatre
jacks 1, 2, 3 et 4 à trois contacts. Les connexions des ressorts
et de la douille des jacks par rapport à la ligne sont différentes
pour chaque jack, comme le montre la figure. Les clés dappel
des cordons sont munies dun ressort supplémentaire p qui
est relié au test de la fiche ; lorsque la clé est actionnée,
le ressort p vient en contact avec le ressort p' relié à
la terre. Les connexions des jacks et des fils de ligne sont faitps de
telle sorte que le simple enfoncement de la fiche dans un des jacks établit
les liaisons voulues avec le générateur dappel et
la sonnerie du poste correspondant audit jack est seule actionnée.
Ainsi, lorsque lopératrice veut appeler le poste 1, elle
enfonce la fiche dans le jack 1 de la ligne et abaisse la clé dappel.
Un courant pulsatoire positif est envoyé à travers la pointe
de la fiche, le ressort n du jack, le fil de ligne a et de là à
la terre à travers les sonneries 1 et 2. Le côté a'
de la ligne est mis à la terre à travers
le ressort n', la douille n2 et le ressort p de la clé dappel.
La sonnerie 1 fonctionne seule, car la sonnerie 2 nest sensible
quau courant négatif. On peut voir aisément quen
enfonçant la fiche dans les autres jacks, on appelle les postes
correspondants.
Le système présente de grandes facilités dexploitation,
car il nexige aucune manuvre spéciale de lopératrice.
De grandes difficultés ont été éprouvées
dans ladoption du système Hibbard sur les réseaux
à batterie centrale en ce qui concerne le fonctionnement des relais
dappel et des relais de supervision. En effet, on a vu que dans
la plupart des systèmes à batterie centrale, le fonctionnement
des relais était basé sur le fait que la ligne est ouverte
lorsque le récepteur est au crochet, et est fermée lorsque
le récepteur est décroché pour
la conversation ; louverture de la ligne est obtenue par lemploi
dun condensateur en série avec la sonnerie. Malheureusement
lorsque des sonneries « biaisées » sont employées,
le condensateur doit être abandonné, car les sonneries ne
doivent recevoir que du courant pulsatoire dans une direction ; lorsquon
intercale un condensateur, le courant pulsatoire devient alternatif, et
les sonneries sont actionnées quel que soit le sens du courant
pulsatoire.
Dans le système Hibbard, deux sonneries sont connectées
en parallèle entre chaque fil de ligne et la terre, ce qui donne
entre les deux fils de ligne une résistance égale à
une sonnerie seulement. Si les sonneries avaient seulement la résistance
ordinairement employée, les relais au bureau central fonctionneraient
constamment. Afin de remédier à cet inconvénient,
les sonneries ont une grande résistance, généralement
2.500 ohms, et elles sont montées en série avec une résistance
ayant quelquefois jusquà 20.000 ohms. Cependant, même
avec ces résistances, le réglage des relais est difficile
et il est bon déviter autant que possible ces conditions.
Une modification qui est beaucoup employée par les compagnies Bell
a été trouvée par MM. Thompson et Robes. Elle consiste
à munir chaque poste dun relais et dun condensateur
montés en dérivation sur la ligne ; le contact de ce relais
relie à la terre la sonnerie biaisée ordinaire.
La figure
110 montre la disposition générale du système.
Lorsque le courant pulsatoire convenable est envoyé sur un des
fils de ligne, lautre fil étant mis à la terre, les
relais de tous les postes fonctionnent par le courant qui traverse le
condensateur et ils relient à la terre les sonneries biaisées.
Le courant pulsatoire actionne alors la sonnerie voulue. Le système
fonctionne bien, et aucune difficulté nest rencontrée
dans le réglage des relais au bureau central, mais la complication
des postes dabonnés constitue une objection.
Un autre système de sélection par changement de polarité
est celui connu sous le nom de système B-W-C, du nom des
inventeurs MM. Barrett, Whittemore et Craft. Il nest
plus en usage, mais il a été un moment beaucoup employé
par les Compagnies Bell et, pour cette raison, et aussi à cause
de son extrême ingéniosité, il mérite une description
complète. Au point de vue commercial, il ne fut pas un succès
durable à cause de la difficulté dentretien, et, à
ce sujet, il est intéressant de noter quil constitue une
preuve que la complication des postes dabonnés ne peut être
acceptée dans la pratique téléphonique.
Ce système est basé sur lenvoi de courants de polarités
différentes sur lun ou sur les deux fils de ligne avec ou
sans retour par la terre. En appelant A et B les deux fils de ligne, les
combinaisons suivantes peuvent être faites :
1° Courant positif sur fil A, retour par la terre.
2° négatif A
3o positif B
4° négatif B
5° positif A, courant négatif sur fil B.
6° négatif A, positif B.
70 positif sur les deux fils A et B, retour par la terre.
8° négatif A et B
Huit postes 1 peuvent donc être placés sur une même
ligne.

La figure 111 montre le schéma dune ligne équipée
avec huit postes S, S2, S3, etc.
Chaque poste est muni de deux relais R et R2 reliés chacun entre
le fil de ligne et la terre. La sonnerie D est reliée à
une batterie locale 5 à travers les contacts des relais R et R2,
de telle sorte que le circuit est fermé et la sonnerie fonctionne
lorsque ces contacts sont tous deux fermés. Les relais diffèrent
par leur construction ou leur disposition pour chaque poste. Ainsi au
poste S le conducteur A est relié à un relais polarisé
sensible au courant positif, et le conducteur B est relié à
un relais ordinaire R2 qui fonctionne quel que soit le sens du courant.
Par conséquent, si un courant positif est envoyé sur A seulement,
la sonnerie fonctionne, car le relais R attire son armature et le relais
R2 reste au repos.
Le poste S2 est disposé comme le poste S, mais le relais R est
sensible au courant négatif. Il est appelé lorsque le courant
négatif est envoyé sur A. Les postes S3 et S4 sont respectivement
semblables aux postes S et S2 mais leurs connexions par rapport aux fils
A et B sont inversées. Leurs sonneries fonctionnent respectivement
lorsquun courant positif ou négatif est envoyé sur
le fil B seulement.
Le poste S5 a deux relais polarisés qui fonctionnent lorsque le
courant positif est envoyé sur A et le courant négatif sur
B. Le poste S6 est semblable au précédent mais inversé.
Le poste S7 a ses deux relais polarisés sensibles au courant positif
et le poste S8 a ses relais sensibles au courant
négatif. Ils fonctionnent donc lorsque le courant est envoyé
sur les deux fils en parallèle-.
Ainsi le circuit de la sonnerie est fermé à chaque poste
lorsque la combinaison de courants dappel voulue est obtenue, et
on voit aisément que pour chaque combinaison un seul poste est
appelé. Au bureau central, les cordons sont munis de groupes de
clés dappel K, dont les ressorts sont disposés pour
connecter convenablement la batterie dappel B' avec les fils de
ligne et la terre.
Dans lapplication du système, il a été reconnu
avantageux dutiliser seulement pour lappel sélectif
six des huit combinaisons possibles et den réserver deux,
la septième et la huitième, pour faire fonctionner un système
de blocage commun à tous les postes. La septième combinaison
(courant positif sur les deux conducteurs A et B en parallèle)
sert alors pour bloquer les appareils, et la huitième combinaison
(courant négatif) sert à les libérer.
Le système de blocage et le signal doccupation sont montrés
sur la figure 112.

Un appareil électromagnétique R3 est placé à
chaque poste, ses bobines a et b étant en série avec les
relais R et R2 respectivement.
Les noyaux des deux bobines sont réunis par deux traverses en fer,
formant ainsi un circuit magnétique fermé ; ces deux traverses
portent chacune le noyau dune petite bobine f et h dont les extrémités
libres sont à une petite distance lune de lautre. Entre
ces petites bobines est placée une armature polarisée J
pivotant autour dun axe J2 qui bascule dun côté
ou de lautre suivant laimantation des bobines / et h. Si un
courant traverse seulement lune des bobines a ou b, ou sil
les traverse toutes les deux en série, aucun champ magnétique
extérieur ne sera produit, car le circuit magnétique des
bobines est parfaitement fermé ; mais si le courant traverse les
deux bobines de façon que leurs flux soient opposés, des
pôles conséquents sont créés sur les traverses
de jonction des noyaux et les noyaux h et / se trouvent aimantés
et déplacent larmature J dans un sens ou dans lautre
suivant le sens du courant dans les bobines a et b. Cette action a lieu
lorsque les combinaisons 7 ou 8 sont employées, le courant étant
envoyé sur les deux fils en parallèle, avec retour par la
terre.
Larmature J sert à bloquer le crochet commutateur L, et elle
porte un voyant qui apparaît et indique que la ligne est occupée.
Lorsque lopératrice au bureau central abaisse la clé
de blocage (n° 7), tous les postes se trouvent simultanément
bloqués, y compris le poste demandé.
Afin que le poste appelé puisse répondre, des bobines placées
sur les noyaux h et / sont reliées en dérivation avec la
sonnerie, et connectées de telle façon que le courant qui
les traverse, lorsque le circuit de la sonnerie est fermé, est
dans une direction telle quil aimante les noyaux h et / dans le
sens voulu pour faire basculer larmature J et libérer le
crochet commutateur du poste.

La figure 113 montre la disposition de six postes connectés à
une ligne qui se termine au bureau central par un jack J à double
rupture et un annonciateur différentiel dont le milieu est relié
à la batterie B2. Les courants qui traversent les deux moitiés
de lenroulement de lannonciateur sont égaux et par
suite sannulent. Le courant qui circule sur les deux fils de ligne
est négatif et par suite il tend à maintenir les postes
non bloqués.
Lorsquun abonné décroche son récepteur, un
contact momentané du crochet commutateur relie le fil B à
la terre et permet ainsi à un courant intense de traverser un des
enroulements de lannonciateur qui fonctionne. Lopératrice
répond à lappel à la façon ordinaire.
Elle bloque les appareils en envoyant un courant positif avec la clé
7 et les libère à la fin de la conversation en envoyant
un courant négatif avec la clé 8.
Nous arrivons maintenant à la troisième méthode dappel
par sélection indiquée au commencement de ce chapitre, dans
laquelle lappel est fait au moyen de courants alternatifs de diverses
fréquences. Ces systèmes sont basés sur le fait quun
pendule a une période de vibration propre et quon peut le
mettre en vibration par une série dimpulsions en concordance
avec son mouvement oscillatoire particulier. Cest le phénomène
connu sous le nom de résonance.
Ce principe a été appliqué dabord en télégraphie.
Des courants alternatifs de différentes fréquences étaient
envoyés sur une même ligne par différents transmetteurs,
chaque courant étant capable dactionner une lame vibrante
à lun des appareils de réception seulement, et nayant
pas daction sur les autres appareils. Par ce moyen, chaque récepteur
répondait uniquement au courant émis par un des transmetteurs
et, par suite, tous les transmetteurs pouvaient être employés
simultanément ; on obtenait ainsi un système de télégraphie
multiple.
sommaire
Lemploi dun système de sonneries harmoniques
a été proposé avant 1880 par MM. Currier et Rice.
Ils employaient à chaque poste des aimants
dont les armatures vibraient à une fréquence déterminée
pour chaque poste et qui étaient montés en série
sur la ligne. En envoyant sur la ligne un courant alternatif de la fréquence
voulue, lun des aimants vibrait et fermait le circuit de la ligne
à travers une
sonnerie qui était actionnée.
Toutes les dispositions possibles ont été essayées
et, parmi les travaux les plus remarquables, on peut citer ceux de MM.
Elisa Gray, Frank L. Pope, et J. A. Lighthipe. La première installation
a été faite par la Bell Téléphoné Company
de Sacramento avant 1903.
Depuis M. W. W. Dean sest appliqué à résoudre
le problème et il a inventé un système dappel
par sélection pour quatre postes qui est beaucoup employé
par la Kellogg Company. Le circuit Dean est montré sur la figure
114.
Le cordon dappel porte quatre clés dappel qui servent
à envoyer des courants de diverses fréquences. Les postes
dabonnés sont munis de sonneries accordées pour être
actionnées en harmonie avec les courants dappel. Des courants
à 1.000, 2.000, 3.000 et 4.000 périodes complètes
par minute sont employés.
Le mécanisme de la sonnerie est montré sur les figures 115
et 116.
 
Les électro-aimants polarisés consistent en deux bobines
de la forme ordinaire, montées sur une traverse y et dont les extrémités
libres sont réunies par une plaque en laiton q fixée à
la plaque de base p. Des pièces polaires réglables SS laissent
entre elles un espace suffisant pour que larmature a puisse vibrer
librement.
Larmature vibrante montrée sur la figure 116 est composée
de deux pièces en fer doux bb rivées ensemble et entre lesquelles
sont placés un ressort c à la partie supérieure et
un ressort e à la partie inférieure. Le ressort c est fixé
dautre part au support de la sonnerie et le ressort e porte le marteau.
Un puissant aimant fixé à la traverse en fer a son extrémité
voisine de larmature mobile qui se trouve ainsi polarisée.
Lorsquun courant alternatif traverse les bobines, larmature
tend à vibrer à lunisson, par suite de laction
qui sexerce sur larmature suivant le principe connu pour le
fonctionnement des sonneries polarisées. Mais larmature ayant
une période de vibration propre, elle ne pourra vibrer que si la
fréquence du courant est en harmonie avec sa vibration particulière.
Les différentes périodes de vibration sobtiennent
en employant des marteaux de différentes grosseurs, comme il est
montré sur la figure 116.
La machine destinée à produire les courants dappel
est composée de quatre générateurs
ayant deux, quatre, six et huit pôles, tournant toutes à
1.000 tours par minute, ce qui donne des fréquences de 1.000, 2.000,
3.000, 4.000 périodes par minute. Afin que la vitesse des génératrices
reste bien constante, le moteur est muni dun régulateur montré
sur la figure 117.

Ce régulateur consiste en une balle b montée sur larbre
du moteur au moyen dun ressort. Lorsque la vitesse dépasse
1.000 tours par minute, la balle b, par suite de la force centrifuge,
sécarte et ferme un contact avec la butée a. La méthode
de réglage est la suivante : le moteur est fait pour tourner normalement
à 900 tours avec le voltage le plus élevé quil
est sujet à recevoir. Une résistance est placée en
série avec les bobines de telle sorte que
le moteur tourne à 1.100 tours avec le plus faible voltage quil
'peut éventuellement recevoir. Des connexions sont faites de façon
que la résistance additionnelle soit mise en court-circuit lorsque
la balle b du régulateur ferme le contact avec la butée
a. Il est évident par conséquent que lorsque la résistance
est en circuit, la vitesse tend à devenir trop grande, mais laction
de la force centrifuge écarte la bàlle b et, la résistance
étant court-circuitée, le moteur ralentit. En réglant
la tension du ressort, le moteur peut être réglé à
une vitesse de 1.000 tours avec une variation de moins de 1 %.
sommaire
Un autre système dappel sélectif par variation de
la fréquence du courant dappel, qui mérite de retenir
lattention, est le système Leich, possédé
par lAmerican Electric Téléphoné Company de
Chicago. Il est basé sur ce fait quun courant de haute fréquence
passe plus facilement à travers un condensateur quun courant
de fréquence plus faible, et que linverse
a lieu pour la transmission à travers une bobine de self-induction.
La figure 118 montre les circuits du système Leich.

Deux génératrices dappel sont employées : lune
à 1.200 périodes par minute et lautre à 3.600.
Quatre clés dappel sont disposées pour envoyer lun
ou lautre des courants dappel sur lun ou lautre
des fils de ligne, le retour se faisant par la terre. Chaque sonnerie
est associée avec un condensateur et une bobine de self-induction,
disposés de telle sorte quune sonnerie de chaque côté
de la ligne soit actionnée par les courants de grande fréquence
et lautre par les courants de faible fréquence. Les sonneries
1 et 3 sont sensibles au courant de grande fréquence. Elles sont
montées en série avec le condensateur et shuntées
par la bobine de self-induction à faible résistance. Les
sonneries 2 et 4, sensibles au courant à faible fréquence,
sont montées en série avec le condensateur et la bobine
de self-induction à grande résistance. Si le courant à
faible fréquence est envoyé sur le fil de ligne a, la plus
grande partie du courant qui traverse le poste 1 sécoule
à travers la bobine de self-induction, et la sonnerie nest
pas actionnée, car le courant total qui passe à travers
le condensateur est peu intense. Au contraire, tout le courant qui traverse
le poste 2 passe à travers la sonnerie et la bobine de self-induction
qui offre une résistance peu considérable ; la sonnerie
2 fonctionne. Lorsque le courant envoyé est à faible fréquence,
le courant qui traverse le poste 2 est faible, à cause de la self-induction
de la bobine, mais au poste 1, la plus grande partie traverse la sonnerie
qui est actionnée.
sommaire
|