LA RADIOTELEPHONIE
La radiotéléphonie désigne les
techniques de communication utilisant la radioélectricité,
c'est-à-dire les ondes hertziennes pour transmettre la voix humaine.
Nous avons délà étudié dans ce site, quels
étaient les principes de la téléphonie ordinaire
: un appareil microphonique , devant lequel on parle, est en circuit
avec une pile et la bobine primaire dun appareil dinduction.

Le secondaire est en relation avec la ligne à lautre extrémité
de laquelle se trouve un autre récepteur téléphonique
: quand on parle devant le microphone, les modulations de la voix changent
la résistance du microphone ; les courants envoyés dans
le primaire varient dintensité, ce qui amène une
variation correspondante du courant induit, et celui-ci, agissant sur
les bobines du téléphone, fait varier laimantation
de ses pôles et, par suite, attire inégalement la plaque
de fer qui vibrera synchroniquement avec la vibration de la voix qui
parle devant le microphone.
sommaire
LES PIONNIERS DE LA RADIOTELEPHONIE
Récepteur radiotéléphonique
Popoff-Ducretet.
En 1899-1900, M. Popoff démontra quil était
possible, pratiquement, de substituer des tiges métalliques aux
limailles de Branly et il créa la méthode radiotéléphonique
appliquée à la Télégraphie sans fil aux
grandes distances. Ses premières expériences en Russie
permirent de relier des postes distants de 50 kilomètres .et
privés de tout moyen de communication entre eux. Cette distance
a depuis été largement dépassée.
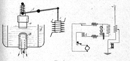
Cette figure est celle du radiotéléphone
Popoff-Ducretet Br, il comprend, renfermés dans une monture en
ébonite, avec dessus hermétique et déînontable,
deux supports électrodes E E, qui communiquent avec les
bornes extérieures 1 et 2; des tiges métalliques en acier
dur, parfaitement polies, reposent librement sur les supports E E,
elles y sont néanmoins retenues par les guides et arrêts
en matière isolante. Un dessiccateur De, avec carbure de calcium,
évite laction de lhumidité à lintérieur
de la monture du radiotéléphone Br.
Les tiges métalliques, qui remplacent la limaille, constituent
donc lorgane récepteur proprement dit ; au repos, la conductibilité
du système est plus grande que celle de la limaille des premiers
radioconducteurs. Le radiotéléphone possède une
très grande sensibilité ; de plus il est très fixe
et jouit de la propriété de revenir seul,sans frappeur,
à sa résistance initiale. Néanmoins il est bon
de donner de temps en temps avec le doigt quelques légers coups
sur la boîte. La réception des signaux Morse par points
et par traits se fait au son avec les téléphones Te Te.
La mise à lantenne collectrice Ga et la mise à la
terre Ca, se font comme il a été dit pour les radioconducteurs
à limaille.
Au repos, les tiges métalliques sont traversées par un
courant de très faible intensité ; lorsque, par lintermédiaire
de lantenne, les ondes hertziennes interviennent, la résistance
du système est diminuée, le courant passe plus fort et
un bruit est perçu au téléphone.
Le radiotéléphone complète les appareils à
relais ; lorsque ceux-ci, moins sensibles, cessent de fonctionner régulièrement,la
distance limite étant atteinte pour eux, lui continue à
recevoir nettement ; sa mise en ligne est immédiate et il est
toujours prêt à recueillir les signaux hertziens.
Comme il ne comporte ni relais, ni frappeur décohéreur,
ni sonnerie dappel, ni enregistreur Morse, il est extrêmement
léger et très portatif ; il convient donc parfaitement
aux postes militaires volants des armées de terre et de mer ;
avec un peu dhabitude, la lecture au son des signaux Morse noffre
aucune difficulté.
A bord des navires et sur les chemins de fer, ce radiotéléphone
nest pas influencé par les trépidations, ni par
le roulis et le tangage. Enfin il permet de reconnaître le caractère
vibratoire spécial à chaque interrupteur périodique
employé au transmetteur : un poste peut donc être distingué
dun autre et, au point de vue militaire,
cette particularité a son importance.
Les inconvénients du radiotéléphone sont les suivants
: d° faute denregistreur, il ne reste aucune trace des dépêches
reçues ; 2° comme il ny a pas de sonnerie dappel,
il est indispensable que quelqu'un reste constamment présent,
les oreilles au téléphone, à moins quon nait
convenu à lavance dheures de transmission.
Ajoutons quà cause précisément de sa grande
sensibilité, le radiotéléphone Popoff-Ducretet
ne donne de très bons résultats quaux grandes distances
; des ondes hertziennes émises à de faibles distances
impressionnent trop fortement le radiotéléphone de sorte
quil ne revient plus assez vite, de lui-même, à sa
résistance initiale.
1902 E. Ducretet
sinspirant des expériences de Bourbouze,
Preece et de Gavey, a repris en France létude de la Téléphonie
sans fil par la terre,ainsi que le constatent les Comptes-rendus
de lAcadémie des Sciences du 13 Janvier 1902.

Dans son dispositif il emploie un microphone puissant devant
lequel on parle et dont les multiples vibrations produisent les courants
variables au transmetteur. Les intonations de la voix, même les
plus faibles, sont ainsi transmises avec netteté et puissance.
Le courant de la pile mise est en transformé par une bobine dinduction
S. Chaque poste est double ; il comprend un transmetteur et un
récepteur téléphonique ; une clef spéciale
Ma à contacts multiples sur Mi et Tr permet demployer la
Télégraphie ou la Téléphonie sans fil, ainsi
quil vient dêtre dit, et de passer rapidement de lune
à lautre. Les téléphones TE TE sont
disposés avec commutation automatique. Les conducteurs allant
aux plaques de terre sont amenés en TT.
Jusqu'à cette date c'est encore de la transmission télégraphique
de signaux Morse.
sommaire
1902 Nathan Stubblefield
Le premier téléphone mobile avait été inventé
AVANT LA DECOUVERTE DE LA T.S.F, avec l'induction électromagnétique.
En 1902 il avait la taille d'une poubelle et avait une portée
d'à peine 800 mètres. Son inventeur était un ,
« agriculteur, fruiticulteur et électricien », qui
se décrit lui-même à cette époque comme le
père de la technologie mobile après avoir breveté
son invention « sans fil ».
Stubblefield a grandi
à Murray, Kentucky, et est parti en tant que jeune adolescent
pour s'inscrire au Male and Female Institute de Farmington, à
proximité. Malheureusement, ses études ont pris fin
à cause du décès de son père, laissant
Stubblefield sous la garde de sa belle-mère. Malgré
quelques circonstances désagréables, il n'a jamais
cessé de s'instruire en lisant des publications scientifiques,
comme Scientific American et Electrical World. Son mariage lui a
apporté une famille de neuf enfants, qu'il a entretenus grâce
à l'agriculture. Son inventivité et son industrie
l'ont amené à ouvrir une école à domicile
appelée « Nathan Stubblefield Industrial School ».
Au cours de sa vie, il a consacré de nombreuses heures et
investi son petit argent pour établir un service téléphonique
dans sa ville natale, essayant de connecter les ménages séparés
de la région. Ses tentatives ont commencé en
1886, lorsqu'il a commencé à vendre et à installer
des téléphones acoustiques qui transmettaient
les vibrations sonores entre deux caisses de résonance distantes
via un fil tendu au lieu de l'électricité. Il réussit
à étendre sa vente au Mississippi et à l'Oklahoma.
Ce succès fut bientôt suivi d'un autre puisqu'il obtint
le brevet américain 378 183 pour la conception d'un
« téléphone mécanique
», co-créé avec son partenaire
Samuel Holcomb. Cependant, il fut bientôt mis en faillite
par la franchise bien supérieure de téléphones
électriques Bell Telephone.
Néanmoins, Stubblefield n'a pas été découragé
par le fait d'être en dehors du jeu du « téléphone
» pendant un certain temps, pensant qu'avec un système
sans fil, il pourrait se connecter au Kentucky sans les dépenses
supplémentaires liées à l'installation de poteaux
ou de câbles et, en outre, il trouverait son propre marché.
Il s'est concentré sur l'induction électromagnétique
pour sa conception initiale.
Dans son verger, Stubblefield a construit un mât de 120 pieds,
capable de transmettre la parole d'un téléphone à
un autre en utilisant des champs magnétiques, créant
ainsi un téléphone à induction. Au cours des
années suivantes, Stubblefield a expérimenté
son téléphone mais n'a jamais réussi à
le faire fonctionner sur de plus grandes distances. Il décide
alors de se tourner vers un nouveau produit : un téléphone
sans fil basé sur la conduction naturelle.
|

|
La quantité totale de fil nécessaire
pour les bobines du téléphone était plus longue
que ce qui était nécessaire pour obtenir une simple
connexion, mais l'invention permettait la mobilité. Il a
simplement mis en pratique une notion courante : leau conduit
lélectricité. Ainsi, le système utilisait
une étendue deau ou de terre comme moyen de transmission
de la voix, au lieu dutiliser des fils dans un circuit électrique.
Stubblefield a fait la démonstration et la promotion de son
appareil sur la place publique de Murray le jour du Nouvel An 1902,
diffusant de la musique et de la voix vers des récepteurs,
l'un d'eux étant situé à cinq pâtés
de maisons. Un journaliste a été immédiatement
envoyé pour interviewer l'inventeur, qui, dans l'interview,
a prédit que son nouvel appareil serait utilisé pour
transmettre des nouvelles et des informations dans le monde entier.
Un groupe d'entrepreneurs new-yorkais s'est intéressé
à l'histoire, offrant un demi-million d'actions à
Stubblefield de la Wireless Telephone Company of America en échange
des droits sur sa remarquable invention. Il a accepté l'offre
et a rapidement organisé des manifestations publiques à
Washington et à Philadelphie qui ont été couvertes
par les médias. Cependant, une manifestation à Battery
Park, à New York, a échoué. La cause était
probablement le bruit de fond provoqué par les nombreux circuits
électriques qui étaient auparavant mis à la
terre dans cette zone densément peuplée. Stubblefield
a commencé à soupçonner qu'il était
impliqué dans un stratagème de fraude boursière,
doutes qui se sont concrétisés lorsque la Wireless
Telephone Company of America a fermé ses portes.
Stubblefield ne s'est jamais remis de cet échec, bien qu'en
1908 il ait breveté une nouvelle version conçue pour
communiquer entre les véhicules en mouvement tels que les
bateaux, les trains et les gares routières. Ses inventions
nont pas connu de succès commercial et il sest
retrouvé sans le sou. |
sommaire
Valdemar Poulsen
Il semble que les premiers
essais de téléphonie sans fil aient été
faits par le Danois Poulsen au moyen dun arc de son
système.
Poulsen est cet inventeur ingénieux dont on a pu admirer,
à lExposition universelle de 1900, le « Télégraphone»
(*) ce singulier appareil à la fois enregistreur et émetteur
de son et qui, lorsquon parlait devant lui, enregistrait la
voix sur une lame de métal aimantée en mouvement qui,
déroulée à nouveau plus tard, restituait fidèlement
les paroles gardées par elle électriquement et sans
lempreinte purement mécanique des phonographes ordinaires.
Poulsen a eu dautre part lidée de faire
de la T. S. F. au moyen des ondes quémet dans des conditions
déterminées un arc électrique parcouru par
un courant. Les ondes hertziennes ainsi obtenues ont une grande
fixité, une continuité excellente, en quoi elles sont
supérieures aux ondes saccadées et rapidement amorties
quémet létincelle électrique ordinaire.
Larc de Poulsen a marqué une étape importante
dans les progrès de la télégraphie sans fil,
et cest avec cet appareil que Poulsen fit les premiers essais
couronnés de succès de téléphonie sans
fil.
Ces essais, malgré leur succès, ont dailleurs
manifesté de grandes difficultés de mise en uvre,
provenant surtout de ce que les ondes électriques fournies
par laie sont très stables et quil est difficile
de les modifier en leur superposant les modulations de la voix,
de même quil est, si jose employer cette
image, difficile de modifier avec une rame le remous produit
par un gros remorqueur.
Pour y arriver, il faudrait employer dans les microphones destinés
à transmettre la voix de forts courants électriques
dont lintensité se concilie mal avec la délicatesse
de ces appareils sonores. Doù la nécessité
demployer alors des microphones spéciaux à grande
intensité, qui sont inférieurs comme fidélité
et sensibilité aux bons appareils des téléphones
ordinaires.
(*) Le Télégraphone
est inventé par Valdemar Poulsen en 1898. Cet appareil est
le premier à utiliser le principe de l'enregistrement magnétique,
c'est-à-dire la magnétisation d'un support se déplaçant
devant une tête d'enregistrement.
|
sommaire
André. Blondel
Cest au savant français, André.
Blondel, membre de lInstitut, que sont dus les premiers
travaux théoriques sur la téléphonie sans fil
; cest lui qui démontra le premier la nécessité
davoir des ondes de très haute fréquence et
entretenues si lon voulait pouvoir transmettre la parole sans
fil à de très grandes distances.
André Blondel entrevoit les possibilités de la radioélectricité
et ses travaux le conduisent en télégraphie et téléphonie
sans fil, la T. S. F., à traiter des bases de la réception,
de la transmission des ondes électromagnétiques ;
il fut un pionnier en ce qui concerne leur utilisation à
la radionavigation maritime et aérienne.
Ses premiers travaux concernent le récepteur des signaux,
appareil bien fruste à lépoque qui comportait,
inséré dans le circuit dantenne, un radioconducteur
aux bornes duquel en dérivation étaient connectés
une pile et un indicateur de courant. Le radio-conducteur, était
le fameux cohéreur à limaille métallique de
Branly, le premier en date quil singénia à
modifier et à perfectionner en vue de le rendre plus performant
par ladjonction dans un tube à vide dune réserve
de limaille.
En 1903, il expliqua le phénomène de cohérence,
passage de létat disolant à létat
de conducteur par la rupture de la couche isolante formée
doxyde à la surface de la limaille.
A la même époque, il expérimente lemploi
du téléphone comme récepteur qui présente
lavantage de filtrer les courants à haute fréquence
et de ne restituer que lenveloppe de ces derniers, cest-à-dire
le signal.
Entre 1898 et 1903, prenant comme point de départ
les idées de Heinrich Hertz et dHenri Poincaré,
il étudie la théorie des antennes et le rôle
de leur mise à la terre et rectifie des idées fausses
sur la forme des ondes propagées le long du sol que certains
auteurs considéraient comme affectant une forme torique à
grande distance alors que ces ondes deviennent sphériques
à partir dune courte distance de lémetteur.
Il fut le premier, à cette même époque, à
préconiser des systèmes dantenne directifs indiquant
des systèmes de radiateurs permet tant la concentration des
ondes par application dun principe identique à celui
des réseaux en optique. Il reconnut alors les propriétés
essentielles des cadres, établissant ainsi le principe de
la radiogonométrie.
Cest durant cette période quil rencontre le capitaine
Gustave Ferrié ; il travaillera avec lui jusquà
son décès en 1932 et les deux hommes seront liés
par une amitié sans faille.
Au dépôt des Phares, suivant les concepts de dArsonval
et de Tesla, il remplace à lémission la bobine
de RuhmkorfF par un transformateur à 25 000 volts branché
sur un circuit accordé.
En 1902-1904, avec Ferrié, cette disposition est expérimentée
avec succès au phare des Baleines, à la pointe N.O.
de File de Ré. |
sommaire
Mais tandis que Poulsen utilisait les ondes électriques
produites par son arc, Fessenden utilisait celles produites par un alternateur
à haute fréquence, cest-à-dire par une dynamo
à courant alternatif et dont le courant change de sens un très
grand nombre de fois chaque seconde.
1904 Frederick Collins
Pendant que Marconi, linventeur italien de
la radio, poursuivait et menait à bien ses expériences,
l'Américain, professeur Frederick Collins sappliquait,
de son côté, dans le silence de son laboratoire, à
découvrir le moyen de simplifier cette admirable invention
quest le téléphone.
Et il a touché le but, sil faut en croire les journaux
américains enthousiasmés. Cest même beaucoup
mieux que le topophone (*) du lieutenant Heap.
Linvention du professeur Collins diffère de celle de
Marconi en ce que les courants terrestres sont employés de
préférence aux courants atmosphériques. Le
professeur Collins réclamant lhonneur davoir
découvert la véritable téléphonie sans
fil est évidemment en train de prendre rang parmi les célébrités
du jour qui ont nom Edison, Tesla et Marconi. Pour ceux qui lont
vu entreprenant yankee à luvre, la possibilité
de la mise en pratique à bref délai de la nouvelle
découverte ne fait plus de doute. Ce nest plus quune
question de temps.
Le système du professeur Collins na pas encore atteint,
cela va de soi, tous les développements quon est en
droit den attendre ultérieurement. Nous devons cependant
ajouter quil est présentement en pleine opération
à Narberth, en pleine Pennsylvanie, où se poursuivent
tous les jours des expériences de plus en plus concluantes.
Le professeur Collins utilise, pour la transmission des sons articulés,
les courants que lon rencontre dans le sol terrestre ou des
vagues atmosphériques employées par Marconi. Chaque
poste ou station de téléphonie sans fil installé
à Narberth consiste en un trépied quelconque supportant
une légère boite de bois à laquelle sont fixés,
au moyen dune tige métallique conductrice, un transmetteur
du genre de celui dont on se sert pour les téléphones
ordinaires, deux bobines magnétiques enveloppées de
caoutchouc très résistant, et enfin, deux pièces
doublées de cuivre, communément appelées «
condensateurs électriques »
Au-dessous du trépied est enfouie dans le sol une pièce
de cuivre ou de zinc reliée par un simple fil métallique
au mécanisme de la boîte du poste. Il est bien évident
quavec une installation aussi primitive, on ne peut communiquer
que dune certaine façon, cest-â-dire quune
personne recevant ainsi une communication téléphonique
et que voudrait y répondre devrait avoir à côté
delle, outre lappareil récepteur, un appareil
similaire à celui de la station correspondante. Mais les
appareils destinés à un usage régulier comme
ceux par exemple qui sont en opération dans un grand établissement
de Philadelphie sont des appareils « à combinaison
» parce quils sont pourvus dun récepteur
et dun transmetteur, Leur apparence extérieure est
à peu près identique à celle des téléphones
qui ornent nos bureaux et nos maisons privées.
Le système de téléphone sans fil du professeur
Collins se base sur ce principe scientifique bien connu. En effet
les entrailles de notre planète sont chargées délectricité.
Il sagissait tout simplement de semparer de cette force
latente.
On conçoit naturellement que les courants électriques
passant à travers le sol entre deux stations ne sont pas
assez puissants pour transmettre les sons de la voix dun appareil
à lautre. Ainsi est-il absolument nécessaire,
pour le bon fonctionnement des appareils de renforcer ces courants.
Aussi de leur donner une puissance de vibration plus considérable.
Cela par le moyen des génératrices électriques
aux batteries qui supportent les trépieds dont nous avons
déjà parlé.
Cette augmentation de puissance électrique a son point de
départ, à proprement parler, à la pièce
de cuivre. On lenfouie dans le sol sous chaque appareil transmetteur
et récepteur. Dune plaque de cuivre à lautre,
lélectricité se transporte par les courants
terrestres avec une vélocité égale à
celle que met la lumière à se répandre. La
plaque de cuivre de lappareil récepteur intercepte
alors les vibrations de la voix mise en marche par le transmetteur.
Par la suite le courant les transmet à la lame métallique
vibrante. Cest là tout le secret de la téléphonie
sans fil.
Comme pour le système de télégraphie Marconi.
Le grand problème à résoudre qui nous occupe
consistait à trouver le moyen de permettre à plusieurs
personnes, dans une même localité, de se téléphoner
sans quil y eût confusion. Le professeur Collins prétend
avoir surmonté cette difficulté et voici comment :
Dans chaque téléphone, il place un couple de disques
semblables aux serrures à combinaison des coffres forts.
La résistance de chaque téléphone se règle
par ces disques ou clefs. Un abonné voulant téléphoner
à un autre abonné na quà rechercher
le numéro dinscription de ce dernier. Par la suite
il tourne le disque. Il le fait de façon à relier
son numéro à celui de labonné avec lequel
il veut communiquer. Tout se dit alors ! Un signal automatique avertira
lappelé et la conversation pourra sengager. Cela
sans quil ait à craindre que les autres propriétaires
de téléphone puissent entendre quoi que ce soit.
1904 Frederick Collins
(*) C'est pour remédier à ce défaut de l'audition
qu'un ingénieur du service des phares de Etats_Unis, M. Heap,
a imaginé un appareil très sensible, le topophone
(de topos, lieu, et phôné, voix) permettant de se rendre
compte du lieu d'où part le signal d'avertissement.
L'appareil est fait de deux récepteurs acoustiques dont les
pavillons sont dirigés en sens opposé, et dont les
embouchures sont élevées aux oreilles du marin par
des fils spéciaux. En faisant évoluer l'appareil,
on se rendra facilement compte de l'origine du signal, qu'il vienne
d'un point de la côte ou d'un autre steamer.
Topophone 
Brevet US590062A
le 14t Septembre 1897 |
sommaire
Reginald Fessenden
|
Né au Québec, Canada, en 1866, Fessenden
était apparemment déjà un prodige quand il
était enfant: à lâge de 14 ans seulement,
il reçut un prix de mathématiques de son collège.
Mais cest quand il avait 10 ans quil fit peut-être
une des expériences les plus marquantes de sa vie: il entendit
son oncle raconter une démonstration faite par linventeur
du téléphone, Alexander Graham Bell, qui habitait
une ville voisine. Bell, on le sait, émettait la voix par
des ondes délectricité voyageant le long dun
fil; or, selon des témoins, Fessenden demanda pourquoi
les fils étaient nécessaires, les ondes sonores
pouvant librement parcourir de longues distances.
Cet intérêt précoce devait
finir par amener Fessenden au monde de la radio, après
quil eut travaillé dans plusieurs autres disciplines
et passé quelque temps au laboratoire de Thomas Edison.
En 1900, soit près de six ans jour pour jour avant son
émission de Noël, Fessenden fut à lorigine
de la toute première émission radio de la voix humaine.
Ses travaux se fondaient sur la théorie des ondes continues
pour acheminer le signal radio, et non pas sur lidée
de Guglielmo Marconi pour qui il était nécessaire
de créer des ondes radio en générant toute
une série d«étincelles» discontinues.
Fessenden devait dans un premier temps améliorer le système
de Marconi en inventant lémetteur à éclateur
rotatif synchrone. Mais, ensuite, il mit au point une machine
capable de produire des ondes radio continues: un alternateur
haute fréquence (HF) dont un terminal était relié
à la terre et lautre à une antenne accordée.
En novembre 1906, il avait ainsi fabriqué un alternateur
HF qui fonctionnait dans la bande 5090 kHz, avec une sortie
maximale denviron 300 watts.
Le 23 décembre 1900, le Canadien
Reginald Fessenden transmet la voix humaine de Cobb Island
près de Washington, D.C., pour la première fois
de l'histoire. C'est en faisant un essai de modulation d'une onde
à haute fréquence avec un micro qu'il envoie ce
message à son collaborateur : "One, two, three, four.
Is it snowing where you are, Mr. Thiessen? If it is, telegraph
back and let me know." [« Un, deux, trois, quatre !
Neige-t-il où vous êtes M. Thiessen ? S'il en est
ainsi, rappelez-moi par télégraphe »]. M.
Thiessen ne tarda pas à rappeler Fessenden pour confirmer
qu'il avait bien reçu son message sur son récepteur
radio et qu'il neigeait.
La radio la transmission par modulation d'amplitude (AM)
de son et voix était née, et ce, un an avant
la transmission télégraphique (TSF) transatlantique
restée si célèbre de Marconi. Fessenden a
démontré que plusieurs théories de Guglielmo
Marconi étaient erronées. Il réussit à
transmettre des messages vocaux alors que Marconi, son rival juré,
ne pouvait transmettre qu'en alphabet morse.
En 1902, Reginald Fessenden décide de former sa
propre entreprise. Il établit le principe de l'hétérodyne,
technique toujours employée dans les récepteurs
radios AM et FM. Il établit également un moyen de
communiquer des messages vocaux à des navires en mer, alors
qu'il réussit la liaison avec des vaisseaux de la United
Fruit alors qu'il est à l'emploi de la société
National Electric Signaling.
En 1906, Reginald Fessenden réalise deux autres
avancées dans le développement de la radio.
Fessenden fut à lorigine dune première
en produisant une émission télégraphique
bidirectionnelle par-delà lAtlantique en janvier
1906, utilisant le code Morse - Marconi avait certes déjà
transmis des signaux par radio en 1901, mais seulement dans un
sens. Par la suite, des messages furent échangés,
sur la fréquence de 88 kHz, entre Brant Rock et une station
située à Macrihanish sur la côte occidentale
de lEcosse. Fessenden et ses collaborateurs entreprirent
alors de transmettre avec le nouvel alternateur HF des signaux
radio à destination dune station située à
Plymouth, Massachusetts; or voilà que, en novembre, ils
reçurent une information tout à fait inattendue
en provenance dEcosse: léquipe de Macrihanish
avait clairement entendu une conversation échangée
entre les opérateurs de la station de Plymouth pendant
une expérience. Ce fut la première émission
radio transatlantique à avoir lieu, accidentellement !
Un mois plus tard, à la veille de Noël, Fessenden
réalisa une émission, quil avait prévue,
elle, à destination de cargos appartenant à la United
Fruit Company et transportant des bananes depuis Puerto Rico.
Cette émission fut également captée par dautres
navires, de la Marine des Etats-Unis en particulier, et Fessenden
réalisa une autre émission le jour de la Saint-Sylvestre.
Le 24 décembre 1906, en présence d'une petite
équipe technique, de sa femme et de sa secrétaire,
il réalise la première émission radio de
voix et musique soit la première radio transmission publique
ou radiodiffusion.
Son contenu, vous laurez deviné
: des chants de Noël ! Depuis un émetteur
situé à Brant Rock au Massachusetts (Etats-Unis),
Fessenden et ses assistants ont en effet joué des musiques
de Noël et lu des contes - Fessenden lui-même interprétant
au violon «Douce nuit» et chantant la dernière
strophe. Les tout premiers auditeurs se trouvèrent être
des opérateurs à bord de bateaux en mer, lémission
étant entendue de lAtlantique aux Caraïbes
Fessenden était assurément un génie,
même si son nom est moins connu que dautres (Marconi,
p. ex.) qui possédaient peut-être plus de talent
pour promouvoir leurs idées. A sa mort en 1932, il détenait
des centaines de brevets - juste dépassé en cela
par Edison. Le système radio à ondes continues quil
a inventé devait devenir incontournable. On observera que
Fessenden a fait également de nombreuses autres inventions
fort utiles, depuis le téléavertisseur jusquà
un type de microfilm, mais celle qui nous touche assurément
le plus reste la radiodiffusion, grâce à laquelle
la voix et la musique peuvent être acheminées directement
à nos oreilles sur de grandes distances.
Le patron de la « General Electric
» ne disait-il pas de lui: cest le plus grand inventeur
du « sans fil », plus grand que Marconi
En janvier, Fessenden réussit la première
transmission transatlantique bidirectionnelle, à savoir,
un échange de messages en code Morse entre Brant Rock (Massachusetts)
et Machrihanish (Écosse).
Il réussit à transmettre la voix
humaine,, grâce à un alternateur de sa construction
délivrant un courant d'une fréquence de 100 000
Hz et dont il réussit à moduler l'amplitude par
le signal BF (basse fréquence) de la voix, il réalisa
la première émission radiophonique à destination
des bateaux dans l'Atlantique nord. Il est intéressant
de noter que tous les opérateurs radio dans la zone de
couverture ont pu capter directement cette émission avec
leur récepteur Morse à « lecture » directe
à l'oreille. Mais le système de Fessenden était
encombrant et compliqué. Il pu faire franchir à
la parole la distance de 18 kilomètres, puis en 1907
celle de 350 kilomètres, avec une antenne de 65 mètres
seulement.
C'est l'invention de la triode (ou audion) en 1906 par Lee
de Forest qui, en ouvrant la voie à l'amplification
des signaux électriques et à la réalisation
d'oscillateurs à fréquences élevées
va permettre de résoudre le problème de la
modulation d'une onde électromagnétique par un signal
BF. Son inventeur sera le premier à faire des expériences
de communication phonique bidirectionnelles sans fil (radiotéléphonie).
En 1908, il réalise les premières émissions
de radiodiffusion sonore à destination des bateaux de l'US
Navy, le long de la côte est des États-Unis. En septembre
de la même année, il fait une démonstration.
|
Sur le continent européen, on cherche aussi à
exploiter les possibilités ouvertes par la triode.
En France, sous l'impulsion du général Ferrié,
des études systématiques sont entreprises pour caractériser
les montages dans lesquels interviennent des tubes électroniques.
En août 1908, une liaison radiotéléphonique
est établie sur 500 kilomètres entre la pointe du Raz
et la tour Eiffel.
Dès 1908, la marine américaine installa
sur tous ses navires de guerre des postes de téléphonie
sans fil munis darcs Poulsen, quelle avait fait construire
par lélectricien Deforest.
A la même époque, les lieutenants de vaisseau
de la marine française Colin et Jeance firent également
avec succès des expériences de téléphonie
sans fil au moyen darcs de haute fréquence ne comportant
pas de champ magnétique. Ils ont obtenu des portées de
200 kilomètres.
En 1909. MM. Collin et Jeance, firent des expériences
décisives entre Toulon et Port-Vendres, à la distance
de 250 kilomètres, et les répétèrent entre
la Tour Eiffel et Melun (50 kilomètres) et entre Paris et Dieppe
(150 kilomètres).
sommaire
LE PROBLÈME DE LA RADIOTÉLÉPHONIE,
Sur cette page, nous venons de voir bien
des merveilles dues à la télégraphie et de la T.
S. F., mais celle-ci ne veut pas être en reste avec nous, et,
avant que nous ayons pu nous habituer à ses conquêtes pourtant
si brillantes, voici quelle nous met en présence dune
conquête nouvelle : la téléphonie sans fil.
Le problème que nous proposons, en radiotéléphonie,
est dactionner, à distance, la membrane dun téléphone
à laide des vibrations de la voix émise devant un
microphone, mais en transmettant ces vibrations non pas par des courants
induits transportés par des fils, mais bien à laide
des ondes électriques.
Tel est le problème à résoudre : malgré
ses difficultés presque insurmontables, nous allons voir quil
est résolu et de quelle manière relativement simple il
la été. Mais, auparavant, il nous faut faire une
petite digression sur les ondes sonores et la fréquence des courants
alternatifs.

Photo gauche :Microphone multiple. Cet appareil peut supporter les courants
intenses utilisés par la télégraphie sans fil.
(Cl. Ducretet.)
Photo droite : LE RADIO-COMPAS BELLINI-TOSI (Appareil récepteur)
LES ONDES SONORES ET LA FRÉQUENCE,
Quand un son se produit, il est toujours dû à des vibrations
d'un corps matériel. Les sons les plus graves correspondent à
un nombre de vibrations faibles, quelques dizaines, tandis que les sons
aigus correspondent à des nombres de vibrations très élevés,
qui peuvent atteindre la valeur de plusieurs milliers par seconde. La
limite des sons perceptibles à loreille est de 20 000 à
30 000 vibrations : il faut donc que les ondes électriques produisent
des fréquences de vibration nettement supérieures à
ce nombre-là, et que, de plus, ces ondes soient « entretenues
».
En effet, figurons par une courbe les vibrations acoustiques qui affectent
le microphone.
Ondes éléctriques
et ondes acoustiques
Si nous voulons que ces vibrations puissent être transmises par
des ondes électriques, il faut que celles-ci soient en nombre
suffisant pour ne laisser passer aucune des inflexions de la courbe
sonore. Par suite, si elles ont la forme et la fréquence indiquées
par la courbe supérieure, leur combinaison avec les ondes sonores
envoyées par le microphone donnera laspect de la courbe
dont toutes les sinuosités sont recouvertes également
par celles de la courbe des oscillations électriques.
Déplus, il faut que celles-ci soient « entretenues »,
car, si elles étaient simplement composées de «
trains » dondes, dans lintervalle de deux trains consécutifs,
toutes les vibrations de la voix passeraient inaperçues et ne
seraient, par suite, pas transmises. Il faut donc avoir des ondes «
entretenues » et de grande fréqu ence : 80 000 ou 100 000
à la seconde.
Il y a, à cela, une autre nécessité : à
la réception, en supposant quon puisse recevoir ces ondes
au téléphone, chaque fréquence donne une vibration
à la membrane. Si donc le nombre de ces vibrations était
seulement de 3 000 ou de 4000, ce qui correspond à un son perceptible
à loreille, on entendrait dune façon continue
ce son dans le téléphone, et cela gênerait la réception
de la parole ; si, au contraire, la fréquence dépasse
30 000, ce qui est la limite du nombre de vibrations correspondant à
des sons perceptibles à loreille humaine, le « son
de fréquence » ne sera plus transmis et seules les vibrations
de la voix se feront entendre dans le téléphone.
Ainsi, pour pouvoir faire utilement de la téléphonie sans
fil, il faut pouvoir produire des ondes de haute fréquence et
qui soient « entretenues ».
On a, pour cela, deux moyens qui ont été successivement
employés avec succès : les alternateurs à haute
fréquence et 1« arc chantant ».
EMPLOI DES ALTERNATEURS A HAUTE FREQUENCE.
Ces alternateurs sont des machines dinduction qui produisent naturellement
le courant induit avec changement de signe, quand on les fait tourner
très rapidement. Mais on se heurte, pour leur construction, à
des difficultés considérables, et si la réalisation
des alternateurs à fréquence courante, de 50 à
100 par seconde, est chose aisée, il nen est plus de même
quand on cherche à réaliser des fréquences de lordre
de 100 000. Pour augmenter la fréquence, il faut augmenter le
nombre des pôles de la machine et la vitesse de rotation.
Mais, en ce qui concerne cette dernière, on est vite arrêté
: il faut, en effet, atteindre des vitesses circonférencielles
de 300 à 400 mètres par seconde, ce qui correspond à
une vitesse de rotation de 300 à 400 tours, également
par seconde. Il est difficile, à de pareilles vitesses, de réaliser
un équilibrage parfait des pièces tournantes.
Cependant, la persévérance, lingéniosité
des ingénieurs, lhabileté des ouvriers sont venues
about de ces difficultés, et lon construit, à cette
époque, des alternateurs à haute fréquence tout
à fait remarquables. Citons ceux dAlexanderson, qui a obtenu
la fréquence de 200 000 à la seconde, tout en débitant
une énergie de plusieurs chevaux-vapeur, avec la vitesse de rotation
de 20 000 tours à la minute.
En France, M. Béthenod a réalisé des alternateurs
de haute fréquence qui ont donné dexcellents résultats,
non seulement en téléphonie, mais même en télégraphie
sans fil, et lingénieur Goldschmidt, de son côté,
a construit une machine parfaite.
Cest avec des alternateurs de ce genre que sont faits la plupart
des essais de radiotéléphonie tentés en Amérique.
EMPLOI DE L« ARC CHANTANT »,
Mais on arrive au même résultat dune manière
plus simple encore, en utilisant les propriétés de 1
« arc chantant ».
Tout le monde connaît cette éclatante lumière blanche
qui jaillit entre deux crayons de charbon réunis aux pôles
dune dynamo : cette lumière admirable, qui éclaire
nos avenues, nos places publiques, les halls de nos gares de chemins
de fer, sappelle larc électrique.
Supposons que cet arc électrique soit alimenté par une
machine dynamo à courant continu, mais intercalons dans son circuit
des bobines de self-induction et un condensateur : aussitôt un
phénomène curieux se produit, larc voltaïque
devient le siège de vibrations très rapides qui font entendre
un son musical continu. Cest au savant anglais Duddel quest
du» cette remarquable découverte.
Mais ce quelle a de plus remarquable encore, au point de vue spécial
qui nous intéresse, c'est que larc « chantant
» ainsi produit devient également un centre démission
dondes électriques ; et, alors que les ondes sonores correspondant
au « chant » de larc cessent dêtre perçues
à petite distance, les ondes électriques, au contraire,
se propagent à de très grandes distances. Et, de plus,
comme larc est alimenté par le courant continu dune
machine dynamo, on obtient, tant que ce courant passe, la constance
des ondes ainsi émises, qui sont, du même coup, des ondes
« entretenues ». L'arc chantant de Duddell est donc un moyen
très simple et très sûr de transformer un courant
continu en courants de très haute fréquence.
Cependant cet arc de Duddel, tel quil avait été
réalisé par son inventeur, ne permettait pas de produire
plus de 30 000 fréquences par seconde, et nous avons vu que ce
nombre était insuffisant pour la téléphonie sans
fil. Il fallait donc accroître la fréquence de larc
chantant : cest à quoi est arrivé le professeur
Poulsen (de Copenhague),qui est parvenu à produire des ondes
entretenues, non plus à la fréquence de 30 000, mais bien
à celle de 500000 par seconde. A cet effet, il a produit larc,
non plus à lair libre, mais dans latmosphère
« conductrice », formée dhydrogène et
dhydrocarbures, analogues au gaz de léclairage.

Principe de larc chantant. Montage dun poste
de téléphonie sans fil avec l'arc chantant ( émission
).
Dans ces conditions, en intercalant des bobines de self-induction et
nn condensateur sur le circuit de larc, dune part, dautre
part en excitant indirectement, par induction, une antenne dans le circuit
de laquelle est intercalé t*n microphone, on obtient des ondes
dassez haute fréquence et assez bien entretenue pour transmettre
à distance toutes les modulations de la voix humaine, tous les
mots de la parole articulée. Ce sont les vibrations, communiquées
par la voix à la membrane du microphone, qui modifient ainsi
les ondes sur le circuit secondaire du transformateur de transmission.
Quant à la réception, elle se fait par les moyens ordinaires
: on relie lantenne à une bobine de self-induction dont
on peut, par un contact mobile, régler le nombre de spires utilisées.
On emploie alors, dans le circuit de réception, une pile, un
récepteur électrolytique, un téléphone et
un condensateur, groupés comme le montre la figure suivante;
et lon entend, dans le téléphone, la voix de celui
qui parle, à grande distance, dans le microphone du poste expéditeur.
Montage
d'un poste de téléphonie sans fil avec larc chantant
( réception ).
LES PREMIERS RÉSULTATS
Tel est le principe de la téléphonie sans fil : cest
à le savant français, M. Blondel, membre de lInstitut,
que sont dus les premiers travaux théoriques sur cette question
; cest lui qui démontra le premier la nécessité
davoir des ondes de très haute fréquence et entretenues
si lon voulait pouvoir transmettre la parole sans fil à
de très grandes distances.
Les résultats des premières tentatives vinrent encourager
leur auteur : en employant des alternateurs à haute fréquence,
lingénieur américain Fessenden avait, dès
1906, pu faire franchir à la parole la distance de 18 kilomètres,
puis en 1907 celle de 350 kilomètres, avec une antenne de 65
mètres seulement. Enfin les expériences se firent en Europe
en 1909. MM. Collin et Jeance, deux officiers de la marine française,
firent des expériences décisives entre Toulon et Port-Vendres,
à la distance de 250 kilomètres, et les répétèrent
entre la Tour Eiffel et Melun (50 kilomètres) et entre Paris
et Dieppe (150 kilomètres).
Dès lors, la possibilité de la téléphonie
sans fil était pratiquement démontrée.
Il restait à « mettre au point certains détails,
notamment le microphone destiné à recueillir la vibration
de la voix et à les transmettre aux ondes électriques
émises par lantenne du poste expéditeur.
Ce microphone, en effet, doit pouvoir supporter un courant dintensité
assez forte : celle de plusieurs « ampères », ou
unités de mesure dintensité : or, ce nest
pas ce que peuvent supporter les microphones ordinaires, dans lesquels
on ne peut faire passer que des courants assez faibles. Aussi a-t-il
fallu imaginer et construire des appareils microphoniques capables de
résister à ces intensités.
La première idée que lon ait eue a été
de grouper « en quantité » ou «en parallèle
» plusieurs microphones ; devant la membrane des pôles un
seul cornet acoustique distribuait la vibration de la voix à
transmettre. Lintensité du courant total se divise ainsi
entre les divers éléments microphoniques, et chacun deux
na à en supporter quune fraction ; il peut donc fonctionner,
et cependant lensemble de microphones supporte lintensité
totale nécessaire.
PROPRIÉTÉS DES VEINES LIQUIDES.
Mais ces résultats ont été bien dépassés
par le microphone à veine liquide ; voici sur quel principe il
repose.
Tout dabord, rappelons que, toutes les fois quun fluide
séchappe par un mince orifice, il constitue un «
filet», une « veine » : ainsi séchappe
un filet deau par un tout petit trou, ainsi séchappe
un jet de gaz comprimé par un minuscule orifice.
Mais ce quil y a de particulier, cest lextrême
sensibilité de ces « veines » ou de ces «filets»aux
vibrations sonores. On la met bien en évidence avec un jet de
gaz déclairage, sorti dun tube très étroit,
et quon allume à sa sortie : on a ainsi une flamme, très
longue et très mince, qui rend le jet gazeux absolument visible.
Eh bien si dans le voisinage de cette flamme longue, on vient à
parler, on la voit aussitôt sagiter, se trémousser
suivant les modulations de la voix ; certains sons paraissent lexciter
plus particulièrement : par exemple, un sifflement aigu. Enfin,
si lon frappe sur un timbre, ou si lon agite un trousseau
de clefs, les soubresauts de la flamme passent par un véritable
paroxysme.
La « veine liquide » jouit des mêmes propriétés
; elles sont moins visibles que sur la « flamme chantante »
de tout à lheure, mais elles ont un avantage, cest
que, si la veine liquide est formée avec un liquide bon conducteur
de lélectricité, les ronflements et les changements
que subit la veine sous laction des vibrations de la voix pourront
modifier la conductibilité du filet liquide, et la modifier suffisamment
pour transmettre à des ondes électriques le régime
des modulations sonores qu'elles auront reçues.
Pour augmenter encore cette sensibilité de la veine liquide aux
vibrations sonores, on fait sortir un jet mince deau acidulée,
conductrice de lélectricité, par un tube étroit
dont une paroi, très mince et très élastique, est
en contact matériel, par une petite tige, avec la membrane dun
microphone devant lequel on parle.
Principe
de la veine liquide vibrante.
Chaque vibration de la membrane de microphone se transmet ainsi à
la paroi du tube qui vibre synchroniquement avec elle, et qui, par suite,
fait varier synchroniquement la section transversale du filet liquide
dont la « résistance électrique » suit, ainsi,
le régime vibratoire de la plaque microphonique. Le filet liquide
tombe entre deux plaques de contact avec lesquelles il forme un véritable
« pont ».
Tel est le principe du nouveau microphone à veine liquide.
Nous allons voir quel merveilleux parti lingénieur italien
Vanni en a su tirer pour réaliser, non plus des communications
radio-téléphoniques à courte distance, mais bien
la téléphonie sans fil de Rome à Tripoli. sur une
distance voisine de 1 000 kilomètres au moyen dun arc spécial
et dun microphone à liquide imaginé par lui. Pour
cela, il a utilisé un autre producteur dondes à
haute fréquence : je veux parler du générateur
Moretti.
Système Vanni 
Léclateur Moretti est en principe constitué par
deux électrodes de cuivre reliées à une source
a courant continu de 5oo volts.
LE GÉNÉRATEUR MORETTI.
Celui-ci est également basé sur un écoulement continu
deau acidulée à travers un orifice, et entre deux
tubes conducteurs.
Schéma
du générateur Moretti.
Un courant continu, dune force électro-motrice de 500 volts
environ, est en communication, par lintermédiaire dune
bobine de self-induction, avec le générateur proprement
dit, constitué dun tube de cuivre inférieur, par
où sécoule un jet deau acidulée, à
faible débit, que lon règle avec des vis, et par
une électrode supérieure en cuivre, massive et à
surface plane. En dérivation sur ces deux armatures se trouve
le circuit oscillant, comprenant un condensateur et une bobine réglable
de self-induction formant le circuit primaire dun transformateur,
dont le circuit secondaire communique avec lantenne.
Comment cet appareil si simple peut-il transformer le courant continu
en un courant à haute fréquence ?
Voici la théorie quon peut en donner.
Au contact du liquide conducteur, sorti du tube inférieur et
allant à la plaque, un arc électrique tend à se
former. Mais, aussitôt, sous laction de cet arc, leau
sévapore, et, à sa chaleur intense, se dissocie
en hydrogène et en oxygène. Il se forme ainsi une série
de petites explosions qui ouvrent et ferment le circuit un très
grand nombre de fois par seconde, nombre qui peut sévaluer,
daprès des déterminations faites par M. Vanni, à
laide dun miroir tournant très rapidement, à
plusieurs centaines de mille par seconde, cest-à-dire à
une fréquence bien supérieure à la limite du nombre
de vibrations qui peut être perçu par loreille humaine.
Lexpérience confirme cette manière de voir et montre
quon a créé, sur lantenne, un courant qui
peut arriver à une dizaine dampères, une fois quon
a réglé convenablement la vitesse de leau, la distance
des électrodes et les constantes électriques du circuit
dalimentation.
Un grand avantage de cette méthode sur celle de Poulsen est que,
dans le cas de ce dernier appareil, leau doit jaillir dans une
atmosphère confinée dhydrogène : tandis que,
dans le générateur de Moretti, leau, ou plutôt
linnombrable série des petits arcs minuscules formés
comme nous venons de le dire, jaillit à lair libre, ce
qui simplifie énormément les conditions dinstallation
et de fonctionnement des appareils. Ce générateur permet
donc de faire passer dans lantenne un courant électrique
de forte intensité, ce qui est le « desideratum »
des générateurs dondes.
LE MICROPHONE A LIQUIDE.
Maintenant que nous connaissons lappareil générateur
des ondes entretenues, voyons en détail la construction du microphone.
Comme le générateur, celui-ci est à liquide ; mais,
au lieu dutiliser la décomposition de ce liquide sous linfluence
de la chaleur de larc, nous allons utiliser la propriété
vibrante de la veine, jaillissant par un orifice étroit. Nous
avons indiqué comment la veine liquide pouvait participer, par
ses contractions et ses spasmes, aux vibrations sonores effectuées
dans son voisinage : voici comment on utilise cette propriété
pour combiner un véritable microphone hydraulique .
Schéma
du microphone à liquide.
Le microphone est formé par un pavillon, devant lequel on parle.
Au centre de la membrane de ce pavillon est fixé un petit levier
qui porte, à son extrémité libre, le tube étroit
par lequel sécoule le filet deau acidulée.
De cette façon, toutes les vibrations de la voix seront transmises,
par l'intermédiaire du petit levier, à lorifice
de sortie du jet liquide. Celui-ci tombe alors sur le collecteur,
Ce collecteur est formé de deux lames de platine à inclinaison
variable ; on fait varier cette inclinaison de façon que les
gouttes liquides, tombées sur lune des lames, sétalent
sur lautre sous la forme dune pellicule excessivement mince.
Il est dès lors facile de comprendre le fonctionnement de lappareil
microphonique : les ondes sonores, recueillies par le pavillon du cornet
acoustique dans lequel on parle, y subissent une première amplification
« acoustique » ; cette amplification devient « mécanique
» par lintermédiaire du petit levier qui communique
sa vibration à lorifice de sortie du jet, qui amplifie
ainsi, par résonance hydro-dymanique, la vibration sonore quil
reçoit, à cause du mouvement vibratoire ainsi subi par
le jet.
Mais, à cause même de ce mouvement vibratoire, lépaisseur
de la couche très mince de liquide compris entre les deux lames
du collecteur varie également suivant a modulation de la voix,
et ainsi varie, en même temps, la résistance électrique
de cette couche mince.
Si donc celle-ci est intercalée dans le circuit secondaire antenne-terre,
dont le circuit primaire soit parcouru par un courant oscillant du générateur
Moretti décrit précédemment, lintensité
du courant qui parcourt lantenne et par conséquent la région
des ondes électriques émises par celle-ci variera en concordance
parfaite avec les modulations de la voix.
Schéma
du poste d'émission de téléphonie sans fil.
Dans un autre dispositif, M. Vanni a interverti la position du microphone
: il a laissé le jet jaillir par un orifice fixe, et cest
lune des lames du collecteur qui suit, par lintermédiaire
dune petite tige métallique rigide, les vibrations de la
membrane du microphone. Afin davoir un régime découlement
absolument régulier, une petite pompe centrifuge reprend le liquide
écoulé et le comprime dans le tube doù ;
il doit séchapper pour former la veine liquide sensible
(fig. 51). Cet appareil a été construit par la Société
française radio-électrique'; il a lavantage de supprimer
les longs tuyaux nécessités par la pression de charge,
qui doit être de 4 mètres ou de 5 mètres environ
; il a, en outre, lavantage important de pouvoir utiliser presque
indéfiniment le même liquide microphonique dont la préparation,
assez délicate, exige des soins tout particuliers .
Dispositif de Ruhmer. Le dispositif Ruhmer déjà
connu est représenté par là figure 261. Larc
jaillit entre deux électrode» tournantes en aluminium.
Dans le premier montage, le microphone agit par l'intermédiaire
dun transformateur.Dans le deuxième montage, la membrane
du microphone est placée entre deux cuvettes a remplies de grenaille
de charbon. Ce système agit comme microphone, et comme condensateur
à capacité variable.
Système Dubilier. Ce système
très spécial utilise un arc avec anode en bronze phosphoreux
et cathode en charbon dur. Cet arc nest pas soufflé, contrairement
à certains systèmes.

Le microphone est à deux diaphragmes, vibrant en sens inverse
lun de lautre. Des essais ont permis des portées
de goo kilomètres.
Système de la National Wireless Telegraph
Cy; Le générateur est constitué par
trois arcs en série.
Chaque élément
comprend , une électrode perforée en charbon et une électrode
a en forme de cylindre creux, dans laquelle circule un liquide réfrigérant.
Les électrodes sont plongées dans un liquide mauvais conducteur,
dont la résistance augmente avec la température intéressant
les points déclatement. Elles sont séparées
après la mise en marche, par un électroaimant à
tige plongeante i, dont lenroulement est intercalé dans
le circuit dalimentation.
Système Poulsen. Dans ce dispositif déjà
connu, on monte six microphones en série. Larc a été
décrit précédemment.
Système à arc de la Telefunken.
Les lampes décrites précédemment sont montées
en série.
Pour une tension dalimentation égale à 44o volts,
on utilise deux lampes de six éléments chacune. Le microphone
b est monté en dérivation sur le secondaire.
Systèmes à transformateurs de fréquence
de la Telefunken.
Les dispositifs de la Telefunken dérivent des systèmes
correspondants de la télégraphie sans fil, étudiés
précédemment. On peut d*ailleurs, dans la majorité
de ces dispositifs, remplacer le manipulateur par un microphone approprié.
a b 
Le montage b représente le microphone monté
dans le circuit secondaire du dernier groupe de transformateurs.
Dans le montage les microphones sont intercalés dans le circuit
primaire dun transformateur.
Si lon emploie plusieurs microphones, comme cest le cas
généralement, on intercale dans les circuits des résistances
et des capacités, pour protéger la batterie.
Amplificateur téléphonique magnétique
de MM. Alexait derson et Nixdorff. Ce dispositif particulier
consiste essentiellement à faire varier une self-induction en
agissant sur la perméabilité de son circuit magnétique.
On modifie ainsi la syntonie et lénergie mise en jeu.
Cet appareil a été étudié pour une puissance
de 72 kilowatts. Le microphone agit directement sur un enroulement disposé
sur un noyau en fer doux.
La modification de la perméabilité produite entraîne
des variations dimpédance des circuits dérivés,
montes en shunt sur 1 alternateur, et varie la tension de 1 alternateur.
Des condensateurs sont intercalés pour regler la proportionnalité
entre les variations et pour éviter la production de courants
de basse fréquence dans les circuits
LES RÉSULTATS.
Dans tous ces procédés anciens, comme
dans les plus récents, les ondes entretenues engendrées
dans lantenne étaient modulées suivant les vibrations
de la parole au moyen de microphones.
Cest avec ces dispositifs que l'ingénieur Vanni
a fait son essai de téléphonie sans fil, dabord
à lInstitut militaire de télégraphie sans
fil , dItalie, à Rome, puis à la station de la marine
italienne située à quelques kilomètres de la capitale,
à Santo Celle. Les réceptions ont été faites
successivement à l'ile de Ponza (120 kilomètres), à
la Maddalena (250 kilomètres), à Palerme (420 kilomètres),
à Vittoria (600 kilomètres), et enfin à Tripoli,
à 1000 kilomètres de la station démission.
Ce qui résulte de ces expériences, et ce qui en est, peut-être,
la conséquence la plus remarquable, cest que, avec les
dispositifs adoptés, on ait pu réussir non seulement à
transmettre à des distances aussi considérables que celle
de Rome à Tripoli les sons faibles dun gramophone, mais
encore, et surtout, quon ait pu aux mêmes distances distinguer
et reconnaître le timbre de la voix spéciale de la personne
qui parlait à ce moment devant le microphone.
Microphone
Vanni à jet fixe et collecteur vibrant.
Cette circonstance est importante au point de vue théorique aussi
bien quau point de vue pratique, car elle montre que la propagation
des sons par le moyen des ondes électriques saccomplit
sans le moindre phénomène de déformation. Or on
sait que cette déformation est caractéristique des transmissions
téléphoniques ordinaires à grande distance, quand
celles-ci se font avec fil conducteur, surtout avec les câbles,
et quelle en limite la portée. Ceci démontre la
supériorité incontestable de la radiotéléphonie
sur le téléphone ordinaire avec fils : cette supériorité
est due au fait que la première saccomplit sans changement
appréciable des vitesses et des phases des ondes élémentaires
correspondant à ce que lon appelle, en acoustique, les
« harmoniques » de la voix humaine, harmoniques qui accompagnent
toujours le son fondamental et qui caractérisent le « timbre
» de la voix à transmettre.
Ainsi, la téléphonie sans fil nest plus une simple
curiosité de laboratoire ; elle a fait ses débuts, elle
est entrée triomphalement dans la voie de la pratique et, pour
son coup dessai, a fait un coup de maître.
LAVENIR DE LA TÉLÉPHONIE SANS FIL.
Cet avenir est immense, et beaucoup plus important que celui de la télégraphie
sans fil ordinaire, et il apparaît tellement brillant que lon
peut prévoir, dans un avenir très prochain, la réalisation
des espérances que nous allons énumérer ici.
La première, et la plus importante de toutes, sera la téléphonie
à de très grandes distances, par-dessus lAtlantique,
par exemple, entre lEurope et lAmérique. On sait,
en effet, que la téléphonie par câble, par suite
de phénomènes électriques complexes, nest
pas possible à ces énormes distances ; elle lest,
au contraire, par lintermédiaire des ondes électriques.
Certes, il ne faut pas se dissimuler les difficultés dune
pareille entreprise; il faudra, à coup sûr, mettre en jeu
de formidables quantités dénergie, ce qui rend très
coûteuse linstallation de stations de départ et darrivée.
Mais il faut réfléchir aussi que, quel que soit le prix
que coûtera linstallation des deux stations, ce prix sera,
en tout cas, beaucoup moins élevé que celui de la construction
et de limmersion dun câble transatlantique sous-marin.
De plus lentretien, les réparations se feront, sil
y a lieu, aux postes même de départ et darrivée,
cest-à-dire sur terre, et avec la plus grande facilité
: tandis que, dans le cas dun câble sous-marin, la recherche
dune avarie au câble lui-même est une opération
longue, qui nécessite larmement dun navire spécial,
qui ne peut même, matériellement, pas être pratiquée
par mauvais temps. Il y aura donc tout avantage à réaliser
la radiotéléphonie transatlantique, et déjà
on sen préoccupe activement, tant en Amérique quen
Europe.
En ce qui concerne les communications de la terre avec les navires,
on peut dire que ces communications seront rendues infiniment plus aisées
que par la T. S. F. ordinaire, et que, par conséquent, cela multiplierait
le nombre des stations de bord, cest-à-dire que cela augmenterait,
du même coup, dans des proportions considérables, la sécurité
de la navigation.
En effet, actuellement, réduits que nous sommes à la T.
S. F., qui est déjà une bien merveilleuse chose, dailleurs,
que faut-il pour communiquer avec un navire au large ? Il faut un poste
côtier et un poste « de bord » ; mais celui-ci reçoit,
au téléphone, les dépêches en signaux longs
et brefs de lalphabet Morse, ce qui exige, pour la réception,
un opérateur exercé, habitué à « lire
au son », comme on dit, en langage de télégraphiste.
Il est certain que, dans le cas de petits bateaux, cette obligation
davoir un télégraphiste exercé est une charge
très lourde ; aussi n'a-t-on pas osé imposer la T. S.
F. à bord des navires ayant moins de cinquante personnes à
bord.
Mais tout serait changé le jour où les messages seraient
reçus non plus en signaux, mais en langage « parlé
».
Alors tout le monde peut les recevoir. Quant à répondre,
même avec des signaux Morse ordinaire, dans le cas où le
navire naurait pas dinstallation encore un peu délicate
pour émettre des signaux de radiotéléphonie, cest
beaucoup plus aisé : on peut tout à son aise transcrire
à l'avance sur un papier les combinaisons de traits et de points
qui forment les signaux Morse devant constituer la réponse et
alors la transmettre à laide du manipulateur. Le capitaine
ou le second de tout navire pourra faire cela sans difficulté.
En ce qui concerne les relations entre navires munis tous deux de postes
de radiotéléphonie, entre navires de guerre, par exemple,
on aura un progrès inestimable. Les officiers de divers navires
qui constituent une escadre se trouveront ainsi en communication constante;
léchange des ordres ne se fera plus par des signaux qui
peuvent être plus ou moins fidèlement interprétés
ou même plus ou moins loin aperçus, mais se fera à
la voix même, cest-à-dire dans les meilleures conditions
de fidélité et de précision. De plus, cescommunicationsnexigeront
aucun personnel spécial pour transmettre ou traduire les dépêches.
En outre, les téléphonistes des différentes unités,
connaissant leurs voix après quelque temps de service, il serait
facile de déceler des ordres envoyés à faux, dont
le caractère inconnu de lorgane qui parle décèlerait
lorigine.
Certes, il sera là plus facile quailleurs de commettre
des indiscrétions, et cest surtout en radiotéléphonie
que les ondes électriques manifesteront «le défaut
de leurs qualités ». Mais noublions pas les grands
progrès qua déjà faits la syntonisation ;
ces progrès seront sans doute, dans peu de temps, plus grands
encore. En outre, on pourra probablement, avant quil soit longtemps,
« diriger »les ondes électriques avec précision,
et alors la radiotéléphonie sera, à volonté,
universelle ou spécialisée, destinée à tous
ou à un seul.
En 1910, le polytechnicien Emile Girardeau, lingénieur
Joseph Berthenod, et le mathématicien André Blondel fondent
la Société Française Radioélectrique. Ils
ont lobjectif détablir une industrie capable de produire
des postes TSF en France, directement à partir des matières
premières. Lopportunité se présente dans
la colonie du Congo : le gouverneur cherche à établir
une liaison radio entre Pointe-Noire et Brazavile.
Au cours de la Première Guerre mondiale, S.F.R. fabrique et livre
des dizaines de stations radios, ainsi que de nombreux postes pour laviation,
la marine et larmée de terre.
Lors de la première guerre mondiale, le service
de Radiotélégraphie militaire dirigé par le colonel
Gustave Ferrié, camarade de promotion de Blondel, étudie
la lampe à trois électrodes (audion) qui équipera
les postes de radio de l'armée française et des forces
alliées ; Blondel transpose ses travaux sur l'arc chantant publiés
en 1906 à l'étude de la télégraphie sans
fil (TSF) et aux émetteurs à arc chantant.
Sur les côtes françaises, les quatre premiers radio-phares
créés par André Blondel reçoivent leurs
indicatifs radios en juin 1911, et travaillaient entre les longueurs
donde 80 à 150 mètres. Ces quatre premiers radio-phares
automatiques balisaient l'entrée du port de Brest : le radio-phare
de l'île de Sein avait l'indicatif radio S ,
sur l'île dOuessant le phare du Stiff avait l'indicatif
radio O ---, ces deux radio-phares travaillaient sur la longueur donde
de 150 mètres (2 MHz) par émetteur à ondes amorties,
et les deux autres radio-phares balisaient l'entrée du port du
Havre. La portée radio de ces radiophares est limitée
à 60 km .
Le 21 octobre 1915 a lieu la première transmission radiotéléphonique
au-dessus de l'Atlantique nord entre Arlington aux États-Unis
et l'émetteur-récepteur de la tour Eiffel.
Après quelques années de ralentissement durant la Première
Guerre mondiale, les efforts pour développer la nouvelle technique
de communication par ondes hertziennes reprennent.
Une des plus remarquables est la communication des avions
entre eux et avec la terre.
Cette application, il sied de le rappeler, a été
réalisée pour la première fois par un Français,
M. Gutton, aujourdhui professeur à lUniversité
de Nancy, et qui lexpérimenta sur un avion monté
par lui-même en 1916 pendant la bataille de Verdun.
Un certain nombre dappareils semblables furent mis en service,
mais leur usage ne se développa guère alors à cause
de leur poids, de leur portée assez faible (pourtant on obtint
dès lors plus de 10 km de portée entre deux avions) et
surtout du brouillage par les émissions de T. S. F. à
étincelles.
À terre aussi, les applications furent très limitées.
Il faut pourtant citer un poste de téléphonie sans fil
assez puissant qui avait été installé au Bourget
pour donner aux avions de la défense de Paris ordres et renseignements
pendant leurs patrouilles de nuit. Les émissions de ce poste
étaient perçues par les avions jusquà 100
kilomètres de Paris.
Une autre application fort utile est celle que lon a faite depuis
peu pour communiquer dune centrale électrique à
ses sous-stations. Les communications de cet ordre par téléphonie
ordinaire sont rendues très précaires par le courant électrique
de force transmis dune station à lautre, et qui produit
dans les réseaux téléphoniques parallèles
des courants dinduction perturbateurs. La téléphonie
sans fil na pas cet inconvénient; lexpérience
la prouvé, notamment au cours des essais faits récemment
entre diverses stations électriques du réseau du Nord.
Il est, en outre, un emploi de la radiotéléphonie qui
pourra, quand on voudra, rendre de grands services : il consiste à
réunir les postes de téléphonie ordinaire avec
les stations émettrices et réceptrices de télégraphie
sans fil. Ainsi un abonné au téléphone de Paris
pourra très bien demander à sa demoiselle la communication
avec un abonné de Londres, quon pourra lui donner par lintermédiaire
des postes côtiers radiotélégraphiques. Cela déchargera
dautant les câbles téléphoniques.
Enfin, ladministration des postes et télégraphes
étudie en ce moment lenvoi quotidien, à certaines
heures fixées davance, par le poste de la Tour Eiffel,
de nouvelles politiques, financières ou autres, particulièrement
importantes, qui seront envoyées par téléphonie
sans fil et que tous les particuliers, les banques, les journaux, etc.
munis dappareils récepteurs, pourront recevoir comme ils
reçoivent maintenant les signaux horaires et autres de la T.
S. F.
En 1919 naît aux États-Unis la société Radio
Corporation of America (R.C.A.) qui, en réussissant à
obtenir les droits des principaux brevets de Fessenden et de de Forest,
jouera un rôle très important dans le développement
des radiocommunications.
La première station de radiophonie, KDKA., est créée
par R.C.A. en 1920. Dès ses débuts, ce nouveau média
révèle son importance dans la société[...]
Dès 1927 les navires de pêche s'équipent en radiotéléphonie
dans la bande 105 mètres à 185 mètres (soit 1,62
MHz à 2,85 MHz)
En 1927, a lieu la Convention radiotélégraphique de Washington.
Ce mode de fonctionnement correspond aux réseaux radioélectriques
analogiques des sapeurs-pompiers français dans la bande 85,500
à 86,950 MHz, issus de la réforme des transmissions des
années 1990 (OBNT de la Sécurité civile approuvé
par la DSIC du ministère de l'Intérieur, ancienne DTI).
sommaire
1927 LA PREMIÈRE LIGNE RADIOTÉLÉPHONIQUE
ENTRE LEUROPE ET LAMÉRIQUE
Par Jean LABADIE Revue La Science et la vie d'avril 1927.
MÉCANISME DE I.A TRANSMISSION RADIOTÉI.ÉPHONIQUE
TRANSATLANTIQUE

L'abonné anglais téléphone de son bureau quand
la téléphoniste, qui l'a prévenu un quart dheure
à l'avance. lui donne la « communication avec New-York
». Le courant téléphonique est reçu à
Rugby, où il subit la transformation en onde hertzienne modulée.
Cette onde est reçue à Houlton (nord des Etats-Unis),
sur une antenne de 4 kilomètres de longueur. Là, elle
est retransformée en courant téléphonique, lequel
courant s'en va, par le réseau ordinaire, rejoindre le correspondant
américain. Inversement, la réponse de l'abonné
américain passe par la station émettrice de Rocky-Point.
Elle est reçue en Angleterre, à Wroughton, d'où
elle rejoint l'abonné anglais par la voie du réseau commun.
En ce moment, on étudie le transport de. la station réceptrice
anglaise jusqu'en Ecosse. Il est, en effet, avéré qu'en
rapprochant du pôle le trajet des ondes, celles-ci sont mieux
garanties contre les parasites atmosphériques.
Le 6 janvier 1927 , la première ligne radiotéléphonique
Londres-New-York et vice versa a été ouverte au public.
Moyennant le prix de 5 livres sterling par minute, l'abonne anglais
peut donc converser avec l'abonné américain. C'est grâce
à un artifice extrêmement ingénieux et qui consiste
il ne transmettre que l'onde modulée par la parole, sans onde
porteuse, que l'on a pu obtenir ce résultat sans exagérer
la puissance des stations émettrices. Si le prix d'une telle
conversation est aussi élevé, c'est qu'il a fallu équiper
quatre stations, une émettrice et une réceptrice pour
chaque pays, respectivement reliées par fil à Londres
et à New-York : les deux stations voisines de Londres sont reliées
par fil avec cette ville ; de même, les deux stations voisines
de New-York sont reliées par fil avec cette ville. Pour alimenter
un mode, de communication aussi coûteux, il fallait s'adresser
à une clientèle financière. Aussi a-t-on tenté
l'expérience entre Londres et New-York, les deux grandes places
financières du globe. Nos lecteurs trouveront ici, clairement
exposée, cette nouvelle méthode imaginée pour porter
au delà de l'Atlantique la voix humaine avec célérité
et une certaine discrétion. Hertz lui-même se serait refusé
à concevoir un tel prodige, alors que William Crookes, à
l'imagination plus puissante, en avait déjà pressenti
la réalisation.
En déeembre 1888, Heinrich Hertz ayant communiqué les
résultats de ses expériences au monde savant, le physicien
Joubert reconstitua celles-ci, en 1889,dans le laboratoire de la Société
des électriciens à Grenelle, et convoqua ses confrères
pointeur montrer ceci, que rapporte M. Daniel Berthelot : «A un
certain moment, Joubert nous conduisit en dehors des bâtiments,
dans la rue, puis, tirant deux clefs de sa poche et les amenant presque
au contact, il nous lit voir quil jaillissait entre elles un flux
détincelles. » Ce flux répondait à
dautres étincelles extrêmement plus puissantes qui
jaillissaient, de lautre côté du mur, entre les deux
sphères dun excitateur de Hertz.
Et lidée venait naturellement à lesprit, continue
M. Berthelot, que de telles vibrations pourraient, un jour ou lautre,
servir à transmettre des signaux à travers lespace.
» Mais Hertz, interrogé peu après, répondit
quune transmission de signaux à grande distance, par le
moyen de scs ondes, lui paraissait chimérique.
Au même moment, William Crookes, traitant le même sujet
dans une revue anglaise, concluait autrement et « se représentait
déjà les hommes conversant dun continent à
lautre grâce aux nouvelles vibrations ».
Si Hertz, qui mourut en 1892, toujours persuadé du peu davenir
de son invention, avait pu vivre quatre ans de plus, il aurait vu Marconi
télégraphier d'une rive à lautre de la Manche.
Vingt ans plus tard, en 1915, la station américaine dArlington
téléphonait à la Tour Eiffel, avec beaucoup de
dilliculté, il est vrai.
Le 12 janvier 1923 , un second essai de radiotéléphonie
était effectué de New-York à Londres, toujours
en communication unilatérale.
En 1926, le jour du cinquantenaire de linstallation du téléphone
aux Etats-Unis, la communication bilatérale était brillamment
réalisée.
Le 9 janvier 1927, enlin, la ligne radio-téléphonique
Londres-New-York et vice versa était ouverte au public moyennant
5 livres sterling par minute. William Crookes avait raison.
La téléphonie sans fil et « sans onde »
Mais quelle évolution en trente-six
ans ! Le signal saccadé de Hertz trains dondes amorties
a cédé la place à l'onde entretenue, dont
les « modulations » constituent, aujourdhui, tout
le «signal» - aussi bien le signal télégraphique
que celui, infiniment plus subtil, qui ébranle musicalement un
écouteur' de téléphone.
Londe entretenue est une vibration pure que les postes correspondants
tendent entre eux, avant toute conversation, comme une corde vibrante
invisible. Cette onde ne dit rien par elle-même.
Si la lampe détectrice du poste récepteur
accordé sur elle avait une conscience, elle « entendrait
» cette onde préliminaire et uniforme comme loreille
humaine entend le son continu et monotone dune conque marine.
La conversation ne commence quau moment où la pureté
de l'onde est altérée par la modulation. La modulation
est donc une vibration du second ordre portée par l'onde entretenue
fondamentale, appelée, pour cela, onde porteuse. Et cest
la forme, infiniment variée, de cette vibration du second
ordre qui est limage (électrique) des vibrations sonores.
En dautres termes, la modulation simprime sur londe
électrique porteuse comme le sillon analogue à celui qui
caractérise la voix sur un disque ou sur un « film »
de phonographe. Il est évident que les sons musicaux ne dépendent
pas de lépaisseur du film de celluloïd, mais seulement
de ses aspérités, toutes comprises dans une pellicule
superficielle extrêmement mince.
Le film phonographique pourrait donc être réduit théoriquement
à cette pellicule, ce qui est pratiquement impossible, car il
lui faut un minimum de solidité matérielle.
En radiophonie, le film porteur étant londe
immatérielle, on na pas les mêmes raisons quen
phonographie daccepter son « volume » inutile et encombrant.
On peut donc, une fois la modulation produite, raboter soigneusement
le sillon, la frange sonore, seule indispensable, et détruire
le corps même de londe. On se contente de transmettre le
sillon.
A la réception, naturellement, il faudra recevoir ce sillon sur
un nouveau support, sur une nouvelle « onde porteuse »,
capable de limposer aux appareils détecteurs et amplificateurs
de la station darrivée. Cela noffre aucune difficulté
théorique. Il subit danimer le cadre récepteur avec
une onde hertzienne entretenue exactement semblable à celle quon
a supprimée au départ, ce qui sobtient avec un générateur
local. Et sur cette onde porteuse artificielle, la frange caractéristique
vient sinscrire avec précision.Les appareils locaux nont
quà la recueillir et à la traduire en vibrations
sonores pour obtenir la parole transmise.
Ainsi, lespace éthéré qui sépare les
deux stations n'a vu passer qu'une frange très réduite
de londe totale. Comme cet espace est déjà grandement
congestionné par la circulation des ondes « complètes
» et de toutes longueurs émises par tous les postes du
monde, on voit que le nouveau procédé radiotéléphonique
est essentiellement discret et vise à nébranler
léther que dune vibration assourdie, destinée
seulement à la station correspondante spécialement équipée
pour la recevoir. Ce qui est, par surcroît, une demi-garantie
de secret.
La puissance rayonnée par les postes transmetteurs de Rugby pour
lAngleterre, de Rocky-Point pour lAmérique, nest,
grâce à cet artifice, que le tiers de la puissance réellement
reçue aux stations réceptrices correspondantes de Houlton
(États-Unis) et de Wroughton (Grande-Bretagne).
Le secret relatif des conversations
Pour percer le secret de ces conversations radiotéléphoniques,
il faudrait percer dabord cette première barrière
technique que nous venons de décrire et quon pourrait appeler
une téléphonie sans fil à la seconde puissance,
sans fil et sans onde. Ce nest pas à la portée du
premier amateur venu.
Mais, grâce à linvention française de la double
modulation, brevetée, dès le temps de la guerre, par M.
Lucien Lévy, les tecliniciens anglo-saxons ont pu élever
une seconde barrière destinée à soustraire les
conversations aux oreilles des non initiés.
Le procédé consiste à imprimer dabord à
londe porteuse (avant sa suppression au départ, bien entendu),
une première modulation dont le caractère essentiel est
dêtre inaudible. Londe porteuse, étant de 5.500
mètres par exemple, vibre à raison de 55.000 périodes
par seconde. On la module de telle manière que la nouvelle vibration
obtenue fournisse, par exemple, 20.000 périodes.
Détectée par les moyens ordinaires,
cette vibration ne donnerait à lécouteur téléphonique
aucun effet sonore intelligible. Les vibrations intéressant la
parole humaine sont, en effet, comprises entre deux limites, dont linférieure
ne descend pas au-dessous de 300 et dont la supérieure ne monte
guère au-dessus de 2.000 périodes par seconde. Mais on
soumet la vibration de 20.000 périodes à une seconde modulation;
qui, cette fois, fournit une vibration correspondant aux fréquences
sonores vocales.
Et cest la frange « phonographique » ainsi construite
en deux temps et, par conséquent, brouillée que le poste
transmetteur envoie dans lespace.
Pour retrouver la parole, il faut donc posséder les renseignements
nécessaires à la reproduction exacte de la première
modulation, qui sinterpose entre la modulation sonore proprement
dite et londe hertzienne comme une «grille» dans un
cryptogramme. Ceci est hors des moyens usuels.
Les appareils et la technique
STATION DE RUGBY 
I.A CHAMBRE OU I.E COURANT TÉLÉPHONIQUE
DU RÉSEAU SE TRANSFORME EN ONDES HERTZIENNES
L'ensemble des appareils est enveloppé dans une cage de treillis
métallique destiné à l'élimination, de tout
parasite extérieur. Le tableau n" 1 (à gauche) fournit
et contrôle les courants d'alimentation des lampes modulatriccs,
amplificatrices, utilisées dans les tableaux 3 et 4. Le tableau
n° 2 est celui où aboutit le courant téléphonique
de l'abonné. Ce courant est, là, soigneusement mesuré
et maintenu constant durant tout le temps de sou utilisation. Il est
notamment « filtré » pour éliminer les courants
à fréquence radio que pourrait contenir la ligne. Il est
enfin atténué pour être purifié à
l'extrême. Le troisième tableau, consacré êi
la modulation, reçoit alors le courant téléphonique,
qui module «l'onde porteuse» fournie par un oscillateur
local. Des filtres suppriment aussitôt cette onde et l'une de
ses « franges ». La seconde « frange» qui, seule,
doit être transmise, se trouve alors prête à la transmission,
mais elle ne possède que quelques milliwatts de puissance ! Il
faut l'amplifier. Le quatrième tableau est consacré au
premier étage de cette amplification. La frange d'onde modulée
est portée à 25 watts et livrée, à celle
puissance, aux autres circuits amplificateurs situés hors de
la chambre, non sans avoir été contrôlée
par un oscillateur d'essai.
Les appareils utilisés à la station de Rugby pour mettre
en uvre cette technique sont disposés suivant un plan qui
na guère varié depuis 1924, et dont La Science et
la Vie a fourni déjà le schéma (n° 81). Nous
nous contentons par conséquent de donner ici, avec des légendes
explicatives suffisantes, les photographies des appareils actuels, tels
quils ont été construits de façon définitive.
Les lampes amplificatrices dune puissance unitaire de 10 kilowatts
ont donné lieu à des difficultés de construction
interne extrêmement délicates. Lisolement des circuits
intérieurs a suscité bien des recherches. La lampe page
303 constitue le modèle définitif.

UNE LAMPE A TROIS EI.ECTRODES DE 10 KILOWATTS et LE DEUXIÈME
ÉTAGE dAMPLIFICATION
La frange d'onde modulée est prise par cet amplificateur à
25 watts. Il comporte une seule lampe du tiype standard adopté
par la station, d'une puissance de 10 kilo-watts. On voit cette lampe
dans le panneau central. Au-dessous, le serpentin de circulation de
l'eau de refroidissement. Au-dessus, des éclateurs chargés
de recevoir les décharges éventuelles, en cas de surtension.
Un appareillage disjoncteur-conjoncteur a été installé,
qui est chargé de couper le circuit Rugby-Houlton aussitôt
après la transmission de la phrase « anglaise »,
et de rétablir simultanément le circuit Rocky-Point-Wroughton
pour la réception de la réplique américaine. Si
lon songe quun tel disjoncteur-conjoncteur manie des puissances
de plusieurs centaines de kilowatts et quune conversation tant
soit peu animée loblige à fonctionner, pour un «
oui » et un «non», à un rythme dautant
plus accéléré que le temps coûte cher, on
ne peut quadmirer ce nouveau chef-duvre dautomatique.
Enfin, le coût dune station aussi importante étant
fort élevé, il convenait dassurer la protection
des appareils contre toute fausse manuvre ou tout autre danger
échappant à la prévision. Cette fonction protectrice
est assurée par un appareil de contrôle, qui représente
certainement une des machines-cerveau les plus parfaites qui soient.
On pourrait, dailleurs, adresser le même compliment à
l'ensemble de la station installée à Rugby, qui résulte
de la collaboration de la Standard Téléphonés
and Cables Ltd et du Post Office britannique.
Il faut également citer ladmirable effort de mise au point
et de recherche scientifique pure opéré, à cette
occasion, à titre consultatif, par les laboratoires, uniques
au monde, de la Bell Téléphone
Cy.
Lensembble des amplificateurs a haute puissance
L'amplificateur à 10 kilowatts se reconnaît au fond de
la salle (armoire de droite).De là, l'onde modulée vient
au troisième étage amplificateur, comportant trois lampes
de 10 kilowatts situées dans le troisième cylindre en
treillis, à droite. De ce troisième étage, l'onde
passe au quatrième étage, formé par trente lampes
de 10 kilowatts, réparties par groupes de quinze dans chacun
des deux autres cylindres (milieu et gauche). C'est de là qu'elle
est envoyée dans l'antenne. A ce moment, partie de quelques milliwatls,
parvenue à 100 kilowatts-antenne, l'onde modulée primitive
se trouve amplifiée cinq cent millions de fois. Au premier plan,
on voit lappareil de contrôle automatique protégeant les
lampes contre les surtensions ou les erreurs de manuvre.
sommaire
1927 ON PEUT TÉLÉPHONER ET TÉLÉGRAPHIER
SIMULTANÉMENT SUR UN MÊME CIRCUIT
Le problème de la transmission de la parole et des dépêches
sur un même circuit est déjà vieux de plus de trente
ans. Il fut résolu, imparfaitement, par Van
Rysselberghe, P. Picard, Cailho.
Plus récemment, lappropriation des circuits (circuits fantômes)
avait abouti à une solution fort élégante, mais également
insuffisante en raison de la grande difficulté que lon éprouve
à maintenir dans un état déquilibre électrique
parfait les deux circuits réels, qui permettent de constituer un
circuit fantôme.
Cependant, toute solution qui permettrait à la télégraphie
lutilisation totale du réseau téléphonique
serait fatalement adoptée par toutes les administrations, sans
cesse préoccupées de lentretien des réseaux
et de la construction de nouvelles lignes. Il en résulterait, sinon
une économie formidable, du moins un bien-être inconnu jusquici,
puisque la majorité des fils télégraphiques pourrait
être rétrocédée au réseau téléphonique,
le restant étant utilisé dune manière beaucoup
plus avantageuse quils le sont actuellement.
Il appartenait à un télégraphiste français
de résoudre le problème. M. Bcrthois vient, en effet,
après dix ans defforts, de réaliser ce qui, jusquici,
nétait quun beau rêve : lutilisation intégrale
du réseau téléphonique par nimporte quel appareil
télégraphique.
Nous pouvons dire, dès maintenant, que linventeur utilise,
comme dans plusieurs systèmes de télégraphie multiple,
des courants de fréquence élevée, dau moins
80.000 périodes.
Il a réalisé cette performance sur un circuit approprié
entre Lyon, Marseille, Cannes et Nice, ccst-à-dire que chacun
de ces quatre postes était capable de recevoir ou de transmettre
des télégrammes à lun ou à lautre
des trois postes restants par un circuit téléphonique fantôme,
sans que les conversations sur les circuits réels en fussent gênées.
Un poste émetteur de T. S. F. est associé à lappareil
Baudot
Le principe est très simple. Chaque poste Baudot est complété
par un poste émetteur de T. S. F., sans antenne, bien entendu.
Les courants continus, sortant des transmetteurs télégraphiques,
sont transformés en courants à haute fréquence dans
les appareils de T. S. F. et ils circulent sous cette forme dans les circuits.
Ils sont reçus, à larrivée, dans les appareils
de T. S. F. correspondants et retransformés par eux en courants
continus, lesquels, enfin, actionnent les appareils Baudot.
Comme le nombre des fréquences réalisables est illimité,
on peut dire que, pratiquement, le nombre des postes télégraphiques
susceptibles dêtre desservis par un circuit téléphonique
est également illimité.
Les conséquences dune telle découverte sont immenses,
car tous les circuits du réseau téléphonique peuvent,
sans exception, être affectés à la transmission télégraphique.
De plus, il a été démontré, au cours dexpériences,
que la propagation sur les fils des courants à haute fréquence
est beaucoup plus rapide que celle des courants continus ; la télégraphie
sur les très longues distances peut donc être réalisée
directement, sans lintermédiaire de relais retransmetteurs
ou dinstallations de retransmission.
Ainsi, sur le fil de Paris à Rome, les deux retransmissions jusquici
obligatoires de Lyon et de Milan, qui gênent fortement les échanges
entre les deux centraux correspondants, seraient supprimées.
Aucune raison ne soppose également à ce que le réseau
souterrain français.actuellement inutilisé, soit mis au
service de la télégraphie à haute fréquence,
pas plus que les câbles sous-marins. Ceux-ci, fortement menacés
par la T. S. F., seraient sauvés par la même T. S. F. qui
lui prêterait ses organes les plus sensibles pour se défendre
contre elle-même.
On le voit, la découverte est dimportance. Le moins quon
puisse dire, cest que, si les résultats obtenus jusquici
par M. Berthois sur un circuit, dailleurs de très mauvaise
qualité, se confirment, la télégraphie avec fils
va reprendre un essor que la T. S. F. paraissait vouloir entraver.
1936 MAINTENANT LES ONDES COURTES PERMETTENT DE
TÉLÉPHONER DANS LES CINQ PARTIES DU MONDE
Comme nous venons de l'expliquer en 1927, la première installation
de ce genre mise en service régulier relie l'Angleterre et les
Etats-Unis, et réalise par conséquent l'interconnexion complète
des réseaux téléphoniques continentaux d'Europe et
d'Amérique du Nord.
En 1936,grâce aux liaisons intercontinentales Londres-Australie,
France-Indochine (qui dessert aussi Paris-Moscou), France-Argentine, France-Maroc,
France-Algérie, n'importe quel « abonné » européen
peut être mis en communication radiotéléphoniquc avec
les cinq parties du monde.
La liaison Paris-Alger peut être considérée comme
le modèle du genre ; elle est, à la fois, la plus moderne
et la plus perfectionnée. Au point de vue de son rendement, elle
laisse, notamment, loin derrière elle toutes les autres. Utilisant
quatre longueurs d'onde seulement (deux dans chaque sens), elle assure
ainsi simultanément quatre conversations téléphoniques
et quatre transmissions télégraphiques (deux dans chaque
sens également).
Enfin, maintenant, grâce au téléphone intercontinental,
il est possible de converser téléphoniquement avec les navires
en mer. Déjà une trentaine de paquebots (français,
anglais, américains, allemands et italiens) ont reçu un
équipement spécial, analogue à celui qui assure la
liaison entre les continents. Ainsi, de sa cabine même, aujourd'hui,
on peut « appeler » n'importe quel abonné d'Europe
ou d'Amérique, comme on le ferait de son domicile ou de son hôtel.
Si, actuellement, le trafic nest pas considérable, cest
en raison des difficultés économiques ou de la routine,
qui ne sest pas encore adaptée à ce progrès
nouveau. Etant donné les possibilités minima offertes par
linstallation (80 heures de communication par jour) et le prix demandé
pour lunité de conversation (90 francs), le capital de premier
établissement pourrait être amorti en un an seulement.

LES ORGANES DE LIAISON DE LA TRANSMISSION RADIOTÉLÉPIIONIQUE
PARIS - ALGER AU RÉSEAU TÉLÉPHONIQUE DU CENTRAL DE
LA RUE DES ARCHIVES, A PARIS
On voit, au premier plan, les tables de jacks. Derrière, se trouvent
quatre meubles, identiques entre eux, servant à assurer la liaison
de chacune des voies (émission et réception) au réseau
téléphonique ordinaire.
Ce schéma, très simplifié, synthétise parfaitement
l'ensemble des opérations qui aboutissent à assurer simultanément
quatre communications téléphoniques, plus deux trafics télégraphiques
dans chaque sens. C'est-à-dire que, au même instant, pratiquement,
huit personnes conversent deux à. deux, et quatre télégrammes
sont acheminés, deux de France en Algérie et deux d'Algérie
en France.

STATION DES EUCALYPTUS, PRÈS DALGER
Les pylônes métalliques ont 75 mètres de haut environ
et sont distants de 150 mètres. Chaque nappe de fils conducteurs,
tendue entre deux pylônes, est constituée pour fonctionner
exactement sur une longueur d'onde donnée. Près du pylône
central s'élève le bâtiment abritant le poste émetteur.
On pourra bientôt téléphoner de Paris à New
York sans passer par Lcndres.
Les autres services radiotéléphoniques transcontinentaux
fonctionnent de façon absolument similaire. Récemment, une
nouvelle communication a été ouverte entre Paris et Moscou.
Mais, pour la France, cela na conduit à aucune construction
nouvelle. En effet, lare de grand cercle reliant Paris à
Saigon passe légèrement au sud de ls capitale de lU.
R. S. S., et cest lémetteur de Paris-Saigon qui sert
à assurer les communications pour ces deux relations. Mais qui
aurait cru, ù priori, que la ligne droite tracée de Paris
à Saigon traverserait la Russie à une latitude aussi élevée
?
Une nouvelle relation es à létude qui permettrait
à lAdministration française des P. T. T, détablir
une communication directe entre la France et 1 s Etats-Unis, sans passer
par la voie britannique. Mais comme, aux Etats-Unis, ce sont des compagnies
privées qui assurent lexploitation téléphonique
et que ces compagnies ont des intérêts dans la liaison via
Angleterre, les négociations ont été particulièrement
délicates. Elles viennent dêtre cependant couronnées
de succès.
sommaire
Les téléphones
mobiles
Contrairement au téléphone (filaire), il n'est pas possible
d'émettre un message vers une seule station : toutes les stations
sur la fréquence entendent le message. Pour identifier l'émetteur
et le destinataire d'un message, chaque station a un indicatif.
Cet indicatif peut être :
- un numéro attaché à l'émetteur radio (voir
la section Appel sélectif) ;
- un code attaché à l'utilisateur, comme pour les radioamateurs
;
- un code de fonction, c'est-à-dire indiquant la fonction de l'utilisateur
dans le réseau ;
- un nom indiquant la position hiérarchique de l'utilisateur, c'est
l'indicatif d'autorité.
Un message débute toujours par « indicatif
du destinataire de indicatif de l'émetteur, parlez ! »
ce à quoi la station destinataire répond : « Transmettez
! »
indiquant ainsi qu'elle est à l'écoute ; en cas de non-réponse,
l'émetteur essaiera de transmettre un peu plus tard, ou bien essaie
de joindre une autre station pour vérifier que son émetteur
marche bien et pour voir si cette autre station arrive à joindre
le destinataire.
La prise de contact peut éventuellement comporter un renseignement
sur la nature du message ou sur son urgence.
Par exemple en France, lorsqu'une ambulance des sapeurs-pompiers dont
l'indicatif est « VSAV1 » (véhicule de secours et d'assistance
aux victimes) prend contact avec le service d'urgence médicale
Samu du département (par exemple le Samu 17, Charente-Maritime)
pour transmettre le bilan de la victime prise en charge, l'échange
peut débuter par :
VSAV1 : « Samu17 de VSAV1 pour bilan, parlez ! »
SAMU17 : « Transmettez VSAV1 ! »
Si la station est occupée et ne peut pas répondre dans l'immédiat,
elle le signale par le message « Patientez ! »
Ces téléphones étaient les prédécesseurs
de la première génération de téléphones
cellulaires, ces systèmes sont parfois appelés rétroactivement
systèmes pré-cellulaires (ou parfois génération
zéro, c'est-à-dire 0G).
Les technologies utilisées dans les systèmes pré-cellulaires
comprenaient les systèmes Push to Talk (PTT ou manuel),
Mobile Telephone Service (MTS), Improved Mobile Telephone Service
(en) (IMTS) et Advanced Mobile Telephone System (en) (AMTS). Ces premiers
systèmes de téléphonie mobile se distinguent des
systèmes radiotéléphoniques fermés antérieurs
en ce qu'ils étaient disponibles en tant que service commercial
faisant partie du réseau téléphonique public commuté,
avec leurs propres numéros de téléphone, plutôt
que de faire partie d'un réseau fermé tel qu'une radio de
police ou un système de répartition des taxis.
Ces téléphones mobiles étaient généralement
montés dans des voitures ou des camions (on les appelle donc des
téléphones de voiture), bien que des modèles de mallette
aient également été fabriqués. En général,
l'émetteur-récepteur était monté dans le coffre
du véhicule et attaché à la « tête »
(cadran, écran et combiné) montée près du
siège du conducteur. Ils étaient vendus par les WCC (Wireline
Common Carriers, c'est-à-dire les compagnies de téléphone),
les RCC (Radio Common Carriers) et les revendeurs de radios bidirectionnelles.
Premiers exemples pour cette technologie :
- Motorola, en collaboration avec le Bell System, a exploité le
premier service commercial de téléphonie mobile (MTS) aux
États-Unis en 1946, en tant que service de la compagnie de téléphone
filaire.
- L'A-Netz, lancé en 1952 en Allemagne de l'Ouest, est le premier
réseau public commercial de téléphonie mobile du
pays.
- Le système 1 lancé en 1959 au Royaume-Uni, le «
Post Office South Lancashire Radiophone Service », qui couvrait
le sud du Lancashire et fonctionnait à partir d'un central téléphonique
à Manchester, est cité comme le premier réseau de
téléphonie mobile du pays, mais il était manuel (il
fallait être connecté par l'intermédiaire d'un opérateur)
et sa couverture a été très limitée pendant
plusieurs décennies.
- Le premier système automatique a été l'IMTS du
Bell System, qui est devenu disponible en 1964, offrant une numérotation
automatique vers et depuis le mobile.
- Le système de téléphonie mobile « Altai (en)
» a été lancé dans le service expérimental
en 1963 en Union soviétique, devenant pleinement opérationnel
en 1965, un premier système automatique de téléphonie
mobile en Europe.
- Televerket a ouvert son premier système manuel de téléphonie
mobile en Norvège en 1966. La Norvège a ensuite été
le premier pays d'Europe à se doter d'un système automatique
de téléphonie mobile.
L'Autoradiopuhelin (en) (ARP), lancé en 1971 en Finlande, est le
premier réseau public commercial de téléphonie mobile
du pays.
- L'Automatizovaný mestský radiotelefon (en) (AMR), lancé
en 1978, pleinement opérationnel en 1983, en Tchécoslovaquie,
comme le premier radiotéléphone mobile analogique de tout
le bloc de l'Est.
- Le B-Netz (en), lancé en 1972 en Allemagne de l'Ouest, est le
deuxième réseau public commercial de téléphonie
mobile du pays (bien que le premier qui ne nécessite pas d'opérateurs
humains pour connecter les appels).
Parallèlement au service téléphonique
mobile amélioré (IMTS) aux États-Unis jusqu'au déploiement
des systèmes cellulaires AMPS, une technologie de téléphonie
mobile concurrente était appelée Radio Common Carrier ou
RCC. Ce service a été fourni des années 1960 aux
années 1980, lorsque les systèmes AMPS cellulaires ont rendu
l'équipement RCC obsolète. Ces systèmes fonctionnaient
dans un environnement réglementé en concurrence avec les
systèmes MTS et IMTS du Bell System. Les RCC traitaient les appels
téléphoniques et étaient exploités par des
entreprises privées et des particuliers. Certains systèmes
étaient conçus pour permettre aux clients de RCC adjacents
d'utiliser leurs installations, mais l'univers des RCC n'était
pas conforme à une norme technique interopérable unique
(une capacité appelée itinérance dans les systèmes
modernes). Par exemple, le téléphone d'un service RCC basé
à Omaha, au Nebraska, ne fonctionnerait probablement pas à
Phoenix, en Arizona. À la fin de l'existence de RCC, les associations
industrielles travaillaient sur une norme technique qui aurait potentiellement
permis l'itinérance, et certains utilisateurs mobiles possédaient
plusieurs décodeurs pour permettre le fonctionnement avec plus
d'un des formats de signalisation courants (600/1500, 2805 et Reach).
Le fonctionnement manuel était souvent une solution de repli pour
les itinérants du RCC.
Lorsqu'un relais est utilisé, il est possible d'interconnecter
le réseau de radiotéléphonie avec le réseau
de téléphonie fixe (et donc le réseau de téléphonie
mobile) via le relais. Ce système est beaucoup utilisé par
les compagnies de taxi. Lorsqu'une personne appelle le numéro de
téléphone depuis son téléphone fixe, cela
déclenche le relais et tout ce que dit la personne est émis
sur les ondes ; les communications radio sont également basculées
sur le réseau de téléphone fixe. Pour la personne
au téléphone, la communication se fait de manière
habituelle, n'étant en général pas au fait des conventions
de radiotéléphonie, la station radio s'attache donc à
parler normalement et uniquement lorsqu'elle sent que la personne au téléphone
a fini de parler
En France 1950, le Téléphone Mobile
de Voiture 150 Mc/s est mis en étude par le Service des Recherches
et du Contrôle Technique, sur décision de l'Administration
des PTT. Les études sont avancées avant Janvier 1952 et
la première expérimentation débute le 1er décembre
1954 avec un véhicule SIMCA Arond.
1955 Le premier réseau radio téléphonique
mobile appelé R150, est ouvert commercialement en France en Octobre
, uniquement à Paris et Région Parisienne, avec 10 abonnés.
Les fréquences utilisées sont autour de 150 MHz, le réseau
est conçu par la société Thomson-CSF.
C'est encore un système analogique manuel géré par
des opératrices, via le Central Téléphonique Radio
de Paris situé dans le Centre Téléphonique Émetteur
Ménilmontant, sur un point haut de Paris. La mise en relation est
faite à travers le ommutateur téléphonique automatique
ROTARY de l'époque.
1973, le Téléphone de Voiture R150 atteint 500 abonnés.
Le réseau R150 sera fermé le 2 janvier 1992.
Le réseau R450 (450 MHz.) vient compléter le réseau
R150 en juin 1973.Ce réseau est à commutation entièrement
automatique.
Que ce soit en technologies R150 ou R450, ce qu'il est convenu d'appeler
le "Téléphone de Voiture" atteint le 10.000 ème
abonné le 26 juin 1984 pour culminer en fin 1985 à un total
de 12.000 abonnés.
C'est en 1986 qu'est créé le premier réseau
français de téléphonie mobile sous la dénomination
de Radiocom 2000.
C'est un réseau
téléphonique mobile semi-analogique et semi-numérique
à structure cellulaire.
Radiocom 2000 est la norme 1G ou première génération.
La liaison (téléphonique) entre le radiotéléphone
et le réseau téléphonique (cental) est réalisé
par l'intermédiaire d'un relai radio.
Les signaux de contrôle et de localisation sont numériques.
Les conversations téléphoniques transitent directement en
modulations analogiques,sans cryptage par la voie aérienne. Chaque
Station Relais est raccordée par 2 ou 3 liaisons numériques
MIC (30 voies) à un Commutateur Téléphonique Électronique
Temporel de 2ème Génération (MT25 ou E10N1), puis
de 3ème Génération (AXE10). Chaque Commutateur Téléphonique
voit les liaisons MIC provenant des Stations Relais R2000 comme une simple
Unité de Raccordement d'Abonnés Distante.
Chaque relai couvre une zone géographique appelée «
cellule ». Cest pourquoi on parle parfois de réseaux
« cellulaires » .
Lorsqu'un mobile sort dune cellule, il peut « s'inscrire »
sur la cellule adjacente.
Lors du lancement du Radiocom 2000, la communication était perdue
lorsque le mobile sortait de la cellule d'inscription précédant
l'appel.
Lajout de la fonction de « handover » permet
de continuer la communication en changeant de zone de couverture.
Cette dernière évolution technique a coûté
le rapatriement de tous les mobiles pour mettre à jour le logiciel
de gestion du mobile !
Mai 1986, le Radiocom 2000 compte 1.800 abonnés en France.
Ce n'est pas vraiement un téléphone
mobile indépendant du réseau commuté, il faudra attendre
un peu.
Avant que le premier système radio cellulaire commercial
au monde, conçu par les ingénieurs des Bell Labs en 1946,
puisse être mis en service au Japon en 1979, 100 ingénieurs
et techniciens japonais ont nécessité une période
de développement de 12 ans.
ITT a dépensé un montant record de 1 milliard de dollars
dans les années 1980 pour le développement de son système
de commutation numérique (System 12), puis a abandonné les
télécommunications.
1987 Iridium, le premier système mondial
de communications personnelles mobiles par satellite, a été
conçu en 1987.
Plus de 1000 ingénieurs, techniciens et mathématiciens,
principalement aux États-Unis mais aussi en Europe et en Asie,
avec beaucoup de compétence et d'énergie, ont élaboré
des conceptions élaborées pour les composants et systèmes
pour les logiciels, les plans de gestion et la logistique au coût
de 3,4 milliards de dollars avant que le système puisse être
mis en service le 1er novembre 1998.
À ce moment-là, malheureusement, il était trop tard.
La pénétration mondiale étonnamment rapide de la
radio cellulaire a rendu le système Iridium superflu.
En 1988, le réseau Radiocom
2000 compte jusquà 60.000 abonnés et plus de 90
% des appareils sont installés à bord de véhicules.
Son utilisation est avant tout professionnelle et on est très
loin dun phénomène de masse. Il y avait 330.000
abonnés quand son abandon au profit exclusif
de la norme GSM sera réalisée en lan 2000. |
 |
sommaire
|