|
 |
Le Comte Th. du Moncel
Grand scientifique
ingénieur électricien à l'administration des
lignes télégraphiques
|
C'est au comte du Moncel que revient, pour une grande part,
l'honneur d'avoir popularisé en France la connaissance des
phénomènes électriques et de leurs applications.
Fils d'un général du génie qui fut pair de
France sous Louis-Philippe, le comte Théodore-Achille-Louis
du Moncel naquit à Paris le 6 mars 1821; il y est mort le
17 février 1884.
|
Retour au Sommaire
II fît ses études au collège de Caen,
et à dix-huit ans, ses classes à peine terminées, il
publia un Traité de perspective mathématique; peu de temps
après, il fit paraître un Traité de perspective apparente.
Dans ces deux volumes, que l'on croirait, en les lisant, écrits par
un homme d'âge, d'expérience et de grand savoir, le jeune homme
se montrait artiste autant que mathématicien.
Un des premiers archéologues de son temps, M. de Caumont, était
le parent du comte ; sur ses conseils, celui-ci entreprit de longs voyages
dans le midi de l'Europe et en Orient; il revint de ses expéditions
avec des documents et des croquis nombreux, dont il composa un grand ouvrage
qui parut, en 1847, sous ce titre : De Venise à Constantinople à
travers la Grèce.
Mais, épris de la science et curieux de ses nouveautés, du
Moncel, après son excursion dans le domaine archéologique,
se livra tout entier à l'étude de la physique, et en particulier
à l'étude de l'électricité.
Il travailla d'arrache-pied, sans découragement en présence
des difficultés que lui créait le manque d'études initiales
complètes ; il n'avait appartenu à aucune grande école,
et plusieurs années lui furent nécessaires pour combler les
lacunes de ses connaissances.
C'est en 1852 qu'il débuta dans la carrière d'écrivain
scientifique, et pendant une période de trente-deux années,
c'est-à-dire jusqu'à sa mort, il traita, dans des livres ou
dans des publications périodiques, toutes les questions mises successivement
à l'ordre du jour dans le domaine de l'électricité.
Ce que M. Louis Figuier a fait pour la science en général,
du Moncel l'a fait pour l'électricité.
Dans ses uvres, le savant se garde de grossir les difficultés
des questions qu'il traite; il cherche, au contraire, à aplanir ces
difficultés, et, grâce à un don spécial, il intéresse
également celui qui sait et celui qui ne sait pas.
C'est à la fois un professeur et un vulgarisateur ; il enseigne et
explique, il démontre et cause, il ne croit pas indigne de lui de
mettre dans ses livres des passages spécialement destinés
aux ignorants.
Avec lui la science est, non pas une austère déesse au front
soucieux et aux lèvres sans sourire; c'est une bonne fée,
qui prend parla main son élève, et, l'humeur aimable, le conduit
tout en discourant aux trésors merveilleux qui s'ouvrent à
son commandement.
L'écrivain fut, d'ailleurs, doublé d'un expérimentateur,
d'un praticien, d'un inventeur.
De 1850 à 1856, il inaugura plus de vingt-cinq appareils nouveaux,
dont les plus importants sont l'anémographe électrique, l'enregistreur
électrique des improvisations musicales, le régulateur automatique
de la température, l'éclaireur électrique des cavités
du corps humain, des systèmes particuliers de télégraphes,
un galvanomètre enregistreur.
C'est encore à du Moncel que l'on doit la précieuse découverte
de l'effluve électrique:, sur laquelle reposent les belles expériences
de MM. Paul Thénard, Berthelot et Houzeau.
Après avoir étudié et posé le principe de la
double composition de l'étincelle d'induction, M. Th. du Moncel est
parvenu le premier à la dédoubler, en précisant les
caractères des deux flux qui la composent. Il a découvert
les effets du magnétisme dissimulé et condensé, et
a établi les meilleures conditions de construction des électro-aimants,
suivant les cas de leur application.
Ses recherches sur la conductibilité des corps médiocrement
conducteurs, qui lui ont demandé plus de trois années d'études
suivies, ont révélé dans les minéraux des effets
de polarisation inattendus qui sont extrêmement curieux, et ses études
sur le rôle de la terre dans les transmissions électriques
ont montré l'origine des courants, accidentels
ou permanents, qui se manifestent dans les lignes télégraphiques.
Grâce à lui, on a des données certaines sur la résistance
électrique des bois, des minéraux, de la terre, des tissus,
etc.
Dans ses dernières années, il s'est surtout occupé
de l'origine des courants d'induction dans les machines Gramme et des meilleures
dispositions à donner aux machines électro-dynamiques. (Les
Nouvelles Conquêtes de la science.)
Du Moncel fut, en 1860, nommé ingénieur électricien
de l'administration des lignes télégraphiques.
Nul plus que lui ne méritait d'être appelé à
ces hautes fonctions; il les conserva treize ans, puis par mesure d'économie
l'emploi fut supprimé. Quelques mois après, le savant était
élu membre de l'Académie des sciences.
Dès son entrée à l'Institut (1874), le comte du Moncel
se donna pour mission de recueillir et de faire connaître à
ses collègues toutes les découvertes relatives à l'électricité
; l'uvre fut peut-être médiocrement glorieuse, mais elle
fut à coup sûr extrêmement utile.
C'est lui qui présenta, aux séances publiques, les inventions
du téléphone, du microphone, du radio-phone et du phonographe.
M. Figuier a résumé en une phrase le jugement qui doit être
porté sur le savant : L'histoire de sa carrière scientifique,
dit-il, atteste une activité intellectuelle peu commune, une grande
fécondité de production et une rare opiniâtreté
d'efforts.
Voici le premier premier ouvrage Français traitant du Téléphone
(sur cette page)
en 1878, ou à
feuilleter.
Sommaire
Entre la découverte en 1876 et 1879 il y eut beauoup de nouveautés,
de rivalités et de contradictions, surtout avec un certain colonel
Navez Belge, qui avait fin 1877, participé aux premiers perfectionnements
du télépone. (voir dans ce lien dans le livre)
Vu dans le Journal Télégraphique en 1878 :
| Note sur la théorie du téléphone,
par M. le lieutenant-colonel d'artillerie en retraite NAVEZ et M.
Louis NAVEZ fils.
Dans une Note précédente nous nous
sommes engagés à présenter une théorie
du téléphone aussitôt que nos expériences
seraient assez complètes.
Nous venons satisfaire à cet engagement. M. du Moncel
a formulé une théorie du téléphone dans
la séance de l'Académie française du 4 Mars
dernier.
La théorie exposée par le savant auteur des applications
de l'électricité repose sur des faits que nos expériences
contredisent en
grande partie; il n'est donc pas étonnant que nous arrivions
à des conclusions qui diffèrent essentiellement des
siennes.
Dans ce qui suit nous n'avancerons rien sans preuves à l'appui.
On admet généralement, dit M. du Moncel,
que l'audition de la parole transmise par le téléphone
résulte de la répétition, par la lame vibrante
du téléphone récepteur par suite des effets
électro-magnétiques produits, des vibrations déterminées
par la voix sur la lame vibrante du téléphone transmetteur,
lesquelles vibrations déterminent des courants induits plus
ou moins intenses destinés à produire les effets électromagnétiques.
Mais pour peu qu'on analyse les effets produits on reconnaît
qu'une semblable explication est difficile à admettre, et
toutes les expériences qui ont été faites récemment
semblent, sinon la condamner, du moins la faire considérer
comme incomplète.
En effet on a démontré que non-seulement la lame vibrante
du téléphone récepteur pouvait être remplacée
par une armature très-épaisse et très-massive,
sans que la transmission de la parole fût altérée,
mais encore que ces lames vibrantes pouvaient être constituées
avec des matières non magnétiques. Bien plus, même,
M.Spottiswoode a constaté récemment que l'on pouvait
supprimer entièrement la lame vibrante sans empêcher
la transmission téléphonique, pourvu que l'extrémité
polaire de l'aimant fût placée très près
de l'oreille. Si on considère, d'un autre côté,
que les différentes parties d'un téléphone
peuvent transmettre les sons articulés soit directement,
soit par l'intermédiaire de ficelles, ainsi que l'a constaté
M. A. Bréguet, on acquiert la conviction que les vibrations
qui reproduisent la parole dans le téléphone récepteur
sont principalement produites par le noyau métallique enveloppé
par la bobine, et, par conséquent, sont de la même
nature que celles qui ont été étudiées
dans les tiges électro-magnétiques par MM. Page, Henry,
Wert heim, etc., etc.
On sait que ce sont ces vibrations qui ont été utilisées
dès l'année 1861 dans le téléphone de
Reiss, et, plus tard, dans ceux de MM. Cecil, Léonard Wray,
Van der Weyde et Elisha Gray.
Dans cette hypothèse, la lame vibrante n'aurait d'autre rôle
à remplir que de réagir pour la pro duction des courants
induits quand elle serait mise en vibration par la voix, et de renforcer
par sa réaction sur l'extrémité polaire du
barreau aimanté, les effets magnétiques déterminés
au sein de celui-ci quand elle vibrerait sous l'influence électro
magnétique ou du moins quand elle serait actionnée
par l'aimant.
Examinons d'abord si, comme l'avance le savant électricien,
les vibrations qui font parler le téléphone sont produites
par le noyau
métallique enveloppé par la bobine. Nous avons retiré
les plaques de cinq téléphones Bell qui tous parlent
très-bien lorsqu'ils sont
complets. Sans plaque vibrante, tous sont restés muets. Et
cependant cependant étaient commandés par un envoyeur
Edison qui les fait ordinairement parler beaucoup plus haut que
lorsqu'ils reproduisent la parole d'un autre Bell. Nous inclinons
à admettre que M. Spottiswoode s'est placé, pour exécuter
son expérience, dans des circonstances propres à la
propagation du son par les vibrations intermoléculaires sans
intervention des courants électriques.
Pour nous rendre bien compte des effets de la masse
métallique soumise aux actions des courants d'induction,
nous avons fait agir le courant sur un barreau cylindrique en fer
du poids d'un kilogramme environ. Cent mètres de fil couvert
enveloppaient l'extrémité du barreau. Une plaque vibrante
très-mince, non magnétique, était placée
devant la tranche du cylindre. Employé avec ou sans aimant
permanent, ce téléphone n'a produit aucun son.
Alors nous avons réalisé la contre-partie
de cette expérience. Dans un Bell construit pour être
employé avec un aimant permanent extérieur, nous avons
remplacé le noyau plein, en fer doux, par un anneau en tôle
de fer, extrêmement mince, dont la partie engagée dans
la bobine ne pesait que 25 à 30 centigrammes. La plaque vibrante
était une plaque ordinaire de téléphone en
tôle mince. Pour obtenir de ce téléphone, introduit
dans le circuit électrique, les meilleurs résultats,
il suffisait d'approcher de l'anneau en tôle, sans même
le mettre en contact avec l'instrument, le pôle d'un aimant
permanent..
Des expériences comparatives faites par M.
du Moncel en 1862, entre des électro-aimants à noyau
plein et d'autres à noyau creux, prouvent que l'action de
la partie centrale du noyau en fer, relativement à l'attraction
produite, peut être considérée comme nulle.
(Voir Exposé des appl. de Vélec., tome V, page 545.)
Nous savions aussi que le fer en masse faible (tôle mince
ou fil ténu) est très-sensible aux actions électromagnétiques.
Pour nous qui attribuons les effets du téléphone à
l'action de l'électro-aimant sur la plaque, le résultat
de l'essai cité plus haut ne comportait donc rien d'imprévu.
Nous sommes en présence de ces faits d'expériences:
des masses relativement fortes de fer doux actionnées par
les courants d'induction ne parlent pas, tandis que quelques centigrammes
de fer soumis aux mêmes courants, en présence d'une
plaque mince et d'un aimant permanent, agissant par influence, font
très-bien reproduire les paroles par la plaque vibrante.
Nous concluons: le noyau de la bobine ne produit pas, par lui-même,
des vibrations sonores; il subit des variations magnétiques
et ces variations font vibrer la plaque utilement pour la reproduction
de la parole.
Ici se présente une nouvelle question : Comment
vibre la plaque ? Nous croyons que les noeuds de vibration sont
déterminés par l'intensité de l'attraction
magnétique et que l'action magnétique utile est presque
superficielle. Lorsque l'on emploie des plaques très-épaisses,
comme dans l'expérience de M. A. Bréguet, citée
par M. du Moncel, la masse intérieure du fer propage le son,
mais ne le produit pas. S'il n'en était pas ainsi, l'intensité
de la parole reproduite devrait augmenter avec la masse ; or, c'est
le contraire qui arrive. Il y a peu de temps nous faisions encore
usage de plaques assez épaisses pour nos récepteurs
Bell, afin d'éviter la production de sons musicaux. Depuis,
nous avons reconnu que l'on peut éviter les sons musicaux
par d'autres moyens et nous sommes revenus aux plaques minces qui
sont plus sensibles.
Pour l'Edison modifié que nous employons
comme envoyeur, nous avons essayé successivement des plaques
vibrantes fabriquées de différentes matières:
le cuivre, le fer, le verre, le bois, le carton bristol, le papier,
la gutta-percha et enfin le caoutchouc vulcanisé doublé
d'une toile de coton et employé sans subir d'autre tension
que celle qui lui est propre. Les matières non métalliques
étaient recouvertes d'une feuille de cuivre très-mince
(servant à la fausse dorure) afin de conduire le courant
électrique. Toutes ces plaques, de nature si différentes,
ont fourni des résultats sensiblement identiques entre eux,
sous le double rapport du timbre et de la hauteur du ton de la parole
reproduite. L'intensité du son varie avec la matière
de la plaque
vibrante, mais ces variations ne sont pas grandes.
La comparaison de plaques de différents diamètres
et même de différentes formes, prouve que l'étendue
de la plaque est presque sans influence sur les résultats
fournis. On doit en conclure que l'onde sonore, attaquant la plaque,
choisit ses points d'appui, c'est-à-dire qu'elle détermine
elle-même les noeuds de vibration. L'expérience prouve
qu'il faut éviter de la contrarier dans ce choix, sinon la
parole reproduite se complique de sons musicaux. Les sons musicaux
mêmes ne se reproduisent bien par le téléphone
qu'alors qu'ils peuvent déterminer librement les noeuds de
vibration dans la lame de l'envoyeur. Voici une expérience
qui le prouve. Dans une boîte en bois, construite comme la
partie antérieure d'un téléphone Bell, on fixe
par une de ces extrémités un ressort assez large.
Ce ressort, lorsqu'il vibre, vient buter contre l'extrémité,
garnie de platine, d'une vis. Ce petit appareil, placé dans
le circuit électrique (système Edison-Bell), donne
lieu à des conjonctions et des disjonctions aussitôt
que le ressort vibre. Faisons vibrer le ressort en bourdonnant dans
le cornet et le téléphone récepteur fera entendre
des sons musicaux à plusieurs mètres de distance.
Pinçons le ressort comme une corde de guitare, le récepteur
restera muet ou du moins ne produira que des sons de grêle.
Dans le premier cas, le ressort vibrait indépendamment de
son point fixe; dans le second cas, les vibrations dépendaient
du point fixe. En principe, la plaque du téléphone
pourrait être entièrement
libre; mais, en pratique, il faut bien lui donner un appui. La plaque
simplement posée sur le rebord de la cavité où
se concentrent les ondes sonores, reproduit bien la parole lorsque
tout est disposé avec grande précision. Mais la moindre
irrégularité dans le contact de la plaque avec son
appui donne lieu à des sons anormaux. On les évite
en comprimant la plaque vers les bords, plus ou moins suivant la
matière dont elle est confectionnée. ( la compression
doit toujours être faite avec interposition de caoutchouc
vulcanisé, d'un côté de la plaque et sur trois
points de son pourtour également espacés).
Parmi les différentes plaques qui ont été
mises en essai, celles en bois, très-minces, ont fourni d'excellents
résultats comme intensité et pureté de son.
Mais ces plaques présentent l'inconvénient de se voiler
facilement et de rendre alors les résultats irréguliers.
Une plaque en bois de tilleul, épaisse de quatre millimètres,
conserve bien sa forme; elle fait moins de bruit qu'une plaque très-mince,
mais elle fonctionne plus régulièrement.
On peut éviter de dorer les plaques non métalliques
en collant sur leur partie centrale un disque en papier d'étain
sur lequel repose la première rondelle de charbon. Ce disque
est introduit dans le circuit électrique en dehors duquel
on laisse la plaque. Cependant la dorure sur toute la surface assure
mieux la communication. Disons, en passant, qu'après avoir
essayé bon nombre de qualités différentes de
charbons,nous trouvons les rondelles fabriquées avec le charbon
de bois durci et épuré, préparé pour
la lumière électrique, bien supérieures au
charbon de cornue. Avec ce dernier charbon, dix à douze rondelles
étaient
nécessaires; maintenant nous en employons six au plus.
Le téléphone ne transmet pas la parole,
comme on a coutume de le dire improprement; il reproduit la parole.
Le téléphone ne transmet que des forces, et c'est,
en dernier lieu, la force magnétique agissant sur la plaque
du récepteur, qui. produit les ondes sonores parlantes.
Dans le système de Bell, comprenant les deux
instruments réciproques, les oncles sonores qui proviennent
du récepteur représentent en force équivalente
celles qui ont attaqué la plaque de l'envoyeur, sauf les
pertes. Dans les systèmes qui admettent une pile électrique,
les vibrations de la plaque du récepteur peuvent représenter
un travail plus grand que celui des ondes sonores dont se composait
le faisceau qui a attaqué la plaque de l'envoyeur.
Les forces transmises d'un téléphone
à l'autre étant simples, ne peuvent donner lieu, en
faisant vibrer la plaque d'un récepteur, qu'à des
sons également simples, accompagnés de leurs harmoniques.
C'est dans l'organe auditif de la personne qui écoute que
les différents sons viennent se superposer par suite de la
persistance des impressions. Jusqu'à présent nous
ne trouvons pas d'autre explication plausible de la reproduction
du timbre, des accords, de l'harmonie.
D'après M. du Moncel, M. Bell n'a employé
des aimants permanents pour ses téléphones récepteurs
que pour rendre ses appareils à la fois transmetteurs et
récepteurs.
On peut, il est vrai, dans certaines circonstances
et en construisant l'instrument d'une manière spéciale,
faire parler un Bell récepteur sans aimant permanent. Cependant,
l'instrument tel qu'il est généralement construit,
reste muet si on retire l'aimant pour le remplacer par un cylindre
en fer doux fixé dans la bobine. Néanmoins il suffit
d'approcher le pôle d'un aimant permanent du cylindre en fer
doux pour rendre la voix au téléphone.
Il résulte de nos expériences que
pour qu'un téléphone Bell fonctionne bien, il est
indispensable que la plaque soit soumise à une tension magnétique
initiale, obtenue au moyen d'un aimant permanent. Cette assertion
est d'ailleurs facile à déduire de considérations
théoriques.
Supposons deux Bell conjugués, celui qui
remplit les fonctions de récepteur n'étant pas muni
d'un aimant permanent. La plaque de l'envoyeur fait un mouvement
et le courant d'induction produit, activant l'électro-aimant
du récepteur, détermine dans sa plaque un mouvement
correspondant. La plaque de l'envoyeur fait un autre mouvement,
plus grand que le précédent, et envoie en conséquence,
dans la bobine, un courant qui doit nécessairement renverser
les pôles de l'électro-aimant et déterminer
deux mouvements en sens inverse de la plaque réceptrice pour
un mouvement de la plaque de l'envoyeur.
Mais que le téléphone-récepteur
soit, comme l'envoyeur, muni d'un aimant permanent, les choses se
passeront tout autrement. Le renversement de pôles ne pourra
plus se produire parce que les cornants d'induction les plus intenses,
déterminés par l'envoyeur, ne seront jamais assez
puissants pour neutraliser l'action de l'aimant permanent. Dans
ce cas, la tension magnétique de la plaque du récepteur
ne peut subir que des augmentations et des diminutions, et les mouvements
de la plaque de l'envoyeur sont régulièrement reproduits
par la plaque du récepteur, condition indispensable pour
que l'appareil fonctionne bien.
En faisant des expériences sur les plaques
au moyen d'une boîte à musique, nous avons cru remarquer
que certaines notes négligées par une plaque étaient
reproduites par une autre. Si cette observation se confirmait, il
y aurait peut-être lieu d'employer simultanément des
plaques qui se compenseraient, des plaques complémentaires
l'une de l'autre. C'est une question à étudier.
Nous terminerons cette Note par une appréciation
que nous dicte un sentiment de justice clistributive. Nous entendons
contester à M. Bell et à M. Edison l'invention des
téléphones articulants, c'est-à-dire des téléphones
qui reproduisent la voix humaine. Cela nous semble injuste.
Les travaux de MM- Page, Henry, Wertheim, Reiss,.
etc., etc., sur la production et la transmission des sons par les
courants électriques, présentent certainement beaucoup
d'intérêt et peuvent être considérés
comme des acheminements vers la solution du problème dont
il est ici question. Mais il est évident que les procédés
employés par ces savants physiciens n'étaient pas
propres à reproduire la parole articulée.
M. du Moncel, dans la séance de l'Académie
des sciences de Paris du 18 mars courant, a réclamé
l'invention du téléphone en faveur de M. Charles Bourseulles,
sous inspecteur des lignes télégraphiques à
Auch. Cet inventeur avait décrit en 1854 une disposition
de téléphone que M. du Moncel estime être exactement
identique au téléphone actuel.
Nous trouvons à la page 110 de l'Exposé des applications
de l'électricité, tome IIP, 1856, le projet de M.
B***. Il s'agit effectivement de faire vibrer deux plaques à
distance au moyen de courants électriques; mais les vibrations
du récepteur devaient être le résultat de disjonctions
produites dans le circuit. Or, nous savons que par ce procédé
on n'obtient pas l'articulation. Introduit dans le circuit électrique
de l'envoyeur Edison, un téléphone à disjonctions
et conjonctions constitue un excellent avertisseur; il résonne,
mais il ne parle pas.
M. Bourseulles étant en bonne voie, on doit
regretter qu'il n'ait pas été encouragé. L'idée
de faire vibrer des plaques à distance constitue pour M.
Bourseulles un titre suffisant pour qu'il soit admis parmi les précurseurs
des Bell et dés Edison, mais rien de plus. Nous voyons cependant
avec plaisir que M. du Moncel attache une importance considérable
à l'idée de M. Bourseulles, parce que ce fait semble
prouver que l'éminent électricien admet maintenant
avec nous que ce sont les vibrations des plaques qui font parler
le téléphone et non le noyau de la bobine.
Un dernier mot : le nouvel appareil de M. Edison,
le phonographe, enregistre la parole sous l'action d'une simple
plaque vibrante et répète la parole lorsque la même
plaque reproduit les mêmes vibrations ou, plus exactement,
des
vibrations proportionnelles aux premières. Une seule plaque
joue ici le même rôle que les deux plaques du téléphone,
et le mode d'action de ces plaques se trouve ainsi parfaitement
déterminé.
|
Sommaire
|
Note présentée à l'Académie
dos sciences, dans la séance du 2 Juin 1879 , par M. Tu.
DU MONCEL.
Sur l'origine des sons dans le téléphone.
Les expériences de MM. Spottiswoode, Warwick,
Canestrelli, Paul Roy, Millarcl, Lloyd, etc., et surtout celles
de M. Ader, ont bien démontré que la parole pouvait
être reproduite par un noyau magnétique, simplement
enveloppé par une hélice électro-magnétique
; mais, dans la plupart de ces expériences, on employait
pour transmetteur un parleur microphonique actionné par une
pile plus ou moins énergique. Or, on pouvait dire que, si
une pile était nécessaire pour déterminer les
vibrations reproduisant dans ce cas la parole, ces vibrations pourraient
bien ne pas être obtenues avec les courants si faibles qui
sont engendrés dans un téléphone Bell devant
lequel on parle. Dès-lors, l'explication que j'avais donnée
pour rendre compte des effets produits dans le téléphone
Bell ne se trouvait pas complètement justifiée par
les expériences citées précédemment.
Il s'agissait donc de montrer que la parole pouvait être transmise,
dans les conditions des expériences de M. Ader, avec les
seuls courants induits provoqués par un téléphone
servant de transmetteur. Or, j'ai fait à cet égard
des expériences qui sont tout-à-fait concluantes.
J'ai pris, en effet, pour organe transmetteur, un des téléphones
de petit modèle à enveloppe d'ébonite que construit
M. Bréguet, et pour organe récepteur le petit appareil
que j'ai décrit dans une note présentée à
l'Académie le 17 Mars 1879. C'est un petit fragment de ressort
de montre fixé sur une petite planchette de sapin et enveloppé,
dans sa partie en contact avec la planche, d'une petite hélice
en fil très-fin n° 32. Ce petit fragment de ressort,
qui dépassait la bobine d'environ centimètres, était
fortement aimanté, et, quand le fil de l'hélice se
trouvait réuni au circuit du téléphone, il
suffisait d'appliquer la planchette de bois contre l'oreille pour
que les paroles prononcées dans le téléphone
fussent entendues d'une manière distincte. Sans doute, cette
reproduction de la parole était un peu faible, et l'on était
obligé de parler dans le téléphone avec une
voix aussi forte que pour faire fonctionner le phonographe ; mais
la répétition des mots était très-nette,
et l'on pouvait être certain que la transmission mécanique
des sons n'en était pas la cause, car, si l'on réunissait
à un seul bout du fil de l'hélice les deux fils conducteurs
du circuit, on ne percevait aucun son.
Il est donc bien certain que les courants induits
produits par un téléphone Bell peuvent déterminer
la reproduction de la parole dans une lame magnétisée
entourée d'une hélice, sans qu'il soit besoin d'aucun
diaphragme influencé par cette lame. Je suis donc convaincu
plus que jamais que les sons produits dans un téléphone
Bell ordinaire ne sont que le résultat des effets moléculaires
déterminés dans son diaphragme, par suite des aimantations
et désaimantations que celui-ci subit sous l'influence des
variations de l'état magnétique du barreau aimanté.
Si l'on entend mieux avec un téléphone muni de son
diaphragme, c'est donc parce que ce diaphragme, en servant d'armature,
surexcite la puissance magnétique du barreau aimanté
et qu'il se trouve lui-même affecté par les vibrations
de la boîte du téléphone, fixée à
l'un des bouts de ce barreau aimanté. M. l'abbé Lâborde
a, du reste, démontré ce dernier effet d'une manière
très-ingénieuse, en montrant qu'un diaphragme fait
avec une matière non magnétique quelconque transmet
les sons, quelle que soit sa position par rapport au noyau magnétique,
pourvu qu'il y ait contact entre lui et la boîte du téléphone,
et il a même reconnu qu'un diaphragme en fer, étant
éloigné du noyau magnétique, reproduisait les
sons de la même manière que tout autre diaphragme placé
dans la même position: seulement, dans le voisinage de l'aimant,
les sons étaient reproduits avec une beaucoup plus grande
force, en raison précisément de la plus grande énergie
communiquée alors au système magnétique. Toutefois,
il n'est pas à dire pour cela que des vibrations résultant
d'attractions électro-magnétiques ne puissent être
produites dans un téléphone; mais il faut alors que
les courants transmis soient assez intenses pour déterminer
ces attractions, et il m'est impossible d'admettre qu'un courant
électrique, qui, d'après M. Galileo Ferais, n'a pas
une intensité supérieure à celle d'un courant
d'un élément Daniell qui aurait traversé un
circuit télégraphique d'une longueur égale
à deux cent luatve-vingt dix fois le tour du globe terrestre,
soit susceptible de provoquer des attractions électro-magnétiques
électro-magnétiques engendrer les vibrations multiples
qui constituent les sons de la parole.
Je crois donc que la théorie que j'ai émise
dans ma Note du 4 Mars 1878 est aujourd'hui parfaitement démontrée.
|
Sommaire
BIBLIOTHÈQUE
DES MERVEILLES
LE TÉLÉPHONE
LE MICROPHONE
ET LE PHONOGRAPHE
par
Le comte Th.
DU MONCEL
Membre de l'Institut
OUVRAGE ILLUSTRÉ
DE 67 FIGURES DESSINÉES SUR BOIS
PAR B. BONNAFOUX
PARIS
LIBRAIRIE HACHETTE ET Cie
79, BOULEVARD SAINT-GERMAIN, 79
1878
Droits de propriété et de traduction réservés
BIBLIOTHÈQUE DES MERVEILLES
PUBLIÉE
SOUS LA DIRECTION
DE M. ÉDOUARD CHARTON
LE TÉLÉPHONE, LE MICROPHONE
ET LE PHONOGRAPHE
21571-78.—PARIS,
TYPOGRAPHIE LAHURE
Rue de Fleurus, 9
UN COUP D'ŒIL HISTORIQUE.
À proprement parler, le téléphone n'est qu'un instrument
apte à transmettre les sons à distance, et l'idée de cette transmission
est aussi ancienne que le monde. Les Grecs employaient des moyens susceptibles
de la réaliser, et il n'est pas douteux que ces moyens n'aient été quelquefois
mis à contribution dans les oracles du paganisme. Seulement cette transmission
des sons ne sortait pas de certaines limites assez restreintes, ne dépassant
pas sans doute celles des porte-voix. Suivant M. Preece, le document le
plus ancien où cette transmission du son à distance soit formulée d'une
manière un peu nette, remonte à l'année 1667, comme il résulte d'un écrit
d'un certain Robert Hooke, qui dit à ce propos: Il n'est pas impossible
d'entendre un bruit à grande distance, car on y est déjà parvenu, et l'on
pourrait même décupler cette distance sans qu'on puisse taxer la chose
d'impossible. Bien que certains auteurs estimés aient affirmé qu'il était
impossible d'entendre à travers une plaque de verre noircie même très-mince,
je connais un moyen facile de faire entendre la parole à travers un mur
d'une grande épaisseur. On n'a pas encore examiné à fond jusqu'où pouvaient
atteindre les moyens acoustiques, ni comment on pourrait impressionner
l'ouïe par l'intermédiaire d'autres milieux que l'air, et je puis affirmer
qu'en employant un fil tendu, j'ai pu transmettre instantanément le
son à une grande distance et avec une vitesse sinon aussi rapide que celle
de la lumière, du moins incomparablement plus grande que celle du son
dans l'air. Cette transmission peut être effectuée non-seulement avec
le fil tendu en ligne droite, mais encore quand ce fil présente plusieurs
coudes.
Ce système de transmission des sons, sur lequel sont basés
les téléphones à ficelle qui attirent l'attention depuis quelques années,
est resté à l'état de simple expérience jusqu'en 1819, époque à laquelle
M. Wheatstone l'appliqua à sa lyre magique. Dans cet appareil, les sons
étaient transmis à travers une longue tige de sapin dont l'extrémité était
adaptée à une caisse sonore; de là à l'emploi des membranes utilisées
dans les téléphones à ficelle, il n'y avait qu'un pas. Quel est celui
qui eut cette dernière idée?... il est assez difficile de le dire, car
beaucoup de ces vendeurs de téléphones se l'attribuent sans se douter
même de la question. S'il faut en croire certains voyageurs, ce système
serait depuis longtemps employé en Espagne pour les correspondances amoureuses.
Quoi qu'il en soit, les cabinets de physique ne possédaient pas ces appareils
il y a quelques années, et beaucoup de personnes croyaient même que la
ficelle était constituée par un tube acoustique de petit diamètre. Cet
appareil, quoique devenu un jouet d'enfant, est d'une grande importance
scientifique, car il montre que les vibrations capables de reproduire
la parole peuvent être d'un ordre infiniment petit, puisqu'elles peuvent
être transmises mécaniquement à des distances dépassant cent mètres. Toutefois,
au point de vue télégraphique, le problème de la propagation des sons
à distance était loin d'être résolu de cette manière, et l'idée d'appliquer
les effets électriques à cette sorte de transmission dut naître aussitôt
qu'on put être témoin des effets merveilleux de la télégraphie électrique,
ce qui nous reporte déjà aux époques qui suivirent l'année 1839. Une découverte
inattendue faite par M. Page en 1837, en Amérique, et étudiée depuis par
MM. Wertheim, de la Rive et autres, devait d'ailleurs y conduire naturellement;
car on avait reconnu qu'une tige magnétique soumise à des aimantations
et à des désaimantations très-rapides, pouvait émettre des sons, et que
ces sons étaient en rapport avec le nombre des émissions de courants qui
les provoquaient.
D'un autre côté, les vibrateurs électriques combinés par
MM. Mac-Gauley, Wagner, Neef, etc., et disposés dès 1847 et 1852 par MM.
Froment et Pétrina pour la production de sons musicaux, prouvaient que
le problème de la transmission des sons à distance était possible. Toutefois,
jusqu'en 1854, personne n'avait osé admettre la possibilité de transmettre
électriquement la parole à distance, et quand M. Charles Bourseul publia
à cette époque une note sur la transmission électrique de la parole, on
regarda cette idée comme un rêve fantastique. Moi-même, je dois l'avouer,
je ne pouvais y croire, et quand, dans la première édition de mon exposé
des applications de l'électricité publiée en 1854 je rapportai cette note,
je crus devoir l'accompagner de commentaires plus que dubitatifs. Cependant,
comme la note me paraissait bien raisonnée, je n'hésitai pas à la publier
en la signant seulement des initiales Ch. B***. La suite devait donner
raison à cette idée hardie, et quoiqu'elle ne renfermât pas en elle le
principe physique qui seul pouvait conduire à la reproduction des sons
articulés, elle était pourtant le germe de l'invention féconde qui a illustré
les noms de Graham Bell et d'Elisha Gray. C'est à ce titre que nous allons
reproduire encore ici la note de M. Charles Bourseul.
Après les merveilleux télégraphes qui peuvent reproduire
à distance l'écriture de tel ou tel individu, et même des dessins plus
ou moins compliqués, il semblerait impossible, dit M. B***, d'aller plus
en avant dans les régions du merveilleux. Essayons cependant de faire
quelques pas de plus encore. Je me suis demandé, par exemple, si la parole
elle-même ne pourrait pas être transmise par l'électricité, en un mot,
si l'on ne pourrait pas parler à Vienne et se faire entendre à Paris.
La chose est praticable: voici comment:
Les sons, on le sait, sont formés par des vibrations et
appropriés à l'oreille par ces mêmes vibrations que reproduisent les milieux
intermédiaires.
Mais l'intensité de ces vibrations diminue très rapidement
avec la distance; de sorte qu'il y a, même en employant des porte-voix,
des tubes et des cornets acoustiques, des limites assez restreintes qu'on
ne peut dépasser. Imaginez que l'on parle près d'une plaque mobile, assez
flexible pour ne perdre aucune des vibrations produites par la voix, que
cette plaque établisse et interrompe successivement la communication avec
une pile: vous pourrez avoir à distance une autre plaque qui exécutera
en même temps les mêmes vibrations.
Il est vrai que l'intensité des sons produits sera variable
au point de départ, où la plaque vibre par la voix, et constante au point
d'arrivée, où elle vibre par l'électricité; mais il est démontré que cela
ne peut altérer les sons.
Il est évident d'abord que les sons se reproduiraient
avec la même hauteur dans la gamme.
L'état actuel de la science acoustique ne permet pas de
dire a priori s'il en sera tout à fait de même des syllabes articulées
par la voix humaine. On ne s'est pas encore suffisamment occupé de la
manière dont ces syllabes sont produites. On a remarqué, il est vrai,
que les unes se prononcent des dents, les autres des lèvres, etc., mais
c'est là tout.
Quoi qu'il en soit, il faut bien songer que les syllabes
ne reproduisent, à l'audition, rien autre chose que des vibrations des
milieux intermédiaires; reproduisez exactement ces vibrations, et vous
reproduirez exactement aussi les syllabes.
En tout cas, il est impossible de démontrer, dans l'état
actuel de la science, que la transmission électrique des sons soit impossible.
Toutes les probabilités, au contraire, sont pour la possibilité.
Quand on parla pour la première fois d'appliquer l'électro-magnétisme
à la transmission des dépêches, un homme haut placé dans la science traita
cette idée de sublime utopie, et cependant aujourd'hui on communique directement
de Londres à Vienne par un simple fil métallique.—Cela n'était pas possible,
disait-on, et cela est.
Il va sans dire que des applications sans nombre et de
la plus haute importance surgiraient immédiatement de la transmission
de la parole par l'électricité.
À moins d'être sourd et muet, qui que ce soit pourrait
se servir de ce mode de transmission qui n'exigerait aucune espèce d'appareils.
Une pile électrique, deux plaques vibrantes et un fil métallique suffiraient.
Dans une multitude de cas, dans de vastes établissements,
par exemple, on pourrait, par ce moyen, transmettre à distance tel ou
tel avis, tandis qu'on renoncera à opérer cette transmission par l'électricité,
dès lors qu'il faudra procéder lettre par lettre et à l'aide de télégraphes
exigeant un apprentissage et de l'habitude.
Quoi qu'il arrive, il est certain que dans un avenir plus
ou moins éloigné, la parole sera transmise à distance par l'électricité.
J'ai commencé des expériences à cet égard: elles sont délicates
et exigent du temps et de la patience, mais les approximations obtenues
font entrevoir un résultat favorable.
Il est certain que cette description n'est pas assez complète
pour qu'on puisse y découvrir la disposition qui pouvait conduire à la
solution du problème, et si les vibrations de la lame au poste de réception
devaient résulter d'interruptions et de fermetures de courant effectuées
au poste de transmission, sous l'influence des vibrations déterminées
par la voix, elles ne pouvaient fournir que des sons musicaux et non des
sons articulés. Néanmoins l'idée était très-belle, comme le dit
M. Preece, tout en regardant sa réalisation comme impossible. Il est du
reste facile de voir que M. Bourseul lui-même ne se dissimulait pas les
difficultés du problème en ce qui touchait les sons articulés, car il
signale, comme on vient de le voir, les différences qui existent entre
les vibrations simples produisant les sons musicaux et les vibrations
complexes déterminant les sons articulés; mais, comme il le disait fort
justement: Reproduisez au poste de réception les vibrations de l'air
déterminées au poste de transmission, et vous aurez la transmission de
la parole quelque compliqué que soit le mécanisme au moyen duquel on l'obtient.
Nous verrons à l'instant comment a été résolu ce problème, et il est probable
que certains essais avaient déjà fait pressentir à M. Bourseul la solution
de la question; mais rien dans sa note ne peut faire entrevoir quels étaient
les moyens auxquels il avait pensé; de sorte que l'on ne peut raisonnablement
pas lui rapporter la découverte de la transmission électrique de la parole,
et nous ne comprenons guère qu'on ait pu nous faire un reproche de ne
pas avoir apprécié, dès cette époque, l'importance de cette découverte
qui pouvait bien alors paraître un peu du domaine de la fantaisie.
Ce n'est qu'en 1876 que le problème de la transmission
électrique de la parole a été définitivement résolu, et cette découverte
a soulevé dans ces derniers temps, entre MM. Elisha Gray, de Chicago,
et Graham Bell un débat de priorité intéressant sur lequel nous devons
dire quelques mots.
Dès l'année 1874, M. Elisha Gray s'occupait d'un système
de téléphone musical qu'il voulait appliquer aux transmissions télégraphiques
multiples, et les recherches qu'il dut entreprendre pour établir ce système
dans les meilleures conditions possibles lui firent entrevoir la possibilité
de transmettre électriquement les mots articulés. Tout en expérimentant
son système télégraphique, il combina, en effet, vers le 15 janvier 1876,
un système de téléphone parlant dont il déposa à l'office des patentes
américaines, sous la forme de caveat ou de brevet provisoire, la
description et les dessins. Ce dépôt fut fait le 14 février 1876: or ce
même jour M. Graham Bell déposait également à l'office des patentes américaines
une demande de brevet dans laquelle il était bien question d'un appareil
du même genre, mais qui s'appliquait surtout à des transmissions télégraphiques
simultanées au moyen d'appareils téléphoniques, et les quelques mots qui,
dans ce brevet, pouvaient se rapporter au téléphone à sons articulés,
s'appliquaient à un instrument qui, de l'aveu même de M. Bell, n'a pu
fournir aucuns résultats satisfaisants. Dans le caveat de
M. Gray, au contraire, l'application de l'appareil à la transmission électrique
de la parole est uniquement indiquée, la description du système est complète,
et les dessins qui l'accompagnent sont tellement précis qu'un téléphone
exécuté d'après eux pouvait parfaitement fonctionner; c'est du reste ce
que M. Gray put constater lui-même quand, quelque temps après, il exécuta
son appareil qui ne différait guère de celui à liquide dont parle M. Bell
dans son mémoire. À ce titre, M. Elisha Gray se serait trouvé certainement
mis en possession du brevet, si une omission de formes de l'office des
patentes américaines, qui, comme on le sait, prononce sur la priorité
des inventions dans ce pays, n'avait entraîné la déchéance de son caveat,
et c'est à propos de cette omission qu'un procès a été intenté dernièrement
à M. Bell, devant la Cour suprême de l'office des patentes américaines,
pour faire tomber son brevet. Si M. Gray ne s'est pas occupé plus tôt
de cette réclamation, c'est qu'il était alors entièrement occupé d'expérimenter
son système de téléphone harmonique appliqué aux transmissions télégraphiques
qu'il jugeait plus important au point de vue commercial, et que le temps
lui avait complètement manqué pour donner suite à cette affaire.
Quoi qu'il en soit, c'est seulement à partir de la prise
de possession de son brevet que M. Bell commença à s'occuper sérieusement
du téléphone parlant, et ses efforts ne tardèrent pas à être couronnés
de succès, car peu de mois après, il exposait à Philadelphie son téléphone
parlant qui excita, dès cette époque, l'attention publique au plus haut
degré, et qui, perfectionné encore au point de vue pratique, nous arriva
en Europe dans l'automne 1877 avec la forme que nous lui connaissons.
Comme complément à cette histoire sommaire du téléphone,
nous devons dire que, depuis sa réussite, bon nombre de réclamations de
priorité ont surgi comme par enchantement. Nous voyons d'abord qu'un certain
M. John Camack, Anglais d'origine, s'attribue l'invention du téléphone,
se basant sur ce qu'en 1865 il aurait non-seulement fait la description
de cet appareil, mais encore exécuté les dessins; il ajoute même que si
les moyens ne lui avaient pas fait défaut pour le construire, le téléphone
aurait été découvert dès cette époque. Une prétention semblable a été
également émise par M. Dolbear, compatriote de M. Bell, et nous verrons
bientôt ce qu'en dit ce dernier.
Il en est de même d'un certain M. Manzetti, d'Aoste, qui
prétend que son invention téléphonique a été décrite dans beaucoup de
journaux de 1865, entre autres dans le Petit Journal, de Paris,
du 22 novembre 1865, le Diretto, de Rome, du 10 juillet 1865, l'Écho
d'Italie, de New-York, du 9 août 1865, l'Italie, de Florence,
du 10 août 1865, la Commune d'Italie, de Gênes, du 1er
décembre 1865, la Vérité, de Novarre, du 4 janvier 1866, le
Commerce, de Gênes, du 6 janvier 1866. Il est vrai qu'aucune description
n'a été donnée de ce système, et que les journaux en question n'ont fait
qu'assurer que les expériences qui avaient été faites avaient montré que
la solution pratique du problème de la transmission électrique de la parole
par ce système était possible. Quoi qu'il en soit, M. Charles Bourseul
aurait encore la priorité de l'idée; mais suivant nous, on ne doit ajouter
qu'une médiocre confiance à toutes ces revendications faites après coup.
Avant de nous occuper du téléphone de Bell et des diverses
modifications qu'on lui a apportées, il nous a paru important, pour bien
familiariser le lecteur avec ces sortes d'appareils, d'étudier les téléphones
électro-musicaux qui l'ont précédé, et en particulier celui de M. Reiss,
qui fut construit en 1860 et qui a été le point de départ de tous les
autres. Nous verrons d'ailleurs que ces instruments ont des applications
très-importantes, et la télégraphie leur devra probablement un jour de
grands progrès.
TÉLÉPHONES MUSICAUX.
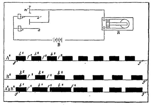
Téléphone de M. Reiss.—Le téléphone de M. Reiss
est fondé, quant à la reproduction des sons, sur les effets découverts
par M. Page en 1837 et, pour leur transmission électrique, sur le système
à membrane vibrante utilisé dès 1855 par M. L. Scott dans son phonautographe.
Cet appareil se compose donc, comme les systèmes télégraphiques, de deux
parties distinctes, d'un transmetteur et d'un récepteur, et nous les représentons
fig. 1.
Fig. 1.
Le transmetteur était essentiellement constitué par une
boîte sonore K, qui portait à sa partie supérieure une large ouverture
circulaire à travers laquelle était tendue une membrane, et au centre
de celle-ci était adapté un léger disque de platine o, au-dessus
duquel était fixée une pointe métallique b, qui constituait avec
le disque l'interrupteur. Sur une des faces de cette boîte sonore K, se
trouvait une sorte de porte-voix T qui était destiné à recueillir les
sons et à les diriger à l'intérieur de la boîte pour les faire réagir
ensuite sur la membrane. Une partie de la boîte K est brisée sur la figure
pour qu'on puisse distinguer les différentes parties qui la composent.
Les tiges a, c, qui portent la pointe de
platine b, sont réunies métalliquement avec une clef Morse t,
placée sur le côté de la boîte K, et avec un électro-aimant A, qui appartient
à un système télégraphique destiné à échanger les signaux nécessaires
à la mise en action des deux appareils aux deux stations.
Le récepteur est constitué par une caisse sonore B, portant
deux chevalets d, d, sur lesquels est soutenu un fil de
fer d d de la grosseur d'une aiguille à tricoter. Une bobine électro-magnétique
g enveloppe ce fil et se trouve enfermée par un couvercle D, qui
concentre les sons déjà amplifiés par la caisse sonore; cette caisse est
même munie, à cet effet, de deux ouvertures pratiquées au-dessous de la
bobine.
Le circuit de ligne est mis en rapport avec le fil de
cette bobine par les deux bornes d'attache 3 et 4, et une clef Morse t
se trouve placée sur le côté de la caisse B pour l'échange des correspondances.
Pour faire fonctionner ce système, il suffit de faire
parler l'instrument dont on veut transmettre les sons devant l'ouverture
T, et cet instrument peut être une flûte, un violon ou même la voix humaine.
Les vibrations de l'air déterminées par ces instruments font vibrer à
l'unisson la membrane téléphonique, et celle-ci, en approchant et éloignant
rapidement le disque de platine o de la pointe b, fournit
une série d'interruptions de courant qui se trouvent répercutées par le
fil de fer d d et transformées en vibrations métalliques, dont
le nombre est égal à celui des sons successivement produits.
D'après ce mode d'action, on comprend donc qu'il soit
possible de transmettre les sons avec leur valeur relative; mais l'on
conçoit également que ces sons ainsi transmis n'auront pas le timbre de
ceux qui leur donnent naissance, car le timbre est indépendant du nombre
des vibrations, et, il faut même le dire ici, les sons produits par l'appareil
de M. Reiss avaient un timbre de flûte à l'oignon qui n'avait rien de
séduisant; toutefois le problème de la transmission électrique des sons
musicaux était bien réellement résolu, et l'on pouvait dire en toute vérité
qu'un air ou une mélodie pouvait être entendu à une distance aussi grande
qu'on pouvait le désirer.
L'invention de ce téléphone date, comme on l'a déjà vu,
de l'année 1860, et le professeur Heisler en parle dans son traité de
physique technique, publié à Vienne en 1866; il prétend même dans l'article
qu'il lui a consacré, que, quoique dans son enfance, cet appareil était
susceptible de transmettre non-seulement des sons musicaux, mais encore
des mélodies chantées. Ce système fut ensuite perfectionné par M. Vander-Weyde,
qui, après avoir lu la description publiée par M. Heisler, chercha à rendre
la boîte de transmission de l'appareil plus sonore et les sons produits
par le récepteur plus forts. Voici ce qu'il dit à ce sujet dans le Scientific
american Journal:
Ayant fait construire en 1868 deux téléphones du genre
de celui décrit précédemment, je les montrai à la réunion du club polytechnique
de l'Institut américain. Les sons transmis étaient produits à l'extrémité
la plus éloignée du Cooper Institut, et tout à fait en dehors de la salle
où se trouvaient les auditeurs de l'association; l'appareil récepteur
était placé sur une table, dans la salle même des séances. Il reproduisait
fidèlement les airs chantés, mais les sons étaient un peu faibles et un
peu nasillards. Je songeai alors à perfectionner cet appareil, et je cherchai
d'abord à obtenir dans la boîte K des vibrations plus puissantes en les
faisant répercuter par les côtés de cette boîte au moyen de parois creuses.
Je renforçai ensuite les sons produits par le récepteur, en introduisant
dans la bobine plusieurs fils de fer, au lieu d'un seul. Ces perfectionnements
ayant été soumis à la réunion de l'Association américaine pour l'avancement
des sciences qui eut lieu en 1869, on exprima l'opinion que cette invention
renfermait en elle le germe d'une nouvelle méthode de transmission télégraphique
qui pourrait conduire à des résultats importants. Cette appréciation devait
être bientôt justifiée par la découverte de Bell et d'Elisha Gray.
Téléphone de MM. Cécil et Léonard Wray.—Ce
système, que nous représentons fig. 2 et 3, n'est qu'un simple perfectionnement
de celui de M. Reiss, imaginé en vue de rendre les effets produits plus
énergiques. Ainsi le transmetteur est muni de deux membranes au lieu d'une,
et son récepteur, au lieu d'être constitué par un simple fil de fer recouvert
d'une bobine magnétisante, se compose de deux bobines distinctes, H, H',
fig. 2, placées dans le prolongement l'une de l'autre, et à l'intérieur
desquelles se trouvent deux tiges de fer. Ces tiges sont fixées par une
de leurs extrémités à deux lames de cuivre A, B, maintenues elles-mêmes
dans une position fixe au moyen de deux piliers à écrous I, I', et les
deux autres extrémités de ces tiges, entre les bobines, sont disposées
à une très-petite distance l'une devant l'autre, mais sans cependant se
toucher. Le système est d'ailleurs monté sur une caisse sonore, munie
d'un trou T dans l'espace correspondant à l'intervalle séparant les bobines,
et celles-ci communiquent avec quatre boutons d'attache qui sont mis en
rapport avec le circuit de ligne de telle manière que les polarités opposées
des deux tiges soient de signes contraires, et ne forment qu'un seul et
même aimant coupé par le milieu. Il paraît qu'avec cette disposition les
sons produits sont beaucoup plus accentués.
Fig. 2.
La forme du transmetteur est aussi un peu différente de
celle que nous avons décrite précédemment; la partie supérieure, au lieu
d'être horizontale, est un peu inclinée, comme on le voit fig. 3, et l'ouverture
E par laquelle les sons doivent se communiquer à la membrane vibrante,
occupe une grande partie du côté le plus élevé de la caisse, qui, à cet
effet, se présente sous une certaine obliquité. La seconde membrane G,
qui est en caoutchouc, forme une sorte de cloison qui divise en deux la
caisse, à partir du bord supérieur de l'ouverture, et, d'après l'inventeur,
elle aurait pour effet, tout en augmentant l'amplitude des vibrations
produites par la membrane extérieure D, comme dans un tambour, de protéger
celle-ci contre les effets de la respiration et plusieurs autres causes
nuisibles. L'interrupteur lui-même diffère aussi de celui de l'appareil
de M. Reiss. Ainsi le disque de platine b, appelé à fournir les
contacts, n'est mis en rapport métallique avec le circuit que par l'intermédiaire
de deux petits fils de platine ou d'acier qui plongent dans deux petits
godets a, c remplis de mercure et reliés à ce circuit. Par
ce moyen, la membrane D se trouve libre dans ses mouvements et peut vibrer
plus facilement.
Fig. 3.
L'interruption est d'ailleurs effectuée par une petite
pointe de platine portée par un levier à ressort articulé KH qui se trouve
au-dessus du disque, et dont l'extrémité, étant fixée au-dessous d'une
sorte de clef Morse MI, permet d'effectuer à la main les fermetures de
courant nécessaires à l'échange des correspondances pour la mise en train
des appareils.
Harmonica électrique.—Longtemps avant
M. Reiss et à plus forte raison longtemps avant M. Elisha Gray qui a imaginé
un téléphone du même genre, j'avais fait mention d'une sorte d'harmonica
électrique qui a été décrit de la manière suivante dans le tome I, p.
167, de la première édition de mon Exposé des applications de l'électricité
publié en 1853.
La faculté que possède l'électricité de mettre en mouvement
des lames métalliques et de les faire vibrer, a pu être utilisée à la
production de sons distincts, susceptibles d'être combinés et harmonisés;
mais, en outre de cette application toute physique, l'électro-magnétisme
a pu venir en auxiliaire à certains instruments, tels que pianos, orgues,
etc., pour leur donner la facilité d'être joués à distance. Ainsi jusque
dans les arts en apparence les moins susceptibles de recevoir de l'électricité
quelque application, cet élément si extraordinaire a pu être d'un secours
utile.
Nous avons déjà parlé de l'interrupteur de M. de la Rive.
C'est, comme on le sait, une lame de fer soudée à un ressort d'acier et
maintenue dans une position fixe vis-à-vis un électro-aimant, par un autre
ressort ou un butoir métallique en connexion avec l'une des branches du
courant. Comme l'autre branche, après avoir passé dans le fil de l'électro-aimant
aboutit à la lame de fer elle-même, l'électro-aimant n'est actif qu'au
moment où cette lame touche le butoir ou le ressort d'arrêt; mais aussitôt
qu'elle l'abandonne, l'aimantation cesse, et la lame de fer revient en
son point d'arrêt, puis l'abandonne ensuite. Il se détermine donc une
vibration d'autant plus rapide que la longueur de la lame vibrante est
plus courte, et que la force est plus grande par suite du rapprochement
de la lame de l'électro-aimant.
Pour rendre les sons de plus en plus aigus, il ne s'agit
donc que d'employer l'un ou l'autre des deux moyens. Le plus simple est
d'avoir une vis que l'on serre ou que l'on desserre à volonté, et qui
par cela même éloigne plus ou moins la lame vibrante de l'électro-aimant.
Tel est l'appareil de M. Froment au moyen duquel il a obtenu des sons
d'une acuité extraordinaire, bien qu'étant fort doux à l'oreille.
M. Froment n'a pas fait de cet appareil un instrument
de musique; mais on conçoit que rien ne serait plus facile que d'en constituer
un; il ne s'agirait pour cela que de faire agir les touches d'un clavier
sur des leviers métalliques, dont la longueur des bras serait en rapport
avec le rapprochement de la lame nécessité pour la vibration des différentes
notes. Ces différents leviers, en appuyant sur la lame, joueraient le
rôle du butoir d'arrêt, mais ce butoir varierait de position suivant la
touche.
Si le courant était constant, un pareil instrument aurait
certainement beaucoup d'avantages sur les instruments à anches dont on
se sert, en ce sens qu'on aurait une vibration aussi prolongée qu'on le
voudrait pour chaque note, et que les sons seraient plus veloutés; malheureusement
l'inégalité d'action de la pile en rend l'usage bien difficile. Aussi
ne s'est-on guère servi de ce genre d'appareils que comme régulateurs
auditifs pour l'intensité des piles, régulateurs infiniment plus commodes
que les rhéomètres, puisqu'ils peuvent faire apprécier les différentes
variations d'une pile pendant une expérience, sans qu'on soit obligé d'en
détourner son attention.
En 1856, M. Pétrina, de Prague, imagina un dispositif
analogue auquel il donna le nom d'harmonica électrique, bien qu'à
proprement parler il ne constituât pas dans sa pensée un instrument de
musique.
Voici ce que j'en disais dans le tome IV de la seconde
édition de mon exposé des applications de l'électricité publié en 1859.
Le principe de cet appareil est le même que celui du rhéotome
de Neef, au marteau duquel on a substitué une baguette dont les vibrations
transversales produisent un son. Quatre de ces baguettes, différentes
en longueur, sont placées l'une à côté de l'autre, et étant mises en mouvement
au moyen de touches, puis arrêtées par des leviers, produisent des sons
de combinaison dont il devient facile de démontrer l'origine.
Dans ce qui précède je ne dis pas, il est vrai, que ces
appareils pouvaient être joués à distance; mais cette idée était toute
naturelle, et les journaux allemands prétendent que M. Pétrina l'avait
réalisée même avant 1856. Elle était la conséquence de ce que je disais
en débutant: que l'électro-magnétisme pouvait venir en auxiliaire à certains
instruments tels que pianos, orgues, etc., pour leur donner la facilité
d'être joués à distance, et j'indiquais plus loin les moyens employés
pour cela et même pour les faire fonctionner sous l'influence d'une petite
boîte à musique. Je n'y avais du reste pas attaché d'importance, et ce
n'est que comme document historique que je parle de ces systèmes.
Téléphone de M. Elisha Gray, de Chicago.—Ce
système, imaginé en 1874, n'est en réalité qu'un appareil du genre de
ceux qui précèdent, mais avec des combinaisons importantes qui ont permis
de l'appliquer utilement à la télégraphie. Dans un premier modèle il mettait
à contribution une bobine d'induction à deux hélices superposées, dont
l'interrupteur, qui était à trembleur, était multiple et disposé de manière
à produire des vibrations assez nombreuses pour émettre des sons. Ces
sons, comme on l'a vu, peuvent avec cette disposition être modifiés suivant
la manière dont l'appareil est réglé, et s'il existe à côté les uns des
autres un certain nombre d'interrupteurs de ce genre, dont les lames vibrantes
soient réglées de manière à fournir les différentes notes de la gamme
sur plusieurs octaves, on pourra, en mettant en action tels ou tels d'entre
eux, exécuter sur cet instrument d'un nouveau genre un morceau de musique
dont les sons se rapprocheront de ceux produits par les instruments à
anches, tels que harmoniums, accordéons, etc. La mise en action de ces
interrupteurs pourra d'ailleurs être effectuée au moyen du courant primaire
de la bobine d'induction qui circulera à travers l'un ou l'autre des électro-aimants
de ces interrupteurs, sous l'influence de l'abaissement de l'une ou l'autre
des touches d'un clavier commutateur, et les courants secondaires qui
naîtront dans la bobine sous l'influence de ces courants primaires interrompus,
pourront transmettre des vibrations correspondantes à distance sur un
récepteur. Celui-ci pourrait être analogue à ceux dont nous avons parlé
précédemment pour les téléphones de Reiss, de Wray, etc., mais M. Gray
a dû le modifier pour obtenir des effets plus amplifiés.
Nous représentons (fig. 4) la disposition de ce premier
système. Les vibrateurs sont en A et A', les touches du clavier en M et
M', la bobine d'induction en B, et le récepteur en C. Ce récepteur se
compose, comme on le voit, d'un simple électro-aimant NN' au-dessus des
pôles duquel est adaptée une caisse cylindrique en métal C dont le fond
est en fer et sert d'armature. Cette boîte étant percée comme les violons
de deux trous en S, joue le rôle de caisse sonore, et M. Elisha Gray a
reconnu que les mouvements moléculaires déterminés au sein du noyau magnétique
et de son armature, sous l'influence des alternatives d'aimantation et
de désaimantation, étaient suffisants pour engendrer des vibrations en
rapport avec la rapidité de ces alternatives, et fournir des sons qui
devenaient perceptibles par suite de leur amplification par la boîte sonore.
Fig. 4.
S'il faut en croire M. Elisha Gray, les vibrations transmises
par des courants secondaires seraient capables de faire résonner à distance,
par l'intermédiaire du corps humain, des lames conductrices susceptibles
d'entrer facilement en vibration et disposées sur des caisses sonores.
Ainsi l'on pourrait faire produire des sons musicaux à des cylindres de
cuivre placés sur une table, à une plaque métallique appliquée sur une
sorte de violon, à une feuille de clinquant tendue sur un tambour ou à
toute autre substance résonnante, en touchant d'une main ces différents
corps et en prenant de l'autre le bout du fil du circuit. Ces sons qui
pourraient avoir un timbre différent, suivant la nature de la substance
touchée, reproduiraient la note transmise avec le nombre exact de vibrations
qui lui correspond.
On comprend aisément que les effets obtenus dans le système
représenté (fig. 4) pourraient être reproduits, si au lieu d'interrupteurs
ou de rhéotomes électriques, on employait à la station de transmission
des interrupteurs mécaniques disposés de manière à fournir le nombre d'interruptions
de courants en rapport avec les vibrations des différentes notes de la
gamme. On pourrait encore, par ce moyen, se dispenser de la bobine d'induction
et faire réagir directement sur le récepteur le courant ainsi interrompu
par l'interrupteur mécanique. M. Elisha Gray a du reste combiné une autre
disposition de ce système téléphonique qu'il a appliquée à la télégraphie
pour les transmissions électriques simultanées, et dont nous parlerons
plus tard.
Téléphone de M. Varley.—Ce téléphone
n'est à proprement parler qu'un téléphone musical dans le genre de celui
de M. Gray, mais dont le récepteur présente une disposition originale
vraiment intéressante.
Cette partie de l'appareil est essentiellement constituée
par un véritable tambour de grandes dimensions (3 ou 4 pieds de diamètre),
dans l'intérieur duquel est placé un condensateur formé de quatre feuilles
de papier d'étain séparées par des feuilles en matière parfaitement isolante,
et dont la surface représente à peu près la moitié de celle du tambour.
Les lames de ce condensateur sont disposées parallèlement aux membranes
du tambour et à une très-petite distance de leur surface.
Si une charge électrique est communiquée à l'une des séries
de plaques conductrices de ce condensateur, celles qui leur correspondront
se trouveront attirées, et si elles peuvent se mouvoir, elles pourront
communiquer aux couches d'air interposées un mouvement qui, en se communiquant
aux membranes du tambour, pourront, pour une série de charges très-rapprochées
les unes des autres, faire vibrer ces membranes et engendrer des sons;
or ces sons seront en rapport avec le nombre des charges et décharges
qui seront produites. Comme ces charges et décharges peuvent être déterminées
par la réunion des deux armatures du condensateur aux extrémités du circuit
secondaire d'une bobine d'induction dont le circuit primaire sera interrompu
convenablement, on voit immédiatement que, pour faire émettre par le tambour
un son donné, il suffira de faire fonctionner l'interrupteur de la bobine
d'induction de manière à produire le nombre de vibrations que comporte
ce son.
Le moyen employé par M. Varley pour produire ces interruptions
est celui qui a été déjà mis en usage dans plusieurs applications électriques
et notamment pour les chronographes; c'est un diapason électro-magnétique
réglé de manière à émettre le son qu'il s'agit de transmettre. Ce diapason
peut, en formant lui-même interrupteur, réagir sur le courant primaire
de la bobine d'induction, et s'il y a autant de ces diapasons que de notes
musicales à transmettre, et que les électro-aimants qui les animent soient
reliés à un clavier de piano, il sera possible de transmettre de cette
manière une mélodie à distance comme dans le système de M. Elisha Gray.
La seule chose particulière dans ce système est le fait
de la reproduction des sons par l'action d'un condensateur, et nous verrons
plus loin que cette idée, reprise par MM. Pollard et Garnier, a conduit
à des résultats vraiment intéressants.
TÉLÉPHONES PARLANTS.
Les téléphones que nous venons d'étudier ne peuvent transmettre,
comme on l'a vu, que des sons musicaux, puisqu'ils ne peuvent répéter
que des vibrations simples, en nombre plus ou moins grand, il est vrai,
mais non en combinaisons simultanées, telles que celles qui doivent reproduire
les sons articulés. Jusqu'à l'époque de l'invention de M. Bell, la transmission
de la parole ne pouvait donc se faire que par des tubes acoustiques ou
par les téléphones à ficelle dont nous avons déjà parlé. Bien que ces
sortes d'appareils n'aient aucun rapport avec ceux que nous nous proposons
d'étudier dans cet ouvrage, nous avons cru devoir en dire ici quelques
mots, car ils peuvent quelquefois être combinés avec les téléphones électriques,
et, d'ailleurs, ils représentent la première étape de l'invention.
Téléphones à ficelle.—Les téléphones
à ficelle qui depuis plusieurs années inondent les boulevards et les rues
des différentes villes d'Europe, et dont l'invention remonte, comme on
l'a vu, à l'année 1667, sont des appareils très-intéressants par eux-mêmes,
et nous sommes étonné qu'ils n'aient pas figuré plutôt dans les cabinets
de physique. Ils sont constitués par des tubes cylindro-coniques en métal
ou en carton, dont un bout est fermé par une membrane tendue de parchemin,
au centre de laquelle est fixée par un nœud la ficelle ou le cordon destiné
à les réunir. Quand deux tubes de ce genre sont ainsi réunis et que le
fil est bien tendu, comme on le voit fig. 5, il suffit qu'une personne
applique un de ces tubes contre l'oreille et qu'une autre personne parle
très-près de l'ouverture de l'autre tube, pour que toutes les paroles
prononcées par cette dernière soient immédiatement transmises à l'autre,
et l'on peut même converser de cette manière à voix presque basse. Dans
ces conditions, les vibrations de la membrane impressionnée par la voix
se trouvent transmises mécaniquement à l'autre membrane par le fil qui,
comme l'avait annoncé le physicien de 1667, transmet les sons beaucoup
mieux que l'air. On a pu par ce moyen converser à une distance de cent
cinquante mètres, et il paraîtrait que la grosseur et la nature des fils
exercent une certaine influence. Suivant les vendeurs de ces appareils,
les fils de soie seraient ceux qui donneraient les meilleurs résultats
et les ficelles de chanvre les moins bons. Ce sont ordinairement des fils
de coton tressés qui sont employés afin de permettre de livrer à bon marché
ces appareils.
Fig. 5.
Dans certains modèles on a disposé les tubes de manière
à présenter, entre la membrane et l'embouchure, un diaphragme percé d'un
trou, et l'appareil ressemble alors à une espèce de cloche dont le fond
aurait été percé et recouvert à quelques millimètres au-dessus de la membrane
de parchemin; mais je n'ai pas reconnu de supériorité bien marquée à ce
modèle.
On a également prétendu que les cornets en métal nickelé
étaient préférables; je n'en suis pas davantage convaincu. Quoi qu'il
en soit, ces appareils ont donné des résultats qu'on était loin d'attendre,
et bien que leurs usages pratiques soient très-restreints, ils constituent
des instruments scientifiques très-intéressants et des jouets instructifs
pour les enfants.
D'après M. Millar, de Glascow, l'intensité des effets
produits dans ces téléphones dépend beaucoup de la nature de la ficelle,
de la manière dont elle est attachée et de la manière dont la membrane
est placée sur l'embouchure.
Perfectionnements apportés aux téléphones
à ficelle.—Les effets prodigieux des téléphones Bell ont dans ces
derniers temps remis à la mode les téléphones à ficelle qui étaient restés
jusque-là dans le domaine (p. 030) des jouets
d'enfant. La possibilité qu'ils ont donnée de transmettre à plusieurs
personnes la parole reproduite sur un téléphone électrique a fait rechercher
les moyens de les utiliser concurremment avec ces derniers, et pour cela
on a dû d'abord examiner le moyen le plus efficace de les faire parler
sur un fil présentant plusieurs coudes; nous avons vu que, dans les conditions
ordinaires, ces appareils ne parlaient distinctement que quand le fil
était tendu en ligne droite. Pour résoudre ce problème, M. A. Bréguet
a eu l'idée d'employer comme supports des espèces de petits tambours de
basque par le centre desquels on fait passer le fil; le son porté par
la partie du fil en rapport avec le cornet dans lequel on parle, fait
alors vibrer la membrane de ce tambour, et celle-ci communique ensuite
la vibration à la partie du fil qui suit. On peut de cette manière obtenir
autant de coudes que l'on veut et soutenir le fil sur toute la longueur
qui peut convenir à ces sortes de téléphones, laquelle ne dépasse guère
cent mètres.
M. A. Bréguet a fait encore de ce système des espèces
de relais pour arriver au même but, et pour cela il fait aboutir les fils
à deux membranes qui ferment les deux ouvertures d'un cylindre de laiton;
les sons reproduits par l'une des membranes réagissent sur l'autre, et
celle-ci vibre sous cette influence comme si elle était impressionnée
par la voix; le cylindre joue alors le rôle d'un tube acoustique ordinaire,
et sa forme peut être aussi variée qu'on peut le désirer.
Il paraît que M. A. Badet, dès le 1er février
1878, était parvenu à faire fonctionner d'une manière analogue les téléphones
à ficelle, et il se servait pour cela de parchemins tendus sur des cadres
qui faisaient l'office de tables résonnantes. Le fil était fixé au centre
de la membrane et faisait avec elle tel angle que l'on voulait.
Plusieurs savants, entre autres MM. Wheatstone, Cornu
et Mercadier, se sont occupés il y a déjà longtemps de ces sortes de transmissions
par les fils, et tout dernièrement MM. Millar, Heaviside et Nixon ont
fait des expériences intéressantes dont nous devons dire quelques mots.
Ainsi, M. Millar a reconnu qu'avec un fil télégraphique tendu et relié
par deux fils de cuivre à deux disques susceptibles de vibrer, on pouvait
transporter les sons musicaux à cent cinquante mètres, et qu'en tendant
des fils à travers une maison, ces fils étant reliés à des embouchures
et à des cornets auriculaires placés dans différentes chambres, on pouvait
correspondre avec toutes ces chambres de la manière la plus facile.
Il a employé pour les disques vibrants, soit du bois,
soit du métal, soit de la gutta-percha ayant la forme d'un tambour, et
les fils étaient fixés au centre. L'intensité du son semblait augmenter
avec la grosseur du fil.
MM. Heaviside et Nixon, dans leurs expériences à New-Castle
sur la Tyne, ont reconnu que la grosseur du fil qui donnait les meilleurs
résultats était le fil no 4 de la jauge anglaise. Les disques
qu'ils avaient employés étaient en bois de 1/8 de pouce d'épaisseur, et
ils pouvaient être placés en un point quelconque de la longueur du fil.
Avec un fil bien tendu et tranquille, la parole a pu être entendue de
cette manière à une distance de deux cents mètres.
Téléphone électrique de M. Graham Bell.—Tel
était l'état des appareils téléphoniques, lorsqu'en 1876 apparut à l'exposition
de Philadelphie le téléphone de Bell que sir W. Thomson n'a pas craint
d'appeler la merveille des merveilles, et sur lequel l'attention
du monde entier s'est trouvée immédiatement portée, bien qu'à vrai dire
son authenticité ait soulevé dans l'origine bien des incrédulités. Ce
téléphone, en effet, reproduisait les mots articulés, et ce résultat dépassait
tout ce que les physiciens avaient pu concevoir. Cette fois ce n'était
plus une conception que l'on pouvait, jusqu'à preuve contraire, traiter
de fantastique: l'appareil parlait, et même parlait assez haut pour n'avoir
pas besoin d'être placé contre l'oreille. Voici ce qu'en disait sir W.
Thomson à l'Association britannique pour l'avancement des sciences lors
de sa réunion à Glascow en septembre 1876.
Au département des télégraphes des États-Unis, j'ai vu
et entendu le téléphone électrique de M. Elisha Gray, merveilleusement
construit, faire résonner en même temps quatre dépêches en langage Morse,
et avec quelques améliorations de détail, cet appareil serait évidemment
susceptible d'un rendement quadruple.... Au département du Canada, j'ai
entendu: To be or not to be.—There's the rub, articulés à travers
un fil télégraphique, et la prononciation électrique ne faisait qu'accentuer
encore l'expression railleuse des monosyllabes; le fil m'a récité aussi
des extraits au hasard des journaux de New-York... Tout cela, mes oreilles
l'ont entendu articuler très-distinctement par le mince disque circulaire
formé par l'armature d'un électro-aimant. C'était mon collègue du jury,
le professeur Watson, qui, à l'autre extrémité de la ligne, proférait
ces paroles à haute et intelligible voix, en appliquant sa bouche contre
une membrane tendue, munie d'une petite pièce de fer doux, laquelle exécutait
près d'un électro-aimant introduit dans le circuit de la ligne, des mouvements
proportionnels aux vibrations sonores de l'air. Cette découverte, la merveille
des merveilles du télégraphe électrique, est due à un de nos jeunes compatriotes,
M. Graham Bell, originaire d'Édimbourg et aujourd'hui naturalisé citoyen
des États-Unis.
On ne peut qu'admirer la hardiesse d'invention qui a permis
de réaliser avec des moyens si simples, le problème si complexe de faire
reproduire par l'électricité les intonations et les articulations si délicates
de la voix et du langage, et pour obtenir ce résultat, il fallait trouver
moyen de faire varier l'intensité du courant dans le même rapport que
les inflexions des sons émis par la voix.
S'il faut en croire M. G. Bell, l'invention du téléphone
n'aurait pas été le résultat d'une conception spontanée et heureuse; elle
aurait été la conséquence de longues et patientes études entreprises par
lui sur l'acoustique et les travaux des physiciens qui s'en étaient occupés
avant lui. Déjà son père, M. Alexandre Melville Bell, d'Édimbourg, avait
fait de cette science une étude approfondie, et était même parvenu à représenter
d'une manière excessivement ingénieuse la disposition des organes vocaux
pour émettre des sons. Il devait naturellement inculquer à son fils le
goût de ses études favorites, et ils firent ensemble de nombreuses recherches
pour découvrir les relations qui pouvaient exister entre les divers éléments
de la parole dans les différentes langues et les relations musicales existant
entre les voyelles. Plusieurs de ces recherches avaient, il est vrai,
déjà été entreprises par M. Helmholtz, et même dans de meilleures conditions;
mais ces études lui furent d'une grande utilité quand il s'occupa plus
tard du téléphone, et les expériences d'Helmholtz qu'il répéta avec un
de ses amis, M. Hellis, de Londres, sur la reproduction artificielle des
voyelles au moyen de diapasons électriques, le lancèrent dans l'étude
de l'application des moyens électriques aux instruments d'acoustique.
Il combina d'abord un système d'harmonica électrique à clavier, dans lequel
les différents sons de la gamme étaient reproduits par des diapasons électriques
de différentes tailles, accordés suivant les différentes notes, et qui
étant mis en action par suite de l'abaissement successif des touches du
clavier, pouvaient reproduire les sons correspondants aux touches abaissées,
comme cela a lieu dans les pianos ordinaires.
Il s'occupa ensuite, dit-il, de télégraphie et pensa à
rendre les télégraphes Morse auditifs en faisant réagir l'organe électro-magnétique
sur des contacts sonores. Ce résultat, il est vrai, était déjà obtenu
dans les parleurs usités en télégraphie, mais il pensa qu'en appliquant
ce système à son harmonica électrique et en employant des appareils renforceurs
tels que le résonnateur d'Helmholtz à la station de réception, on pourrait
obtenir à travers un seul fil des transmissions simultanées, fondées sur
l'emploi des moyens phonétiques. Nous verrons plus tard que cette idée
s'est trouvée réalisée presque simultanément par plusieurs inventeurs,
entre autres par MM. Paul Lacour, de Copenhague, Elisha Gray, de Chicago,
Edison et Varley.
C'est à partir de ce moment que commencèrent sérieusement
les recherches de M. G. Bell sur les téléphones électriques, et des appareils
compliqués il passa aux appareils simples, en faisant une étude complète
des différents modes de vibrations résultant d'actions électriques différentes;
voici ce qu'il dit à cet égard dans son Mémoire lu à la Société des ingénieurs
télégraphistes de Londres, le 31 octobre 1877:
Si l'on représente par les ordonnées d'une courbe les
intensités d'un courant électrique, et les durées des fermetures de ce
courant par les abscisses, la courbe fournie pourra représenter des ondes
en dessus ou en dessous de la ligne des x, suivant que le courant sera
positif ou négatif, et ces ondes pourront être plus ou moins accentuées
suivant que les courants transmis seront plus ou moins instantanés.
Si les courants interrompus pour produire un son sont
tout à fait instantanés dans leur manifestation, la courbe représente
une série de dentelures isolées comme on le voit, fig. 6, et si les interruptions
sont faites de manière à ne provoquer que des différences d'intensité,
la courbe se présente sous la forme de la figure 7. Enfin si les émissions
de courant sont effectuées de manière que les intensités soient successivement
croissantes ou décroissantes, la courbe prend l'aspect représenté fig.
8. Or je donne aux premiers courants le nom de courants intermittents,
aux seconds le nom de courants d'impulsion et aux troisièmes le
nom de courants ondulatoires.
Fig. 6.
Naturellement ces courants sont positifs ou négatifs,
suivant leur position au-dessus ou au-dessous de la ligne des x,
et s'ils sont alternativement renversés, les courbes se présentent sous
l'aspect de la figure 9, courbes essentiellement différentes des premières,
non-seulement par le sens différent des dentelures, mais surtout par la
suppression du courant résiduel (p. 037)
qui existe toujours avec les courants d'impulsion et les courants ondulatoires.
Fig. 7.
Les deux premiers systèmes de courants ont été employés
depuis longtemps pour la transmission électrique des sons musicaux, et
le téléphone de Reiss dont nous avons déjà parlé en a été une application
intéressante. Mais les courants ondulatoires n'avaient pas été employés
avant moi et ce
sont eux qui ont permis de résoudre le problème de la transmission de
la parole. Pour qu'on puisse se rendre compte de l'importance de cette
découverte, il suffit d'analyser les effets produits avec ces différents
systèmes de courants, quand plusieurs sons de hauteur différente doivent
entrer en combinaison.
La fig. 6 montre une combinaison dans laquelle les styles
a et a' de deux instruments transmetteurs provoquent l'interruption
du courant d'une même batterie B, de manière que les vibrations déterminées
soient entre elles dans le rapport d'une tierce majeure, c'est-à-dire
dans le rapport de quatre à cinq. Dans ces conditions, les courants sont
intermittents, et quatre fermetures de a se produiront dans le
même espace de temps que les cinq fermetures de a', et les intensités
électriques correspondantes seront représentées par les dentelures que
l'on voit en A2 et en B2; la combinaison de ces
intensités A2 + B2 donnera lieu aux dentelures inégalement
espacées que l'on distingue sur la troisième ligne. Or l'on voit que,
bien que le courant conserve une intensité uniforme, il est moins de temps
interrompu quand les styles interrupteurs réagissent ensemble que quand
ils réagissent isolément; de sorte que pour un grand nombre de fermetures
simultanées effectuées par des styles animés de différentes vitesses,
les effets produits équivalent à celui d'un courant continu. Toutefois
le nombre maximum des effets distincts qui pourront être obtenus de cette
manière dépendra beaucoup du rapport existant entre les durées des fermetures
et des interruptions du courant. Plus les fermetures seront courtes et
les interruptions longues, plus les effets transmis sans confusion seront
nombreux et vice versâ.
Avec les courants d'impulsion, la transmission des sons
musicaux s'effectue comme l'indique la figure 7, et l'on voit que quand
ils sont produits simultanément, l'effet résultant A2 + B2
est analogue à celui qui serait produit par un courant continu d'intensité
minima.
Fig. 8.
Avec les courants ondulatoires, les choses se passent
autrement, mais pour les produire il est nécessaire d'avoir recours aux
effets d'induction, et la fig. 8 indique la manière dont l'expérience
doit être faite. Dans ce cas, les courants réagissant sur le récepteur
musical R résultent de renforcements et d'affaiblissements produits par
l'action d'armatures, M, M' vibrant devant des électro-aimants e,
e', placés dans le circuit de la batterie B, et comme ces renforcements
et affaiblissements successifs sont en rapport avec les positions respectives
des armatures par rapport aux pôles magnétiques, les courants qui en résultent
peuvent avoir leur intensité représentée par des lignes ondulées comme
on le voit en A2 et en B2; or ces ondulations, pour
la tierce dont il a été question précédemment, seront telles qu'il s'en
produira quatre en A2, dans le même temps qu'il s'en produira
cinq en B2, et il résultera de la combinaison de ces deux effets
une résultante qui pourra être représentée par la courbe A2
+ B2, laquelle représente la somme algébrique des courbes A2
et B2. Un effet analogue est produit quand on emploie des courants
ondulatoires alternativement renversés comme on le voit fig. 9, et pour
les obtenir, il suffit d'opposer aux armatures de fer M, M' employées
dans la précédente expérience, des aimants permanents et de supprimer
la batterie voltaïque B.
Pour peu qu'on étudie les fig. 8 et 9, continue M. G.
Bell, on reconnaît aisément que la transmission simultanée, par un même
fil, de sons de différente force et de différente nature ne peut, dans
le cas qui nous occupe en ce moment, altérer le caractère des vibrations
qui les ont provoquées, comme cela a lieu avec les courants intermittents
ou avec les courants d'impulsion; elle ne fait que changer la forme des
ondulations, et ce changement se produit de la même manière que dans le
milieu aériforme qui transmet à l'oreille la combinaison des sons émis.
On peut donc de cette manière transmettre à travers un fil télégraphique
le même nombre de sons qu'à travers l'air.
Fig. 9.
Après avoir appliqué les principes précédents à la construction
d'un système télégraphique à transmissions multiples
M. G. Bell ne tarda pas à en tirer parti dans de nouvelles recherches
qu'il fit alors pour perfectionner l'éducation vocale des sourds et muets.
Il est bien connu, dit M. Bell, que les sourds et muets ne sont muets
que parce qu'ils sont sourds et qu'il n'y a dans leur système vocal aucun
défaut qui puisse les empêcher de parler. Par conséquent, si l'on parvenait
à rendre visible la parole et à déterminer les fonctions du mécanisme
vocal nécessaires pour produire tel ou tel son articulé représenté, il
deviendrait possible d'enseigner aux sourds et muets la manière de se
servir de leur voix pour parler. Le succès que j'obtins de ce système
dans les expériences que je fis à l'école de Boston m'engagea à étudier
d'une manière toute particulière les relations qui pouvaient exister entre
les sons produits et leur représentation graphique, et j'employai, à cet
effet, la capsule manométrique de M. Kœnig et le phonautographe de M.
Léon Scott auquel M. Maurey de Boston avait appliqué un enregistreur assez
sensible pour être mis en action par la voix. Cet enregistreur consistait
d'ailleurs dans un style de bois de un pied de longueur environ, qui était
fixé directement sur la membrane vibrante du phonautographe et qui pouvait
fournir sur une surface plane de verre noirci, des traces assez amplifiées
pour être d'une distinction facile. Quelques-unes de ces traces sont représentées
fig. 10. Je fus très-frappé des résultats produits par cet instrument,
et il me sembla qu'il y avait une grande analogie entre lui et l'oreille
humaine. Je cherchai alors à construire un phonautographe modelé davantage
sur le mécanisme de l'oreille, et j'eus pour cela recours à un célèbre
médecin spécialiste de Boston, M. le docteur Clarence J. Blake. Il me
proposa de me servir de l'oreille humaine elle-même comme de phonautographe
plutôt que de chercher à l'imiter, et d'après cette idée, il construisit
l'appareil représenté fig. 11, auquel fut adapté un style traçant. En
enduisant la membrane du tympan et le pavillon circulaire avec un mélange
de glycérine et d'eau, on communiqua à ces organes une souplesse suffisante
pour que, en chantant dans la partie extérieure de cette sorte de membrane
artificielle, le style fût mis en vibration, et l'on obtint ainsi des
traces sur une plaque de verre noircie, disposée au-dessous de ce style
et soumise à un mouvement d'entraînement rapide. La disproportion considérable
de masse et de grandeur qui, dans cet appareil, existait entre la membrane
et les osselets mis en vibration par elle, attira particulièrement mon
attention et me fit penser à substituer à la disposition compliquée que
j'avais employée pour mon téléphone à transmission de sons multiples,
une simple membrane à laquelle était fixée une armature de fer. Cet appareil
fut alors disposé comme l'indique la fig. 12, et je croyais obtenir par
lui les courants ondulatoires qui m'étaient nécessaires. En effet, en
articulant à la branche sans bobine d'un électro-aimant boiteux une armature
de fer doux A, reliée par une tige à une membrane en or battu n,
je devais obtenir, par suite des vibrations de celles-ci, une série de
courants induits ondulatoires qui, réagissant sur l'électro-aimant d'un
appareil semblable placé à distance, devaient faire reproduire à l'armature
de celui-ci les mouvements de la première armature, et par conséquent
faire vibrer la membrane correspondante, exactement comme celle ayant
provoqué les courants. Toutefois les résultats que j'obtins de cet arrangement
ne furent pas satisfaisants, et il me fallut encore entreprendre bien
des essais qui m'amenèrent à réduire autant que possible les dimensions
et le poids des armatures et même à les constituer avec des ressorts de
pendule de la grandeur de l'ongle de mon pouce. Dans ces conditions, au
lieu d'articuler ces armatures, je les attachai au centre des membranes,
et mon appareil fut alors disposé comme l'indique la fig. 13 . Nous pûmes
alors, mon ami M. Thomas Watson et moi, obtenir des transmissions téléphoniques
qui nous montrèrent que nous étions dans la bonne voie. Je me souviens
d'une expérience faite alors avec ce téléphone qui me remplit de joie.
Un des deux appareils était placé à Boston dans une des salles de conférences
de l'université, l'autre dans le soubassement d'un bâtiment adjacent.
Un de mes élèves observait ce dernier appareil, et je tenais l'autre.
Après que j'eus prononcé ces mots: Comprenez-vous ce que je dis?,
quelle a été ma joie quand je pus entendre moi-même cette réponse à travers
l'instrument: Oui, je vous comprends parfaitement. Certainement l'articulation
de la parole n'était pas alors parfaite, et il fallait l'extrême attention
que je prêtais, pour distinguer les mots de cette réponse; cependant l'articulation
de ces mots existait, et je pouvais croire que leur manque de clarté devait
être rapporté uniquement à l'imperfection de l'instrument. Sans entrer
dans le détail de tous les essais que je dus entreprendre pour améliorer
la construction de cet appareil, je dirai qu'au bout de quelque temps
je fus conduit à employer comme téléphone de réception l'appareil représenté
fig. 14, et c'est ce modèle joint à celui de la fig. 13, combiné comme
transmetteur, qui fut admis à l'exposition de Philadelphie.
Fig. 10.
Fig. 11.
Fig. 12.
Fig. 13.
Fig. 14.
Dans ce nouveau modèle de récepteur, la membrane était
remplacée par une lame vibrante de fer L fixée sur l'enveloppe cylindrique
d'un électro-aimant tubulaire C, et le système était monté sur un pont
P qui servait de caisse sonore. Les articulations produites par cet appareil
étaient bien distinctes; mais son grand défaut était qu'il ne pouvait
servir d'appareil transmetteur; il était donc nécessaire d'avoir deux
appareils à chaque station, l'un pour la transmission, l'autre pour la
réception.
Je cherchai alors à changer la disposition du téléphone
transmetteur en variant les conditions de ses éléments constituants, tels
que les dimensions et la tension de la membrane, le diamètre et l'épaisseur
de (p. 048) l'armature, la grandeur et la
puissance de l'aimant et même les hélices de fil enroulé sur ce dernier;
j'ai pu en reconnaître empiriquement les meilleures conditions d'organisation
et combiner la meilleure forme à donner à l'appareil. Ainsi j'avais reconnu,
par exemple, qu'en diminuant la longueur de la bobine du fil de l'hélice
magnétisante et la surface de la lame de fer attachée à la membrane, j'augmentais
non-seulement l'intensité des sons, mais encore leur netteté d'articulation;
ce qui me fit naturellement abandonner la membrane en or battu pour n'employer
qu'une simple plaque de fer, et comme il m'était démontré depuis longtemps
que l'intervention du courant traversant la bobine de l'électro-aimant
n'était utile que pour magnétiser celui-ci, je me décidai à supprimer
la pile et à employer pour noyau magnétique un aimant permanent. Toutefois,
comme à l'époque où ces instruments devaient être exposés pour la première
fois en public, les résultats obtenus avec ce dernier système étaient
moins satisfaisants qu'avec celui qui mettait à contribution la batterie
voltaïque, je ne voulus exposer que cette dernière disposition d'instrument,
ce qui donna l'occasion à certaines personnes et, entre autres au professeur
Dolbear du collége de Tufts, de réclamer la priorité pour l'introduction
des aimants permanents dans le téléphone; mais j'en avais eu l'idée dès
le commencement de mes recherches et alors que je m'occupais des transmissions
simultanées des sons musicaux.
Fig. 15.
Fig. 16.
La fig. 15 représente le premier perfectionnement que
j'ai apporté à l'appareil exposé à Philadelphie, et la fig. 16 en représente
un autre qui a fourni des effets très-puissants. Dans ce dernier, l'aimant
était en fer à cheval et disposé à la manière de celui que M. Hughes a
employé pour son télégraphe imprimeur. Avec cet appareil, les sons pouvaient
être entendus (faiblement il est vrai) par une nombreuse assemblée; il
fut exposé le 12 février 1877 à l'institut d'Essex, à Salem (Massachusetts),
et y reproduisit devant un auditoire de 600 personnes un discours prononcé
à Boston dans un appareil semblable. Les intonations de la voix de celui
qui parlait ont pu être distinguées par l'auditoire. Toutefois l'articulation
n'était distincte qu'à une distance de 6 pieds de l'instrument. Il fut
fait à cette occasion un rapport qu'on transmit par l'appareil à Boston,
et qui fut reproduit le lendemain dans les journaux de cette ville.
Entre la forme de la fig. 13 et celle de
l'appareil actuel, représenté fig. 17, il n'y a qu'une différence bien
légère, et cette dernière forme n'a été combinée que pour rendre l'appareil
plus portatif et d'un usage plus commode. Sous ce rapport, je dois exprimer
ma reconnaissance à plusieurs de mes amis, entre autres à MM. les professeurs
Peirce et Blake, le docteur Channing, M. Clarke et M. Jones, pour l'aide
qu'ils m'ont prêté. Ainsi M. Peirce a été le premier à démontrer la possibilité
de l'emploi dans les téléphones d'aimants de très-petites dimensions.
C'est lui également qui a donné à l'embouchure recouvrant la plaque vibrante
la forme que j'ai adoptée pour le modèle définitif qui est représenté
fig. 17.
Fig. 17.
Outre le modèle représenté fig. 13, il se trouvait encore
à l'exposition de Philadelphie un autre système de transmetteur téléphonique
qui est reproduit fig. 18 et qui était fondé sur l'action directe des
courants voltaïques. Un fil de platine p fixé à une membrane tendue
LL complétait par son immersion dans de l'eau V le circuit réunissant
les deux appareils en correspondance. En parlant en E devant la membrane
tendue, les vibrations communiquées à la pointe de platine modifiaient
la résistance du circuit dans des conditions telles, que le courant réagissait
sur le récepteur par impulsions ondulatoires tout à fait semblables à
celles résultant des courants induits. Les sons produits devenaient plus
forts quand le liquide était légèrement acidulé ou salé, et l'on obtenait
encore de bons résultats au moyen d'une pointe de plombagine immergée
dans du mercure, de l'eau acidulée ou salée, ou dans une solution de bichromate
de potasse.
Fig. 18.
Bien que mes recherches eussent pour but final le perfectionnement
de la télégraphie, je pus constater dans le cours de mes expériences quelques
effets intéressants que je crois devoir rapporter ici. Ainsi j'observai
qu'un son musical était produit par le seul fait du passage d'un courant
à travers un morceau de plombagine ou de charbon de cornue. Des effets
extrêmement curieux résultaient aussi du passage de courants intermittents
alternativement renversés à travers le corps humain. Ainsi un rhéotome
étant placé dans le circuit primaire d'un appareil d'induction et les
deux bouts du fil du circuit secondaire étant réunis à deux électrodes
de cuivre dont une était placée près de l'oreille, on percevait des sons
très-distincts aussitôt que l'on touchait de la main l'autre électrode.
En touchant des deux mains les deux électrodes et plaçant les doigts contre
l'oreille, des craquements se faisaient entendre et semblaient venir des
doigts, comme s'ils étaient la répercussion du tremblement musculaire
résultant du passage des courants induits. Ces bruits pourtant n'existaient
que pour la personne sur laquelle l'expérience était faite. Quand deux
personnes se tenant par la main étaient interposées dans le circuit au
lieu d'une seule, un son se produisait au contact des mains réunies, mais
il fallait pour cela que les mains ne fussent pas humides. Ce phénomène
se reproduisait, du reste, quand le contact de ces deux personnes était
effectué sur une partie quelconque de leur corps. Au contact des bras,
le bruit était assez intense pour être entendu à plusieurs pieds de distance,
et il était alors presque toujours accompagné d'une légère secousse. L'introduction
d'une feuille de papier entre les deux parties en contact n'interrompait
pas la production du son, mais elle supprimait l'effet désagréable de
la secousse. Quand on faisait passer le courant intermittent de la bobine
de Ruhmkorff à travers le bras d'une personne, on pouvait, en y appliquant
l'oreille, entendre un son qui semblait provenir des muscles de l'avant-bras
et du biceps.
Du reste, des sons musicaux très-nets se font entendre
quand on fait fonctionner l'interrupteur du circuit primaire de l'appareil
de Ruhmkorff, et s'il y a deux interrupteurs, on obtient deux sons différents,
ce qui montre que ces sons proviennent de l'étincelle.
Voici encore une expérience très-intéressante, faite par
le professeur Blake avec un téléphone dont le barreau aimanté était remplacé
par une tige de fer doux de six pieds de longueur. Ce téléphone étant
réuni électriquement à un téléphone ordinaire du modèle de la fig. 17,
reproduisait très-bien les sons émis dans ce dernier; mais leur intensité
variait suivant la direction que l'on donnait à la tige de fer, et le
maximum correspondait à la position de la tige dans le méridien magnétique.
Quand on interpose un téléphone dans un circuit télégraphique,
on entend des bruits d'un caractère très-particulier dont l'origine me
paraît encore assez complexe et souvent obscure. Il en est pourtant qui
doivent provenir de l'induction exercée par les fils voisins et des dérivations
de courant qui se produisent toujours à travers les supports des fils,
car les signaux télégraphiques échangés à travers ces fils voisins sont
parfaitement perçus dans le téléphone. Certains bruits résultent aussi
des courants terrestres, des vibrations du fil sous l'influence des courants
d'air et même des frictions produites par des joints défectueux. La sensibilité
du téléphone est, du reste, telle que les bruits résultant des transmissions
télégraphiques voisines peuvent être perçus quand on substitue au fil
télégraphique du téléphone un rail de chemin de fer, et alors même que
les fils télégraphiques les plus voisins de ce rail sont éloignés de quarante
pieds. D'un autre côté, M. Peirce a reconnu que des sons peuvent être
produits dans un téléphone, quand le fil télégraphique auquel cet appareil
est réuni est impressionné par une aurore boréale. Quelquefois aussi,
des airs chantés ou joués sur un instrument de musique se sont trouvés
transmis par le téléphone sans qu'on ait pu savoir leur provenance; mais
ce qui montre le plus la merveilleuse sensibilité de cet appareil, c'est
la possibilité qu'il donne de reproduire la parole à travers des corps
que l'on pourrait croire à peu près non conducteurs. Ainsi la communication
à la terre d'un circuit téléphonique peut être faite par l'intermédiaire
du corps humain malgré l'interposition des bas et des chaussures; et elle
peut même être effectuée si, au lieu d'être sur le sol, on est placé sur
un mur en briques. Il n'y a que la pierre de taille et le bois qui constituent
un obstacle assez grand pour couper la communication; mais il suffit que
le pied touche le terrain avoisinant, soit même une touffe de gazon, pour
qu'aussitôt les effets électriques manifestent leur présence.
D'après ces résultats, une question toute naturelle pouvait
se poser à l'esprit: quelle est la longueur maxima de circuit à laquelle
les transmissions téléphoniques peuvent atteindre?... Mais il est difficile
d'y répondre en raison des conditions différentes dans lesquelles peut
être placée l'expérience. Dans les essais de laboratoire on est parvenu
à échanger sans difficulté des correspondances sur des circuits de 60,000
ohms de résistance, soit 6000 kilomètres de fil télégraphique, et je suis
parvenu à transmettre sur un circuit dans lequel étaient interposées 16
personnes se tenant par la main, lequel circuit avait une résistance d'environ
6400 kilomètres. Toutefois la plus grande longueur de circuit télégraphique
sur laquelle j'ai pu obtenir une transmission nette de la parole, n'a
pas dépassé 250 milles. Dans cette expérience, aucune difficulté ne survint,
tant que les lignes télégraphiques voisines n'étaient pas en activité;
mais aussitôt que les correspondances s'échangèrent à travers ces lignes,
les sons vocaux, quoique encore perceptibles, étaient bien diminués d'intensité,
et l'on aurait cru entendre une conversation échangée au milieu d'un orage.
On a pu également transmettre la parole à travers les câbles sous-marins,
et M. Preece m'informe que des résultats satisfaisants ont été obtenus
à travers un câble de 60 milles de longueur, immergé entre Dartmouth et
l'île de Guernesey, et cela avec des téléphones à main du modèle ordinaire.
Part de M. Elisha Gray dans l'invention
du téléphone.—Nous avons vu (p. 8) que si M. Bell a été le premier
à construire et à rendre pratique le téléphone parlant, M. Elisha Gray
avait le premier conçu le principe de cet instrument et l'avait combiné
en électricien consommé. Un travail très-curieux qu'il vient de publier
sur ses diverses inventions en téléphonie montre que dès l'année 1874
(en juin), il avait combiné un récepteur à lame vibrante dont on peut
se faire une idée en supposant un électro-aimant soutenu verticalement
devant le fond d'un plat métallique évasé, dont la partie plate, c'est-à-dire
le fond, serait très-mince et éloignée de quelques dixièmes de millimètre
seulement des pôles de l'électro-aimant.
Le transmetteur correspondant à ce récepteur n'était,
il est vrai, qu'une sorte de tuyau d'orgue dont l'anche agissait comme
interrupteur de courant, et par conséquent il ne pouvait transmettre que
des sons musicaux. Mais en 1875, M. Gray pensa à disposer un transmetteur
pour les sons articulés, et le 15 février 1876, il déposa, comme nous
l'avons vu, à l'office des patentes américaines un caveat dans
lequel était exposé un système complet de téléphone parlant. Ce système
ne fut pas, il est vrai, exécuté immédiatement, car M. Gray croyait qu'un
téléphone de ce genre n'avait qu'un intérêt secondaire au point de vue
commercial et télégraphique, et il attachait plus d'importance à son système
de téléphone musical appliqué aux transmissions multiples; mais sa description
était complète comme on peut en juger par la fig. 19 qui représente l'ensemble
du système.
Fig. 19.
Dans ce système, le transmetteur était tout à fait semblable
à celui à liquide dont M. Bell parle dans son mémoire et que nous avons
décrit p. 51 et le récepteur ressemblait beaucoup à celui que nous avons
représenté fig. 13. Pourtant, en principe, le système de M. Gray différait
entièrement de celui adopté définitivement par M. G. Bell. Dans le premier,
en effet, les variations d'intensité du courant nécessaires pour la production
des mots articulés, étaient la conséquence de variations dans la résistance
du circuit, et ces variations étaient obtenues par l'intermédiaire d'un
liquide au sein duquel se mouvait, sous l'influence des vibrations d'une
membrane tendue adaptée à un porte-voix, une pointe de platine mise en
rapport avec une pile. Du rapprochement plus ou moins grand de cette pointe
d'une électrode mise en rapport avec l'appareil récepteur, résultaient
des différences de conductibilité du liquide proportionnelles aux amplitudes
et aux inflexions des vibrations de la membrane, et ces différences d'intensité
étaient traduites sur le récepteur par des magnétisations plus ou moins
grandes d'un électro-aimant actionnant un disque de fer doux, fixé au
centre d'une membrane tendue sur une sorte de résonnateur ou de cornet
acoustique. Ce système appartenait donc à la catégorie des téléphones
à pile que M. Edison, comme nous allons le voir à l'instant, a rendus
si importants par la substitution au liquide d'un conducteur secondaire
en charbon, et qui devaient plus tard donner naissance au microphone.
Le système Bell, comme on l'a vu, bien que mettant dans
l'origine à contribution une pile, ne déterminait les affaiblissements
et les renforcements électriques nécessaires à l'articulation des mots,
qu'au moyen de courants d'induction provoqués par les mouvements d'une
armature de fer doux, courants dont l'intensité était, par conséquent,
fonction de l'amplitude et des inflexions de ces mouvements. La pile n'intervenait
que pour communiquer à l'inducteur une forte aimantation. Or cet emploi
des courants induits dans les transmissions téléphoniques était déjà d'une
grande importance, car les diverses expériences faites depuis ont montré
leur supériorité sur les courants voltaïques dans cette application. Mais
l'expérience lui montra bientôt que non-seulement il n'était pas besoin
pour faire agir cet instrument d'un appareil d'induction puissant animé
par une pile, mais qu'un aimant permanent très-faible et très-petit pouvait
à lui seul fournir des courants suffisants. Cette découverte à laquelle
avait contribué M. Peirce, ainsi qu'on l'a vu, était d'une extrême importance,
car elle permettait de réduire considérablement les dimensions de l'appareil,
elle le rendait portatif et susceptible de se prêter à la transmission
et à la réception, et elle montrait que le téléphone était le plus sensible
de tous les appareils révélateurs de l'action des courants. Si donc M.
Bell n'a pas employé le premier les moyens efficaces pour transmettre
les mots articulés, on peut dire qu'il a cherché comme M. Gray à résoudre
le problème par des courants ondulatoires, et qu'il a obtenu ces
courants au moyen des effets d'induction, système qui, étant perfectionné,
devait conduire aux résultats importants que tout le monde connaît. N'y
eût-il que la connaissance qu'il a donnée au monde étonné d'un instrument
capable de reproduire télégraphiquement la parole, qu'une grande gloire
lui serait acquise, car ce problème avait été regardé jusque-là comme
insoluble.
En résumé, les prétentions de M. Gray à l'invention du
téléphone ont été résumées par lui de la manière suivante, dans un travail
très-intéressant intitulé: Experimental researches on electro-harmonic
telegraphy and telephony.
1° J'ai trouvé le premier les moyens pratiques de
transmettre à travers un circuit fermé les sons composés et d'inflexions
variables par la superposition de deux ou de plusieurs ondes électriques.
2° Je prétends avoir découvert et utilisé le premier
le moyen de reproduire les vibrations par l'emploi d'un aimant récepteur
constamment animé par une action électrique.
3° Je prétends encore être le premier à avoir construit
un instrument ayant un aimant avec un diaphragme circulaire en matière
magnétique, soutenu par ses bords à une petite distance en face des pôles
de l'aimant, et susceptible d'être appliqué à la transmission et à la
réception des sons articulés.
4° Je soutiens avoir décrit le premier le téléphone
à sons articulés, et cela d'une manière assez exacte et assez complète
pour qu'un téléphone exécuté d'après cette description ait pu transmettre
et reproduire fidèlement la parole.
EXAMEN DES PRINCIPES FONDAMENTAUX SUR LESQUELS REPOSE
LE TÉLÉPHONE DE BELL.
Bien que l'historique qui précède soit suffisant pour
faire comprendre aux personnes initiées dans la science électrique le
principe du téléphone de Bell, il pourrait bien ne pas en être de même
pour la plupart des personnes auxquelles notre livre s'adresse, et nous
croyons en conséquence devoir entrer dans quelques détails physiques sur
l'origine des courants électriques qui sont en jeu dans les transmissions
téléphoniques. Ces détails nous paraissent d'autant plus nécessaires qu'il
est beaucoup de personnes qui croient encore que les téléphones de Bell
ne sont pas électriques, parce qu'ils ne mettent pas une pile à contribution,
et le plus souvent elles les confondent avec les téléphones à ficelle,
s'étonnant de la différence de prix qui existe entre les appareils que
l'on vend dans les rues et ceux que l'on vend chez les constructeurs.
Sans définir ici ce que c'est qu'un courant électrique,
ce qui serait par trop élémentaire, nous pourrons dire que les courants
électriques peuvent provenir de beaucoup d'effets divers, et qu'en dehors
de ceux qui résultent des piles, il en est d'aussi énergiques qui peuvent
provenir d'une action exercée par des aimants sur un circuit conducteur
convenablement combiné. Ces courants sont alors appelés courants d'induction,
et ce sont eux qui sont en jeu dans les téléphones de Bell. Pour qu'on
puisse comprendre comment ils se développent dans ces conditions, il sera
nécessaire que nous examinions d'abord ce qui arrive quand, devant un
circuit fermé, on avance ou l'on retire le pôle d'un aimant, et pour cela
nous supposerons qu'un fil de cuivre sur lequel est interposé un galvanomètre
est enroulé en cercle, et qu'on dirige vers le centre de ce cercle l'un
des pôles d'un aimant permanent. Or voici ce que l'on observera:
1o Au moment où l'on approchera l'aimant, un
courant électrique prendra naissance et fera dévier le galvanomètre d'un
certain côté. Cette déviation sera d'autant plus grande que le mouvement
accompli sera plus étendu, et la tension de ce courant sera d'autant plus
grande que le mouvement sera plus brusquement effectué. Ce courant toutefois
ne sera jamais qu'instantané.
2o Au moment où l'on éloignera l'aimant, un
nouveau courant du même genre prendra naissance, mais il se manifestera
en sens inverse du premier. Il sera ce que l'on appelle un courant
direct, parce qu'il est de même sens que le courant magnétique de
l'aimant qui lui donne naissance, tandis que l'autre courant sera dit
inverse.
3o Si au lieu d'avancer ou de retirer l'aimant
par l'effet d'un seul mouvement, on le fait avancer par saccades, on reconnaît
qu'il se détermine une succession de courants dans le même sens dont la
présence peut être constatée sur le galvanomètre quand les mouvements
sont suffisamment espacés, mais qui se confondent en se superposant quand
ces espacements sont très-faibles, et comme des effets inverses résultent
des mouvements de l'aimant effectués dans un sens contraire, il arrive
que l'aiguille du galvanomètre suit les mouvements de l'aimant et les
stéréotype en quelque sorte.
4o Naturellement si, au lieu de réagir sur
un simple circuit fermé, l'aimant exerce son action sur un nombre considérable
de circonvolutions de ce circuit, c'est-à-dire sur une bobine de fil enroulé,
les effets seront considérablement augmentés, et ils le seront encore
plus si, à l'intérieur de cette bobine, se trouve un noyau magnétique,
car l'action inductive s'effectuera alors de plus près et sur toutes les
parties de la bobine. Comme le noyau magnétique en s'aimantant ou en se
désaimantant plus ou moins sous l'influence du rapprochement ou de l'éloignement
de l'aimant inducteur subit le contre-coup de tous les accidents qui peuvent
se manifester pendant le mouvement de cet aimant, les courants induits
qui en résultent les accusent parfaitement.
5o Au lieu d'admettre que l'aimant inducteur
est mobile, on peut le supposer fixe au centre de la bobine, et l'on peut
dès lors déterminer les courants induits dont nous avons parlé en modifiant
son énergie. Il suffit pour cela de réagir sur ses pôles au moyen d'une
armature de fer. Quand cette armature est approchée de l'un de ces pôles
ou de tous les deux en même temps, il acquiert de l'énergie et produit
un courant inverse, c'est-à-dire un courant dans le sens qui aurait correspondu
à un rapprochement de l'aimant du circuit fermé. Quand elle s'éloigne,
l'effet inverse se produit; mais dans les deux cas, les courants induits
sont en rapport avec l'étendue et le sens des mouvements accomplis par
l'armature, et par conséquent, ils peuvent reproduire par leurs effets
les mouvements de cette armature. Or si cette armature est une lame de
fer et que cette lame vibre sous l'influence d'un son quelconque devant
un système électro-magnétique disposé comme il vient d'être dit plus haut,
les allées et venues de cette lame se traduiront par des courants induits,
plus ou moins forts, plus ou moins accidentés, suivant l'amplitude et
la complexité des vibrations, mais qui seront ondulatoires, puisqu'ils
résulteront toujours de mouvements successifs et continus et seront, par
conséquent, dans les conditions voulues pour transmettre la parole ainsi
qu'on l'a vu précédemment.
Quant à l'action déterminée sur le récepteur, c'est-à-dire
sur l'appareil qui reproduit la parole, elle est assez complexe, et nous
aurons occasion de la discuter plus tard; mais, au premier abord, on peut
la concevoir si l'on considère que les effets produits par ces courants
induits d'intensité variable qui traversent la bobine du système électro-magnétique,
doivent déterminer par les magnétisations et démagnétisations qui en résultent,
des vibrations plus ou moins amplifiées, plus ou moins accidentées de
la lame armature, lesquelles représentent exactement celles de la lame
devant laquelle on a parlé, mais qui n'en peuvent être qu'une réduction.
Toutefois les effets sont par le fait plus compliqués, quoique se produisant
dans des conditions analogues, et ce sont eux que nous discuterons plus
tard quand nous en serons aux expériences faites avec le téléphone. Nous
ferons observer néanmoins, dès maintenant, que pour ces reproductions
de la parole, il n'est pas nécessaire que le noyau magnétique soit en
fer doux, car les effets vibratoires peuvent résulter aussi bien d'aimantations
différentielles que d'aimantations directes.
DISPOSITION ORDINAIRE DES TÉLÉPHONES BELL.
La disposition la plus généralement employée pour les
téléphones est celle que nous avons représentée fig. 20. C'est une sorte
de petite boîte circulaire en bois adaptée à l'extrémité d'un manche M,
également de bois, qui renferme dans son intérieur le barreau aimanté
NS. Ce barreau est fixé au moyen d'une vis t et est disposé de
manière à pouvoir être avancé ou reculé quand on serre ou l'on desserre
la vis, condition nécessaire pour le réglage de l'appareil. À l'extrémité
libre du barreau est fixée la bobine magnétique B qui, d'après MM. Pollard
et Garnier, doit, pour fournir le maximum d'effet, être construite avec
du fil no. 42 et présenter un grand nombre de spires. Les bouts
du fil de cette bobine aboutissent le plus généralement à l'extrémité
inférieure du manche par deux tiges de cuivre f, f, qui
traversent celui-ci dans sa longueur et viennent se relier à deux boutons
d'attache I, I' où l'on fixe les fils C, C du circuit. Cependant dans
les appareils construits par M. Bréguet il n'y a pas de boutons d'attache,
et c'est une petite torsade de deux fils flexibles recouverts de gutta-percha
et de soie qui est fixée aux deux tiges; un capuchon en bois se visse
alors à l'extrémité du manche, et la torsade passe par un trou pratiqué
dans ce capuchon; de sorte que l'on n'est nullement gêné dans la manipulation
de l'appareil. Des serre-fils adaptés aux extrémités des fils de la torsade,
permettent d'ailleurs de les réunir à ceux du circuit. La figure 21 représente
cet appareil.
Fig. 20.
Dans une autre disposition, les fils de la bobine aboutissent
directement à des boutons d'attache placés au-dessous de la boîte de bois;
mais cette disposition est incommode.
Fig. 21.
Au-dessus de l'extrémité polaire du barreau aimanté est
placée la lame vibrante en fer LL qui est recouverte soit de vernis noir
ou jaune, soit d'étain, soit d'un oxyde bleu, mais qui doit toujours être
très-mince. Cette lame a la forme d'un disque, et c'est par les bords
de ce disque, appuyés sur une bague en caoutchouc, qu'elle est fixée fortement
sur les bords circulaires de la boîte de bois qui est à cet effet composée
de deux parties. Ces parties s'ajustent l'une sur l'autre soit au moyen
de vis, soit au moyen d'un pas de vis, ménagé à mi-épaisseur de bois.
Cette lame doit être le plus rapprochée possible de l'extrémité polaire
de l'aimant, mais pas assez pour que les vibrations de la voix déterminent
le contact de ces deux pièces. Enfin l'embouchure RR', fig. 20, par laquelle
on parle et qui a la forme d'un entonnoir très-évasé, termine la partie
supérieure de la boîte et doit être disposée de manière à laisser un certain
vide entre la lame et les bords du trou V qui est ouvert à son centre.
La capacité intérieure de la boîte doit être calculée de manière à pouvoir
jouer le rôle de caisse sonore, sans cependant provoquer d'échos et d'interférences
de sons.
Quand l'appareil est bien exécuté, il peut produire des
effets très-accentués, et voici ce que m'écrivait à ce sujet M. Pollard,
qui est un des premiers qui se soient occupés en France de téléphone.
L'appareil que j'ai confectionné donne des résultats réellement
étonnants: D'abord, au point de vue de la résistance, 5 ou 6 personnes
introduites dans le circuit n'affaiblissent pas sensiblement l'intensité
des sons. Quand on met un appareil sur chaque oreille on a absolument
la même sensation que si le correspondant parlait derrière à quelques
mètres. L'intensité, la netteté, la pureté du timbre sont irréprochables.
Je puis parler à mon collègue à voix complétement basse,
avec le souffle pour ainsi dire, et causer avec lui sans que des personnes
placées à deux mètres de moi puissent saisir un seul mot de notre conversation.
Au point de vue de la réception, lorsqu'on m'appelle en
élevant la voix, j'entends cet appel de tous les points de mon bureau,
du moins quand le silence y règne; dans tous les cas, lorsque je suis
assis à ma table et que l'instrument est à quelques mètres de moi, je
m'entends toujours appeler. Pour augmenter l'intensité des sons, j'adapte
à l'embouchure un cornet en cuivre de forme conique, et dans ces conditions,
on entend, au bout de la ligne, parler dans mon bureau à 2 ou 3 mètres
de l'embouchure; de ma place, à 1 mètre environ du cornet, je puis entendre
et parler sans effort à mon collègue.
Pour se servir du téléphone ordinaire de Bell, il faut
parler nettement devant l'embouchure du téléphone qu'on tient à la main,
pendant que l'auditeur placé à la station correspondante tient contre
son oreille l'embouchure du téléphone récepteur. Ces deux appareils composent
un circuit fermé avec les deux fils qui les relient, mais un seul suffit
pour réaliser complétement la transmission, si l'on a soin de mettre en
communication les deux appareils avec la terre qui, de cette manière,
tient lieu du second fil. M. Bourbouze prétend qu'en employant ce moyen
l'intensité des sons dans le téléphone est grandement augmentée; mais
nous croyons que cette augmentation dépend des conditions du circuit,
quoiqu'il prétende qu'on puisse la constater sur un circuit ne dépassant
pas 70 mètres.
Dans la pratique, il convient d'avoir à sa disposition
deux téléphones à chaque station, afin d'en avoir un à l'oreille pendant
qu'on parle dans l'autre, comme on le voit fig. 22. On entend aussi beaucoup
mieux quand on applique un téléphone contre chaque oreille. On tient alors
les deux téléphones comme on le voit fig. 23. Afin d'éviter la fatigue
des bras, on a disposé un modèle qui les tient suspendus devant les oreilles
au moyen d'une sangle à ressort qui entoure la tête.
Fig. 22.
Il y a du reste des différences considérables dans le
pouvoir de transmission téléphonique des différentes voix. Suivant M.
Preece, crier ne sert à rien: il faut pour obtenir de bons résultats,
que l'intonation soit claire, que l'articulation soit distincte, et que
les sons émis se rapprochent le plus possible des sons musicaux.
J'ai entendu, dit-il, M. Willmot, l'un des électriciens
de l'administration des postes, sur des circuits à travers lesquels aucunes
autres voix n'auraient pu se faire entendre. Les sons des voyelles viennent
toujours le mieux, et parmi les autres lettres, e, g, j,
k, q sont toujours les plus mal répétées. L'oreille aussi
demande à être exercée, et les facultés auditives varient d'une manière
surprenante suivant les personnes. Le chant est toujours entendu avec
une grande netteté ainsi que les sons des instruments à vent et surtout
ceux du cornet à piston qui, de Londres, pourraient être entendus par
des milliers de personnes à la fois à travers le large Corn Exchange de
Basingstoke.
Fig. 23.
Suivant M. Rollo Russel, le circuit d'un téléphone n'aurait
pas besoin d'isolation sur une longueur relativement petite; ainsi avec
un circuit de 418 mètres on a pu employer un fil de cuivre nu déposé sur
un gazon sans que les transmissions téléphoniques résultant d'une petite
boîte à musique fussent annulées, mais à la condition que les deux fils
ne fussent pas en contact. On a pu même obtenir des transmissions quand
ce circuit était enterré dans de la terre mouillée sur une longueur de
30 mètres, ou immergé dans un puits sur une longueur de 40 mètres. La
parole transmise dans ces conditions ne semblait même pas différente de
ce qu'elle était quand le circuit était isolé.
Le téléphone peut se faire entendre simultanément à plusieurs
auditeurs, soit en prenant sur les deux fils réunissant les deux téléphones
en correspondance (près du téléphone récepteur) des dérivations aboutissant
à différents téléphones, qui peuvent facilement être au nombre de 5 ou
6, sur les courts circuits, soit au moyen d'une petite caisse sonore fermée
par deux membranes légères dont l'une est fixée sur la lame vibrante.
En faisant aboutir à cette caisse un certain nombre de tubes acoustiques,
plusieurs personnes pourraient, suivant M. Mc. Kendrick, entendre très-distinctement.
On peut obtenir encore des auditions simultanées du téléphone
en les interposant dans un même circuit, et les expériences faites à New-York
ont montré qu'on pouvait ainsi en faire parler cinq échelonnés en différents
points d'une ligne télégraphique. Dans des essais téléphoniques faits
sur les lignes des écluses du département de l'Yonne, on a constaté que
sur un fil de 12 kilomètres où l'on avait placé à des distances différentes
plusieurs téléphones, trois ou quatre personnes ont pu causer entres elles
à travers ces téléphones, chacune entendant ce que disaient les autres.
Les réponses et les demandes tout en se croisant restaient perceptibles.
On a pu même, en plaçant un téléphone sur un second fil de dix kilomètres
éloigné du premier de cinquante centimètres, et le suivant sur une longueur
de deux kilomètres seulement, saisir la conversation échangée sur l'autre
fil. On pouvait même distinguer très-bien les timbres des voix des deux
interlocuteurs.
Depuis l'apparition du téléphone en Europe, beaucoup d'inventeurs
prétendent être parvenus à faire parler un téléphone de manière qu'il
soit entendu des différents points d'une vaste salle. Nous avons vu que
M. Bell avait déjà obtenu ce résultat, et sous ce rapport nous ne voyons
pas que ceux qui ont perfectionné le téléphone soient arrivés à des résultats
beaucoup plus importants. Mais ce qui est certain, c'est qu'un téléphone
ordinaire peut parfaitement émettre des sons musicaux susceptibles d'être
entendus dans une pièce assez grande et tout en étant attaché à la muraille.
On doit se rappeler les résultats obtenus par MM. Pollard et Garnier lors
des essais qu'ils firent à Cherbourg pour relier la digue à la préfecture
maritime de cette ville.
La digue de Cherbourg est, comme on le sait, une sorte
d'île factice créée de main d'homme devant cette ville pour constituer
une rade. Les forts établis sur cette digue sont reliés par des câbles
sous-marins au port militaire et à la préfecture maritime. Un jour qu'après
des expériences faites dans le cabinet du préfet sur l'un de ces câbles,
au moyen de téléphones, plusieurs des personnes présentes causaient ensemble
dans la pièce, elles furent très-étonnées d'entendre le clairon sonner
la retraite, et les sons semblaient venir de l'un des points de la pièce.
On cherche, et l'on reconnaît bientôt que c'est le téléphone pendu à la
muraille qui se livrait à cet exercice. On s'informe et l'on apprend que
c'était un des expérimentateurs de la station de la digue qui avait fait
la plaisanterie de sonner du clairon devant le téléphone de cette station.
Or la digue est éloignée de Cherbourg de plus d'une lieue, et la préfecture
maritime est au milieu de la ville. Les téléphones étaient pourtant construits
grossièrement dans les ateliers du port de Cherbourg, ce qui prouve une
fois de plus combien ces appareils exigent peu de précision pour fonctionner.
Les téléphones du modèle de Bell les plus variés dans
leurs dispositions se trouvent chez M. C. Roosevelt, représentant de M.
Bell à Paris, 1, rue de la Bourse. Ils sont généralement construits par
M. Bréguet, et les modèles les plus recherchés sont, indépendamment de
celui que nous avons décrit, le grand modèle carré dont l'aimant est en
fer à cheval et qui est renfermé dans une boîte plate, portant sur sa
face antérieure un cornet qui sert en même temps d'embouchure. Nous représentons
(fig. 24), ce système, qui a du reste été construit tout récemment à Boston
dans de meilleures conditions. Dans ce nouveau modèle, établi par M. Gower,
l'aimant est composé de plusieurs lames terminées par un noyau magnétique
en fer sur lequel est fixée la bobine, et le tout est recouvert d'une
épaisse couche de paraffine. Les sons reproduits sont alors beaucoup plus
nets et plus forts. Il y a aussi un modèle en forme de tabatière dans
lequel l'aimant est contourné en spirale afin de conserver sa longueur
sous une forme ronde. Le pôle qui occupe la partie centrale de cette spirale
est alors muni d'un noyau de fer sur lequel est fixée la bobine d'induction,
et le couvercle de la tabatière porte la lame vibrante ainsi que l'embouchure;
nous représentons ce modèle fig. 25. Dans un autre modèle, dit téléphone
miroir, le dispositif précédent est adapté sur un manche comme la
glace d'un miroir portatif, et l'embouchure se présentant sur l'une des
faces latérales, on parle avec cet instrument comme si l'on parlait devant
un écran de cheminée.
Fig. 24.
On trouve d'un autre côté chez M. Bailey les divers modèles
de téléphones à pile et à charbon d'Edison dont nous parlerons bientôt
et qui ont donné les meilleurs résultats sur les longues lignes, ainsi
que les téléphones de MM. Gray et Phelps.
DISPOSITIONS DIFFÉRENTES DES TÉLÉPHONES.
Les résultats si prodigieux obtenus avec le téléphone
Bell et dont l'authenticité avait été mise en doute par la plupart des
savants, devaient naturellement, étant une fois démontrés, provoquer une
foule de recherches de la part des inventeurs et même de ceux qui avaient
été dans l'origine les plus incrédules. Il en est résulté une foule de
perfectionnements et de modifications qui ont évidemment leur intérêt,
et dont nous allons maintenant nous occuper.
Fig. 25.
TÉLÉPHONES À PILE.
Téléphone de M. Edison.—L'un des premiers et des
plus intéressants perfectionnements apportés au téléphone de Bell, est
celui qui a été combiné dans la première moitié de l'année 1876 par M.
Edison. Ce système est, à la vérité, plus compliqué que celui que nous
avons étudié précédemment, car il met à contribution une pile, et l'appareil
transmetteur est différent de l'appareil récepteur; mais il est moins
susceptible d'être influencé par les causes extérieures et permet des
transmissions à plus grande distance.
Le téléphone de M. Edison, comme celui de M. Gray, dont
nous avons déjà eu occasion de parler, est fondé sur l'action de courants
ondulatoires déterminés par des variations de résistance d'un médiocre
conducteur interposé dans le circuit, et sur lequel réagissent les vibrations
d'un diaphragme devant lequel on parle. Seulement, au lieu d'employer
un conducteur liquide qui ne peut jamais être utilisé pratiquement, M.
Edison a cherché à mettre à contribution les corps solides semi-conducteurs.
Ceux qui lui offrirent le plus d'avantages, à ce point de vue, furent
le graphite et le charbon, surtout le charbon résultant du noir de fumée
comprimé. Ces substances, en effet, étant introduites dans un circuit
entre deux lames conductrices dont l'une est mobile, sont susceptibles
de modifier la résistance de ce circuit dans le même rapport à peu près
que la pression qui est exercée sur elles par la lame mobile
et l'on conçoit que pour obtenir avec ce système les courants ondulatoires
nécessaires à la reproduction des sons articulés, il suffisait d'introduire
un disque de plombagine ou de noir de fumée entre la lame vibrante d'un
téléphone et une lame de platine mise en rapport avec la pile. La lame
du téléphone étant mise en communication avec le fil du circuit, il devait
résulter des vibrations de cette lame devant le disque de charbon, une
série de pressions croissantes et décroissantes, donnant lieu à des effets
correspondants dans l'intensité du courant transmis, et ces effets devaient
réagir d'une manière analogue aux courants ondulatoires déterminés par
l'induction dans le système de Bell. Toutefois, pour obtenir de très-bons
résultats, plusieurs dispositions accessoires étaient nécessaires, et
nous représentons (fig. 26) l'une des dispositions qui ont été données
à cette partie du système téléphonique de M. Edison.
Fig. 26.
Dans cette figure, l'appareil est vu en coupe, et il se
rapproche beaucoup, quant à la forme, du téléphone de Bell. L L est la
lame vibrante, O O, l'embouchure, M le trou de cette embouchure, N N N
la cage de l'appareil qui est construite ainsi que l'embouchure en ébonite
et qui présente au-dessous de la lame une cavité assez spacieuse et un
trou tubulaire qui est creusé dans le manche. À sa partie supérieure,
ce tube est continué par un rebord cylindrique muni d'un pas de vis sur
lequel est vissée une petite bague présentant une saillie intérieurement,
et c'est à l'intérieur de ce tube que se trouve disposé le système rhéostatique.
Celui-ci se compose d'abord d'un piston E, adapté à l'extrémité d'une
longue vis E F, dont le bouton F en tournant permet de faire avancer ou
reculer le piston d'une certaine quantité. Au-dessus de ce piston, se
trouve adaptée une lame de platine très mince A reliée par une lamelle
flexible et un fil à un bouton d'attache P'. Une autre lame B, exactement
semblable, est reliée avec le bouton d'attache P, et c'est entre ces deux
lames qu'est placé le disque de charbon C. Ce disque est constitué avec
du noir de fumée de pétrole comprimé, et sa résistance est d'un ohm
ou de 100 mètres de fil télégraphique. Enfin un disque d'ébonite est appliqué
sur la lame de platine supérieure B, et un tampon élastique composé d'un
morceau de tube de caoutchouc G et d'un disque de liège H, est interposé
entre la lame vibrante L L et le disque B, afin que les vibrations de
cette lame ne soient pas arrêtées par l'obstacle rigide constitué par
l'ensemble du système rhéostatique. Quand ces différentes pièces sont
en place, on règle l'appareil au moyen de la vis F, et ce réglage est
facile puisqu'il suffit de la serrer ou de la desserrer jusqu'à ce que
le téléphone récepteur donne son maximum de son.
Fig. 27.
Dans un nouveau modèle représenté (fig. 27), et qui a
fourni les meilleurs résultats pour la netteté des transmissions, la lame
vibrante L L est maintenue et appuyée contre les disques du conducteur
secondaire en charbon C, par l'intermédiaire d'un petit cylindre de fer
A au lieu d'un tampon en caoutchouc, et la pression est réglée par une
vis placée au-dessous de e. L'embouchure E de l'appareil est plus
saillante, et le trou plus large. Enfin il n'y a plus de manche à l'appareil
dont l'enveloppe est en fonte nickelée. Le disque rigide b qui
appuie sur la première lame de platine p est, d'un autre côté,
en aluminium au lieu d'être en ébonite.
Fig. 28.
Le téléphone récepteur ressemble assez à celui de M. Bell.
Il présente néanmoins quelques différences que l'on peut reconnaître par
l'inspection de la fig. 28. Ainsi l'aimant N S est recourbé en fer à cheval,
et la bobine magnétisante E recouvre seulement un des pôles N; ce pôle
occupe précisément le centre de la lame vibrante L L, tandis que le second
pôle est près du bord de cette lame. Les dimensions elles-mêmes de la
lame sont considérablement réduites; sa surface est à peu près celle d'une
pièce de cinq francs, et elle est enclavée dans une espèce de rainure
circulaire qui la maintient dans une position parfaitement déterminée.
En raison de cette disposition, le manche de l'instrument est en bois
plein, et l'espace vide où se trouve le système électro-magnétique est
un peu plus développé que dans le modèle de Bell; mais l'on s'est arrangé
de manière à éviter les échos et à en faire une sorte de caisse sonore
apte à amplifier les sons. La disposition du système électro-magnétique
par rapport à la lame vibrante doit évidemment augmenter aussi la sensibilité
de l'appareil, car le pôle S étant en contact intime avec la lame L L,
celle-ci se trouve polarisée et peut recevoir beaucoup plus énergiquement
les influences magnétiques du second pôle N, qui en est distant de l'épaisseur
d'une forte feuille de papier. Dans les deux appareils de M. Edison (récepteur
et transmetteur) la partie supérieure CC correspondante à la lame vibrante,
au lieu d'être fixée par des vis sur la partie attenante au manche, est
vissée sur cette partie elle-même, ce qui permet de démonter beaucoup
plus facilement l'instrument.
M. Edison a, du reste, beaucoup varié la forme de ses
appareils, et aujourd'hui leur enveloppe est en métal avec une embouchure
d'ébonite en forme d'entonnoir.
Ayant constaté, comme du reste l'avait fait avant lui
M. Elisha Gray, que les courants induits sont plus favorables aux transmissions
téléphoniques que les courants voltaïques, M. Edison transforma les courants
de pile passant par son transmetteur en courants induits, et cela en leur
faisant traverser le circuit primaire d'une bobine d'induction bien isolée;
le fil de ligne était alors mis en communication avec le fil secondaire
de la bobine. Nous rapporterons plus tard des expériences qui montreront
les avantages de cette combinaison; pour le moment, nous ne faisons que
la signaler, car elle fait aujourd'hui partie intégrante de presque tous
les systèmes de téléphones à pile.
Téléphone musical d'Edison.—Les effets
curieux et réellement très-avantageux que M. Edison avait obtenus avec
son électro-motographe, lui donnèrent l'idée, dès le commencement
de l'année 1877, d'appliquer le principe de cet appareil au téléphone
pour la reproduction des sons transmis, et il a obtenu des résultats tellement
intéressants que l'auteur d'un article sur les téléphones, publié dans
le Telegraphic Journal du 15 août 1877, présente cette invention
comme l'une des plus belles du dix-neuvième siècle. Ce qui est certain,
c'est qu'elle semble avoir donné naissance au phonographe qui, dans ces
derniers temps, a fait tant de bruit et a tant étonné les savants.
Pour qu'on puisse comprendre le principe de ce téléphone,
nous devrons entrer dans quelques détails sur l'électro-motographe de
M. Edison, découvert en 1872. Cet appareil est fondé sur ce principe:
que si une feuille de papier, préparée avec une solution d'hydrate de
potasse, est appliquée sur une plaque métallique réunie au pôle positif
d'une pile, et qu'une pointe de plomb ou de platine reliée au pôle négatif
soit promenée sur le papier, le frottement que cette pointe rencontre
cesse dès que le courant passe, et elle peut dès lors glisser comme sur
une glace jusqu'à ce que le courant soit interrompu. Or, comme cette réaction
peut être effectuée instantanément sous l'influence de courants excessivement
faibles, les effets mécaniques produits par ces alternatives d'arrêt et
de glissement, peuvent, pour une disposition convenable de l'appareil,
déterminer des vibrations en rapport avec les interruptions de courant
produites par le transmetteur.
Dans ce système, le récepteur téléphonique se compose
d'un résonnateur et d'un tambour monté sur un axe que fait tourner une
manivelle. Une bande de papier en provision sur un rouleau, passe sur
le tambour dont la surface est rugueuse, et sur cette bande appuie fortement
une pointe émoussée de platine qui est adaptée à l'extrémité d'un ressort
fixé au centre du résonnateur. Le courant de la pile dirigé d'abord sur
le ressort, passe par la pointe de platine à travers le papier chimique,
et retourne par le tambour à la pile. Quand on tourne la manivelle, le
papier avance, et le frottement normal qui se produit entre le papier
et la pointe de platine, pousse en avant cette dernière, en provoquant
par l'intermédiaire du ressort une traction sur un des côtés du résonnateur;
mais au moment de chaque passage du courant à travers le papier, tout
frottement cessant, le ressort n'est plus entraîné, et le résonnateur
revient à sa position normale. Or, comme à chaque vibration effectuée
au transmetteur ce double effet se manifeste, il en résulte une série
de vibrations du résonnateur qui sont la répétition de celles du transmetteur
et, par conséquent, la reproduction plus ou moins réduite des sons musicaux
qui ont affecté le transmetteur. Suivant les journaux américains, cet
appareil aurait fourni des résultats surprenants; les courants les plus
faibles, qui n'exerceraient aucune action sur un électro-aimant, produisent
de cette manière des effets complets. L'appareil peut même reproduire,
avec une grande intensité, les notes les plus élevées de la voix humaine,
notes que l'on peut à peine distinguer lorsque l'on emploie des électro-aimants.
Le transmetteur est à peu près le même que celui que nous
avons décrit précédemment; seulement, au lieu du disque de charbon, c'est
une pointe de platine qui est employée, et elle ne doit pas être en contact
continuel avec la lame vibrante. Voici du reste comment il est décrit
dans le Telegraphic Journal: Il consiste simplement dans un long
tube de deux pouces de diamètre, ayant un de ses bouts recouvert d'un
diaphragme constitué par une mince feuille de cuivre et maintenu serré
au moyen d'une bague élastique. Au centre du diaphragme de cuivre se trouve
rivé un petit disque de platine, et devant ce disque, est ajustée une
pointe du même métal adaptée à un support fixe. Quand on chante devant
le diaphragme, celui-ci en vibrant rencontre la pointe de platine et lui
fait produire le nombre de fermetures de courant en rapport avec les vibrations
des notes chantées.
D'après de nouvelles expériences faites en Amérique pour
juger du mérite des différents systèmes de téléphones, ce serait celui
de M. Edison qui aurait fourni les meilleurs résultats. Voici ce que nous
lisons, en effet, dans le Telegraphic Journal du 1er
mai 1878 (p. 187): Le 2 avril dernier, on expérimenta le téléphone à charbon
de M. Edison entre New-York et Philadelphie, sur une des lignes si nombreuses
de la compagnie de l'Ouest Union. La ligne avait une longueur de
cent six milles, et dans presque tout son parcours elle longeait les autres
fils. Or les effets d'induction déterminés par les transmissions télégraphiques
à travers les fils voisins, et qui étaient suffisants pour empêcher l'audition
de la parole dans tous les téléphones essayés, furent sans influence quand
on employa le téléphone d'Edison avec deux éléments de pile et une petite
bobine d'induction, et MM. Batchelor, Phelps et Edison purent échanger
facilement une conversation. Le téléphone magnétique de M. Phelps regardé
comme le plus puissant de son espèce, donna même de moins bons résultats.
Dans des expériences faites entre le palais de l'Exposition
de Paris et Versailles, la commission du jury a pu constater les mêmes
résultats avantageux.
Téléphones du colonel Navez.—Le colonel
d'artillerie belge Navez, l'auteur du chronographe balistique bien connu,
a cherché à perfectionner le téléphone d'Edison en employant plusieurs
disques de charbon au lieu d'un seul. Suivant lui, les variations de résistance
électrique produites par les disques de charbon, sous l'influence de pressions
inégales, dépendent surtout de leur surface de contact, et il croit en
conséquence que plus ces surfaces sont multipliées, plus les différences
en question sont considérables, comme cela a lieu quand on polarise la
lumière avec une pile de glaces. Les meilleurs résultats ont été obtenus
par lui avec une pile de douze rondelles de charbon. Ces rondelles, dit-il,
agissent bien par leurs surfaces de contact, car il suffit de les séparer
par des rondelles d'étain interposées, pour détruire toute articulation
de la parole reproduite.
Fig. 29.
Pour éteindre les vibrations musicales nuisibles qui accompagnent
les transmissions téléphoniques, M. Navez emploie, comme lame vibrante
du transmetteur, une lame de cuivre recouverte d'argent, et pour lame
vibrante du récepteur, une lame de fer doublée d'une plaque de laiton,
le tout soudé ensemble. Il emploie d'ailleurs des tubes de caoutchouc
munis d'embouchures et de conduits auriculaires, pour la transmission
et la réception des sons, et les appareils sont disposés à plat, sur une
table. À cet effet, le barreau aimanté du téléphone récepteur est alors
remplacé par deux aimants horizontaux agissant par un pôle de même nom
sur un petit noyau de fer qui porte la bobine et qui se trouve placé verticalement
entre les deux aimants. Il emploie naturellement une petite bobine de
Ruhmkorff, pour transformer l'électricité de la pile en électricité d'induction.
Fig. 30.
Les figures 29 et 30 représentent les deux parties de
ce système téléphonique. La pile de charbon est en C, fig. 29; la lame
vibrante en LL, et l'embouchure E, adaptée à un tube en caoutchouc TE,
correspond par le dessous à la lame vibrante. La pile de charbons est
réunie métalliquement au circuit par une tige de platine EC, et la lame
vibrante communique également au circuit par l'intermédiaire d'un bouton
d'attache. Dans le téléphone récepteur, fig. 30, la partie supérieure
est disposée à peu près comme dans les téléphones ordinaires; seulement,
au lieu d'une embouchure, on a adapté à l'appareil un conduit auriculaire
TO. Les deux aimants qui communiquent une polarité uniforme au noyau de
fer N portant la bobine d'induction B, sont en A, A' et ont la forme de
fers à cheval; on en voit un en coupe en D du côté droit, et l'autre ne
montre en C que la courbe du fer à cheval. Les deux boutons d'attache
de ce récepteur correspondent aux deux extrémités du fil induit de la
bobine d'induction supplémentaire, et les deux boutons d'attache du transmetteur
correspondent aux deux bouts du fil primaire de cette bobine et à la pile
qui est interposée dans le circuit près de cet appareil.
Téléphones de MM. Pollard et Garnier.—Le
téléphone à pile construit par MM. Pollard et Garnier est différent de
ceux qui précèdent, en ce qu'il met simplement à contribution deux pointes
de mine de plomb portées par des porte-crayons métalliques, et que ces
pointes sont appliquées directement contre la lame vibrante avec une pression
qui doit être réglée. La fig. 31 représente la disposition qu'ils ont
adoptée, et qui du reste peut être variée d'une infinité de manières.
LL est la lame vibrante en fer-blanc au-dessus
de laquelle se trouve l'embouchure E, et P, P' sont les deux pointes de
graphite munies de leur porte-crayons. Ces porte-crayons portent à leur
partie inférieure un pas de vis qui, étant engagé dans un trou fileté
pratiqué dans une plaque métallique CC, permet de serrer plus ou moins
les crayons contre la lame LL. Cette plaque métallique CC est composée
de deux parties juxtaposées qui, étant isolées l'une de l'autre, peuvent
être mises en rapport avec un commutateur cylindrique au moyen duquel
on peut disposer le circuit de diverses manières. Ce commutateur étant
pourvu de cinq lames, permet de passer presque instantanément d'une combinaison
à l'autre, et ces combinaisons sont les suivantes:
1o Le courant entre par le crayon
P, passe dans la plaque et de là dans la ligne;
Fig. 31.
2o Le courant arrive par le crayon P', passe
dans la plaque et de là dans la ligne;
3o Le courant arrive à la fois par les crayons
P et P', se rend dans la plaque et de là à la ligne;
4o Le courant arrive par le crayon P, va de
là à la plaque, puis dans le crayon P', et de là à la ligne.
On a donc de cette manière deux éléments de combinaison
que l'on peut utiliser séparément ou en les associant en tension ou en
quantité.
Lorsque les crayons sont bien réglés et donnent une transmission
bien régulière et de même intensité, on peut étudier facilement les effets
produits quand on passe de l'une des combinaisons à l'autre, et l'on constate:
1o que pour un circuit court, il n'y a pas de changement appréciable,
quelle que soit la combinaison employée; 2o que quand le circuit
est long ou présente une grande résistance, c'est la combinaison en tension
qui a l'avantage, et cela d'autant plus que la ligne est plus longue.
Ce système téléphonique, comme du reste les deux précédents,
met à contribution une machine d'induction pour transformer les courants
voltaïques en courants induits; nous parlerons plus tard de cet accessoire
important de ces sortes d'appareils.
Quant au téléphone récepteur, la disposition adoptée par
MM. Pollard et Garnier est à peu près celle de Bell. Seulement ils emploient
des lames de fer-blanc et des hélices beaucoup plus résistantes. Cette
résistance est, en effet, de cent cinquante à deux cents kilomètres. Nous
avons toujours reconnu, disent ces messieurs, que quelle que soit la résistance
du circuit extérieur, on a avantage à augmenter le nombre des tours de
spires, même en faisant usage du fil no 42, qui est celui que
nous avons employé de préférence.
Téléphone à réaction de M. Hellesen.—M.
Hellesen pensant que les vibrations produites par la voix sur un transmetteur
téléphonique à charbon, devaient se trouver amplifiées si la pièce mobile
du rhéotome était soumise à une action électro-magnétique résultant de
ces vibrations elles-mêmes, a combiné un transmetteur fondé sur ce principe
que nous représentons fig. 32, et qui a l'avantage de constituer lui-même
l'appareil d'induction destiné à transformer les courants voltaïques employés.
Cet appareil se compose d'un tube de fer vertical appuyé sur une masse
magnétique NS et entouré d'une bobine magnétisante BB au-dessus de laquelle
est adaptée une hélice d'induction en fil fin II, mise en communication
avec le circuit. À l'intérieur du tube, se trouve un crayon de plombagine
C, disposé dans un porte-crayon qui peut être élevé ou abaissé au moyen
d'une vis de rappel V adaptée au dessous de la masse magnétique. Enfin,
au-dessus de ce crayon, est fixée une lame vibrante en fer LL, qui est
munie à son centre d'un contact de platine communiquant à la pile; le
circuit local est alors mis en rapport avec le crayon par l'intermédiaire
de l'hélice magnétisante B, dont un bout est à cet effet soudé sur le
tube de fer.
Fig. 32.
Il résulte de cette disposition que les vibrations de
la lame LL, au moment de leur plus grande amplitude du côté du crayon,
tendent à s'amplifier par suite de l'action attractive exercée sur la
plaque, et la pression sur le graphite devenant plus forte, accroît les
différences de résistance qui en résultent et, par suite, détermine des
variations plus grandes dans l'intensité des courants transmis.
Téléphone à réaction de MM. Thomson et Houston.—La
disposition téléphonique que nous venons de décrire a été reprise dernièrement
par MM. Elihu Thomson et Edwin. J. Houston qui, dans l'English mechanic
and World of science du 21 juin 1878, c'est-à-dire deux mois après
que M. Hellesen m'a indiqué son système
ont publié un article sur un appareil à peu près semblable au précédent.
Dans cet appareil, en effet, le courant qui passe à travers
le corps médiocrement conducteur, anime un électro-aimant muni d'une bobine
d'induction, et cet électro-aimant réagit sur le diaphragme pour augmenter
l'amplitude de ses vibrations et créer en même temps deux actions électriques
agissant dans le même sens; seulement la disposition du contact du mauvais
conducteur avec la lame vibrante est un peu différente. Au lieu d'un simple
contact par pression effectué entre cette lame et un crayon de charbon,
c'est un petit fragment de cette matière, taillé en pointe, qui est fixé
sur la lame vibrante et qui plonge dans une gouttelette de mercure versée
au fond d'une cavité pratiquée à l'extrémité supérieure du fer de l'électro-aimant.
La disposition de l'appareil est d'ailleurs la même que celle d'un téléphone
ordinaire, et c'est la tige de fer de l'électro-aimant qui représente
le barreau aimanté du téléphone Bell. Suivant les auteurs, cet appareil
peut être employé comme transmetteur et comme récepteur, et voici comment
les effets se produisent dans les deux cas.
Quand l'appareil transmet, le fragment de charbon plonge
plus ou moins dans le mercure, et par suite des différences qui se produisent
dans les surfaces de contact suivant l'amplitude des vibrations de la
lame, le courant subit des variations d'intensité en rapport avec ces
amplitudes, et de ces variations résultent, dans la bobine d'induction,
des courants induits, qui réagissent sur le téléphone récepteur comme
dans l'appareil Bell, et qui sont encore renforcés de ceux qui sont produits
magnéto-électriquement par le mouvement du diaphragme devant la bobine
d'induction et le fer de l'électro-aimant.
Quand l'appareil est employé comme récepteur, les effets
ordinaires se manifestent, car le fer de l'électro-aimant étant aimanté
par le courant, se trouve exactement dans les conditions des téléphones
Bell ordinaires, et les courants induits lui arrivent de la même manière,
seulement plus intenses. MM. Thomson et Houston prétendent que ce système
a fourni des résultats excellents et que le son de la voix y est beaucoup
moins altéré que dans les autres téléphones.
Téléphones à piles et à transmetteurs liquides.—On
a vu que M. Gray, dès l'année 1876, avait imaginé un système téléphonique
basé sur les variations de résistance qu'éprouve un circuit complété par
un liquide, lorsque la couche liquide interposée entre les électrodes
varie d'épaisseur sous l'influence des vibrations de la lame téléphonique
mise en rapport avec l'une de ces électrodes. Ce système a été étudié
depuis par plusieurs inventeurs, entre autres par MM. Richemond et Salet,
et voici les quelques renseignements qui ont été publiés relativement
à leurs recherches.
Un autre téléphone reproduisant les sons articulés, et
appelé par M. Richemond électro-hydro-téléphone, a été breveté
récemment aux États-Unis. Il est sous certains rapports semblable à celui
de M. Edison, mais au lieu de mettre à contribution des disques de charbon
pour modifier la résistance du circuit, c'est l'eau qui est employée,
et cette eau est mise en rapport avec le circuit et la pile par l'intermédiaire
de deux pointes de platine, dont une est fixée sur le diaphragme métallique
qui vibre sous l'influence de la voix. Les vibrations de ce diaphragme
en transportant la pointe qui lui est adhérente en des points différents
de la couche liquide interpolaire, diminuent ou augmentent la résistance
électrique de cette couche, et déterminent des variations correspondantes
dans l'intensité du courant traversant le circuit. Le téléphone récepteur
a d'ailleurs la disposition ordinaire. (Voir le Telegraphic Journal
du 15 sept. 1877, p. 222).
Il m'a paru intéressant, dit M. Salet, de construire un
téléphone dans lequel le mouvement de deux membranes soient absolument
solidaires, et pour cela j'ai mis à profit la grande résistance des liquides.
M. Bell avait déjà obtenu quelques résultats en attachant à la membrane
vibrante un fil de platine communiquant avec une pile, et plongeant plus
ou moins dans de l'eau acidulée contenue dans un vase métallique relié
lui-même par la ligne au téléphone receveur. J'ai substitué au fil de
platine un petit levier d'aluminium portant une lame de platine; à une
très-faible distance de celle-ci s'en trouvait une seconde en relation
avec la ligne. Les vibrations de la membrane, triplées ou quadruplées
dans leur amplitude, ne sont pas altérées dans leurs formes, grâce à la
petitesse et à la légèreté du levier; elles déterminent dans l'épaisseur
de la couche liquide traversée par le courant, et par suite dans l'intensité
de celui-ci, des variations, lesquelles en occasionnent de semblables
dans la force attractive de l'électro-aimant récepteur. Sous son influence,
la membrane recevante exécute des mouvements solidaires de ceux de la
membrane expéditrice. Le son transmis est très-net et, résultat auquel
on pouvait s'attendre, le timbre est parfaitement conservé. Les consonnes
cependant n'ont pas tout le mordant de celles transmises par l'instrument
de M. Bell. C'est un inconvénient qui apparaît surtout quand le levier
est un peu lourd; on pourrait facilement le faire disparaître. L'électrolyse
produit en outre un bruissement continu qui ne nuit guère à la netteté
du son.
Comme dans ce système on ne demande pas à la voix de produire,
mais seulement de diriger le courant électrique engendré par une
pile, on peut théoriquement augmenter à volonté l'intensité du son reçu.
En réalité j'ai pu faire rendre au récepteur des sons très-forts, et il
me semble que cet avantage compense largement la nécessité d'employer
une pile et un appareil expéditeur assez délicat. Malheureusement la transmission
ne peut se faire à des distances un peu considérables. Supposons qu'un
certain déplacement de la membrane expéditrice détermine dans la résistance
le même accroissement que cinq à six cents mètres de fil: si la ligne
a cinq cents mètres, l'intensité du courant se trouvera réduite de moitié
et la membrane recevante prendra une nouvelle position notablement différente
de la première; mais si la ligne a cinq cents kilomètres, l'intensité
du courant ne sera modifiée que de un millième. Il faudrait donc employer
une pile énorme pour que cette variation se traduisît par un changement
sensible dans la position de la membrane recevante.
(Voir Comptes rendus de l'Académie des sciences
du 18 février 1878, p. 471.)
M. J. Luvini, dans un article inséré dans les Mondes,
du 7 mars 1878, a indiqué un système de rhéotome de courant pour les téléphones
à pile qui, malgré sa complication, pourrait peut-être présenter quelques
avantages, en ce sens qu'il fournirait des courants alternativement renversés.
Dans ce système, la lame vibrante transmettrice qui doit être placée verticalement,
réagit sur un fil mobile horizontal replié rectangulairement et portant
sur chacune de ses branches deux pointes de platine plongeant dans deux
godets remplis d'un liquide médiocrement conducteur; les deux branches
de ce fil, isolées l'une de l'autre, sont mises en rapport avec les deux
pôles de la pile, et les quatre godets dans lesquels plongent les fils
de platine, communiquent d'une manière inverse à la ligne et à la terre
par l'intermédiaire de fils de platine immobiles fixés dans les godets.
Il résulte de cette disposition que, pour un réglage convenable des distances
entre les fils fixes et mobiles, deux courants égaux se trouveront opposés
à travers le circuit de la ligne quand le diaphragme sera immobile; mais
aussitôt que celui-ci vibrera, les distances respectives des fils varieront,
et il en résultera, un courant différentiel dont l'intensité sera en rapport
avec l'étendue du déplacement du système ou l'amplitude de la vibration,
et dont le sens variera pour les mouvements en dessus et en dessous de
la ligne des nœuds de vibration. On aurait donc de cette manière les effets
avantageux des courants induits.
Téléphones à pile et à arcs voltaïques.—Pour
obtenir des variations de résistance encore plus sensibles qu'avec les
liquides et les corps pulvérulents, on a eu l'idée d'avoir recours aux
conducteurs gazeux échauffés, et on a combiné plusieurs dispositifs de
téléphones à pile dans lesquels le circuit était complété par une couche
d'air séparant la lame vibrante d'une pointe de platine servant d'excitateur
à une décharge électrique de haute tension. Dans ces conditions, cette
couche d'air devient conductrice, et l'intensité du courant qui la traverse
est en rapport avec son épaisseur. Ce problème a été résolu soit au moyen
de courants voltaïques d'une grande tension, soit au moyen d'une bobine
de Ruhmkorff.
Le premier système a été combiné par M. Trouvé, et voici
ce qu'il en dit dans le journal la Nature du 6 avril 1878. Une
membrane métallique vibrante constitue l'un des pôles d'une pile à haute
tension; l'autre pôle est assujetti devant la plaque par une vis micrométrique
qui permet de faire varier, suivant la tension de la pile, la distance
à la plaque, sans pourtant jamais être en contact avec elle. Cette distance,
toutefois, ne doit pas dépasser celle que pourrait franchir la décharge
de la pile. Dans ces conditions, la membrane vibrant sous l'influence
des ondes sonores a pour effet de modifier constamment la distance entre
les deux pôles et de faire ainsi varier sans cesse l'intensité du courant;
par conséquent l'appareil récepteur (téléphone Bell ou à électro-aimant)
subit des variations magnétiques en rapport avec les variations du courant
qui l'influence, ce qui a pour effet de faire vibrer synchroniquement
la membrane réceptrice. C'est donc sur la possibilité de faire varier
entre des limites très-étendues la résistance du circuit extérieur d'une
pile ou batterie à haute tension dont les pôles ne sont pas en contact,
que repose le nouvel appareil téléphonique. On pourra aussi, pour faire
varier les conditions de cette résistance, faire intervenir une vapeur
quelconque ou bien des milieux différents, tels que l'air ou les gaz plus
ou moins raréfiés.
M. Trouvé pense obtenir de bons résultats avec sa pile
à rondelles humectées de sulfate de cuivre et de sulfate de zinc, en en
disposant les éléments, au nombre de quatre ou cinq cents, dans des tubes
de verre de petit diamètre. Pour obtenir des courants de tension, il n'est
pas besoin, comme on le sait, que ces éléments soient de grandes dimensions.
(p. 099) M. de Lalagade a
proposé un moyen analogue en employant, pour la formation de l'arc, un
courant dont la tension est augmentée par l'interposition dans le circuit
d'un fort électro-aimant. Cet électro-aimant réagit d'ailleurs sur un
électro-aimant Hughes pour lui faire fournir des courants d'induction
susceptibles de faire fonctionner le récepteur. Suivant M. de Lalagade,
une pile de Bunsen ou à bichromate de potasse de 6 éléments, suffirait
pour obtenir un arc voltaïque continu entre la lame vibrante d'un téléphone
et une pointe de platine éloignée suffisamment pour ne donner lieu à aucun
contact. Il faudrait cependant en déterminer un en commençant, pour provoquer
la formation de cet arc. Dans le système de M. de Lalagade, la lame vibrante
doit être munie à son centre d'une petite lame de platine pour éviter
les effets d'oxydation de l'étincelle. Suivant l'auteur, les sons ainsi
transmis et reproduits dans un téléphone dont le système électro-magnétique
serait monté sur une caisse sonore, auraient une intensité plus grande
qu'avec les téléphones ordinaires, et il semblerait qu'on vous parlerait
dans l'oreille.
Téléphones à mercure.—Ces systèmes sont
fondés sur ce phénomène physique découvert par M. Lippmann, que si une
couche d'eau acidulée est superposée à du mercure et réunie au moyen d'une
électrode et d'un fil avec celui-ci, de manière à constituer un circuit,
toute action mécanique qui aura pour effet de presser sur la surface du
mercure et de faire varier la forme de son ménisque, déterminera une réaction
électrique capable de donner lieu à un courant dont la force sera en rapport
avec l'action mécanique exercée. Par réciproque, toute action électrique
qui sera produite sur le circuit d'un pareil système, donnera lieu à une
déformation du ménisque et par suite à un mouvement de celui-ci, qui sera
d'autant plus caractérisé que le tube où se trouve le mercure sera plus
petit et l'action électrique plus grande. Cette action électrique pourra
d'ailleurs résulter d'une différence de potentiel dans l'état électrique
des deux extrémités du circuit mis en rapport avec la source électrique
employée ou d'un générateur électrique quelconque.
Fig. 33.
On comprend facilement, d'après ces effets, que si on
plonge dans deux vases VV1 (fig. 33), remplis d'eau acidulée
et de mercure, deux tubes TT1 à bout effilé contenant du mercure
M, et qu'on réunisse entre elles, par des fils métalliques PP1,
QQ1 d'abord, les deux colonnes de mercure remplissant les tubes
et, en second lieu, les couches de mercure qui occuperont le fond des
deux vases, on aura, si on a soin de placer les tubes à une certaine distance
de la surface du mercure dans les vases, un circuit métallique complété
par deux électrolytes, dont l'un pourra accuser les effets mécaniques
ou électriques produits au sein de l'autre. Si donc on adapte au-dessus
des tubes deux lames vibrantes B, B1, et qu'on fasse vibrer
l'une d'elles, l'autre devra reproduire ces vibrations sous l'influence
des mouvements vibratoires communiqués par la colonne de mercure correspondante.
Ces vibrations seront en rapport elles-mêmes avec les émissions électriques
résultant des mouvements de la colonne de mercure du premier tube, et
qui sont déterminés mécaniquement. Si un générateur électrique est introduit
dans le circuit, l'effet que nous venons d'analyser s'effectuera sous
l'influence des modifications dans le potentiel de ce générateur sous
l'influence des effets électro-capillaires. Mais si on n'emploie aucun
générateur, l'action résultera des courants électriques déterminés par
l'action électro-capillaire elle-même. Dans ce dernier cas, cependant,
l'appareil doit être construit d'une manière un peu plus délicate, pour
obtenir des réactions électriques plus sensibles, et voici comment M.
A. Bréguet décrit son appareil.
L'appareil consiste dans un tube de verre fin, de quelques
centimètres de longueur, contenant des gouttes alternées de mercure et
d'eau acidulée, de façon à constituer autant d'éléments électro-capillaires
associés en tension. Les deux extrémités du tube sont fermées à la lampe,
mais laissent pourtant un fil de platine prendre contact de chaque côté
sur la goutte de mercure la plus voisine. Une rondelle de sapin mince
est fixée normalement au tube par son centre, et permet ainsi d'avoir
une surface de quelque étendue à s'appliquer sur la coquille de l'oreille
quand l'appareil est récepteur, et de fournir au tube une plus grande
quantité de mouvement sous l'influence de la voix, quand l'appareil est
transmetteur. Voici les avantages que présentent ces sortes d'appareils:
1o Ils ne nécessitent l'usage d'aucune pile;
2o L'influence perturbatrice de la résistance
d'une longue ligne est presque nulle pour ces instruments alors qu'elle
est encore appréciable avec le téléphone Bell;
3o Deux appareils à mercure accouplés comme
il a été dit plus haut, sont absolument corrélatifs, en ce sens que, même
des positions différentes d'équilibre de la surface du mercure
dans l'un d'eux, produisent des positions différentes d'équilibre dans
l'appareil opposé. On peut donc reproduire à distance, sans pile, non-seulement
des indications fidèles de mouvements pendulaires, comme le fait le téléphone
de Bell, mais encore l'image exacte des mouvements les plus généraux.
Nous croyons devoir faire toutefois nos réserves à l'égard
de cette assertion: que la résistance du circuit serait sans influence
sur ces téléphones. Nous ne le pensons pas et voici pourquoi.
Si j'ai bien compris l'idée de M. A. Bréguet, cette indépendance
tiendrait à ce que les effets produits ne sont seulement fonction que
des différences de potentiel déterminées dans les conditions d'équilibre
électrique du système. Si l'on considère que les courants résultant de
l'action électrique de l'eau acidulée sur le mercure, se trouvent annulés
à travers le circuit par l'opposition des deux systèmes l'un à l'autre,
on comprend aisément que les forces électro-motrices développées se trouvent
maintenues sur les deux appareils à peu près dans les mêmes conditions
que sur les pôles de deux éléments de pile réunis par leurs pôles de même
nom, et pour qu'un courant se manifeste il suffit que la tension électrique
de l'une des sources soit affaiblie ou augmentée; mais alors le courant
différentiel qui en résulte et qui est seul à agir, est soumis à toutes
les lois qui régissent la transmission des courants sur les circuits et,
par conséquent, doit être aussi bien affecté par la résistance du circuit
que tout autre courant.
(p. 104) MODIFICATIONS APPORTÉES À LA CONSTRUCTION DES
TÉLÉPHONES BELL.
Les modifications que nous avons étudiées précédemment
se rapportent au principe même de l'appareil; celles qui nous restent
à étudier ne sont que des modifications dans la forme et la disposition
des différents organes qui constituent le téléphone Bell lui-même, et
qui ont été combinées en vue d'augmenter l'intensité et la netteté des
sons produits.
Téléphones à diaphragmes multiples.—Si
l'on considère que les courants induits déterminés dans un téléphone,
résultent des mouvements vibratoires du diaphragme, et que ceux-ci sont
provoqués par les vibrations de la couche d'air interposée entre ce diaphragme
et l'organe vocal, on en déduit naturellement que si ces vibrations de
la couche d'air réagissaient sur plusieurs diaphragmes accompagnés isolément
de leur organe électro-magnétique, on pourrait déterminer simultanément
plusieurs courants induits qui, étant associés convenablement, pourraient
fournir des effets d'autant plus intenses sur le récepteur, que les sons
qui seraient engendrés résulteraient de plusieurs sources sonores combinées.
Plusieurs inventeurs, en partant de ce raisonnement, ont combiné des appareils
plus ou moins ingénieux que nous allons maintenant passer en revue, sans
pouvoir cependant indiquer celui qui le premier a réalisé cette idée.
Elle est, en effet, tellement simple, qu'elle est venue vraisemblablement
à l'esprit de plusieurs inventeurs au même moment, et nous voyons que
tandis que M. Trouvé indiquait en France, au mois de novembre 1877, ce
perfectionnement, on le mettait en essai en Amérique et on le discutait
en Angleterre, et même on ne le regardait pas, dans ce dernier pays, comme
appelé à donner des résultats favorables; voici, en effet, ce que dit
M. Preece à cet égard, dans un mémoire publié par lui le 4 avril 1878,
et intitulé: On some physical points connected with the telephone.
Tous ceux qui se sont occupés de perfectionner le téléphone n'ont éprouvé
que des désappointements et des insuccès désespérants. Un des premiers
essais de ce genre fut entrepris par M. Willmot qui pensait obtenir un
bon résultat en augmentant le nombre des diaphragmes, des hélices et des
aimants, en réunissant les hélices en séries et en les faisant agir simultanément
afin d'augmenter l'énergie des courants développés sous l'influence de
la voix; mais l'expérience montra que quand l'appareil agissait directement,
l'effet vibratoire de chacun des diaphragmes décroissait proportionnellement
à leur nombre, et l'effet général restait le même qu'avec un seul diaphragme.
L'instrument de M. Willmot a été construit au commencement d'octobre 1877,
et celui de M. Trouvé n'en est qu'une dérivation.
D'un autre côté, nous voyons que si, en Angleterre, les
téléphones à membranes multiples n'ont pas produit de bons résultats,
il n'en a pas été de même en Amérique, car les téléphones aujourd'hui
les plus en usage dans ce pays sont précisément ceux de MM. Elisha Gray
et Phelps, qui sont à plusieurs diaphragmes. Il y a évidemment dans la
disposition de ces appareils des détails de construction qui peuvent paraître
insignifiants, théoriquement, et qui ont pourtant une grande importance
au point de vue pratique, et nous croyons que c'est surtout à cette circonstance
que les appareils de ce genre doivent leur réussite ou leur non réussite.
Ainsi, par exemple, il paraît que les vibrations de l'air, déterminées
dans l'embouchure, doivent être dirigées sur les diaphragmes normalement
à leur surface et par l'intermédiaire de canaux distincts; il faut que
les espaces vides autour des diaphragmes, soient assez étroits afin d'éviter
les échos et les interférences, à moins que la caisse ne soit assez grande
pour que ces effets ne soient pas à craindre. Il faut surtout que les
matières employées pour la fixation des organes ne soient pas susceptibles
de jouer, et c'est pour cela qu'on emploie de préférence le fer ou l'ébonite.
Ce qui paraît certain, c'est que quand l'appareil est bien construit,
il donne des effets supérieurs aux téléphones Bell, et, s'il faut croire
le Telegraphic Journal, un appareil de ce genre expérimenté devant
la Société royale de Londres le 1er mai 1878, aurait déterminé
des effets d'une intensité proportionnelle au nombre des diaphragmes.
Cet appareil avait été combiné par M. Cox Walker de New-York, et possédait
huit diaphragmes. C'est d'après lui, la disposition qui donne les meilleurs
résultats.
Fig. 34.
Système de M. Elisha Gray.—Le dernier
système de M. Elisha Gray, que nous représentons fig. 34, est un de ceux
qui ont donné les meilleurs effets. Il est constitué, comme on le voit,
par deux téléphones juxtaposés auxquels correspondent deux tuyaux V, issus
d'une embouchure commune E. L'un de ces téléphones est vu en coupe sur
la figure, l'autre en élévation, et ils correspondent aux deux branches
d'un aimant en fer à cheval nickelisé NUS, qui peut servir d'anneau pour
le suspendre. Dans le côté de la figure qui montre la coupe, on peut voir
en B la bobine d'induction et en A le noyau magnétique qui est en fer
doux et vissé sur l'extrémité polaire S de l'aimant; la lame vibrante
est en LL, et, comme on le voit, le tuyau de l'embouchure y aboutit normalement
à sa surface.
Dans un autre modèle, il existe quatre téléphones juxtaposés
au lieu de deux, et il donne des effets encore plus marqués.
Système de M. Phelps.—Ce système n'est
qu'une dérivation du précédent, mais il y a deux modèles; dans le grand,
qui permet d'entendre comme si la personne avec laquelle vous entrez en
correspondance parlait à haute voix et de très-près, les deux téléphones
sont placés parallèlement l'un devant l'autre et de manière à présenter
verticalement leur diaphragme. L'intervalle compris entre ces deux lames
est occupé par un tuyau vertical terminé inférieurement par un tuyau horizontal
correspondant aux centres des deux diaphragmes, et c'est sur ce tuyau
qu'est adaptée l'embouchure qui ressort extérieurement de la boîte carrée
où est renfermé l'appareil. Les bobines d'induction et les noyaux magnétiques
qui les traversent sont placés suivant l'axe du système, et semblent constituer
une sorte d'axe de roue qui se trouve polarisé par les pôles d'un aimant
en fer à cheval dont on peut régler la position par rapport à la surface
des diaphragmes au moyen d'écrous mobiles. On dirait en voyant l'appareil,
une sorte de tore de gyroscope soutenu par un axe horizontal sur deux
piliers issus d'un aimant en fer à cheval aplati.
Au-dessus de ce système, se trouve l'appareil magnéto-électrique
de la sonnerie d'appel, qui n'a d'ailleurs rien de particulier et qui
se rapproche des avertisseurs allemands dont nous parlerons à la fin de
cette notice. Cet appareil est remarquable par la force et la netteté
de ses sons et surtout par l'absence de cette voix de polichinelle si
désagréable dans les autres téléphones.
Le petit modèle de M. Phelps a la forme d'une tabatière
oblongue ou en ellipse dont les deux centres sont occupés par deux systèmes
téléphoniques actionnés par un même aimant. Celui-ci est placé horizontalement
au-dessous de la tabatière, et ses pôles correspondent aux noyaux magnétiques
des bobines. Ces noyaux sont constitués par des tubes de fer fendus longitudinalement
pour faire disparaître les réactions d'induction insolites, et les diaphragmes
de fer sont appuyés sur cinq ressorts à boudin qui tendent à les soulever
au-dessus du système magnétique. Du côté opposé, ces diaphragmes sont
munis de bagues en matière demi-élastique, qui empêchent les vibrations
centrales des lames de se compliquer de celles des bords. Sur ces lames
est ensuite appliqué le couvercle qui est creusé de cavités très-évasées
et peu profondes, avec couloirs de communication qui constituent la caisse
sonore. L'embouchure correspond à l'une des cavités, et l'autre est fermée
par un petit bouchon métallique que l'on retire pour régler l'appareil
quand besoin en est. Les vibrations de l'air se trouvant transmises par
les couloirs aux deux cavités, les deux téléphones fonctionnent simultanément
quoique, à première vue, un seul des téléphones semble être appelé à produire
l'effet.
Suivant M. Pope, la perfection de cet appareil tient à
la simultanéité des effets produits sur les deux appareils, à la petite
bague semi-élastique qui circonscrit les contours de chaque lame vibrante
et qui joue le rôle du marteau de l'oreille, c'est-à-dire celui d'étouffoir,
aux fentes longitudinales du noyau tubulaire magnétique et à la petitesse
des cavités laissées au-dessus des lames vibrantes. L'appareil est d'ailleurs
en ébonite et strié sur sa surface pour lui donner plus de fixité dans
la main.
Système de M. Cox Walker.—Ce système,
dont nous avons dit précédemment quelques mots, a exactement la disposition
de celui de M. Elisha Gray. Les aimants qui agissent sur les diaphragmes
sont en fer à cheval, et des conduits séparés, issus d'une embouchure
commune, dirigent les vibrations de l'air sur les diaphragmes. Ceux-ci,
par exemple, ne sont que des parties circonscrites d'un même diaphragme,
limitées circulairement par des embouchures correspondantes aux conduits
d'air, et qui sont assez comprimées sur leurs bords pour limiter le champ
de la vibration.
Système de M. Trouvé.—M. Trouvé a rendu
très-simple la disposition des téléphones à double diaphragme en combinant
son appareil de manière à faire réagir sur plusieurs lames l'aimant droit
de Bell par ses deux pôles à la fois. À cet effet, il emploie un aimant
tubulaire et enroule l'hélice sur toute sa longueur, comme on le voit
fig. 35. Cet aimant est maintenu dans une position fixe au centre d'une
petite boîte cylindrique dont les bases sont taillées de manière à former
légèrement entonnoir, et ce sont elles qui servent d'embouchure et de
cornet acoustique. Elles sont en conséquence percées d'un trou central
plus large en a, du côté où l'on parle, que du côté opposé b.
Entre ces bases et les pôles de l'aimant sont disposées deux lames vibrantes
en fer M, M' dont l'une, M, est percée d'un trou a, de même diamètre
que la partie creuse de l'aimant et plus petit par conséquent que celui
de l'embouchure. Enfin entre ces deux lames se trouve échelonnée une série
d'autres lames n, n, n disposées parallèlement de
manière à laisser passer, au travers, l'aimant et son hélice.
Fig. 35.
Quand on parle devant l'embouchure a, les ondes
sonores, en rencontrant les bords de la lame M, la mettent en vibration,
et continuant leur route dans l'intérieur du tube aimant, viennent faire
vibrer la lame pleine M' qui vibre alors synchroniquement avec la lame
M. Il en résulte sur l'aimant tubulaire une double action inductrice qui
se traduit par des courants induits développés dans l'hélice, et qui sont
d'autant plus énergiques, que chacune des lames renforce les effets magnétiques
produits au pôle opposé à celui qu'elles actionnent, comme cela a toujours
lieu avec les aimants droits dont le pôle inactif est garni d'une armature.
Cet avantage peut même être constaté avec les téléphones ordinaires quand
on met seulement en contact la vis qui tient l'aimant avec une masse de
fer doux.
Avec la disposition de M. Trouvé, les courants induits
déterminés sont donc plus énergiques; mais suivant l'auteur, les sons
reproduits seraient aussi plus forts par la multiplicité des effets vibratoires
et par l'amplification des effets magnétiques résultant de la disposition
plus avantageuse des pièces magnétiques.
L'oreille placée en a, dit M. Trouvé, perçoit directement
les sons produits par la première lame M, et ceux de la seconde lui arrivent
par l'intérieur du tube aimant. Cette nouvelle disposition est des plus
heureuses pour comparer expérimentalement les résultats fournis par un
téléphone à membrane unique (téléphone Bell), et ceux fournis par un téléphone
à membranes multiples. En effet, il suffit d'écouter alternativement aux
deux faces de ce téléphone, pour s'apercevoir immédiatement de la différence
d'intensité des sons perçus. Ceux recueillis en a, du côté de la
membrane percée, paraissent sensiblement doubles en intensité de ceux
recueillis en b du côté de la membrane pleine qui constitue le
téléphone ordinaire.
La différence est encore plus frappante si, en transmettant
ou recevant un son invariable d'intensité à travers un téléphone multiple,
on empêche à plusieurs reprises la membrane pleine M' de vibrer.
Avant cette disposition, M. Trouvé en avait imaginé une
autre qu'il présenta à l'Académie des sciences, le 26 novembre 1877 et
qui est celle à laquelle nous avons fait allusion au commencement de ce
chapitre. Il la décrit en ces termes:
Pour augmenter l'intensité des effets produits dans le
téléphone Bell, j'ai substitué à la membrane unique de ce téléphone, une
chambre cubique dont chaque face, à l'exception d'une, est constituée
par une membrane vibrante. Chacune de ces membranes, mise en vibration
par le même son, influence un aimant fixe également muni d'un circuit
électrique. De cette sorte, en associant tous les courants engendrés par
ces aimants, on obtient une intensité unique qui croît proportionnellement
au nombre des aimants influencés. On peut remplacer le cube par un polyèdre
dont les faces seraient formées d'un nombre indéfini de membranes vibrantes
afin d'obtenir l'intensité voulue.
Système de M. Demoget.—Plusieurs autres
systèmes de téléphones à membranes multiples ont encore été proposés:
L'un d'eux, imaginé par M. Demoget, consiste à placer
en avant et à un millimètre de la plaque vibrante du téléphone ordinaire
de Bell, une ou deux plaques vibrantes semblables, en ayant soin de percer
dans la première et au centre, un orifice circulaire d'un diamètre égal
à celui du barreau aimanté, et dans la seconde un orifice d'un diamètre
plus grand.
Suivant l'auteur, on augmente ainsi non-seulement l'intensité
des sons transmis, mais encore leur netteté.
Par cette disposition, dit M. Demoget, la masse vibrante
magnétique en regard de l'aimant étant plus grande, la force électro-motrice
des courants engendrés est augmentée, et par conséquent les vibrations
des plaques du deuxième téléphone sont plus perceptibles.
Modifications dans la disposition des organes
téléphoniques.—Les formes que l'on a données au téléphone Bell ont
été, comme on l'a déjà vu, très-diversifiées, mais celles que l'on a adoptées
pour ses organes constituants l'ont été encore plus, sans amener de notables
améliorations. Voici ce que dit à cet égard M. Preece dans le travail
intéressant dont nous avons parlé plus haut: En augmentant ou en variant
les dimensions et la force des aimants, on n'a obtenu que peu ou point
d'améliorations, et le plus grand effet obtenu a été réalisé par l'emploi
d'aimants en fer à cheval disposés comme l'a indiqué Bell lui-même. Le
téléphone a certainement été introduit en Europe avec sa disposition théorique
la plus parfaite, quoique Bell travaille encore à l'améliorer. Cet avis
est aussi celui de M. Hellesen qui a fait comme M. Preece beaucoup d'expériences
à cet égard, ce qui n'empêche pas beaucoup de personnes d'annoncer qu'ils
ont découvert le moyen de faire parler un téléphone devant toute une assemblée.
De ce nombre nous citerons M. Righi de Milan, qui prétend avoir obtenu
de merveilleux résultats; mais nous avons vu que M. Bell y était également
parvenu. Si ce n'est le microphone de M. Hughes, nous ne voyons pas de
progrès bien marqués réalisés dans ces nouvelles inventions.
Néanmoins nous croyons utile d'indiquer les dispositions
nouvelles qui ont été proposées, et parmi elles nous en citerons une dans
laquelle, au lieu d'un aimant droit, on emploie un aimant en fer à cheval,
entre les pôles duquel est placée la lame vibrante. Ces pôles sont, à
cet effet, munis de semelles de fer, et l'une d'elles est percée d'un
trou, qui correspond à l'embouchure de l'appareil. Les deux branches de
l'aimant sont d'ailleurs munies d'hélices magnétisantes. Quand on parle
à travers le trou, la lame en vibrant détermine dans les deux hélices
des courants induits qui seraient de sens contraire si les deux pôles
étaient de même nom, mais qui se trouvent être de même sens, en raison
de la nature contraire des pôles magnétiques. La lame vibrante joue alors
le même rôle que les deux lames de l'appareil de M. Trouvé, que nous avons
décrit précédemment.
D'un autre côté, un inventeur anonyme, dans une petite
note insérée dans les Mondes, du 7 février 1878, écrit ce qui suit:
L'intensité des courants produits dans le téléphone, étant proportionnelle
à la masse de fer doux qui vibre devant le pôle de l'aimant, et d'autre
part, la plaque étant d'autant plus sensible qu'elle est plus mince, j'emploie,
au lieu de la plaque ordinaire, une plaque réduite par l'acide azotique
à la plus faible épaisseur, et je la fixe à un cercle de fer doux qui
la tient tendue et fait corps avec elle. Ce cercle se trouve logé dans
une ouverture circulaire ménagée à l'intérieur du pavillon. Pour un même
téléphone, l'intensité est très-sensiblement augmentée quand on ajuste
un système semblable à la place de la plaque ordinaire, ne fut-ce qu'à
une des extrémités de la ligne.
Afin de permettre d'employer des lames vibrantes d'une
épaisseur extrêmement faible, M. E. Duchemin a imaginé de mettre à contribution
des lames de mica très-minces, saupoudrées de fer porphyrisé qu'il fixe
au moyen d'une couche de silicate de potasse. On pourrait, d'après l'auteur,
correspondre à voix basse avec ce système, mais on aurait l'inconvénient
de crever la lame en parlant trop haut.
M. le professeur Jorgensen, de Copenhague, a construit
aussi un téléphone Bell produisant des sons très-intenses et qui lui a
permis de constater des effets très-curieux. Dans cet appareil, l'aimant
est constitué d'une manière analogue aux électro-aimants tubulaires de
Nicklès. C'est d'abord un aimant cylindrique muni à sa partie supérieure
d'un noyau de fer doux sur lequel est adaptée la bobine; puis un tube
aimanté constitué par une bague d'acier qui enveloppe le premier système
magnétique et qui est relié avec celui-ci par une culasse de fer. Enfin,
au-dessus des extrémités polaires de ce système, se trouve la lame vibrante
qui est disposée comme dans les téléphones ordinaires, et qui présente
une grande surface. Quand cette lame n'avait qu'un millimètre d'épaisseur,
on pouvait entendre la parole dans toute une chambre; mais quand on mettait
l'oreille près de la lame vibrante, les sons n'avaient plus aucune netteté;
la parole était confuse et semblait (p.
117) répercutée comme quand on parle dans un espace trop sonore
et sujet à produire beaucoup d'échos; on était en un mot étourdi par les
sons produits. En prenant une plaque plus épaisse de 3 ou 4 millimètres,
par exemple, le téléphone ne produisait plus que les effets des téléphones
ordinaires, et il fallait mettre l'oreille contre l'instrument.
M. Marin Maillet, de Lyon, a de son côté imaginé, pour
augmenter les sons reproduits par le téléphone, de les faire réfléchir
par un certain nombre de réflecteurs qui, en les concentrant à leur foyer
sur un résonnateur pouvaient les amplifier considérablement. Cette idée
n'ayant pas été accompagnée d'expériences ne présente à la vérité rien
de sérieux.
EXPÉRIENCES RELATIVES AU TÉLÉPHONE.
Depuis les expériences de M. Bell rapportées dans la première
partie de ce travail, bien des essais ont été entrepris par divers savants
et divers inventeurs pour étudier les effets produits dans ce curieux
instrument, en bien préciser la théorie et en déduire des perfectionnements
pour sa construction. Nous allons passer successivement en revue ces différentes
recherches.
Expériences sur les effets produits par
les courants voltaïques et les courants induits.—L'une des premières
et des plus importantes a été l'étude comparative des effets produits
dans le téléphone par les courants voltaïques et les courants induits.
Dès l'année 1873, M. Elisha Gray avait, comme on l'a vu, transformé les
courants voltaïques qu'il employait pour faire vibrer les lames de son
transmetteur, en courants induits, par l'intermédiaire d'une bobine d'induction
analogue à celle de Ruhmkorff. Les courants voltaïques traversaient alors
l'hélice primaire de la bobine, et c'étaient les courants induits qui
réagissaient sur l'appareil récepteur en déterminant sur les systèmes
électro-magnétiques qui le composaient les vibrations provoquées au poste
de transmission. Quand M. Edison combina son système de téléphone à pile,
il eut recours au même moyen pour actionner son téléphone récepteur, parce
qu'il avait reconnu lui-même que les courants induits étaient plus avantageux
que les courants voltaïques. Mais cette particularité du dispositif de
M. Edison n'avait pas été bien comprise d'après les descriptions parvenues
en Europe; de sorte que plusieurs personnes ont cru avoir imaginé cette
disposition avantageuse, et parmi elles nous citerons le colonel Navez
et MM. Pollard et Garnier.
Le colonel Navez, dans une note intéressante sur un système
nouveau de téléphone présenté à l'Académie royale de Belgique le 2 février
1878, ne fait qu'indiquer cette disposition comme moyen de reproduire
la parole à de longues distances; mais il ne cite aucune expérience qui
montre nettement les avantages de cette combinaison. MM. Pollard et Garnier
vingt jours après M. Navez, et sans avoir eu connaissance du travail de
ce dernier, m'ont envoyé les résultats qu'ils avaient obtenus par un moyen
semblable, et ces résultats m'ont paru si intéressants que j'en ai fait
l'objet d'une communication à l'Académie des sciences, le 25 février 1878.
Pour qu'on puisse être bien fixé sur l'importance de ces résultats, je
vais rapporter textuellement ce qu'en dit M. Pollard dans la lettre qu'il
m'a écrite le 20 février 1878.
Dans le but d'accroître les variations de l'intensité
électrique dans le système d'Edison, nous faisons passer le courant dans
le circuit inducteur d'une petite bobine de Ruhmkorff, et nous adaptons
le téléphone récepteur aux extrémités du fil induit. Le courant reçu a
alors pour intensité la dérivée de celle du courant inducteur, et par
suite, les variations produites dans le courant actionnant le téléphone
ont beaucoup plus d'amplitude. L'intensité des sons transmis est fortement
augmentée, et la valeur de cette augmentation dépend du rapport entre
les nombres des tours de spires des circuits inducteurs et induits. Les
essais que nous faisons pour déterminer les meilleures proportions sont
pénibles, puisqu'il faut faire autant de bobines que d'expériences; jusqu'ici
nous avons obtenu d'excellents résultats avec une petite bobine de Ruhmkorff
réduite à sa plus simple expression, c'est-à-dire sans condensateur ni
interrupteur. Le fil inducteur est du no 16 et forme 5 couches;
le fil induit est du no 32 et forme 20 couches. La longueur
de la bobine est de 10 centimètres.
L'expérience la plus remarquable et la plus saisissante
est la suivante: en faisant fonctionner le transmetteur avec un seul élément
Daniell, on n'obtient rien d'appréciable à la réception, du moins dans
le téléphone que j'ai construit, quand il est adapté directement au circuit.
En intercalant la petite bobine d'induction, on perçoit alors les sons
avec une grande netteté et une intensité égale à celle des bons téléphones
ordinaires. L'amplification est alors considérable et très nettement accusée.
Comme le courant de pile est alors peu intense, les pointes de plombagine
ne s'usent pas, et le réglage persiste longtemps. En employant une pile
plus énergique, six éléments au bichromate de potasse (en tension) ou
douze éléments Leclanché, on obtient, par l'action directe, une intensité
suffisante pour percevoir les sons un peu plus faiblement qu'avec les
téléphones ordinaires; mais en intercalant la bobine d'induction, on a
alors des sons bien plus intenses et qui peuvent être entendus à 50 ou
60 centimètres de l'embouchure. Des chants peuvent, dans ces mêmes circonstances,
être entendus à plusieurs mètres; mais le rapport d'amplification ne paraît
pas jusqu'ici être aussi grand que pour le cas d'un seul élément Daniell.
D'un autre côté, on voit dans les Mondes du 7 mars
1878, la description d'une série d'expériences faites par M. Luvini, professeur
de physique à l'académie militaire de Turin qui montrent que l'introduction
d'électro-aimants dans le circuit réunissant deux téléphones augmente
assez sensiblement l'intensité du son. En en plaçant un près du téléphone
transmetteur, l'autre près du téléphone récepteur, on obtient le maximum
d'effet, et l'introduction d'un plus grand nombre de ces organes ne produit
rien d'utile. Le fil inducteur d'une bobine de Ruhmkorff introduit dans
le circuit dont il vient d'être question, n'a provoqué aucun effet d'induction
sensible dans le circuit induit, et par conséquent n'a pu faire fonctionner
le téléphone correspondant à ce circuit. En revanche, le courant d'une
machine de Clarke détermine des sons prononcés qui ressemblent assez à
des coups de caisse et sont assourdissants quand l'oreille est appliquée
contre l'instrument; mais ils deviennent très-faibles à un mètre de distance.
Les courants d'une machine de Ruhmkorff donnent des effets encore plus
énergiques: le son remplit toute une chambre. En modifiant la position
du marteau de la bobine, le son passe par des tons différents qui sont
toujours à l'unisson des interruptions du courant, du moins jusqu'à une
certaine hauteur de ton.
Cette propriété des courants induits de la bobine de Ruhmkorff
a permis à M. Gaiffe d'obtenir, par leur intermédiaire, un moyen très-facile
de réglage pour les téléphones afin de les placer dans leurs conditions
de maximum de sensibilité. Il met pour cela à contribution un de ses appareils
d'induction à hélices mobiles et à intensités graduées dans le circuit
duquel il interpose le téléphone à régler. Les sons résultant du vibrateur
se trouvent alors répercutés par le téléphone, et s'entendant à distance
de l'instrument, on peut au moyen d'un tournevis, réagir sur la vis à
laquelle est fixée l'extrémité libre du barreau aimanté de l'appareil.
En la serrant ou en la desserrant, on rapproche ou on éloigne l'autre
extrémité de ce barreau de la lame vibrante du téléphone, et on répète
ces essais jusqu'à ce qu'on soit arrivé à obtenir le maximum de l'intensité
du son.
D'un autre côté, comme les sons rendus par les deux téléphones
en correspondance sont d'autant plus intenses que les vibrations produites
par eux se rapprochent plus de l'unisson, il est nécessaire de les choisir
de manière à émettre les mêmes sons pour une même note donnée, et le moyen
indiqué précédemment peut être très-avantageusement employé; car il suffit
de noter ceux de ces appareils qui, pour un même réglage de la machine
d'induction, donnent la même note dans les conditions de maximum de sensibilité.
Un bon accouplement des deux téléphones en correspondance est non-seulement
très-important au point de vue de la netteté des transmissions, mais il
doit être encore considéré par rapport à la hauteur de la voix de ceux
qui sont destinés à en faire usage. Plus cette hauteur est en rapport
avec celle des sons produits par les appareils, mieux les sons sont perçus;
c'est pourquoi il est des téléphones qui résonnent beaucoup mieux avec
la voix des enfants et des femmes qu'avec la voix des hommes, tandis que
l'inverse a lieu pour d'autres.
Les vibrations des téléphones sont très-différentes d'un
appareil à l'autre, et les moyens que nous venons d'indiquer permettent
facilement de s'en rendre compte.
Si on place dans le circuit induit d'une bobine d'induction
reliée à un téléphone, un condensateur de grande surface et que l'on éloigne
assez le contact de plombagine de la lame vibrante pour ne la toucher
que momentanément à chaque vibration, on ne reçoit plus naturellement
les articulations des sons, mais seulement les notes d'un air que l'on
chante devant la plaque du transmetteur; seulement le courant inducteur
ayant des interruptions brusques, engendre des courants induits très-intenses,
et suivant MM. Pollard et Garnier, on entend dans tout un appartement
l'air chanté, mais avec un timbre particulier qui dépend de la construction
du téléphone et du condensateur.
Les avantages des courants induits dans les transmissions
téléphoniques se comprennent aisément, si l'on réfléchit que les variations
de résistance du circuit qui résultent de la plus ou moins grande amplitude
des vibrations de la lame transmettrice étant des valeurs constantes,
ne peuvent manifester distinctement leurs effets que sur des circuits
courts; par conséquent les articulations des sons qui en résultent, doivent
ne plus être très-appréciables sur des circuits très-résistants. Toutefois,
si on considère que d'après les expériences de M. Warren de la Rue (voir
le Telegraphic journal du 1er mars 1878, p. 97), les
courants produits par les vibrations de la voix dans un téléphone ordinaire,
représentent en intensité ceux d'un élément Daniell traversant 100 megohms
de résistance (soit 10 000 000 de kilomètres de fil télégraphique),
on peut comprendre qu'il y a autre chose à considérer dans les effets
avantageux des courants induits que la simple question d'intensité plus
ou moins grande des courants agissant sur le téléphone récepteur. Avec
une pile énergique, il est évident, en effet, que les courants différentiels
qui agiront seront toujours plus intenses que les courants induits déterminés
par le jeu de l'instrument. Je ne serais pas, quant à moi, éloigné de
croire que c'est surtout à leurs inversions successives et à leur faible
durée, que les courants induits doivent les avantages qu'ils présentent.
Ces courants en effet dont la durée ne dépasse guère, suivant M. Blaserna,
1/200 de seconde, se prêtent beaucoup mieux que les courants voltaïques
aux vibrations multipliées qui sont le propre des vibrations phonétiques,
et cela d'autant mieux que les inversions successives qui se produisent,
déchargent la ligne, renversent les effets magnétiques et contribuent
à rendre les actions plus nettes et plus promptes. On ne doit donc pas
s'étonner si les courants induits de la bobine d'induction, qui peuvent
se produire dans des conditions excellentes au poste de transmission,
puisque le circuit du courant voltaïque est alors très-court, soient capables
de fournir des résultats non-seulement plus avantageux que les courants
voltaïques qui leur donnent naissance, mais même que les courants induits
résultant du jeu des téléphones Bell, puisqu'ils sont infiniment plus
énergiques.
Quant aux effets relativement considérables produits par
les courants si minimes des téléphones Bell, ils s'expliquent facilement
par cette considération que, prenant naissance sous l'influence même des
vibrations de la lame téléphonique, leurs variations d'intensité conservent
toujours le même rapport, quelle que soit la résistance du circuit, et
ne sont pas, en conséquence, effacées par la distance séparant les deux
téléphones.
Expériences sur le rôle des différents organes
d'un téléphone dans la transmission de la parole.—Pour pouvoir apporter
au téléphone tous les perfectionnements dont il est susceptible, le point
important était d'être bien fixé sur la nature des effets déterminés dans
les différentes parties qui le composent et sur le rôle joué par les différents
organes qui s'y trouvent mis en jeu. C'est pour être fixé à cet égard
qu'un certain nombre de savants et de constructeurs ont entrepris une
série d'expériences qui ont fourni de très-intéressantes indications.
L'un des points les plus intéressants à élucider était
celui de savoir si la lame vibrante dont MM. Bell et Gray ont muni leur
récepteur téléphonique, détermine à elle seule les vibrations complexes
qui reproduisent la parole, ou bien si les différentes parties du système
électro-magnétique de l'appareil concourent toutes à cet effet. Les expériences
faites dès l'année 1837 par M. Page sur les sons produits par les tiges
électro-magnétiques résonnantes, et les recherches entreprises en 1846
par MM. de la Rive, Wertheim, Matteucci, etc. sur ce phénomène curieux,
permettaient certainement de poser la question, et nous verrons à l'instant
qu'elle est beaucoup plus complexe qu'on ne pourrait le croire à première
vue.
Pour avoir un point de départ fixe, il fallait avant tout
reconnaître si un téléphone dépourvu de lame vibrante peut reproduire
la parole. Les expériences faites dès le mois de novembre 1877 par M.
Edison avec des téléphones munis d'un diaphragme en cuivre, téléphones
qui avaient pu cependant fournir des sons, pouvaient le faire croire,
et ces expériences confirmées par M. Preece et surtout par M. Blyth, donnaient
plus de poids à cette hypothèse; mais, quand M. Spottiswoode eut assuré,
(voir le Telegraphic-Journal du 1er mars 1878, p. 95)
que l'on pouvait supprimer entièrement la lame vibrante d'un téléphone
sans empêcher la transmission de la parole, pourvu que l'extrémité polaire
de l'aimant fût placée très-près de l'oreille, le doute ne fut plus permis,
et c'est alors que je présentai à l'Académie des sciences ma note sur
la théorie du téléphone qui provoqua bientôt de la part de MM. Navez et
Luvini une discussion intéressante dont je parlerai à l'instant. On voulut
d'abord nier l'authenticité de ces résultats, puis on chercha à expliquer
les sons entendus par M. Spottiswoode par une transmission mécanique des
vibrations effectuée de la même manière que dans les téléphones à ficelle;
mais de nombreuses expériences entreprises depuis par MM. Warwich, Rossetti,
Hughes et beaucoup d'autres ont montré qu'il n'en était pas ainsi, et
qu'un téléphone sans diaphragme pouvait transmettre électriquement la
parole.
M. Navez lui-même qui, dans l'origine, avait nié le fait,
convient aujourd'hui qu'un téléphone sans diaphragme peut émettre des
sons, et, même dans certaines conditions exceptionnelles de phonation
et d'audition téléphonique, reproduire la voix humaine; mais il croit
toujours que l'on ne peut reconnaître s'il y a ou non articulation des
mots.
Cette incertitude dans les résultats obtenus par les différents
physiciens qui se sont occupés de cette question prouve, toutefois, que
les sons ainsi reproduits ne sont pas très-accentués et que, dans des
phénomènes physiques appréciables seulement à nos sens, la constatation
d'un effet peu accentué dépend surtout de la perfection de nos organes.
Nous verrons à l'instant comment cet effet si faible peut se développer
dans de grandes proportions par suite de la disposition adoptée par MM.
Bell et Gray.
Un second point était encore à éclaircir. Il s'agissait
de savoir si le diaphragme d'un téléphone vibre réellement, ou du moins
si ses vibrations peuvent entraîner son déplacement, comme cela a lieu
dans un trembleur électrique ou un instrument à anches que l'on fait vibrer
par un courant d'air. M. Antoine Bréguet a fait à cet égard des expériences
intéressantes qui ont montré que ce mouvement n'était pas admissible,
car il a pu faire parler très-distinctement des téléphones avec des lames
vibrantes de toutes les épaisseurs, et il a poussé les expériences jusqu'à
employer des lames de 15 centimètres d'épaisseur. La superposition sur
ces lames épaisses de morceaux de bois, de caoutchouc et en général de
substances quelconques n'empêchait pas l'effet de se produire. Or on ne
peut admettre dans ce cas que les lames puissent être animées d'un mouvement
de va-et-vient. J'ai d'ailleurs constaté en superposant une couche d'eau
ou de mercure sur ces lames et même sur des diaphragmes minces, qu'aucun
mouvement sensible ne les animait, du moins en n'employant, comme source
électrique, que les courants induits déterminés par l'action de la parole.
Aucunes rides ne se distinguaient à la surface de la couche liquide, même
quand pour les apercevoir on employait des appareils à réflexion lumineuse.
Comment d'ailleurs pourrait-on admettre qu'un courant qui n'est pas plus
intense que celui d'un élément de Daniell ayant traversé dix millions
de kilomètres de fil télégraphique, courant qui ne peut fournir de déviation
que sur un galvanomètre Thomson, et encore en admettant que le courant
a été provoqué en appuyant le doigt sur le diaphragme, ait une énergie
suffisante pour faire vibrer mécaniquement par attraction une lame de
fer aussi tendue que l'est celle d'un téléphone!!!
Il résulte toutefois d'expériences photographiques très-précises,
que des vibrations sont produites par le diaphragme d'un téléphone récepteur;
elles sont infiniment petites, si l'on veut, mais elles sont, suivant
M. Blake, suffisantes pour qu'un index très-léger, porté par ce diaphragme,
puisse fournir quelques petites inflexions sur une ligne décrite par lui
sur un enregistreur. Toutefois, de ce qu'un petit mouvement de vibration
existe sur ce diaphragme, il ne s'ensuit pas qu'il doive être rapporté
à un effet d'attraction, car il peut résulter d'une vibration déterminée
par l'action même de la magnétisation au sein du diaphragme.
Voici, du reste, une expérience très-intéressante de M.
Hughes, répétée d'ailleurs dans d'autres conditions par M. Millar, qui
prouve bien en faveur de notre opinion.
Si l'aimant d'un téléphone récepteur est constitué par
deux barreaux aimantés parfaitement égaux, séparés l'un de l'autre par
un isolant magnétique, et qu'on les place dans la bobine de manière à
présenter en face du diaphragme tantôt des pôles de même nom, tantôt des
pôles contraires, on reconnaît que le téléphone reproduit mieux la parole
dans ce dernier cas que dans le premier. Or, si les effets étaient attractifs
il n'en serait pas ainsi, car les actions sont en discordance quand des
pôles de noms contraires sont soumis à une même action électrique, tandis
qu'elles sont conspirantes dans un même sens quand ces pôles sont de même
nom.
D'un autre côté, on reconnaît que si on emploie plusieurs
lames de fer superposées pour constituer le diaphragme d'un téléphone
récepteur, la transmission des sons est beaucoup plus forte que quand
le diaphragme est simple, et pourtant l'attraction, si tant est qu'elle
pût se faire, ne pourrait se produire que sur l'un des diaphragmes.
Une expérience très-intéressante de M. A. Bréguet a montré
encore que les différentes parties constituantes d'un téléphone, aussi
bien le manche, les bornes de cuivre, la coquille que la plaque et le
barreau aimanté, peuvent transmettre les sons; et pour arriver à constater
ce résultat, M. Bréguet a employé des téléphones à ficelle dont il attachait
le fil en différents points du téléphone expérimenté. Il a pu de cette
manière non-seulement établir une correspondance entre une personne faisant
agir le téléphone électrique et une autre écoutant dans le téléphone à
ficelle, mais encore faire parler plusieurs téléphones à ficelle, reliés
en plusieurs points du téléphone électrique.
Ces deux séries d'expériences montrent que des sons peuvent
être obtenus des diverses parties d'un téléphone sans mouvements vibratoires
très-appréciables; mais M. J. Luvini a voulu s'en assurer d'une manière
plus nette encore, en examinant si définitivement l'aimantation d'un corps
magnétique suivie de sa désaimantation entraînerait une variation dans
la forme et les dimensions de ce corps. Il a en conséquence fait construire
un grand électro-aimant tubulaire qu'il remplissait d'une assez grande
quantité d'eau pour que, ses deux extrémités étant bouchées, le liquide
pût apparaître dans un tube capillaire adapté à l'un des bouchons. De
cette manière, les plus petites variations dans la capacité de la partie
creuse de l'électro-aimant étaient accusées par une ascension ou une descente
de la colonne liquide. Or, en faisant traverser l'électro-aimant par un
courant électrique de différente intensité, il n'a jamais observé aucun
changement dans le niveau de l'eau dans le tube. Avec cette disposition
il pouvait mesurer pourtant un changement de volume de 1/30 de millimètre
cube. Donc, il résulte de ces effets, que les vibrations produites dans
un corps magnétique sous l'influence d'aimantations et de désaimantations
successives, sont tout à fait moléculaires. Nous examinerons à
l'instant comment ces différentes déductions peuvent être interprétées
pour que l'on puisse comprendre la véritable théorie du téléphone; mais
avant d'entamer cette étude nous devrons indiquer encore quelques autres
expériences qui ont aussi leur intérêt.
Nous avons vu que MM. Edison, Blyth et Preece avaient
fait des expériences qui ont montré que des sons pouvaient être reproduits
par un téléphone dont le diaphragme était constitué avec une matière non
magnétique, mais ils ont fait voir aussi, chose plus curieuse encore,
que ces sons pouvaient être transmis sous l'influence de courants induits
provoqués par ces diaphragmes mis en vibration devant l'aimant. Déjà MM.
Edison et Blyth avaient avancé ce fait, mais M. B.-W. Warwich, dans un
article publié dans l'English-mecanic (voir les Mondes du
2 mai 1878), l'a confirmé malgré l'incrédulité qui avait accueilli cette
nouvelle; Il semblerait, dit-il, que pour agir sur l'aimant de manière
à produire des courants induits, quelque chose doit d'abord vibrer d'une
manière quelconque et être en possession de plus de force vive qu'un gaz;
mais il n'est pas nécessaire que la substance soit magnétique, car les
corps diamagnétiques agissent très-bien. M. Preece en avait recherché
la cause dans les courants induits développés dans un corps conducteur
quelconque quand on fait mouvoir devant lui un aimant, courants qui donnent
lieu au phénomène découvert par Arago et connu sous le nom de magnétisme
de rotation. Ces faits toutefois ne nous paraissent pas encore assez
bien établis pour qu'on puisse s'occuper sérieusement de leur théorie,
et il pourrait se faire que les effets observés fussent la conséquence
de simples transmissions mécaniques.
S'il faut en croire M. Preece, il paraîtrait qu'on pourrait
transmettre avec un téléphone dont on remplacerait l'aimant par un simple
noyau de fer doux, et il attribue ce résultat au magnétisme rémanent du
fer et à l'action magnétique exercée sur ce barreau par le magnétisme
terrestre. M. Blake de Boston a constaté aussi le même phénomène, mais
il ne l'observait d'une manière marquée que quand le noyau de fer doux
était placé dans une direction inclinée par rapport à la terre.
Suivant M. Navez, l'intensité du son reproduit dans un
téléphone dépend, non-seulement de l'amplitude des vibrations, mais aussi
de la surface vibrante par suite de l'action qu'elle exerce sur la couche
d'air qui doit transmettre les sons. (Voir le mémoire de M. Navez dans
le Bulletin de l'Académie de Belgique, du 7 juillet 1878).
Expériences sur les effets résultant de
chocs mécaniques communiqués à différentes parties d'un téléphone.—Si
dans un téléphone ordinaire on adapte une pièce de fer contre la vis qui
tient l'aimant, on reconnaît que les sons transmis sont un peu plus accentués,
ce qui tient au renforcement du pôle actif de l'aimant; mais on entend
au moment où l'on applique la pièce de fer contre la vis, un bruit assez
prononcé qui semble être dû aux vibrations mécaniques déterminées dans
le barreau au moment du choc. M. le lieutenant de vaisseau des Portes
a fait dernièrement sur ce genre de phénomènes des expériences intéressantes.
Ainsi il a reconnu que, si sur un circuit téléphonique de 100 mètres complété
par le sol, le téléphone transmetteur est réduit au simple aimant muni
de sa bobine qui constitue son organe électro-magnétique, et que cet aimant
soit suspendu verticalement par un fil de soie, la bobine en haut, un
coup frappé sur cet aimant, soit au moyen d'un morceau de bois, soit au
moyen d'une tige de cuivre, pourra déterminer dans le téléphone récepteur,
des sons distincts qui augmenteront d'autant plus d'intensité que le coup
sera frappé plus près de la bobine, et qui deviendront plus forts encore,
mais moins nets, quand on mettra en contact avec le pôle supérieur de
l'aimant une lame vibrante de fer doux.
Quand le corps avec lequel on frappe est en fer, les sons
dont il vient d'être question sont plus accentués qu'avec le morceau de
bois, et quand l'aimant est muni de sa lame vibrante appliquée sur son
pôle actif, on saisit en même temps que le bruit du choc une vibration
de la plaque.
Si le corps percuteur est un aimant, les bruits produits
sont semblables à ceux que l'on obtient avec un percuteur en fer, quand
l'effet est produit entre pôles de même nom, mais si ce sont des pôles
de noms contraires, on entend après chaque coup un second bruit produit
par l'arrachement de l'aimant et qui paraît être un coup frappé beaucoup
moins fort. Naturellement ces bruits augmentent si l'aimant est muni de
sa lame vibrante.
Si on parle sur la plaque vibrante du téléphone transmetteur
quand elle est appliquée sur le pôle de l'aimant, on entend sur le téléphone
récepteur des sons variés assez semblables à ceux produits par les vibrations
d'une corde à violon, et le bruit que fait la plaque quand on la retire
du contact de l'aimant est parfaitement entendu au récepteur.
Quand on parle au récepteur, la personne qui a l'oreille
appliquée sur la plaque vibrante du transmetteur, disposé comme ci-dessus,
entend très-bien, mais ne distingue pas les paroles, ce qui tient sans
doute au magnétisme condensé au point de contact de l'aimant et de la
lame vibrante, et qui rend les variations magnétiques plus lentes et plus
difficiles à s'effectuer.
Pour percevoir les coups frappés sur l'aimant avec une
tige de fer doux, la présence de la bobine n'est pas nécessaire. En enroulant
trois tours seulement du fil conducteur dénudé, servant de fil de ligne,
sur une extrémité de l'aimant, on peut percevoir les sons, et ces sons
cessent, comme dans les autres expériences, quand le circuit est interrompu,
ce qui montre bien qu'on ne peut les attribuer à une transmission mécanique.
Mais ce qui est le plus curieux, c'est que si l'aimant est interposé dans
le circuit de manière à en faire partie intégrante, et que les deux extrémités
du fil conducteur soient enroulées autour des bouts de l'aimant, les coups
frappés sur celui-ci avec le fer doux, sont perçus dans le téléphone aussitôt
que l'un des pôles de l'aimant est muni de la plaque vibrante.
J'ai répété moi-même les expériences de M. des Portes
en frappant simplement sur la vis qui, dans les téléphones ordinaires
fixe l'aimant à l'appareil, et j'ai constaté que, toutes les fois que
le circuit était complet, les coups frappés avec un couteau d'ivoire étaient
répétés par le téléphone; ils étaient très-faibles, il est vrai, quand
la lame vibrante était enlevée, mais très-marqués avec l'addition de cette
lame. Au contraire, toutes les fois que le circuit était interrompu, aucun
bruit n'était perçu. Ces bruits étaient du reste plus forts quand les
coups étaient frappés sur la vis que quand ils étaient frappés sur le
pôle même de l'aimant au-dessus de la bobine, ce qui tenait à ce que,
dans le premier cas, le barreau pouvait vibrer librement, tandis que dans
le second, les vibrations se trouvaient étouffées par suite de la fixation
du barreau.
On pourrait, jusqu'à un certain point, expliquer ces effets
en disant que les vibrations déterminées sur l'aimant par le choc, ont
pour résultat de déterminer des déplacements ondulatoires des particules
magnétiques dans toute l'étendue du barreau, et que de ces déplacements
doivent résulter, dans l'hélice, d'après la loi de Lenz, des courants
induits dont la force augmente quand la puissance de l'aimant est surexcitée
par la réaction de son diaphragme, lequel joue le rôle d'armature, et
par celle du corps percuteur quand il est magnétique. Toutefois, les dernières
expériences de M. des Portes sont plus difficiles à expliquer, et il pourrait
bien y avoir autre chose que des courants induits ordinaires.
Ces expériences ne sont pas les seules qui montrent les
effets déterminés sous l'influence d'ébranlements moléculaires de diverses
natures.—Ainsi, M. Thomson de Bristol a reconnu que si on introduit dans
le circuit d'un téléphone ordinaire, une pièce de fer et une tige de laiton
placée perpendiculairement sur le fer, il suffira de donner un coup sur
la tige de laiton pour déterminer un son énergique dans le téléphone.
D'un autre côté, il a montré aussi que si on entoure les deux extrémités
polaires d'un aimant droit de deux bobines d'induction, mises en rapport
avec le circuit d'un téléphone, et qu'on promène au-dessous de l'aimant,
dans l'intervalle séparant les deux bobines, la flamme d'une lampe à alcool,
on entend un bruit très-marqué aussitôt que la flamme exerce son action
sur le barreau aimanté. Cet effet provient sans doute de l'affaiblissement
du magnétisme du barreau déterminé par l'effet calorifique alors produit.
Enfin j'ai reconnu moi-même que des grattements effectués sur l'un des
fils qui réunissent deux téléphones entre eux, sont perçus dans ces téléphones,
quel que soit d'ailleurs le point du circuit où ces grattements sont produits.
Les sons ainsi provoqués sont, à la vérité, très-faibles, mais ils se
distinguent nettement, et acquièrent une plus grande intensité quand le
grattement est effectué sur les bornes d'attache des fils des téléphones.
Tous ces sons, d'ailleurs, ne peuvent pas être la conséquence d'une transmission
mécanique de vibrations, car quand le circuit est interrompu, on ne peut
en percevoir aucun. D'après ces expériences, on pourrait croire que certains
bruits que l'on constate dans les téléphones expérimentés sur les lignes
télégraphiques, pourraient bien provenir des frictions des fils sur les
supports, frictions qui donnent lieu à ces sons souvent très-intenses
que l'on entend quelquefois sur certaines lignes télégraphiques.
Théorie du téléphone.—Il semblerait
résulter des diverses expériences que nous avons rapportées précédemment,
que l'explication qu'on donne généralement des effets produits dans le
téléphone, serait très-incomplète, et que la transmission de la parole,
au lieu de résulter de la répétition par la membrane du téléphone récepteur
(sous l'influence des effets électro-magnétiques produits) des vibrations
déterminées par la voix sur la membrane du téléphone transmetteur, devrait
provenir des vibrations moléculaires déterminées dans le système électro-magnétique
tout entier et particulièrement sur le noyau magnétique enveloppé par
l'hélice. Ces vibrations seraient dès lors de la même nature que celles
qui ont été étudiées dans les tiges électro-magnétiques résonnantes par
MM. Page, de la Rive, Wertheim, Matteucci, etc., et ce sont elles qui
ont été mises à contribution dans les téléphones de Reiss, de Cécil et
Léonard Wray, et de Vander-Weyde. Dans cette hypothèse, la lame vibrante
aurait pour principal rôle à remplir, de réagir pour la production des
courants induits quand elle serait mise en vibration par la voix, et de
renforcer par sa réaction sur l'extrémité polaire du barreau aimanté,
les effets magnétiques déterminés au sein de celui-ci, quand elle vibrerait
sous l'influence électro-magnétique, ou du moins, quand elle serait actionnée
par l'aimant. Or comme ces vibrations sont d'autant plus amplifiées pour
une même note, que la lame est plus flexible, et comme, d'un autre côté,
les variations dans l'état magnétique d'une lame s'effectuent d'autant
plus rapidement qu'elle présente moins de masse, on comprend immédiatement
pourquoi il convient d'employer des lames vibrantes très-minces et relativement
petites, comme l'a fait M. Edison. Dans le cas de la transmission, la
plus grande amplitude des vibrations augmente l'intensité des courants
induits transmis. Dans le cas de la réception, les variations d'aimantation
déterminant les sons, sont rendues plus accentuées et plus nettes, aussi
bien dans la membrane armature que dans le barreau aimanté; il y a donc
avantage dans les deux cas. Cette hypothèse n'exclut d'ailleurs en rien
l'effet phonétique des vibrations mécaniques et physiques qui pourraient
se produire dans la lame armature sous l'influence des magnétisations
et démagnétisations qu'elle subit, et qui viendraient ajouter leur action
à celle des noyaux magnétiques.
Quelle est la nature des vibrations transmises dans le
téléphone récepteur? C'est une question encore obscure, et ceux qui s'en
sont occupés sont loin d'être d'accord; elle a même été l'objet d'une
discussion intéressante en 1846 entre MM. Wertheim et De la Rive, et les
découvertes nouvelles la rendent encore plus compliquée. Suivant M. Wertheim,
ces vibrations seraient à la fois longitudinales et transversales et proviendraient
d'attractions échangées entre les spires de l'hélice magnétisante et les
particules magnétiques du noyau; suivant M. De la Rive elles seraient,
dans le cas qui nous occupe, uniquement longitudinales et résulteraient
de contractions et dilatations moléculaires déterminées par des arrangements
différents pris par les molécules magnétiques, sous l'influence des aimantations
et des désaimantations. C'est cette explication qui nous paraît la plus
rationnelle, et une expérience faite en 1846 par M. Guillemin semblerait
la confirmer. M. Guillemin avait en effet reconnu que si une tige flexible
de fer entourée d'une hélice magnétisante est pincée dans un étau à l'une
de ses extrémités et recourbée sous l'influence d'un poids adapté à l'autre
extrémité, on peut la faire redresser instantanément par le passage d'un
courant à travers l'hélice magnétisante. Or ce redressement ne peut, dans
ce cas, provenir que de la contraction déterminée par les molécules magnétiques
qui, sous l'influence de leur aimantation, tendent à provoquer des attractions
intermoléculaires et à modifier les conditions d'élasticité du métal.
On sait en effet que du fer ainsi aimanté acquiert la dureté de l'acier
et qu'il ne peut plus être attaqué par la lime.
Quoi qu'il en soit, il est impossible de ne pas admettre
que des sons soient produits dans le noyau magnétique aussi bien que dans
l'armature, sous l'influence d'effets électriques intermittents. Ces sons
pourront d'ailleurs être musicaux ou articulés; car du moment où le transmetteur
aura provoqué l'action électrique convenable, nous ne voyons pas de raison
pour que des vibrations effectuées transversalement ou longitudinalement
transmettent les uns plutôt que les autres. Ces vibrations, du reste,
sont, comme on l'a vu, pour ainsi dire microscopiques.
M. J. Luvini, qui partage nos idées sur la théorie qui
précède, croit cependant qu'elle ne peut satisfaire complétement l'esprit,
que si l'on fait entrer en ligne de compte la réaction déterminée par
le barreau magnétique sur l'hélice qui l'entoure. Il ne peut y avoir,
dit-il, action sans réaction, et en conséquence les changements
moléculaires déterminés dans le barreau doivent provoquer des variations
correspondantes dans l'hélice, et les deux effets doivent contribuer à
la production des sons. Il cite à l'appui de son dire l'expérience suivante
du professeur Rossetti, qui est réellement curieuse.
Dans une suite de recherches qu'il avait entreprises sur
les téléphones sans lame vibrante, ce savant avait employé sans le savoir
un téléphone dont la bobine n'était pas bien fixée sur le noyau magnétique,
et il remarqua à son grand étonnement que cette bobine oscillait le long
du noyau magnétique, au passage des courants discontinus, et qu'elle produisait
des sons. Or ce mouvement était une réaction déterminée par les effets
magnétiques produits.
La difficulté d'expliquer la production des sons dans
un organe électro-magnétique dépourvu d'armature, avait fait nier dans
l'origine l'authenticité des expériences que nous avons rapportées précédemment,
et M. Navez avait entamé avec nous une discussion qui ne sera pas sans
doute terminée de sitôt; mais il est résulté de cette discussion, que
ce savant a été obligé de convenir que le son de la voix humaine pouvait
être reproduit par un récepteur téléphonique privé de sa plaque. Toutefois,
il croit encore que cette reproduction est trop faible pour qu'on puisse
reconnaître s'il y a ou s'il n'y a pas articulation, et soutient toujours
que les vibrations transversales de la plaque résultant d'effets attractifs,
sont les seules qui reproduisent la parole articulée avec une intensité
suffisante pour être utile.
Il est certain que l'articulation de la parole exige une
certaine puissance de vibration qu'un téléphone sans diaphragme ne peut
pas facilement fournir, car il faut considérer que, dans un appareil ainsi
disposé, les effets magnétiques sont réduits dans un rapport considérable
qui est celui de la force magnétique développée dans le barreau à cette
force multipliée par elle-même, et qu'une action, aussi faible que l'est
celle accusée dans un téléphone, devient pour ainsi dire nulle, quand
par suite de la suppression de l'armature, elle n'est plus représentée
que par la racine carrée de la force qui l'a déterminée. Il peut donc
se faire que des sons à peine perceptibles dans un téléphone sans diaphragme,
le deviennent quand, par suite de la présence de ce diaphragme, la cause
qui les provoque est multipliée par elle-même et qu'il s'y ajoute encore
les vibrations déterminées au sein de l'armature elle-même sous l'influence
des magnétisations et démagnétisations qu'elle subit.
Pour montrer que l'action du diaphragme n'est pas aussi
indispensable que M. Navez semble le supposer, et que les vibrations de
ce diaphragme ne sont pas le résultat d'attractions électro-magnétiques,
il suffit de se reporter aux expériences de M. Hughes que nous avons exposées
p. 129. Il est certain que si cet effet était en jeu, on entendrait mieux
quand les deux barreaux aimantés présenteraient des pôles de même nom
devant le diaphragme, que quand ils présenteraient des pôles de noms contraires,
puisque toutes les actions seraient alors conspirantes dans le même sens.
D'un autre côté les plus grands effets que l'on obtient avec des diaphragmes
multiples juxtaposés éloignent complétement cette hypothèse. Néanmoins,
il pourrait se faire que dans les téléphones électro-magnétiques, le diaphragme
de fer, en raison des variations faciles de son état magnétique, pût contribuer
beaucoup à rendre les sons articulés plus nets et plus distincts; il pourrait
alors réagir à la manière de la langue; mais nous croyons que c'est surtout
à l'amplitude des vibrations déterminées sur le transmetteur, qu'on doit
rapporter la plus ou moins grande netteté des sons articulés. Ainsi M.
Hughes a démontré que les charbons de bois métallisés employés dans ses
parleurs microphoniques étaient préférables aux charbons de cornue pour
transmettre la parole, précisément parce que, étant moins conducteurs,
les différences de résistance qui résultent des différences de pression,
sont plus accentuées et permettent par conséquent de mieux faire saisir
les différentes nuances des sons vocaux qui constituent l'articulation
de la parole.
Mais il ne s'agit plus aujourd'hui d'une discussion d'effets
magnétiques; la science a marché depuis que M. Navez a ouvert la discussion,
et nous lui demanderons maintenant comment, avec sa théorie des mouvements
attractifs du diaphragme des téléphones, il peut expliquer la reproduction
de la parole par un microphone récepteur dépourvu de tout organe électro-magnétique,
et je puis lui certifier que dans les expériences que j'ai faites, la
transmission des vibrations ne pouvait se faire mécaniquement, car quand
le circuit était coupé ou la pile retirée du circuit, aucun son n'était
entendu. Il faut décidément que M. Navez compte avec les vibrations
moléculaires. Certainement, c'est un terrain nouveau à étudier; mais
c'est parce que nous nous acharnons en Europe à vouloir rester dans les
limites de théories incomplètes que nous avons laissé aux américains,
qui ne s'en inquiètent guère, la gloire de faire les grandes découvertes
qui nous étonnent depuis quelques mois. Que M. Navez lise avec soin les
notes de MM. Luvini, des Portes, Trève, Hughes, Rossetti, et nous sommes
certain que ses idées se modifieront.
En résumé, la théorie du téléphone et du microphone considérés
comme organes reproducteurs de la parole est encore loin d'être élucidée
complétement, et dans des questions aussi neuves, il serait imprudent
d'être trop affirmatif.
La transmission électrique des sons, dans les téléphones
magnéto-électriques, ne laisse pas que de présenter quelques complications
théoriques. On a vu en effet qu'on pouvait les obtenir avec des diaphragmes
en matière non magnétique et même par l'effet de simples vibrations mécaniques
déterminées par des chocs. Est-ce à des réactions d'induction de l'aimant
sur la lame vibrante mise en action qu'il faut les attribuer dans le premier
cas, et aux mouvements des particules magnétiques devant les spires de
l'hélice qu'il faut les rapporter dans le second?.... la question est
encore bien obscure; néanmoins on peut concevoir que les modifications
de l'action inductrice de l'aimant sur le diaphragme mis en vibration
puissent entraîner des variations de l'intensité magnétique, de même qu'on
peut admettre une action de la même nature par suite de l'éloignement,
et du rapprochement des particules magnétiques des spires de l'hélice;
toutefois M. Trève croit, dans ce dernier cas, à une action particulière
qu'il a déjà eu occasion d'étudier dans d'autres circonstances, et voit
dans le courant ainsi produit l'effet d'une transformation du travail
mécanique déterminé au sein des molécules magnétiques. Ce qui complique
encore la question, c'est que souvent ces effets sont produits par des
transmissions simplement mécaniques.
Il était encore un point intéressant à étudier et sur
lequel M. Navez a donné quelques indications intéressantes; c'était de
savoir si les effets étaient plus énergiques, pour la réception, avec
des aimants permanents, qu'avec des aimants temporaires. Dans le premier
modèle de téléphone exposé à Philadelphie par M. Bell, le récepteur était,
comme on l'a vu, constitué par un électro-aimant tubulaire dont le pôle
cylindrique était muni de la lame vibrante; mais M. Bell n'a pas maintenu
cette disposition, et s'il faut en croire ce qu'il dit à cet égard dans
son mémoire, ce serait afin de (p. 147) rendre
son appareil à la fois récepteur et transmetteur. Toutefois M. Navez prétend
que le rôle de l'aimant est plus important, et même qu'il est indispensable
dans les conditions actuelles de sa construction. On peut, dit-il, dans
certaines circonstances, et en construisant l'instrument d'une manière
spéciale, faire parler un Bell récepteur sans aimant permanent; cependant,
l'instrument tel qu'il est construit généralement, reste muet si
on retire l'aimant pour le remplacer par un cylindre de fer doux fixé
dans la bobine. Néanmoins il suffit d'approcher le pôle d'un aimant permanent
d'un cylindre en fer doux, pour rendre la voix au téléphone: il résulte
de nos expériences que pour qu'un téléphone Bell fonctionne bien, il est
indispensable que la plaque soit soumise à une tension magnétique initiale,
obtenue au moyen d'un aimant permanent. Cette assertion est d'ailleurs
facile à déduire de considérations théoriques.
Quant à l'action des courants envoyés à travers l'hélice
d'un téléphone, elle s'explique aisément. Quelles que soient les conditions
magnétiques du barreau, les courants induits de différente intensité qui
agissent sur lui, provoquent des modifications dans son état magnétique,
d'où résultent des vibrations moléculaires par contraction et dilatation.
Ces vibrations se produisant également dans l'armature sous l'influence
des aimantations et désaimantations qui y sont déterminées par l'action
magnétique du noyau, renforcent celles de ce noyau, en même temps que
les modifications dans l'état magnétique du système se trouvent amplifiées
par suite de la réaction des deux pièces magnétiques l'une sur l'autre.
Quand le barreau est en fer doux, les courants induits agissent en créant
des aimantations plus ou moins énergiques auxquelles succèdent des désaimantations
qui sont d'autant plus promptes que des courants inverses succèdent toujours
à ceux qui ont été actifs, ce qui rend les alternatives d'aimantation
et de désaimantation plus nettes et plus rapides. Quand le barreau est
aimanté, l'action est différentielle, et peut s'exercer dans un sens ou
dans un autre, suivant que les courants induits correspondant aux vibrations
effectives, passent à travers la bobine réceptrice dans le même sens ou
en sens contraire du courant magnétique du barreau. Si ces courants sont
de même sens, l'action est renforçante, et les modifications sont effectuées
comme si c'était une aimantation qui était déterminée. Si ces courants
sont de sens contraire, l'effet inverse se produit; mais quels que soient
ces effets, les vibrations moléculaires conservent les mêmes rapports
réciproques et la même hauteur dans l'échelle des sons musicaux. Si on
étudie la question au point de vue mathématique, on trouve la présence
d'une constante en rapport avec l'intensité du courant qui n'existe pas
dans les vibrations mécaniques et d'où résulterait peut-être le timbre
particulier que présente la parole reproduite dans le téléphone, timbre
qui l'a fait comparer à la voix de polichinelle. M. Dubois Raymond (p.
149) a du reste publié sur cette théorie un mémoire intéressant
qui est rapporté dans les Mondes du 21 février 1878 (p. 314), mais
que nous ne reproduisons pas ici, parce que les considérations qu'il émet
sont trop scientifiques pour les lecteurs auxquels s'adresse notre ouvrage.
Nous ajouterons seulement que d'après M. C. W. Cuningham, les vibrations
produites dans un téléphone ne peuvent se manifester exactement dans les
mêmes conditions que celles qui affectent le tympan de l'oreille, parce
que celui-ci a une forme particulière en entonnoir qui exclut toute note
fondamentale qui lui soit spécialement propre, tandis qu'il n'en est pas
de même pour les barreaux et lames magnétiques qui possèdent des notes
fondamentales capables de masquer beaucoup des demi-tons de la voix. C'est
suivant lui à ces notes fondamentales qu'il faut attribuer l'altération
de la voix observée dans le téléphone.
EXPÉRIENCES DIVERSES FAITES AVEC LE TÉLÉPHONE.
Nous allons nous occuper maintenant d'une série d'expériences
qui, tout en faisant ressortir les merveilleuses propriétés du téléphone
peuvent encore donner quelques indications sur l'importance des actions
qui sont susceptibles de l'affecter.
Expériences de M. d'Arsonval.—On a vu
que le téléphone était un instrument d'une extrême sensibilité, mais cette
sensibilité n'avait pu être appréciée d'une manière bien nette par les
moyens ordinaires. Pour la mesurer en quelque sorte, M. d'Arsonval a eu
l'idée de la comparer à celle du nerf d'une grenouille, appareil qui,
comme on le sait, avait été regardé jusqu'ici comme le plus parfait de
tous les galvanoscopes, et le résultat de ses expériences a été que le
téléphone est deux cents fois plus sensible que ce nerf. Voici du reste
comment M. d'Arsonval rend compte de ses recherches à cet égard dans les
comptes rendus de l'Académie des sciences du 1er avril 1878.
Je prépare une grenouille à la manière de Galvani. Je
prends l'appareil d'induction de Siemens usité en physiologie sous le
nom d'appareil à chariot; j'excite avec la pince ordinaire le nerf
sciatique, et j'éloigne la bobine induite jusqu'à ce que le nerf ne réponde
plus à l'excitation électrique. Je remplace alors le nerf par le téléphone,
et le courant induit qui n'excitait plus le nerf fait vibrer avec force
cet appareil. J'éloigne la bobine induite et le téléphone vibre toujours.
Dans le silence de la nuit, j'ai pu entendre vibrer le
téléphone en éloignant la bobine induite à une distance quinze fois plus
grande que celle du minimum d'excitation du nerf; par conséquent, si l'on
admet pour l'induction comme pour les actions à distance la loi des carrés
inverses, on voit que, dans cette circonstance, le téléphone est au moins
deux cents fois plus sensible que le nerf.
Nous possédons dans le téléphone un instrument d'une sensibilité
exquise. Il est, comme on le voit, beaucoup plus sensible que la patte
galvanoscopique, et j'ai songé à en faire un galvanoscope. On n'étudie
que très-difficilement les courants musculaires et nerveux avec un galvanomètre
de 30000 tours, parce que l'appareil manque d'instantanéité et que l'aiguille,
à cause de son inertie, ne peut manifester de variations électriques se
succédant rapidement, comme celles qui ont lieu par exemple dans le muscle
lorsqu'on le tétanise. Cet inconvénient n'existe plus avec le téléphone
qui répond toujours par une vibration à un changement électrique, quelque
rapide qu'il soit. C'est donc un excellent instrument pour étudier le
tétanos électrique du muscle. On peut être sûr d'avance que le courant
musculaire excitera le téléphone puisque ce courant excite le nerf qui
est moins sensible que cet appareil. L'instrument nécessite pour cela
quelques dispositions spéciales.
Le téléphone ne peut servir qu'à constater les variations
d'un courant électrique, quelque faibles qu'elles soient, il est vrai;
mais j'ai trouvé le moyen par son intermédiaire de constater la présence
d'un courant continu, quelque faible qu'il puisse être. J'y ai réussi
en employant un artifice très-simple. Je lance dans le téléphone le courant
supposé, et, pour obtenir des variations, j'interromps mécaniquement ce
courant par le diapason. Si aucun courant ne traverse le téléphone, l'instrument
reste muet. Si, au contraire, le plus faible courant existe, le téléphone
vibre à l'unisson du diapason.
M. le professeur Eick, de Wurtzbourg, a aussi employé
le téléphone pour des recherches physiologiques, mais en suivant une voie
précisément contraire à celle explorée par M. d'Arsonval. Il a reconnu
qu'en mettant les nerfs d'une grenouille en rapport avec un téléphone,
on les contractait d'une manière énergique aussitôt qu'on parlait dans
l'appareil, et l'énergie des contractions dépendait surtout de la nature
des mots prononcés; ainsi, il a constaté que les voyelles a, e,
i ne produisaient presque pas d'effet, tandis que l'o et
surtout l'u en déterminaient un très-énergique. Les mots liege-still
prononcés à haute voix ne produisent qu'une très-faible action, tandis
que le mot tucker, même prononcé à voix basse, agitait fortement
la grenouille. Ces expériences, qui rappellent celles de Galvani, étaient
naturellement basées sur les effets produits par les courants induits
développés dans le téléphone, et prouvent que si cet instrument est un
galvanoscope plus sensible que le nerf d'une grenouille, celui-ci est
plus impressionnable que nos galvanomètres les plus perfectionnés.
Expériences de M. Demoget.—Pour comparer
l'intensité des sons transmis par le téléphone avec l'intensité du son
primitif, M. Demoget a disposé dans une plaine découverte deux téléphones.
Il tenait à l'oreille le premier, tandis qu'un aide s'éloignait de lui,
en répétant sans cesse la même syllabe avec la même intensité de voix
dans le deuxième instrument. Il entendait d'abord le son transmis par
le téléphone, puis ensuite le son qui arrivait directement, en sorte que
rien n'était plus facile que de comparer. Or, voici les résultats qu'il
a obtenus.
À quatre-vingt-dix mètres, les intensités perçues étaient
égales, la plaque vibrante étant éloignée du tympan d'environ cinq centimètres.
À ce moment, le rapport des intensités était donc de 25 à 81.000.000.
En d'autres termes, le son transmis par le téléphone n'était que 1/3.000.000
du son émis. Mais comme les stations dans lesquelles on opérait ne pouvaient
être considérées comme deux points vibrant librement dans l'espace, il
y avait lieu, dit M. Demoget, de réduire ce rapport de moitié, à cause
de l'influence du sol, et d'admettre que le son transmis par le téléphone
était 1.500.000 fois plus faible que celui émis par la voix.
Comme, d'autre part, on sait que l'intensité de deux sons
est proportionnelle au carré de l'amplitude des vibrations, on peut en
conclure que les vibrations des deux plaques des téléphones étaient directement
proportionnelles aux distances, c'est-à-dire, comme 5 est à 9.000, ou
que les vibrations du téléphone transmetteur étaient dix-huit cents fois
plus grandes que celles du téléphone récepteur. On peut donc comparer
celles-ci à des vibrations moléculaires, car celles du téléphone transmetteur
ont déjà une amplitude très-petite.
Sans diminuer en rien le mérite de la remarquable invention
de Bell, continue M. Demoget, on peut conclure de ce qui précède que le
téléphone, au point de vue du rendement, est une machine qui laisse bien
à désirer, puisqu'elle ne transmet que la dix-huit centième partie du
travail primitif, et que si cet instrument a donné des résultats si inattendus,
cela tient bien plus à la perfection de l'organe de l'ouïe qu'à la perfection
de l'instrument lui-même.
M. Demoget attribue cette déperdition du travail produit
dans le téléphone, surtout aux huit transformations successives que subit
le son avant d'arriver à l'oreille, sans parler de celle qui est due à
la résistance électrique de la ligne et qui, à elle seule, peut absorber
toute l'énergie.
Pour se rendre compte de la force des courants induits
qui actionnent un téléphone, M. Demoget a cherché à les comparer à des
courants d'une intensité connue, produisant des vibrations de même nature
et de même force, et pour cela il a mis à contribution deux téléphones
A et B en communication au moyen d'une ligne de 20 mètres de longueur.
Près de la plaque vibrante du téléphone A, il a appuyé légèrement une
petite lime sur laquelle on frottait avec une lame métallique; le bruit
ainsi produit, était naturellement transmis par le téléphone B avec une
certaine intensité qu'on pouvait apprécier. Il a ensuite remplacé le téléphone
A par une pile, et la lime était introduite dans le circuit en la reliant
à l'un des pôles. Le courant ne pouvait être fermé qu'en frottant la lime
au moyen de la lame de ressort mise en communication avec l'autre extrémité
du circuit. Mais on pouvait obtenir ainsi des courants interrompus qui,
en faisant vibrer le téléphone B, produisaient un bruit dont l'intensité
variait avec la force du courant de la pile. En cherchant l'intensité
électrique capable de fournir de cette manière un son équivalant à celui
produit par le téléphone A, M. Demoget a reconnu qu'elle correspondait
à celle que fournit une petite pile thermo-électrique constituée par un
fil de fer et un fil de cuivre de deux millimètres de diamètre, aplatis
à leur extrémité et soudés à l'étain; le faible courant résultant de cette
pile ne faisait dévier que de deux degrés un galvanomètre à fil court.
Cette estimation ne nous paraît pas toutefois réunir assez
de conditions d'exactitude pour qu'on puisse en déduire le degré de sensibilité
du téléphone, sensibilité qui, d'après les expériences de MM. Warren de
la Rue, Brough, Peirce, est infiniment plus grande. M. Warren de la Rue,
en effet, comme on l'a déjà vu, a reconnu au moyen du galvanomètre de
Thomson, et en ramenant à la déviation fournie sur l'échelle de ce galvanomètre
celle déterminée par un élément Daniell traversant un circuit complété
par un Rhéostat, que les courants émis par un téléphone ordinaire de Bell
sont équivalents à celui d'un élément Daniell traversant 100 megohms de
résistance, c'est-à-dire dix millions de kilomètres de fil télégraphique.
Suivant M. Brough, le directeur des télégraphes de l'Inde, le plus fort
courant qui, à un moment donné, fait fonctionner le téléphone Bell, n'excède
pas 1/1.000.000.000 de l'unité de courant, c'est-à-dire, de un Weber,
et le courant qui fait agir les relais dans l'Inde a 400 000 fois cette
force. Enfin, le professeur Peirce, de Boston, compare les effets du courant
téléphonique à ceux qui seraient produits par une source électrique dont
la force électro-motrice serait la 1/200.000 partie d'un volt, ou de celle
d'un élément Daniell. Du reste, comme l'observe M. Peirce, il est difficile
de fixer un chiffre exact pour estimer la valeur réelle de ces sortes
de courants, car elle est essentiellement variable suivant l'intensité
des sons produits sur le téléphone transmetteur; mais on peut affirmer
qu'elle est moindre que la 1/1.000.000 partie du courant employé ordinairement
pour faire fonctionner les appareils télégraphiques sur les lignes.
Expériences de M. Hellesen, de Copenhague.—Pour
se rendre compte des effets réciproques produits par les différentes parties
d'un téléphone, M. Hellesen a construit des téléphones de mêmes dimensions
avec trois dispositions différentes et inverses les unes des autres. Il
en a d'abord établi une dans les conditions ordinaires, puis une autre
dans les conditions du premier système de Bell, c'est-à-dire, en employant
pour lame vibrante une membrane portant à son centre une petite armature
de fer, et enfin la troisième disposition mettait à contribution un aimant
cylindrique creux, à l'un des pôles duquel était fixée la lame vibrante,
laquelle pouvait se mouvoir devant une spirale plate en limaçon, présentant
le même nombre de spires que les deux autres hélices. Dans cette dernière
disposition, les courants induits résultant des vibrations de la voix
pouvaient être assimilés à ceux qui seraient la conséquence du rapprochement
et de l'éloignement de deux spirales parallèles, dont une serait parcourue
par un courant. Or, de ces trois dispositions, c'est celle qui a été adoptée
par Bell, qui a fourni les meilleurs effets, et c'est un résultat réellement
bien rare dans l'histoire des découvertes, qu'un inventeur soit arrivé
du premier coup à la meilleure disposition à donner à son instrument.
Expériences de M. Zetzche. Il est toujours
un certain noyau d'esprits de travers qui veulent nier l'évidence, le
plus souvent pour faire acte de contradiction, et qui croient ainsi diminuer
l'importance d'une découverte dont le retentissement les exaspère. Le
téléphone et le phonographe ont été l'objet de ces critiques de mauvais
aloi. Ne s'est-on pas avisé de dire que l'action électrique n'entrait
pour rien dans les effets produits par le téléphone, et qu'il fonctionnait
toujours sous l'influence de vibrations mécaniques transmises par le fil
conducteur, absolument comme cela a lieu dans les téléphones à ficelle!!..
On a eu beau démontrer à ces esprits avisés que quand l'un des fils du
circuit était interrompu, aucun son n'était produit, cette démonstration
ne leur a pas suffi, et pour détruire toute objection de leur part, M.
Zetzche a fait des expériences dans lesquelles il a démontré, par le mode
même de la propagation du son, que l'idée d'attribuer le son produit dans
un téléphone à une vibration mécanique est tout simplement absurde. Voici
en effet ce qu'il dit à cet égard dans un article inséré dans le Journal
télégraphique de Berne du 25 janvier 1878.
La correspondance par téléphone entre Leipzig et Dresde
a fourni une nouvelle preuve que c'est bien par les courants électriques
et non par la propagation purement mécanique des sons que se reproduisent
les mots à la station de réception. La vitesse de propagation du son dans
le fer (pour les ondulations longitudinales), pouvant être évaluée à 5
kilomètres par seconde, le son devrait parcourir la distance de Leipzig
à Dresde en 115/5 c'est-à-dire en 23 secondes. Jusqu'à l'arrivée de la
réponse il devrait s'écouler au moins autant de secondes. Par conséquent,
dans chaque changement de direction de la correspondance, il devrait donc
intervenir un intervalle de plus de 3/4 de minute, ce qui n'est point
du tout le cas.
Expérience que tout le monde peut faire.—Nous
terminerons ce chapitre consacré à l'exposé des diverses expériences faites
avec le téléphone, par l'indication d'une expérience curieuse qui, bien
que très-facile à répéter, n'a été signalée qu'il y a quelques mois par
les journaux de Pennsylvanie. Il s'agit de la transmission de la parole
par un téléphone simplement appliqué sur l'une des parties du corps humain
voisines de la poitrine. On a même prétendu que toutes les parties du
corps pouvaient produire ce résultat; mais dans les expériences que j'ai
faites je n'ai pu réussir que quand le téléphone était fortement appliqué
sur ma poitrine. Dans ces conditions, et à travers même mes vêtements,
j'ai pu me faire entendre, mais en parlant à voix très-haute, ce qui ferait
supposer que le corps de l'homme participe tout entier aux vibrations
provoquées par la voix. Dans ce cas, les vibrations sont transmises mécaniquement
au diaphragme du téléphone transmetteur, non plus par l'air mais par le
corps lui-même agissant sur la coque du téléphone.
LE MICROPHONE.
Le microphone n'est en réalité qu'un transmetteur de téléphone
à pile, mais avec des caractères tellement particuliers qu'il constitue
par le fait une invention originale qui méritait bien d'être désignée
sous un nom particulier. Dans ces derniers temps il s'est élevé, à l'occasion
de cette invention, entre M. Hughes, son auteur, et M. Edison, l'inventeur
du téléphone à charbon et du phonographe, une contestation regrettable
que les journaux ont envenimée et qui n'avait pas réellement sa raison
d'être; car, en définitive si le principe physique du microphone peut
paraître le même que celui du transmetteur téléphonique à charbon de M.
Edison, sa disposition est tout à fait différente, la manière d'agir sur
lui n'est pas la même, et les effets qu'on lui demande généralement sont
d'une toute autre nature. C'est plus qu'il n'en faut pour constituer une
invention nouvelle. D'ailleurs si on voulait bien examiner à fond le principe
même de l'instrument, on pourrait s'étonner des prétentions que M. Edison
a élevées. En effet M. Edison ne peut pas réclamer comme lui appartenant
la découverte de la propriété que possèdent certains corps médiocrement
conducteurs d'avoir leur conductibilité modifiée par la pression. J'ai
fait dès l'année 1856 et à diverses autres époques, par exemple en 1864,
1872, 1875, de nombreuses expériences à cet égard, qui sont consignées
dans le tome I de la seconde édition de mon exposé des applications de
l'électricité, p. 246 et dans plusieurs notes présentées à l'Académie
des sciences et insérées aux comptes rendus. D'un autre côté, M. Clérac
s'était servi en 1865 d'un tube muni de plombagine avec une électrode
mobile pour produire des résistances variables dans un circuit télégraphique.
D'ailleurs, dans le transmetteur téléphonique de M. Edison, le disque
de charbon doit être, comme on l'a vu, s oumis à une certaine pression
initiale afin que le courant ne soit pas interrompu par suite des vibrations
de la lame contre laquelle il appuie, et il en résulte que les modifications
de résistance du circuit qui donnent lieu aux sons articulés, ne sont
produites que par des augmentations ou des diminutions plus ou moins grandes
de pression, c'est-à-dire par des actions différentielles. Or nous allons
voir à l'instant qu'il n'en est pas de même pour le microphone. D'abord,
dans ce dernier appareil, le contact du charbon s'effectue sur d'autres
charbons et non avec des disques de platine, et ces contacts sont multiples;
en second lieu, la pression exercée sur tous les points de contact est
excessivement légère, ce qui fait qu'on peut faire varier les résistances
dans un rapport infiniment plus grand que dans le système de M. Edison,
et c'est précisément ce qui permet d'amplifier les sons; en troisième
lieu on peut employer d'autres corps que le charbon pour constituer un
microphone; enfin pour faire agir le microphone, il n'est pas besoin de
lame vibrante; le simple intermédiaire de l'air suffit, et c'est ce qui
permet de faire fonctionner cet appareil à une distance assez grande de
lui. Nous ne voyons donc pas de raisons qui aient pu motiver la réclamation
de M. Edison et surtout les termes dont il s'est servi à l'égard de MM.
Preece et Hughes qui sont des hommes considérables dans la science et
très-respectables sous tous les rapports. Nous regrettons, je le répète
encore, cette triste sortie de M. Edison qui ne peut que lui faire du
tort, et qui n'est pas digne d'un inventeur de sa taille. Si maintenant
envisageant la question sous un autre aspect, nous demandions à M. Edison
pourquoi, puisqu'il a inventé le microphone, n'en a-t-il pas fait connaître
les propriétés et les résultats?... Quelle réponse pourrait-il faire?
Il fallait pourtant que ces résultats fussent bien saisissants puisque
le microphone est devenu en peu de jours l'objet de la préoccupation du
monde entier; or il est évident pour nous qu'avec le génie perspicace
du célèbre inventeur Américain il aurait fait valoir cette découverte
s'il l'eût faite réellement, et il en aurait évidemment tiré parti. Ce
qui peut justifier la réclamation de M. Edison, c'est que, n'étant pas
au courant des découvertes purement scientifiques faites en Europe, il
a cru que son invention résidait toute entière dans le principe sur lequel
elle repose et qu'il croyait avoir découvert.
Dans l'appareil de M. Hughes, que nous étudions en ce
moment, les sons, au lieu d'arriver très-affaiblis à la station de réception,
comme cela a lieu avec les téléphones ordinaires, même avec celui de M.
Edison, y sont comme je l'ai déjà dit, le plus souvent reproduits avec
une amplification notable, et de là le nom de microphone que M.
Hughes a donné à ce système téléphonique; on peut par conséquent l'employer
à révéler des sons très-faibles. Cependant nous devons le dire dès à présent,
cette amplification n'existe réellement que quand ces sons résultent de
vibrations transmises mécaniquement à l'appareil transmetteur par des
corps solides. Les sons propagés par l'air sont sans doute un peu plus
intenses qu'avec le système ordinaire, mais ils le sont moins que ceux
qui leur donnent naissance, et, en conséquence, on ne peut pas dire dans
ce cas que le microphone agit par rapport aux sons comme le microscope
le fait par rapport aux objets éclairés par la lumière. Il est vrai qu'avec
ce système on peut parler de loin dans l'appareil, et j'ai pu même transmettre
de cette manière une conversation à voix élevée étant placé à huit mètres
du microphone. J'ai pu encore parler à voix basse près de ce dernier et
me faire entendre parfaitement dans l'appareil récepteur, et même faire
arriver les sons à une distance de dix à quinze centimètres de l'embouchure
du téléphone récepteur, en élevant un peu la voix; mais l'amplification
du son n'est réellement bien manifeste que quand celui-ci résulte d'une
action mécanique transmise au support de l'appareil. Ainsi les pas d'une
mouche marchant sur ce support s'entendent parfaitement et vous donnent
la sensation du piétinement d'un cheval, le cri même de la mouche, surtout
son cri de mort devient, suivant M. Hughes, perceptible; le frôlement
d'une barbe de plume ou d'une étoffe sur la planche de l'appareil, bruits
complétement imperceptibles à l'audition directe, s'entendent d'une manière
marquée dans le téléphone. Il en est de même des battements d'une montre
posée sur le support de l'appareil, que l'on entend même à dix ou quinze
centimètres du récepteur. Une petite boîte à musique placée sur l'instrument
donne des sons tellement forts par suite des trépidations qui l'agitent,
qu'il est impossible de distinguer les sons, et pour les percevoir, il
faut disposer la boîte près de l'appareil sans qu'elle soit en contact
avec aucune de ses parties constituantes. C'est alors par les vibrations
de l'air que l'appareil est impressionné, et les sons transmis sont plus
faibles que ceux que l'on entend près de la boîte. En revanche les vibrations
déterminées par le balancier d'une pendule mise en communication par une
tige métallique avec le support de l'appareil, s'entendent admirablement,
et on peut même les distinguer quand cette liaison est effectuée par l'intermédiaire
d'un fil de cuivre. Un courant d'air projeté sur le système donne la sensation
d'un écoulement liquide perçu dans le lointain. Enfin les trépidations
causées par le passage d'une voiture dans la rue se traduisent par des
bruits crépitants très-intenses qui se combinent à ceux d'une montre que
l'on écoute et qui souvent prédominent.
Fig. 36.
Différents systèmes de microphones.—Le
microphone a été combiné de plusieurs manières, mais la disposition qui
a donné à l'instrument le plus de sensibilité est celle que nous représentons
fig. 36. Dans ce système, on adapte l'un au-dessus de l'autre sur un prisme
vertical de bois M, deux petits cubes de charbon A, B, dans lesquels sont
percés deux trous servant de crapaudines à un crayon de charbon C en forme
de fusée, c'est-à-dire avec des pointes émoussées par les deux bouts,
et d'une longueur d'environ quatre centimètres; il ne faut pas qu'il soit
trop grand afin d'avoir peu d'inertie. Ce crayon appuie par une de ses
extrémités dans le trou du charbon inférieur et doit ballotter dans le
trou supérieur qui ne fait que le maintenir dans une position plus ou
moins rapprochée de celle de l'équilibre instable, c'est-à-dire de la
verticale. En imprégnant ces charbons de mercure par leur immersion à
la température rouge dans un bain de mercure, les effets, suivant M. Hughes,
sont meilleurs, mais ils peuvent très-bien se produire sans cela. Les
deux cubes de charbon sont d'ailleurs munis de contacts métalliques qui
permettent de les mettre en rapport avec le circuit d'un téléphone ordinaire,
dans lequel est interposée une pile Leclanché de 1 ou 2 éléments ou mieux
de 3 éléments Daniell avec une résistance additionnelle intercalée dans
le circuit.
Pour faire usage de l'appareil, on le place avec la planche
qui lui sert de support sur une table en ayant soin d'interposer entre
cette planche et la table, pour amortir les vibrations étrangères, plusieurs
doubles d'étoffe disposés de manière à former coussin ou, ce qui est mieux,
une bande de ouate ou deux tubes de caoutchouc; alors il suffit de parler
devant le système, pour qu'aussitôt la parole soit reproduite dans le
téléphone, et si l'on place sur la planche support la montre dont il a
été question ou une boîte dans laquelle est renfermée une mouche, tous
ses mouvements sont entendus. L'appareil est si sensible que c'est à voix
peu élevée que la parole s'entend le mieux, et on peut, comme je l'ai
déjà dit, l'entendre en parlant à une distance de huit mètres du microphone.
Toutefois, quelques précautions doivent être prises pour obtenir les meilleurs
résultats avec ce système, et, en outre des coussins que l'on place sous
l'appareil, pour le soustraire aux vibrations étrangères qui pourraient
résulter de mouvements insolites communiqués à la table, il faut encore
régler la position du crayon de charbon. Celui-ci doit en effet toujours
appuyer en un point du rebord du trou supérieur, mais comme le contact
peut être plus ou moins bon, l'expérience seule peut indiquer la meilleure
position à lui donner, et pour la trouver on peut employer avantageusement
le moyen de la montre. On met alors le téléphone à l'oreille et on place
le crayon dans diverses positions jusqu'à ce qu'on ait trouvé celle donnant
les effets maxima. Pour éviter ce réglage, qui, avec la disposition précédente,
doit être souvent répété, MM. Chardin et Berjot, qui construisent habilement
ce modèle de téléphone, lui ont ajouté une petite lame de ressort dont
la pression peut être réglée et qui appuie contre le charbon vertical
lui-même. Ce système est très-bon.
Fig. 37.
M. Gaiffe de son côté a donné une forme plus élégante
à l'appareil en le construisant comme un appareil de physique. La figure
37 représente l'un des deux modèles qu'il a combinés. Dans ce modèle,
les cubes ou dés de charbon A et B sont soutenus par des porte-charbons
métalliques, dont l'un, E, le supérieur, est mobile sur une colonne de
cuivre G et peut être placé dans telle position qu'il convient à l'aide
d'une vis de pression V. On peut de cette manière incliner plus ou moins
le crayon de charbon et augmenter à volonté la pression qu'il exerce sur
le charbon supérieur. Quand le crayon est vertical, l'appareil transmet
difficilement les sons articulés, en raison de l'instabilité du point
de contact, et des bruissements de toute nature se font entendre; quand
il est trop incliné, les sons sont plus purs et plus distincts, mais l'appareil
est moins sensible. Il est un degré d'inclinaison qui doit être recherché,
et l'expérience l'indique facilement. Dans un autre modèle, M. Gaiffe
substitue au crayon de charbon une lame carrée et très-mince de la même
matière, taillée en biseau sur ses côtés inférieur et supérieur et pivotant
dans une rainure pratiquée dans le charbon inférieur. Cette lame ne fait
qu'appuyer contre le charbon supérieur sous une légère inclinaison, et
dans ces conditions il transmet beaucoup plus fortement et plus distinctement
la parole.
Fig. 38.
Je dois encore parler d'une autre disposition combinée
par le capitaine du génie Carette qui a donné pour les sons non articulés
d'excellents résultats. Le charbon vertical a alors la forme d'une poire
et repose par son bout le plus gros dans un large trou fait dans le charbon
inférieur; son bout supérieur qui est pointu, vient s'engager dans un
petit trou pratiqué dans le charbon supérieur, mais de manière à ne le
toucher qu'à peine, et une vis de réglage permet de rapprocher plus ou
moins ces deux charbons. Dans ces conditions, les contacts sont si instables
qu'un rien peut les supprimer, et alors les variations dans l'intensité
du courant transmis sont si fortes que les sons produits par le téléphone
peuvent s'entendre à plusieurs mètres.
La figure 38 représente une autre disposition combinée
par M. Ducretet. Les deux dés de charbon sont en D, D', le charbon mobile
en C, le téléphone en T et les boutons d'attache du circuit en B, B'.
Un détail du dispositif des charbons se voit à gauche de l'appareil. Le
bras qui porte le charbon supérieur D est adapté à une tige munie d'un
plateau P' à surface rugueuse, et une petite cage C' en toile métallique
que l'on pose sur ce plateau permet d'étudier les mouvements d'insectes
vivants.
Fig. 39.
Quand il s'agit de transmettre la parole assez fortement
pour qu'un téléphone puisse se faire entendre dans toute une salle, le
microphone doit avoir une disposition particulière, et la figure 39 représente
celle qui a donné à M. Hughes les meilleurs résultats; il donne alors
à l'appareil le nom de parleur.
Sous cette nouvelle forme le charbon mobile appelé à produire
les contacts variables est adapté en C, à l'extrémité d'une bascule horizontale
BA pivotant en son point milieu et convenablement équilibrée. Le support
sur lequel cette bascule oscille est adapté à l'extrémité d'une lame de
ressort pour rendre l'appareil plus susceptible de vibrer, et le charbon
inférieur est placé en D au-dessous du premier. Il est constitué par deux
fragments superposés afin d'augmenter la sensibilité de l'appareil, et
nous avons représenté en E le fragment supérieur qui est soulevé pour
montrer qu'on peut employer à volonté un seul des deux charbons. Ce charbon
E, se trouve, à cet effet collé à une petite lame de papier fixée à la
planchette et qui sert d'articulation. Un ressort antagoniste R, dont
on peut régler la tension au moyen d'une vis t, permet de régler
la pression des deux charbons. M. Hughes recommande l'emploi de charbons
en sapin métallisé. Le tout est ensuite recouvert d'une enveloppe semi-cylindrique
HIG en bois blanc, dont les parois sont très-minces surtout les deux bases,
et on fixe le système accompagné d'un autre semblable dans une boîte plate
MJLI qui présente du côté MI une ouverture devant laquelle on parle, en
ayant soin de placer la lèvre inférieure à deux centimètre du fond de
la boîte. Si les deux microphones sont réunis en quantité et si la pile
employée se compose de deux éléments à bichromate de potasse, on agit
assez fortement sur le courant, pour que, passant à travers une bobine
d'induction de six centimètres seulement de longueur, il puisse faire
parler un téléphone du modèle carré de Bell, de manière à être entendu
de tous les points d'une salle. Il faut par exemple lui adapter un porte-voix
de près d'un mètre de longueur. M. Hughes prétend que les sons produits
dans ces conditions sont à peu près aussi élevés que ceux du phonographe,
et M. W. Thomson m'a confirmé ce fait.
Le microphone peut être aussi constitué par des fragments
de charbon entassés dans une boîte entre deux électrodes métalliques,
ou enfermés dans un tube avec deux électrodes représentées par deux fragments
de charbon allongés. Dans ce dernier cas, les charbons doivent autant
que possible être cylindriques, et ceux que construit M. Carré pour les
bougies Jablochkoff sont très-bons pour cela. Nous représentons fig. 40
un appareil de ce genre que j'ai fait disposer en instrument par M. Gaiffe,
et qui peut, comme nous le verrons à l'instant, servir de thermoscope.
Cet instrument est représenté fig. 41 et se compose d'un tuyau de plume
rempli de fragments de charbon, dont ceux qui occupent les deux bouts
sont montés dans des garnitures métalliques. L'une de ces garnitures se
termine par une vis à large tête qui permet, au moyen des supports A,
B, de pousser plus ou moins les charbons dans le tube et, par conséquent,
d'établir un contact plus ou moins intime entre les divers fragments de
charbon. Quand cet appareil est convenablement réglé, il suffit de parler
au-dessus du tube pour que la parole soit reproduite. C'est donc un microphone
aussi bien qu'un thermoscope. Une chose réellement curieuse que M. Hughes
a remarquée, c'est que si on prononce séparément les différentes lettres
de l'alphabet devant cette sorte de microphone, on constate qu'il en est
qui se font beaucoup mieux entendre que d'autres, et ce sont précisément
celles qui correspondent aux aspirations de la voix.
Fig. 40 et 41.
On peut encore obtenir un microphone de ce genre en remplaçant
les fragments de charbon par des poussières plus ou moins conductrices,
des limailles métalliques même. J'ai démontré, en effet, dans mon mémoire
sur la conductibilité des corps médiocrement conducteurs, que le pouvoir
conducteur de ces poussières varie d'une manière considérable avec la
pression et avec la température, et comme le microphone est fondé sur
les différences de conductibilité résultant des différences de pression,
on comprend facilement que ce moyen puisse être employé comme organe de
transmission téléphonique. Dans une disposition récente de ce système,
M. Hughes a aggloméré ces poussières avec une sorte de gomme, et il en
a formé un crayon cylindrique qui, étant relié à deux électrodes bonnes
conductrices, a pu fournir des effets analogues à ceux dont nous avons
parlé précédemment. Comme on l'a vu, toutes les limailles métalliques
peuvent être employées, mais M. Hughes donne la préférence à la poussière
de charbon.
D'après M. Blyth, une boîte plate d'environ quinze pouces
sur neuf, remplie de ces charbons échappés à la combustion que l'on appelle
en Angleterre cinders gas, et aux deux extrémités de laquelle sont
fixées deux électrodes de fer-blanc, est une des meilleures dispositions
de microphones. Suivant lui, trois de ces appareils suspendus comme des
tableaux contre les murs d'une chambre auraient suffi, sous l'influence
d'un seul élément Leclanché, pour faire entendre dans le téléphone tous
les bruits produits dans la chambre, et surtout les airs chantés. M. Blyth
prétend même qu'on peut construire un microphone capable de transmettre
la parole avec un simple charbon relié au fil du circuit par ses deux
bouts, mais il faut que ce charbon soit un cinder gas; un charbon de cornue
pourvu de pinces d'attache à ses deux extrémités, ne pourrait produire
cet effet.
L'un des effets les plus intéressants de ces sortes de
microphones, c'est qu'ils peuvent fonctionner sans pile, du moins, si
on les dispose de manière à former eux-mêmes l'élément voltaïque, et pour
cela, il suffit de verser de l'eau sur les charbons. M. Blyth qui a parlé
le premier de ce système, n'indique pas nettement sa disposition, et on
peut supposer que son appareil n'était autre que celui que nous avons
décrit précédemment, auquel il aurait ajouté de l'eau. J'ai répété cette
expérience en employant des électrodes zinc et cuivre et
des fragments un peu gros de charbon de cornue, et j'ai parfaitement réussi.
J'ai, en effet, pu transmettre de cette manière, non-seulement tous les
sons de la montre et de la boîte à musique, mais encore la parole qui
se trouvait même souvent plus nettement exprimée qu'avec un microphone
ordinaire, car on n'entendait pas les crachements qui accompagnent souvent
les transmissions téléphoniques de ce dernier. M. Blyth prétend aussi
que l'on peut obtenir de cette manière la transmission des sons sans que
l'appareil soit pourvu d'eau; mais il croit que c'est à l'humidité de
l'haleine de celui qui parle qu'il faut attribuer ce résultat. Il est
certain qu'il ne faut pas beaucoup d'humidité pour mettre en action un
couple voltaïque, surtout quand on a pour appareil révélateur un téléphone.
Du reste le microphone ordinaire peut être lui-même employé sans pile,
si le circuit dans lequel il est interposé est en communication avec le
sol par l'intermédiaire de plaques de terre; les courants telluriques
qui traversent alors le circuit sont suffisants pour que les battements
d'une montre posée sur le microphone soient parfaitement perceptibles.
M. Cauderay, de Lausanne, dans une note envoyée à l'Académie des sciences,
le 8 juillet 1878, annonce qu'il a fait cette expérience sur un fil télégraphique
réunissant l'hôtel des Alpes à Montreux, à un chalet situé à 500 mètres
de là, sur la colline.
Le microphone employé comme organe parlant.—Le
microphone peut non-seulement transmettre la parole, mais il peut encore
dans certaines conditions la reproduire et être substitué par conséquent
au téléphone récepteur. Cette fois c'est à n'y rien comprendre, car c'est
seulement dans des variations d'intensité de courant qu'il faut chercher
une cause du mouvement vibratoire produit dans l'une des parties du circuit
lui-même, et il n'y a plus alors à invoquer des effets d'attraction et
d'aimantation. Est-ce aux répulsions qu'exercent entre eux les éléments
contigus d'un même courant qu'il faut rapporter cette action? Ou bien
faut-il la considérer comme étant de la même nature que celle qui fait
émettre des sons à un fil de fer lorsqu'il est traversé par un courant
interrompu? un courant électrique est-il lui-même un mouvement vibratoire,
comme l'admet M. Hughes? Voilà des questions auxquelles il est bien difficile
de répondre dans l'état actuel de la science; toujours est-il que le fait
existe, et ce sont MM. Hughes, Blyth et Robert, H. Courtenay et même M.
Edison, qui, chacun de leur côté, viennent de le faire connaître; moi-même
j'ai pu le vérifier dans les conditions expérimentales indiquées par M.
Hughes, mais je n'ai pas été aussi heureux quand j'ai voulu répéter les
expériences de M. Blyth. Suivant ce savant il suffirait, pour entendre
la parole dans le microphone, d'employer le modèle à fragments de charbon
dont nous avons parlé précédemment, d'y joindre comme appareil transmetteur
un second microphone du même genre, et d'introduire dans le circuit une
pile de deux éléments de Grove. Alors si on parle au-dessus des charbons
de l'un des microphones, on devrait entendre distinctement la parole en
approchant l'oreille du second, et l'importance des sons ainsi reproduits
serait en rapport avec l'intensité de la source électrique employée. Toutefois,
comme je le disais, je n'ai pu, en m'y prenant de cette manière, entendre
aucun son et encore moins la parole, et si d'autres expériences ne m'avaient
pas convaincu, j'aurais douté de l'authenticité du fait annoncé. Mais
cette expérience négative ne prouve en définitif rien, car il est possible
que je me sois placé dans de mauvaises conditions, et que les escarbilles
que j'employais ne fussent pas dans les mêmes conditions que les cinders
gas de M. Blyth.
Quant aux expériences de M. Hughes, je les ai répétées
avec le microphone de MM. Chardin et Berjot, relié avec celui de M. Gaiffe
employé comme transmetteur, et j'ai reconnu qu'avec une pile de quatre
éléments Leclanché, seulement, tous les grattements effectués sur le microphone
de M. Gaiffe et même les trépidations et les airs résultant du jeu d'une
petite boîte à musique placée sur cet appareil, étaient reproduits, très-faiblement
il est vrai, dans le second microphone; pour les percevoir il suffisait
de coller l'oreille contre la planchette verticale. La parole n'était
pas reproduite il est vrai, mais M. Hughes m'en avait prévenu; l'appareil
ainsi disposé n'était pas évidemment assez sensible.
Fig. 42.
Pour reproduire la parole par ce système et pour la transmettre,
il faut une autre disposition du microphone, et celle qui a donné les
meilleurs résultats à M. Hughes est représentée, vue en coupe, figure
42. C'est un peu le microphone parleur de M. Hughes, disposé verticalement
et dont le charbon fixe est collé au centre de la membrane tendue d'un
téléphone à ficelle. Le cornet de ce téléphone est représenté en A, la
membrane en DD, et le charbon en question en C; ce charbon est en sapin
carbonisé et métallisé ainsi que le double charbon E qui est en contact
avec lui et qui est adapté à l'extrémité supérieure de la bascule GI.
Le tout est renfermé dans une petite boîte, et on règle la pression exercée
au contact des deux charbons au moyen d'un ressort antagoniste R et d'une
vis H. C'est alors le cornet du téléphone qui sert de cornet acoustique,
et c'est le parleur de M. Hughes décrit page 169 qui sert de transmetteur
pour entendre. Inutile de dire que deux appareils de ce genre sont placés
aux deux bouts du circuit, que les charbons sont reliés aux deux pôles
d'une pile de deux éléments à bichromate de potasse ou de Bunsen ou de
six éléments de Leclanché, et que les deux appareils sont reliés par le
fil de ligne.
Dans ces conditions, une conversation peut être échangée,
mais les sons sont toujours beaucoup moins accentués que dans le téléphone.
J'ai pu constater ce fait avec un appareil grossier apporté
d'Angleterre par M. Hughes. MM. Berjot, Chardin et de Méritens qui étaient
présents aux expériences, ont pu comme moi parfaitement entendre la parole,
et j'ai depuis répété moi-même l'expérience avec succès; mais elle ne
réussit pas toujours et, dans ses conditions actuelles, l'appareil ne
présente d'importance qu'au point de vue scientifique. On le construit
chez MM. Chardin et Berjot.
On comprend facilement que l'appareil peut se passer de
support, et la petite boîte forme alors le manche de l'instrument; les
deux boutons d'attache sont disposés dans ce cas au bout de ce manche,
comme dans un téléphone.
Les effets du microphone récepteur expliquent les sons
souvent très-intenses déterminés par les bougies Jablochkoff quand elles
sont actionnées par des machines magnéto-électriques. Ces sons vibrent
toujours à l'unisson de ceux émis par la machine elle-même, et ceux-ci
proviennent, comme je l'ai déjà démontré, des aimantations et des désaimantations
rapides des organes magnétiques qui sont mis en jeu par cette machine.
Ces effets, remarqués par M. Marcel Deprez, étaient particulièrement caractérisés
avec les premières machines de M. de Méritens.
Autres dispositions de microphones.—Une
disposition du genre de celle que nous venons de décrire a été employée
par M. Carette pour constituer un parleur microphone extrêmement énergique;
seulement au lieu d'une membrane tendue, il emploie une plaque métallique
mince; il colle l'un des charbons au centre de cette plaque et adapte
devant lui l'autre charbon qui est taillé en pointe et porté par un système
de porte-charbon à vis de réglage au moyen duquel on peut régler comme
on le veut la pression exercée entre les deux charbons. Avec cette disposition,
la parole peut être entendue à distance du téléphone récepteur. Elle est,
du reste, analogue à celle du transmetteur téléphonique de M. Edison.
En exécutant dans de grandes dimensions le système représenté,
fig. 42, et formant le cornet AB avec un grand entonnoir en zinc de près
de un mètre de longueur, M. de Méritens a pu parvenir à amplifier assez
les sons de la parole pour qu'une conversation faite à voix basse à trois
ou quatre mètres de cet instrument, ait été reproduite dans un téléphone
d'une manière plus sonore et plus distincte. L'appareil était placé sur
le plancher de l'appartement, l'ouverture de l'entonnoir en haut, et le
téléphone était dans les caves de la maison.
On a du reste varié de mille manières la forme du microphone
suivant les applications auxquelles on veut l'appliquer. C'est ainsi que
nous voyons dans l'English Mechanic and World of Science, du 28
juin 1878, les dessins de plusieurs dispositions dont l'une est spécialement
applicable à l'audition des pas d'une mouche; c'est une boîte à la partie
supérieure de laquelle est tendue une feuille de papier végétal; deux
charbons séparés par un petit morceau de bois et mis en rapport avec les
deux fils du circuit y sont collés, et un troisième charbon allongé, placé
en croix sur les deux autres, se trouve maintenu dans cette position par
une rainure pratiquée dans ceux-ci. Une pile très-faible suffit pour faire
fonctionner cet appareil, et la mouche se promenant sur la feuille de
papier détermine des vibrations assez fortes pour faire réagir énergiquement
un téléphone ordinaire. Il faut alors recouvrir l'appareil d'un globe
de verre. En plaçant une montre sur la membrane et en ayant soin d'appuyer
son bouton sur le morceau de bois séparant les deux charbons, le bruit
de ses battements peut être entendu dans toute une salle. On peut encore,
au lieu de l'arrangement de charbons décrit plus haut, employer deux cubes
de charbon juxtaposés et séparés seulement par une carte à jouer. Une
cavité semi-sphérique pratiquée à la partie supérieure de cette masse
entre les deux charbons et dans laquelle on place quelques petites boules
de charbon d'une grosseur intermédiaire entre celle d'un pois et celle
d'une graine de moutarde, permet d'obtenir des contacts multiples excessivement
mobiles et éminemment propres à des transmissions téléphoniques. Ces dispositions
ont été combinées par M. T. Cuttriss.
(p. 181) Il est encore beaucoup
d'autres dispositions de microphones imaginées par différents constructeurs
et inventeurs qui donnent des résultats plus ou moins satisfaisants, telles
sont celles de MM. Varey, Trouvé, Vercker, de Combettes, Loiseau, etc.,
etc., mais comme elles se rapprochent plus ou moins des types que nous
avons déjà décrits, nous n'en parlerons pas davantage.
Expériences faites avec le microphone.—Il
me reste maintenant à indiquer les expériences intéressantes qui ont conduit
M. Hughes à l'instrument remarquable dont nous venons de parler, et celles
qui ont été entreprises par d'autres savants, soit au point de vue scientifique,
soit au point de vue pratique.
Considérant que la lumière et la chaleur peuvent modifier
la conductibilité électrique des corps, M. Hughes s'est demandé si des
vibrations sonores transmises à un conducteur traversé par un courant
ne modifieraient pas aussi cette conductibilité en provoquant des contractions
et des dilatations des molécules conductrices, qui équivaudraient à des
raccourcissements ou à des allongements du conducteur ainsi impressionné.
Si cette propriété existait réellement, elle devrait permettre de transmettre
les sons à distance, car de ces variations de conductibilité devaient
résulter des variations proportionnelles de l'intensité d'un courant agissant
sur un téléphone. L'expérience qu'il fit sur un fil métallique tendu n'a
pas répondu toutefois à son attente, et ce n'est que quand le fil dut
vibrer assez fortement pour se rompre, qu'il entendit un son au moment
de la rupture. En rejoignant les deux bouts du fil, un son se produisit
encore, et il reconnut bientôt que pour en obtenir, il suffisait d'un
contact imparfait entre les deux bouts disjoints du fil. Il devint dès
lors manifeste, pour M. Hughes, que les effets qu'il prévoyait ne pouvaient
se produire qu'avec un conducteur divisé, et par suite de contacts imparfaits.
Il rechercha alors quel était le degré de pression le
plus convenable à exercer entre les deux bouts rapprochés du fil pour
obtenir le maximum d'effet, et pour cela il effectua cette pression à
l'aide de poids. Il reconnut que, quand elle était légère et qu'elle ne
dépassait pas celle d'une once par pouce carré, au point de jonction,
les sons étaient reproduits distinctement, mais d'une manière un peu imparfaite;
en modifiant les conditions de l'expérience, il put s'assurer bientôt
qu'il n'était pas nécessaire, pour obtenir ce résultat, que les fils fussent
réunis bout à bout, et qu'ils pouvaient être placés côte à côte sur une
planche ou même séparés (mais avec addition d'un conducteur posé en croix
sur eux), pourvu que les métaux en contact fussent du fer et qu'une pression
légère et constante pût les réunir métalliquement. L'expérience fut faite
avec trois pointes de Paris disposées comme on le voit fig. 43, et elle
a été répétée depuis, dans de meilleures conditions par M. Willoughby-Smith,
avec trois limes dites queues-de-rat qui permirent de transmettre le bruit
d'une faible respiration.
Fig. 43.
Il essaya ensuite différentes combinaisons de ce genre
présentant plusieurs solutions de continuité, et une chaîne d'acier lui
fournit d'assez bons résultats; mais les légères inflexions, c'est-à-dire
le timbre de la voix, manquaient, et il dut chercher d'autres dispositions.
Il essaya d'abord d'introduire aux points de contacts des poudres métalliques;
la poudre de zinc et d'étain connue dans le commerce sous le nom de bronze
blanc, améliora beaucoup les effets obtenus; mais ils n'étaient pas
stables à cause de l'oxydation des contacts, et c'est en essayant de résoudre
cette difficulté, ainsi qu'en cherchant la disposition la plus simple
pour obtenir une pression légère et constante sur ces contacts, que M.
Hughes fut conduit à la disposition des charbons mercurisés décrite précédemment
laquelle donna les effets maxima.
L'importance de l'effet obtenu dans le microphone dépend
du reste, d'après M. Hughes, du nombre et de la perfection des contacts,
et c'est sans doute pour cela que certaines positions du crayon, dans
l'appareil qui a été décrit plus haut, sont plus favorables que d'autres.
Pour concilier les résultats de ses expériences avec les
idées qu'il s'était faites, M. Hughes pensa que si les différences de
résistance provenant des vibrations du conducteur n'étaient pas produites
quand ce conducteur était entier, c'est que les mouvements moléculaires
se trouvaient arrêtés par des résistances latérales égales et contraires,
mais qu'il suffisait qu'une de ces résistances n'existât pas pour que
le mouvement moléculaire put se développer librement. Or un mauvais contact
équivalait, selon lui, à la suppression de l'une de ces résistances, et
du moment où ce mouvement pouvait se produire, les dilatations et contractions
moléculaires qui étaient la conséquence des vibrations, devaient correspondre
à des accroissements ou à des affaiblissements de résistance du circuit.
Nous ne suivrons pas davantage M. Hughes dans cette théorie, qui serait
assez longue à développer, et nous allons continuer notre examen des différentes
propriétés du microphone.
Le charbon, comme nous l'avons déjà dit, n'est pas la
seule substance qu'on peut employer à composer l'organe sensible de ce
système de transmetteur, M. Hughes a essayé d'autres substances et même
des corps très-conducteurs, tels que les métaux. Le fer lui a donné d'assez
bons résultats, et l'effet produit par des surfaces de platine dans un
grand état de division a été égal, sinon supérieur, à celui fourni par
le charbon mercurisé. Toutefois, comme avec ce métal on rencontre plus
de difficultés dans la construction des appareils, il donne la préférence
au charbon qui, comme lui, jouit de l'avantage de l'inoxydabilité.
Nous avons dit en commençant que le microphone pouvait
être employé comme thermoscope: mais il doit avoir alors la disposition
particulière que nous avons représentée fig. 40. Dans ces conditions,
la chaleur, en réagissant sur la conductibilité de ces contacts, peut
faire varier dans de si grandes proportions la résistance du circuit,
qu'en approchant la main du tube, on peut annuler le courant de trois
éléments Daniell. Il suffit, pour apprécier l'intensité relative de différentes
sources de chaleur, exposées devant l'appareil, d'introduire dans le circuit
des deux électrodes A et B, fig. 40, une pile P de un ou deux éléments
Daniell et un galvanomètre un peu sensible G. Un galvanomètre de cent
vingt tours est suffisant pour cela. Quand la déviation diminue, c'est
que la source calorifique est supérieure à la température ambiante; quand
elle augmente c'est qu'elle est inférieure. Les effets résultant de l'intervention
du soleil et de l'ombre se traduisent sur cet appareil, dit M. Hughes,
par des variations considérables dans les déviations du galvanomètre.
Il est même impossible de le tenir en repos, tant il est sensible aux
moindres variations de la température.
J'ai répété avec un seul élément Leclanché, les expériences
de M. Hughes et j'ai pour cela, employé un tuyau de plume rempli de cinq
fragments de charbon, provenant d'un des charbons cylindriques de petit
diamètre que fabrique M. Carré pour la lumière électrique. J'ai bien obtenu
les résultats qu'il indique; mais je dois dire que l'expérience est assez
délicate. En effet, quand les fragments de charbon sont trop serrés les
uns contre les autres, le courant passe avec trop de force pour que les
effets calorifiques puissent faire varier la déviation galvanométrique;
quand ils sont trop peu serrés, le courant ne passe pas. Il est donc un
degré moyen de serrage qui doit être effectué pour que les expériences
réussissent, et quand il est obtenu, on observe en approchant la main
du tube, qu'une déviation qui était de 90° diminue au bout de quelques
secondes et semble être en rapport avec le rapprochement plus ou moins
grand de la main. Mais c'est l'haleine qui produit les effets les plus
marqués, et je ne serais pas éloigné de croire que les déviations plus
ou moins grandes que provoquent les émissions des sons articulés quand
on prononce séparément les différentes lettres de l'alphabet, proviendraient
d'une émission plus ou moins grande et plus ou moins directe des gaz échauffés
sortant de la poitrine. Ce qui est certain, c'est que ce sont les lettres
qui provoquent les sons les plus accentués telles que, A, F, H, I, K,
L, M, N, O, P, R, S, W, Y, Z, qui déterminent les plus fortes déviations
de l'aiguille galvanométrique.
Dans mon mémoire sur la conductibilité des corps médiocrement
conducteurs, j'avais déjà signalé cet effet de la chaleur sur les corps
divisés, et j'avais de plus montré que, après une certaine déviation rétrograde
qui se produisait toujours au premier moment, il se manifestait un mouvement
en sens inverse de l'aiguille galvanométrique qui accusait, au bout de
quelques instants de chauffage, une déviation bien supérieure à celle
indiquée primitivement.
Dans une note publiée dans le Scientific American
du 22 juin 1878, M. Edison donne quelques détails intéressants sur l'application
de son système de transmetteur téléphonique à la mesure des pressions,
des dilatations et autres forces capables de faire varier la résistance
du disque de charbon de cet appareil par suite d'une compression plus
ou moins forte. Comme les expériences qu'il fit à ce sujet remontent au
mois de décembre 1877, il en conclut encore qu'il a la priorité de l'invention
du microphone employé comme thermoscope; mais nous devons lui faire observer
que, d'après la manière dont M. Hughes a disposé son appareil, l'effet
produit par la chaleur est précisément inverse de celui qu'il signale.
En effet, dans le dispositif adopté par M. Edison, la chaleur agit par
une augmentation de conductibilité qu'acquiert le charbon sous l'influence
d'une augmentation de pression déterminée par la dilatation d'un corps
sensible à la chaleur; dans le système de M. Hughes, la chaleur provoque
un effet diamétralement opposé, parce qu'elle n'agit alors que sur des
contacts et non par effet de pression. Aussi la résistance du microphone
thermoscope se trouve augmentée sous l'influence de la chaleur au lieu
d'être diminuée. Cet effet différent tient à la division du corps médiocrement
conducteur, et j'ai démontré que, dans ces conditions, ces corps, quand
ils ne sont chauffés que faiblement, déterminent toujours un affaiblissement
dans l'intensité du courant qu'ils transmettent. Je crois du reste, que
la disposition de M. Edison est meilleure comme appareil thermoscopique
et permet de mesurer des sources calorifiques beaucoup moins intenses.
S'il faut l'en croire, on pourrait avec son appareil non-seulement mesurer
(p. 189) la chaleur du rayonnement lumineux
des étoiles, de la lune et du soleil, mais encore les variations de l'humidité
de l'air et de la pression barométrique.
Fig. 44.
Cet appareil, que nous représentons figure 44 avec ses
différents détails et la disposition rhéostatique employée pour les mesures,
se compose d'une pièce métallique A fixée sur une planchette C et sur
l'un des côtés de laquelle est adapté le système de disques de platine
et de charbon D décrit page 77. Une pièce rigide G munie d'une crapaudine
soutient extérieurement ce système, et on introduit dans cette crapaudine
l'une des extrémités effilées d'un corps susceptible d'être impressionné
par la chaleur, l'humidité ou la pression barométrique. L'autre extrémité
est soutenue par une seconde crapaudine I adaptée à un écrou H susceptible
d'être plus ou moins serré par une vis de réglage. Si on introduit ce
système dans un circuit galvanométrique a b c i
g muni de tous les instruments de mesure électrique, les variations
de longueur du corps interposé se traduisent par des déviations de l'aiguille
galvanométrique plus ou moins grandes, qui sont la conséquence des différences
de pression résultant de l'allongement ou du raccourcissement du corps
dilatable interposé dans le circuit sur l'appareil.
Les expériences du microphone faites à la séance de la
Société des ingénieurs télégraphistes de Londres, le 23 mai dernier, ont
admirablement réussi et ont été l'occasion d'un article intéressant dans
l'Engineering du 31 mai, dans lequel on constate que toute l'assemblée
a pu entendre parler le téléphone, dont la voix se rapprochait beaucoup
de celle du phonographe. Quand on annonça que ces paroles avaient été
prononcées à une distance assez grande du microphone, le duc d'Argyle,
présent à la séance, tout en admirant l'importance de la découverte, ne
put s'empêcher de s'écrier que cette invention pourrait avoir des conséquences
terribles, ainsi, par exemple, dit-il, nous sommes à Downing-street, et
je ne puis m'empêcher de penser que si un des appareils du professeur
Hughes était placé dans la pièce où les ministres de Sa Majesté sont en
conférence, nous pourrions entendre d'ici tous les secrets de cabinet.
Si un de ces petits appareils pouvait être mis dans la poche de mon ami
Schouvaloff ou bien dans celle de lord Salisbury, nous serions tout à
coup en possession de ces grands secrets que tout ce pays et toute l'Europe
attendent avec une si grande anxiété. Si l'assurance qu'on donne que ces
appareils sont susceptibles de répéter toutes les conversations qui peuvent
se faire dans une pièce où ils sont placés, cela pourrait constituer un
véritable danger, et je pense que le professeur Hughes qui a inventé ce
magnifique et en même temps si dangereux instrument, devrait rechercher
maintenant un antidote à sa découverte. D'un autre côté, le docteur Lyon-Playfair
pense que le microphone devrait être appliqué à l'aérophone, pour qu'en
plaçant ces instruments dans les deux chambres du parlement, les discours
des grands orateurs puissent être entendus par toute une population sur
une étendue de quatre à cinq milles carrés.
Les essais du microphone faits récemment à Harlifax et
qui ont été rapportés dans les journaux anglais, montrent que les prévisions
du duc d'Argyle étaient parfaitement justifiées. Il paraîtrait en effet
qu'un dimanche un microphone ayant été placé sur la devanture de la chaire
d'un prédicateur à l'église d'Harlifax, et cet instrument étant relié
par un fil de 3 kilomètres à un téléphone placé près du lit d'un malade,
habitant un château voisin, ce malade a pu entendre toutes les prières,
les cantiques et le sermon. M. Hughes, qui m'avait communiqué cette nouvelle,
m'assurait qu'elle lui avait été donnée par des personnes dignes de foi,
et nous apprenons maintenant qu'il y a sept abonnés pour jouir de l'avantage
d'écouter les offices d'Harlifax, sans se déranger.
Le microphone a été aussi appliqué dernièrement à la répétition
à distance d'un opéra tout entier, et voici ce que dit à cet égard le
Journal télégraphique de Berne du 25 juillet:
Le 19 juin dernier a eu lieu à Billenzona (Suisse) une
curieuse expérience micro-téléphonique. Une troupe italienne de passage
devait donner ce jour-là, au théâtre de cette ville, l'opéra de Donizetti,
Don Pasquale. M. Patocchi, inspecteur-adjoint du VIe
arrondissement télégraphique de la Suisse, a eu l'idée de profiter de
cette occasion, pour expérimenter les effets combinés du microphone
à charbon de Hughes comme appareil transmetteur et du téléphone de Bell
comme appareil récepteur. À cet effet, il installa dans une loge de
premier rang, à côté du proscenium, un microphone Hughes qu'il relia
au moyen de deux fils de 1.1/2 millimètres de diamètre à quatre récepteurs
Bell disposés dans une salle de billard, au-dessus du vestibule du théâtre
même, salle où ne parvient aucun des bruits de l'intérieur du théâtre.
Dans le circuit, et près du microphone de Hughes, était intercalée une
petite pile de deux éléments du modèle ordinaire de l'administration
suisse.
Les résultats ont été aussi heureux et aussi complets
que possible. Les téléphones reproduisaient exactement, avec une clarté
et une netteté merveilleuse, aussi bien les sons de l'orchestre que
le chant des artistes. Plusieurs spectateurs ont constaté, avec M. Patocchi,
que l'on ne perdait pas une note des instruments ou des voix, qu'on
distinguait parfaitement les mots prononcés, que les airs étaient reproduits
dans leur ton naturel, avec toutes leurs nuances, les piano comme
les forte, les motifs doux comme les passage de force, et plusieurs
dilettanti amateurs ont même assuré à M. Patocchi que, par cette
seule audition au moyen des téléphones, l'on pouvait apprécier les beautés
musicales, les qualités des voix des artistes et généralement juger
de la pièce elle-même, comme pouvaient le faire les spectateurs à l'intérieur
du théâtre.
Les résultats ont été les mêmes en introduisant dans
le circuit des résistances jusqu'à 10 kilomètres sans augmenter le nombre
des éléments de la pile. C'est, croyons-nous la première expérience
de ce genre qui ait été faite, en Europe du moins, dans un théâtre et
sur un opéra complet; et ceux qui connaissent toute la légèreté et la
grâce des mélodies de Don Pasquale, apprécieront à quelle sensibilité
doit atteindre la combinaison du microphone de Hughes et du téléphone
de Bell, pour ne rien laisser perdre des délicatesses de cette musique.
Les expériences avec le microphone, quoique à leur début,
ont été cependant très-variées, et nous voyons dans les journaux anglais,
entre autres expériences curieuses, qu'on a voulu établir sur le même
principe un appareil sensible téléphoniquement aux variations d'une source
lumineuse. On sait que certains corps et particulièrement le sélénium
sont impressionnables électriquement à la lumière, c'est-à-dire que leur
conductibilité peut varier dans d'assez grandes proportions suivant la
quantité plus ou moins grande de lumière qui les éclaire. Or si on fait
passer brusquement un circuit dans lequel est interposé un corps de cette
nature, de l'obscurité à un éclairement un peu intense, il doit résulter
de l'augmentation subite de résistance qui en est la conséquence, un son
énergique dans un téléphone interposé dans le circuit. C'est en effet
ce que l'expérience a démontré, et M. Willoughby-Smith en tire la conséquence
que, conformément à ce que nous avons dit plus haut, les effets produits
dans le microphone sont la conséquence de variations de résistance dans
le circuit par suite de contacts plus ou moins intimes entre conducteurs
imparfaits.
Pour obtenir l'effet précédent dans ses meilleures conditions,
M. Siemens emploie deux électrodes composées par des réseaux de fils de
platine très-fins enchevêtrés les uns dans les autres, à la manière de
deux fourchettes dont les dents seraient intercalées dans leurs intervalles
réciproques. Ces électrodes sont introduites entre deux lames de verre,
et une goutte de sélénium versée au centre de ces réseaux, les réunit
sur une surface circulaire assez étendue pour établir une conductibilité
suffisante dans le circuit. Or c'est sur cette goutte ainsi étendue qu'on
doit projeter le rayon de lumière.
Une jolie expérience que l'on peut faire encore avec le
microphone est celle-ci: vous placez sur une planche en bois un peu grande,
une planchette à dessin par exemple, un microphone à charbon vertical
dont les extrémités sont bien pointues et qui est placé tout à fait verticalement.
On dispose dans le circuit un ou plusieurs téléphones, et si on les renverse
sur la planche de manière que leur membrane soit en regard de celle-ci,
on entend un roulement continu qui ressemble tantôt à un son musical,
tantôt au bruissement de l'eau bouillant dans une chaudière, et ce bruit
qui peut être entendu à distance, dure indéfiniment tant que la source
électrique est en activité. M. Hughes explique ce phénomène de la manière
suivante.
La moindre secousse qui mettra le microphone en action,
aura pour effet d'envoyer des courants plus ou moins interrompus à travers
les téléphones qui les transformeront en vibrations sonores, et celles-ci
étant transmises mécaniquement par la planche au microphone, entretiendront
son mouvement qui sera même amplifié et provoquera de nouvelles vibrations
sur les téléphones; d'où il résultera une nouvelle action sur le microphone
et ainsi de suite indéfiniment. D'un autre côté, en plaçant sur la même
planche un second microphone correspondant à un autre circuit téléphonique,
on peut en faire un appareil réagissant comme un relais télégraphique,
c'est-à-dire répétant à distance les bruits transmis à la planche, et
ces bruits répétés peuvent constituer soit un appel, soit les éléments
d'une dépêche dans le langage Morse, si l'on place dans le circuit du
premier microphone un manipulateur Morse. J'ai fait, dit M. Hughes, avec
cette disposition d'appareils, plusieurs expériences qui ont produit beaucoup
d'effet, quoique n'ayant employé qu'une pile de Daniell de six éléments
sans bobine d'induction. En adaptant au téléphone récepteur un cornet
en carton de 40 centimètres de longueur, on a pu entendre dans toute une
grande salle le bruit continu du relais, les battements d'une pendule
et le bruit fait par la plume en écrivant. Je n'ai pas essayé de transmettre
la parole parce que, dans ces conditions, elle n'aurait pas été reproduite
avec netteté.
L'idée d'employer le microphone comme relais était, du
reste, venue à l'esprit de plusieurs personnes et entre autres de M. Latimer-Clark
qui proposait pour cela de faire réagir l'armature d'un électro-aimant
introduit dans le circuit du microphone, sur un tube disposé comme on
l'a vu fig. 40 et réagissant lui-même sur le second circuit, c'est-à-dire
sur le circuit du téléphone. MM. Houston et Thomson en ont fait également
un dernièrement.
D'un autre côté lord Lindsay a imaginé d'adapter au microphone
une membrane résonnante, et il a obtenu par ce moyen une reproduction
excellente des sons musicaux produits par un piano; mais lorsque les vibrations
de cet instrument concordaient avec les vibrations fondamentales de la
membrane, un bruit très-fort se faisait entendre dans le téléphone, et
dans ce bruit, on distinguait non-seulement la note fondamentale de cette
membrane, mais encore toutes les vibrations sympathiques déterminées par
les cordes du piano réagissant les unes sur les autres.
Fig. 45.
En raison de son extrême sensibilité, cet appareil pourrait
permettre de constater les bruits produits à l'intérieur du corps humain
et servir par conséquent de stéthoscope pour l'auscultation des
poumons et des battements du cœur. Le Dr Richardson en Angleterre, conjointement
avec M. Hughes, s'occupe en ce moment de rendre pratique cette importante
application; mais jusqu'à présent les résultats obtenus n'ont pas été
très-satisfaisants. On espère toutefois y parvenir. En attendant M. Ducretet
a construit un microphone stéthoscopique que nous représentons fig. 45
et qui est d'une extrême sensibilité. C'est un microphone à charbon CP,
à simple contact, dont le charbon inférieur P est adapté à un tambour
à membrane vibrante de M. Marais T. Ce tambour est relié par un tube de
caoutchouc CC' à un autre tambour T' qui est destiné à être appliqué sur
les différentes parties du corps à ausculter, et que l'on appelle en conséquence
tambour explorateur; la sensibilité de l'appareil est réglée au
moyen d'un contrepoids PO, qui se visse sur le bras d'un levier bascule
LL, auquel est fixé le second charbon C. Tout le monde connaît la grande
sensibilité des tambours de M. Marais pour la transmission des vibrations,
et cette sensibilité étant encore augmentée par le microphone, l'appareil
acquiert une impressionnabilité extrême, peut-être même une trop grande,
car il révèle tout espèce de bruits qu'il est très-difficile de distinguer
les uns des autres. Du reste, cet appareil ne peut donner de bons résultats
que confié à des mains expérimentées, et il faudra évidemment une éducation
auditive particulière pour qu'on puisse en tirer parti.
Comme application de ce genre, la plus importante est
celle que vient d'en faire, conjointement avec M. Hughes, M. Henry Thompson
célèbre chirurgien anglais, pour l'exploration de la vessie dans la maladie
de la pierre. Au moyen de cet appareil, on peut en effet constater la
présence et préciser le siège des calculs pierreux qui peuvent s'y trouver,
quelques petits qu'ils soient d'ailleurs. On emploie pour cela une sonde
exploratrice composée d'une tige de Maillechort un peu recourbée par le
bout et qui est mise en communication avec un microphone sensible à charbon.
Quand, en promenant cette sonde dans la vessie, la tige en question rencontre
des particules pierreuses, fussent-elles de la grosseur d'une tête d'épingle,
le frottement qui en résulte détermine des vibrations qui se distinguent
parfaitement, dans le téléphone, de celles qui se produisent par la simple
friction de la tige sur les tissus mous des parois de la vessie. Toutefois,
M. Thompson prétend que pour obtenir de bons résultats de cette méthode,
il faut prendre certaines précautions. Il faut que l'instrument ne soit
pas trop sensible afin que la nature des bruits soit bien distincte, la
pile ne doit pas être trop forte, pour éviter les sons qui pourraient
résulter des bruits extérieurs. L'appareil est du reste disposé comme
on le voit fig. 46. Le microphone est placé dans le manche qui porte la
sonde et n'est autre que celui que nous avons représenté fig. 39, mais
avec de plus petites dimensions, et les deux fils conducteurs e
allant au téléphone, ressortent du manche par le bout a opposé
à celui bb où la sonde dd est vissée. Comme cet appareil
n'est pas destiné à reproduire la parole, on emploie des charbons de cornue
au lieu de charbons de bois.
Fig. 46.
On a pu encore par un moyen basé sur le principe du microphone,
faire entendre certains sourds dont l'oreille n'était pas encore tout
à fait insensibilisée. Pour obtenir ce résultat, on adapte devant les
deux oreilles du malade deux téléphones, reliés entre eux par une couronne
métallique appuyée sur l'os frontal, et on met les deux téléphones en
rapport avec un microphone muni de sa pile, lequel pend à l'extrémité
d'un double fil conducteur. Le malade conserve dans sa poche ce microphone,
et il le présente comme un cornet acoustique à son interlocuteur quand
il veut converser avec lui. Le microphone est alors constitué par le parleur
de M. Hughes représenté fig. 39.
Le microphone peut avoir encore beaucoup d'autres applications,
et voici ce que nous lisons à cet égard dans l'English Mechanic
du 21 Juin 1878: Au moyen de cet instrument, les ingénieurs pourront apprécier
les effets des vibrations occasionnées sur les édifices anciens et nouveaux
par le passage de lourdes charges; un soldat pourra reconnaître l'approche
de l'ennemi à plusieurs milles de distance et distinguer même s'il aura
affaire avec de l'artillerie ou de la cavalerie; la marche des navires
dans le voisinage des torpilles pourra même être annoncée à la côte, et
on pourra dès lors, à coup sûr, en déterminer l'explosion.
On a aussi proposé d'appliquer le microphone comme un
avertisseur des fuites de gaz dans les mines à charbon. Le gaz s'échappant
des crevasses de charbon, produit un son sifflant qui par le moyen du
microphone et du téléphone pourrait être entendu au haut des puits. D'un
autre côté, on a eu l'idée que le microphone pourrait être utilement employé
comme Séismographe pour signaler les bruits souterrains qui précèdent
généralement les tremblements de terre et les éruptions volcaniques, et
qui se trouveraient de cette manière notablement amplifiés. Cet appareil
pourrait même être d'un usage utile à M. Palmieri pour ses études à l'observatoire
du Vésuve.
Comme on devait s'y attendre, des réclamations de priorité
devaient être la conséquence de la grande faveur qui a accueilli l'invention
de M. Hughes, et même en dehors de la réclamation de M. Edison sur laquelle
nous avons exprimé notre opinion nous en trouvons plusieurs autres qui
montrent que, si quelques effets du microphone ont été découverts à différentes
époques avant M. Hughes, on n'y avait prêté qu'une très-médiocre attention
puisqu'ils n'ont même pas été publiés. De ce nombre sont celles de M.
Wentwork Lacelles-Scott enregistrées dans l'Electrician du 25 mai
1878, et celle de M. Weyher présentée à la Société de Physique de Paris
au mois de juin dernier; mais elles n'ont guère d'importance, attendu
que les dates auxquelles remontent les expériences de ces savants sont
encore postérieures à celles des premières expériences de M. Hughes; celles-ci
datent, en effet, du commencement de décembre 1877, et ont même été montrées
en janvier 1878 aux fonctionnaires de la Submarine Telegraph Company,
ainsi que le publie M. Preece dans une lettre adressée aux différents
savants.
Avant de terminer avec le microphone, je crois devoir
rappeler ici deux expériences intéressantes de M. Hughes, qui tout en
montrant que l'attraction magnétique n'entre pour rien dans la reproduction
de la parole, prouve que les effets électro-magnétiques peuvent se combiner
aux effets microphoniques.
1o Si une armature de fer doux est appliquée
sur les pôles d'un électro-aimant à deux branches solidement fixé sur
une planche, et qu'on interpose entre cette armature et les pôles magnétiques
des morceaux de papier afin d'éviter les effets de magnétisme condensé,
on peut, en reliant cet électro-aimant à un microphone parleur du modèle
de la fig. 39, entendre sur la planche servant de support à l'électro-aimant
les mots prononcés dans le parleur.
2o Si on oppose par leurs pôles de noms contraires
deux électro-aimants mis en rapport avec un microphone, en ayant soin
de séparer ces pôles par des morceaux de papier, on obtiendra clairement
la reproduction de la parole, sans qu'il y ait besoin d'armature ni de
diaphragme. Ces deux faits peuvent encore être opposés à la théorie soutenue
par M. Navez.
3o Si au lieu de faire passer le courant actionné
par un microphone à travers l'hélice d'un téléphone servant de récepteur,
on lui fait traverser directement le barreau aimanté de ce téléphone dans
le sens de son axe, c'est-à-dire d'un pôle à l'autre, on peut entendre
distinctement les paroles prononcées dans le microphone. Cette expérience,
qui est de M. Paul Roy, indiquerait, si elle est exacte, que les ondulations
électriques qui parcoureraient longitudinalement un aimant, en modifieraient
l'intensité magnétique. Cette expérience est toutefois à vérifier.
EFFETS DES ACTIONS EXTÉRIEURES SUR LES TRANSMISSIONS
TÉLÉPHONIQUES.
Les obstacles qu'on rencontre dans les transmissions téléphoniques
proviennent de trois causes; 1o de l'affaiblissement des sons
par suite des pertes de courant sur les lignes, pertes beaucoup plus grandes
avec les courants d'induction qu'avec les courants de pile; 2o
des mélanges produits par les dérivations des courants voisins; 3o
de l'induction des fils les uns sur les autres. Cette dernière influence
est beaucoup plus grande qu'on ne se le figure ordinairement. Placez côte
à côte deux fils parfaitement isolés, l'un en correspondance avec un circuit
de sonnerie trembleuse, l'autre avec un circuit de téléphone: ce dernier
répétera les bruits de la sonnerie avec une intensité souvent assez grande
pour fournir lui-même un appel sans qu'on ait l'appareil à l'oreille.
MM. Pollard et Garnier, dans leurs intéressantes expériences avec les
courants induits de la bobine de Ruhmkorff, ont reconnu qu'on pouvait
obtenir de cette manière, non-seulement les sons en rapport avec les courants
induits résultant de l'action du courant traversant l'hélice primaire,
mais encore ceux qui résultent de l'action des courants secondaires sur
d'autres hélices et qu'on a désignés sous le nom de courants de second
ordre. Ce sont ces différentes réactions qui font que les transmissions
téléphoniques faites sur les lignes télégraphiques se trouvent souvent
troublées par des bruits insolites qui viennent des transmissions électriques
sur les fils voisins; mais elles paraissent subir ces influences sans
s'éteindre, et il arrive que l'on peut entendre à la fois une conversation
parlée en langage ordinaire et une dépêche transmise dans le langage Morse.
À l'école d'artillerie de Clermont, on a établi à titre
d'expériences une communication téléphonique entre cette école et le champ
de tir qui est à une distance de 14 kilomètres. Une autre communication
du même genre est établie entre l'Observatoire de Clermont et celui du
Puy-de-Dôme à 15 kilomètres de distance. Ces deux lignes sont portées
par les mêmes poteaux sur un parcours de 10 kilomètres, et dans ce trajet
sur ces poteaux, se trouve un fil télégraphique ordinaire; enfin dans
cet espace, les poteaux pendant 300 mètres portent aussi sept autres fils
télégraphiques. Les deux fils téléphoniques sont d'ailleurs éloignés de
0m,85 l'un de l'autre. Dans ces conditions on a constaté:
1o Que le téléphone de l'école lit très-bien,
par le son, les dépêches Morse qui passent dans le télégraphe sur les
deux fils qui l'avoisinent, mais que le tic-tac de l'appareil ne gêne
en rien le passage ni l'audition de la communication verbale du téléphone;
2o Que les deux lignes téléphoniques voisines,
quoique ne se touchant pas, et sans communication entre elles, mélangent
cependant leurs dépêches, et il est arrivé qu'on a pu entendre à l'école
par le fil venant du champ de tir, des dépêches du Puy-de-Dôme, et qu'on
a pu y répondre, sans que nulle part la distance entre les fils des deux
lignes fut moindre que 85 centimètres.
On a pu remédier un peu à ces inconvénients en interposant
dans le circuit de fortes résistances, ou en établissant des dérivations
à la terre à une certaine distance des postes téléphoniques.
Suivant M. Izarn, professeur de physique au lycée de Clermont,
les courants électriques téléphoniques pourraient très-bien se dériver
par la terre, surtout quand ils rencontreraient sur leur passage des conducteurs
métalliques comme des conduites d'eau ou de gaz. Voici ce qu'il dit dans
une note adressée à l'académie des sciences le 13 mai 1878. J'ai installé
au lycée de Clermont un téléphone sur un fil unique d'une cinquantaine
de mètres, qui, traversant la grande cour du lycée, va du laboratoire
de physique où il s'accroche à un bec de gaz, à une pièce placée près
de la loge du concierge où il s'accroche à un autre bec de gaz. En appliquant
l'oreille au téléphone, j'entends très-nettement les signaux télégraphiques
Morse ou autres qui proviennent soit du bureau télégraphique de Clermont,
soit du bureau téléphonique fonctionnant entre l'école d'artillerie de
Clermont et le polygone de tir, établi à 14 kilomètres de la ville au
pied du Puy-de-Dôme. J'entends même des paroles et surtout des commandements
militaires émis dans le téléphone du polygone et destinés à être entendus
à l'école. Or mon fil est absolument indépendant de ceux où circulent
ces signaux; il en est même très-éloigné; mais comme les prises de terre
du bureau télégraphique et de l'école d'artillerie se font à une petite
distance des tuyaux de gaz, il n'est pas douteux que le phénomène ne soit
dû à une dérivation du courant produite à travers mon fil par l'intermédiaire
du sol et du réseau métallique des tuyaux.
Cette remarque avait été déjà faite par M. Preece dans
sa notice: Sur quelques points physiques en rapport avec le téléphone.
D'un autre côté, nous lisons dans le Telegraphic journal du 15
juin 1878, que dans un concert téléphonique, transmis de Buffalo à New-York,
les chanteurs de Buffalo ont été entendus dans un bureau particulier placé
en dehors du circuit télégraphique sur lequel s'opérait la transmission.
Après informations, on reconnut que le fil à travers lequel la transmission
téléphonique s'effectuait dans ce bureau, se rapprochait en un point de
son parcours de celui qui transmettait directement les sons musicaux;
mais la distance entre les deux fils n'était pas moindre de dix pieds.
Avec les circuits entièrement métalliques, les effets
des mélanges sont beaucoup moins à craindre, et suivant M. Zetzche, on
n'entend que très-peu et seulement par instants, les sons provenant d'autres
fils; on entend donc beaucoup mieux et plus aisément avec cette disposition
qu'avec la disposition ordinaire. Ce ne sont pas d'ailleurs, dit-il, les
résistances des fils, mais bien plutôt les dérivations de courant près
des poteaux qui présentent des obstacles pour les correspondances téléphoniques
échangées sur de longues lignes aériennes. J'ai pu en avoir la preuve
dans les expériences suivantes: Ayant relié la ligne télégraphique de
Dresde à Chemnitz à l'une des lignes de Chemnitz à Leipzig (87 kil.),
ce qui fournissait un circuit de 167 kilomètres communiquant à la terre
à ses deux extrémités, Dresde et Leipzig n'ont pu s'entretenir, tandis
que Dresde et Chemnitz le pouvaient très-bien malgré la plus grande étendue
de la ligne. Ayant fait supprimer la communication à la terre, d'abord
à Leipzig, puis à Leipzig et à Dresde simultanément, j'ai constaté les
effets suivants: Avec l'isolation effectuée à Leipzig seulement, les stations
de Dresde, de Riesa, Wurzen purent bien s'entendre au moyen du téléphone;
mais avec l'isolation de la ligne aux deux extrémités, les deux dernières
stations communiquèrent bien entre elles, mais la station intermédiaire
fit remarquer qu'elle entendait mieux les mots prononcés à Wurzen que
l'on n'entendait à Wurzen les paroles dites à Riesa. Dans les deux cas,
le téléphone reproduisait distinctement les signaux télégraphiques émis
sur les fils parallèles à celui de la ligne d'essai. Or, comme Wurzen,
n'est qu'à 26,6 kilomètres de Leipzig, tandis que Riesa se trouve à une
distance de 49 kilomètres de Dresde, et qu'il y a, par conséquent, sur
ce dernier parcours à peu près une fois autant de poteaux offrant aux
courants des dérivations à la terre, j'ai cru pouvoir en conclure que
c'était par les dérivations qu'on pouvait expliquer la possibilité de
correspondre sur une ligne isolée et la perception plus distincte des
sons à la station de Riesa, laquelle provenait de la plus grande intensité
de courant restant encore sur la ligne.
Il est aussi certaines vibrations résultant de l'action
des courants d'air sur les fils télégraphiques et qui leur font émettre
ces bourdonnements bien connus sur certaines lignes, qui peuvent encore
réagir sur le téléphone; mais elles sont alors le plus souvent propagées
mécaniquement, et on peut les distinguer des autres, quand les sons qui
en résultent sont entendus après qu'on a exclu le téléphone du circuit
par une fermeture à court circuit, et après avoir supprimé la communication
à la terre établie en arrière du téléphone.
Les réactions d'induction exercées par les fils de ligne
les uns sur les autres ne sont pas les seules qui puissent être accusées
sur un circuit téléphonique: toute manifestation électrique produite dans
le voisinage d'un téléphone peut déterminer des sons plus ou moins forts.
Nous en avons déjà eu la preuve dans les expériences de M. d'Arsonval,
et voici quelques expériences de M. Demoget qui le démontrent de la manière
la plus notoire. En effet si devant l'un des téléphones d'un circuit téléphonique,
on place un petit électro-aimant droit muni d'un trembleur, et que, pour
écarter l'influence du son produit par le trembleur, on enlève la lame
vibrante du téléphone, on entend parfaitement sur le second téléphone
du circuit le bourdonnement du trembleur, qui atteint son maximum quand
les deux extrémités de l'électro-aimant sont le plus rapprochées possible
du téléphone sans diaphragme, et son minimum quand cet électro-aimant
lui est présenté suivant sa ligne neutre. D'après M. Demoget, l'action
exercée dans cette circonstance pourrait être considérée comme celle d'un
aimant exerçant deux actions inductrices opposées et symétriques, dont
le champ serait limité par un double paraboloïde, ayant pour grand axe,
dans ses expériences, 0m,55 de longueur au delà du noyau magnétique,
et pour grand diamètre perpendiculaire, 60 centimètres. Il croit que par
ce moyen on pourrait aisément télégraphier dans le système Morse, et qu'il
suffirait pour cela d'adapter une clef à l'électro-aimant inducteur.
Pour surmonter les difficultés que présentent les réactions
d'induction des fils les uns sur les autres dans les transmissions téléphoniques,
M. Preece indique trois moyens:
1o Augmenter l'intensité des courants transmis
de manière à les faire prédominer notablement sur les courants induits,
et réduire la sensibilité du téléphone de réception;
2o Mettre le fil téléphonique à l'abri de l'induction.
3o Neutraliser les effets d'induction.
Le premier moyen peut être réalisé par le système à pile
d'Edison, et nous avons vu qu'il a fourni des résultats avantageux.
Pour mettre à exécution le second moyen, M. Preece considère
qu'il y a lieu de se préoccuper des deux sortes d'inductions qui se développent
sur les lignes télégraphiques: de l'induction électro-statique, analogue
à celle qui se produit sur les câbles immergés, et en second lieu de l'induction
électro-dynamique résultant de l'électricité en mouvement. Dans le premier
cas, M. Preece propose d'interposer entre le fil téléphonique et les autres
fils, un corps conducteur en communication avec la terre, et susceptible
de former écran à l'induction en absorbant lui-même les effets électro-statiques
produits. Ce problème pourrait être résolu, suivant lui, en entourant
les fils télégraphiques avoisinant le fil téléphonique, d'une enveloppe
métallique, ou en les immergeant dans l'eau. Bien que par ce dernier moyen,
dit-il, on n'élimine pas complétement les effets d'induction statique,
en raison de la mauvaise conductibilité de ce corps, on peut les réduire
considérablement, ainsi que mes expériences entre Dublin, Holyhead, Manchester
et Liverpool l'ont démontré. Dans le second cas, M. Preece admet qu'une
enveloppe de fer est susceptible de paralyser les effets électro-dynamiques
déterminés, en les absorbant; de sorte qu'en employant des fils isolés
recouverts d'une garniture de fer mise en communication avec le sol, on
annulerait les deux réactions d'induction. Nous ne suivrons pas M. Preece
dans la théorie qu'il donne de ces effets, théorie qui nous paraît tout
au moins discutable, et nous nous contenterons de l'indication du moyen
d'atténuation qu'il propose.
Pour mettre à exécution le troisième moyen, on pourrait
croire qu'il suffirait de supprimer les communications avec la terre et
d'employer un fil de retour, car dans ces conditions, les courants d'induction
déterminés sur l'un des fils devraient se trouver neutralisés par ceux
qui résulteraient de la même induction sur le second fil, et qui se trouveraient
alors agir dans un sens opposé; mais ce moyen ne peut être efficace qu'autant
que la distance entre les deux fils téléphoniques est très-petite et que
leur éloignement des autres fils est considérable. Quand il n'en est pas
ainsi et qu'ils se trouvent tous très-rapprochés, comme cela a lieu dans
les câbles sous-marins ou souterrains à plusieurs fils, ce moyen est tout
à fait insuffisant. En prenant comme ligne aérienne un petit câble renfermant
deux conducteurs isolés avec de la gutta-percha, on peut obtenir de très-bons
résultats.
L'emploi de deux conducteurs a encore l'avantage d'éviter
les inconvénients des dérivations sur la ligne et à travers le sol qui,
quand les communications à la terre ne sont pas parfaites, permettent
au courant d'une ligne de passer plus ou moins facilement à travers la
ligne téléphonique.
En outre des causes de perturbation que nous venons d'énumérer,
il en est d'autres qui sont également très-appréciables dans les transmissions
téléphoniques, et, parmi elles, nous devrons citer les courants accidentels
qui se produisent constamment sur les lignes télégraphiques. Ces courants
peuvent provenir de bien des causes, tantôt de l'électricité atmosphérique,
tantôt du magnétisme terrestre, tantôt d'effets thermo-électriques produits
sur les lignes, tantôt de réactions hydro-électriques déterminées sur
les fils et les plaques de communication avec le sol. Ces courants sont
toujours très-instables, et ils doivent, par conséquent, en réagissant
sur les courants transmis, les altérer plus ou moins et déterminer par
cela même des sons sur le téléphone. Suivant M. Preece, le bruit provenant
des courants telluriques se rapproche un peu de celui d'une cascade. Les
décharges d'électricité atmosphérique, même quand l'orage est éloigné,
déterminent un son plus ou moins sec suivant la nature de la décharge.
Quand elle est diffuse et qu'elle éclate à peu de distance, le bruit produit
ressemble, d'après le docteur Channing de La Providence, à celui que produit
une goutte de métal en fusion quand elle tombe dans de l'eau, ou bien
encore à celui d'une fusée volante tirée à distance; dans ce cas, il paraîtrait
que le son serait perçu avant l'apparition de l'éclair, ce qui démontre
bien que les décharges électriques atmosphériques ne se produisent qu'à
la suite d'un mouvement électrique déterminé dans l'air. Quelquefois,
dit M. Preece, on entend un son lamentable, un son que l'on a comparé
au cri d'un oiseau naissant, et qui doit provenir des courants induits
que le magnétisme terrestre doit déterminer dans les fils télégraphiques
quand ils sont mis en mouvement vibratoire par les courants d'air.
Dernièrement M. Gressier, dans une communication faite
à l'Académie des sciences le 6 mai 1878, a mentionné quelques-uns de ces
bruits, mais il s'est tout à fait trompé sur l'origine qu'il leur a supposée.
Indépendamment du grésillement dû aux appareils télégraphiques
mis en action sur les lignes voisines, dit-il, il se produit dans le téléphone
un bruissement très-confus, un froissement assez intense parfois pour
faire croire que la plaque vibrante va se déchirer. C'est plutôt le soir
que le jour qu'on entend ce bruissement qui devient même insupportable
et empêche de se comprendre au téléphone, alors qu'on n'est plus troublé
par le travail des bureaux. On entend ce bruit quand on ne fait usage
que d'un seul téléphone. Un bon galvanomètre interposé dans le circuit
a montré la présence de courants assez sensibles, tantôt dans un sens,
tantôt dans un autre.
Ces courants que j'ai étudiés pendant longtemps avec le
galvanomètre et qui ont été l'objet de quatre mémoires présentés par moi
à l'académie des sciences en 1872, n'ont généralement aucun rapport avec
l'électricité atmosphérique, comme le croit M. Gressier, et proviennent
soit d'actions thermo-électriques, soit d'actions hydro-électriques. Ils
se manifestent toujours et en tous temps sur les lignes télégraphiques,
qu'elles soient isolées à l'une de leurs extrémités ou en contact avec
la terre par les deux bouts. Dans le premier cas, les électrodes polaires
du couple sont constituées par le fil télégraphique et la plaque de terre,
ordinairement de la même nature, et le milieu conducteur intermédiaire
est représenté par les poteaux souteneurs du fil et le sol qui complètent
le circuit. Dans le second cas, le couple est constitué à peu près de
la même manière, mais la différence de composition chimique des terrains
aux deux points où les plaques de terre sont enterrées, et souvent leur
différence de température, exercent un effet prédominant. Si l'on ne considère
que le premier cas, il arrive le plus souvent, par les beaux jours de
l'été, que les courants produits pendant la journée sont inverses de ceux
qui sont produits pendant la nuit, et varient avec la température ambiante
dans l'un et l'autre sens. La présence ou l'absence du soleil, le passage
des nuages, les courants d'air, entraînent même des variations très-brusques
et très-caractérisées que l'on peut suivre facilement sur le galvanomètre
et qui engendrent des sons plus ou moins accentués dans le téléphone.
Pendant le jour, ces courants sont dirigés de la ligne
télégraphique à la plaque de terre, parce que le fil est plus échauffé
que la plaque, et ces courants sont alors thermo-électriques. Pendant
la nuit, le contraire a lieu parce que le serein, en tombant, provoque
sur le fil un refroidissement et y détermine une oxydation plus grande
que celle qui est effectuée sur la plaque de terre, et les courants
sont alors surtout hydro-électriques.
J'ai insisté un peu sur ces courants parce que, par suite
d'une fausse interprétation de leur origine, on a cru que le téléphone
pourrait servir à l'étude des variations de l'électricité atmosphérique
répandue normalement dans l'air; or, cette application du téléphone serait
dans ces conditions, non-seulement inutile, mais encore pourrait égarer
les observateurs en leur faisant faire des recherches sur des phénomènes
très-compliqués, dont l'étude ne conduirait à rien de plus que ce que
j'ai dit dans mes différents mémoires sur cette question.
Il est aussi certaines actions locales qui peuvent déterminer
des sons sur le téléphone. Ainsi la distension du diaphragme sous l'influence
de la chaleur humide de la respiration, quand on porte l'appareil devant
la bouche pour parler, détermine un bruissement qui est facile à percevoir.
En raison des réactions électro-statiques si énergiques
déterminées sur les câbles sous-marins par suite des transmissions électriques,
on pouvait craindre que l'on ne pût correspondre facilement à travers
ces sortes de conducteurs au moyen du téléphone, et pour s'en assurer,
on fit une expérience entre Guernesey et Darmouth à travers un câble de
soixante milles de longueur. On reconnut avec surprise et satisfaction
que les articulations de la parole étaient parfaitement effectuées, seulement
un peu voilées. D'autres expériences entreprises par MM. Preece et Willmot
sur un câble sous-marin artificiel placé dans des conditions analogues
à celui des États-Unis, démontrèrent que sur une longueur de cent milles,
on pouvait facilement entretenir une correspondance téléphonique, bien
que les effets d'induction fussent manifestes. Sur une longueur de cent
cinquante milles, il devint assez difficile de s'entendre, et les sons
étaient considérablement affaiblis; il semblait qu'on parlait à travers
une épaisse cloison. Les sons diminuèrent rapidement jusqu'à deux cents
milles, et à partir de là, la parole devint complétement indistincte,
quoique le chant pût être encore perçu. On put même l'entendre sur toute
la longueur du câble, c'est-à-dire sur une longueur de trois mille milles;
mais cela tenait, suivant M. Preece, à l'induction du condensateur sur
lui-même; néanmoins M. Preece croit que le chant peut être entendu à une
bien plus grande distance que la parole, en raison de la plus grande régularité
dans la succession des ondes électriques.
J'ai expérimenté aussi, dit M. Preece, des câbles souterrains
entre Manchester et Liverpool sur une longueur de trente milles, et je
n'ai rencontré aucune difficulté dans la correspondance que j'ai échangée;
il en a été de même sur le câble de Dublin à Holyhead ayant soixante-sept
milles de longueur. Celui-ci avait 7 fils conducteurs, et quand le téléphone
était réuni à l'un des fils, on pouvait entendre la répétition des sons
à travers tous les autres, mais à un degré plus faible. Quand les fils
fonctionnaient avec les courants des appareils télégraphiques, l'induction
était manifeste, mais elle ne suffisait pas pour empêcher les communications
téléphoniques.
INSTALLATION D'UN POSTE-TÉLÉPHONIQUE.
Bien que le système télégraphique par le téléphone soit
très-simple, il exige pourtant, pour le service qu'on peut demander à
cet instrument, certaines dispositions accessoires qui sont indispensables.
Ainsi, par exemple, il est nécessaire que l'on soit appelé au moyen d'un
appareil d'alarme pour qu'on puisse savoir quand l'échange des correspondances
doit avoir lieu, et il (p. 217) faut également
que l'on soit prévenu si l'appel a été entendu. Une sonnerie électrique
est donc le complément indispensable du téléphone, et comme le même circuit
peut être employé pour les deux systèmes d'appareils à la condition de
se servir d'un commutateur, on dut, pour conserver au système sa simplicité
de manipulation qui en faisait le principal mérite, rechercher un moyen
de faire réagir ce commutateur automatiquement et, pour ainsi dire, à
l'insu de ceux appelés à faire usage de l'appareil.
Système de MM. Pollard et Garnier.—Dès
le mois de mars dernier, MM. Pollard et Garnier avaient imaginé dans ce
but un dispositif qui leur a parfaitement réussi et qui utilisait le poids
de l'instrument comme moyen d'action sur le commutateur.
À cet effet, ils suspendaient l'instrument à l'extrémité
d'une lame de ressort fixée entre les deux contacts du commutateur. Le
fil du circuit correspondait à cette lame, et les deux contacts correspondaient
l'un avec le téléphone, l'autre avec la sonnerie. Quand le téléphone pendait
au-dessous du ressort-support, c'est-à-dire quand il n'était pas mis en
action, son poids faisait abaisser la lame de ressort sur le contact inférieur,
et la communication de la ligne avec la sonnerie était établie; quand,
au contraire, le téléphone était soulevé pour s'en servir, la lame de
ressort venait toucher le contact supérieur, et la communication était
établie entre la ligne et le téléphone. Pour faire fonctionner la sonnerie,
il ne s'agissait donc que d'établir sur le fil de liaison de la ligne
avec le contact de sonnerie du commutateur, un interrupteur de courant
à la fois conjoncteur et disjoncteur, mis en rapport d'un côté avec le
contact de sonnerie, de l'autre avec la pile de cette sonnerie. Un simple
bouton de sonnerie électrique ordinaire pouvait suffire pour cela en y
adaptant un second contact; mais MM. Pollard et Garnier ont préféré que
cette action se fît aussi automatiquement, et ils ont en conséquence combiné
le dispositif que nous représentons fig. 47.
Fig. 47.
Dans ce système, comme du reste dans ceux qui ont été
combinés depuis, on met à contribution deux téléphones: l'un que l'on
applique constamment contre l'oreille, l'autre que l'on tient devant la
bouche pour être en mesure de parler tout en écoutant. Ces téléphones
sont soutenus par trois fils dont deux contiennent des conducteurs souples;
le troisième ne joue d'autre rôle que celui de soutien.
Des quatre fils des deux téléphones, deux sont réunis
l'un à l'autre, et les deux autres sont reliés à deux boutons d'attache
du commutateur t, t'; les cordons sans conducteurs sont
suspendus aux extrémités des deux lames flexibles l, l'
qui correspondent à la terre et à la ligne.
Au repos, le poids des téléphones fait appuyer les deux
lames l, l' sur les contacts inférieurs S, S'; mais lorsqu'on
prend à la main ces appareils, ces lames appuient contre les contacts
supérieurs.
Les deux fils de la sonnerie aboutissent aux contacts
inférieurs, ceux des téléphones aux contacts supérieurs, et les pôles
de la pile sont reliés, l'un au contact inférieur de gauche S', l'autre
au contact supérieur de droite T.
Au repos, le système est sur sonnerie, et le courant envoyé
de la station opposée, suivrait le circuit LlSS'S'l'T';
on pourrait donc être appelé; mais si on prend les deux téléphones à la
main, le circuit est coupé à travers la sonnerie et établi à travers les
téléphones; de sorte que le courant suit le trajet LlTtt'T'l'T.
Si on ne soulève qu'un téléphone à la fois, le courant est envoyé à la
sonnerie du poste opposé, et suit la route +PtLTtl'S'P-.
On fait donc ainsi, sans s'en douter, les trois manœuvres nécessaires
pour appeler, correspondre et mettre l'appareil en position de fournir
un appel.
Fig. 48.
Système de MM. Bréguet et Roosevelt.—Dans
le système établi par la compagnie Bell à Paris, le dispositif est à peu
près semblable au précédent, seulement il n'y a qu'un commutateur à ressort,
et c'est avec un bouton de sonnerie ordinaire qu'on provoque les appels.
Sur une planchette d'acajou suspendue à la muraille, sont disposées d'abord
une sonnerie trembleuse ordinaire au-dessous de laquelle est fixé un bouton
transmetteur, et en second lieu deux fourches servant de support aux deux
téléphones et dont une est adaptée à la bascule d'un commutateur disposé
comme une clef de Morse. Les deux téléphones sont reliés, par deux fils
conducteurs disposés de manière à être extensibles, à quatre boutons d'attache
dont deux sont reliés directement l'un à l'autre et les deux autres à
la ligne, à la terre et à la pile par l'intermédiaire du commutateur,
du bouton transmetteur et de la sonnerie. La figure 48 montre ce dispositif.
Le commutateur A se compose d'une bascule métallique ac
portant au-dessus de son point d'articulation, la fourche de suspension
F' de l'un des téléphones; elle se termine par deux taquets a et
c au-dessous desquels sont fixés les deux contacts du commutateur,
et un ressort presse le bras inférieur de la bascule de manière à faire
appuyer constamment l'autre bras contre le contact supérieur. Pour plus
de sûreté, une languette d'acier ab adaptée à l'extrémité inférieure
de la bascule, frotte contre une colonnette b munie de deux contacts
isolés qui correspondent à ceux de la planchette. La bascule est en communication
avec le fil de ligne par l'intermédiaire du bouton d'appel, et les deux
contacts dont nous venons de parler, correspondent l'un, le supérieur,
avec l'un des fils des téléphones qui sont intercalés dans le même circuit,
l'autre avec la sonnerie S, qui elle-même communique à la terre. Il résulte
de cette disposition, que quand le téléphone de droite appuie de tout
son poids sur son support, la bascule du commutateur est inclinée sur
le contact inférieur, et, par conséquent, la ligne est mise directement
en rapport avec la sonnerie, ce qui permet d'appeler la station. Quand,
au contraire, le téléphone est enlevé de son support, la bascule est sur
le contact supérieur, et les téléphones sont reliés à la ligne.
Pour appeler la station en correspondance, il suffit d'appuyer
sur le bouton transmetteur; alors la liaison de la ligne avec les téléphones
est brisée et établie avec la pile du poste, laquelle envoie un courant
à travers la sonnerie du poste correspondant. Pour obtenir ce double effet,
le ressort de contact du bouton transmetteur appuie en temps ordinaire
contre un contact adapté à une équerre qui l'enveloppe par sa partie antérieure,
et, au-dessous de ce ressort, se trouve un second contact qui communique
avec le pôle positif de la pile du poste. L'autre contact correspond au
fil de ligne, et une liaison est établie entre le fil de terre et le pôle
négatif de la pile du poste, ce qui fait que ce fil de terre est commun
à trois circuits:
- 1o Au circuit des téléphones;
- 2o Au circuit de la sonnerie;
- 3o Au circuit de la pile locale.
La seconde fourche qui sert de support au téléphone de
droite est fixée sur la planchette et n'a aucun rôle électrique à remplir.
Il est facile de comprendre que ce dispositif peut être
varié de mille façons différentes, mais nous nous bornerons au modèle
que nous venons de décrire qui est le plus pratique.
Système de M. Edison.—Avec les téléphones
à pile, le problème est plus complexe, à cause de l'emploi d'une pile
qui doit être commune à deux systèmes d'appareils, et de la bobine d'induction
qui doit être intercalée dans deux circuits distincts. La figure 49 représente
le modèle qui a été adopté pour le téléphone de M. Edison. Dans ce dispositif,
la planchette d'acajou porte au milieu une petite étagère C pour y poser
les deux téléphones par leur partie plate. La sonnerie S est mise en action
par un parleur électro-magnétique P qui peut servir, par l'adjonction
d'une clef Morse M au système, à l'échange d'une correspondance en langage
Morse, si les téléphones faisaient défaut, ou pour l'organisation de ces
téléphones eux-mêmes.
Au-dessous de ce parleur, est disposé un commutateur à
bouchon D pour mettre la ligne en transmission ou en réception, avec ou
sans sonnerie, et enfin au-dessous de la planchette étagère C, est disposée,
dans une petite boîte fermée E, la bobine d'induction destinée à transformer
les courants voltaïques en courants induits.
Fig. 49.
Quand le commutateur est placé sur réception, la ligne
correspond directement soit au parleur, soit au téléphone récepteur, suivant
le trou dans lequel le bouchon est introduit; quand, au contraire, il
est placé sur transmission, la ligne correspond au circuit secondaire
de la bobine d'induction. Dans ces conditions, la manœuvre ne peut plus
être automatique; mais comme ce genre de téléphone ne peut être appliqué
avec avantage que pour la télégraphie et que ce sont alors des personnes
habituées aux appareils électriques qui en font usage, cette complication
ne peut présenter d'inconvénients.
SONNERIES D'APPEL ET AVERTISSEURS.
Les sonneries d'appel appliquées aux services téléphoniques
ont été combinées de diverses manières. Quand on emploie les sonneries
trembleuses, comme dans les cas dont il a été question précédemment, il
devient nécessaire d'employer une pile, et le grand avantage que présente
le téléphone à courants induits se trouve ainsi notablement amoindri.
On a donc cherché à se passer de pile et on a imaginé d'employer des sonneries
magnéto-électriques.
Ce sont généralement deux timbres entre lesquels oscille
un marteau, dont le support est constitué par l'armature polarisée d'un
électro-aimant. Au-dessous de ce système, est disposé l'appareil magnéto-électrique
qui, étant tourné à l'aide d'une manivelle, envoie les courants alternativement
renversés, nécessaires pour communiquer au marteau un mouvement vibratoire,
et ce mouvement est suffisant pour faire carillonner les deux timbres.
Au-dessous de la manivelle de ce système magnéto-électrique, se trouve
un commutateur à deux contacts qui dispose l'appareil pour la réception
ou la transmission.
Dans un autre système imaginé en Allemagne, on utilise
le téléphone lui-même pour l'avertissement, et voici comment.
À l'état de repos, le téléphone transmetteur est remplacé
par un système semblable qui est terminé par un cornet allongé en forme
de porte-voix. Au poste opposé se trouve un timbre en acier de 12 centimètres
environ de diamètre, qui peut être frappé aisément par un marteau en bois
dur monté sur un ressort. Perpendiculairement à la direction du choc et
un peu au-dessous du timbre, est placé, en face de son ouverture, un barreau
aimanté qui est en communication avec la ligne téléphonique par des bobines
d'induction. Lorsque le timbre frappé par le marteau entre en vibration
en rendant un son strident, le barreau aimanté est influencé, et transmet
à l'autre station ce son qui a une intensité beaucoup plus grande que
la voix humaine, et le pavillon du porte-voix concentrant les vibrations
aériennes résultantes, fait entendre ce son dans toute l'étendue de l'appartement
où est l'expérimentateur; on est ainsi dispensé de l'emploi de la sonnerie
électrique et de sa pile qui sont étrangères au téléphone.
La Compagnie du téléphone Bell à Paris a disposé encore
un petit système d'appel, qui est bien suffisant et qui a l'avantage de
servir de téléphone eu même temps. C'est un modèle analogue à celui que
nous avons désigné sous le nom de téléphone à tabatière, et qui possède
un commutateur à bouton au moyen duquel la ligne est mise en rapport avec
le système électro-magnétique de l'appareil, ou avec une pile capable
de faire vibrer assez énergiquement ce genre de téléphone. Quand on appelle,
on presse le bouton, et le courant de la pile est envoyé à travers l'appareil
correspondant qui se met à vibrer sous l'influence d'un cri que l'on émet,
et quand on est prévenu que le signal est reçu, on abandonne le bouton,
ce qui permet de parler et de recevoir comme avec des téléphones ordinaires.
Fig. 50.
Système de M. de Weinhold.—M. Zetzche
parle avec éloge d'un avertisseur, combiné par le professeur A. de Weinhold
qui est, du reste, analogue à celui de M. Lorenz que nous représentons
fig. 50, et dont l'organe sonore est un timbre d'acier T de 13 à 14 centimètres
de diamètre accordé à environ 420 doubles vibrations par seconde. Ce diamètre
et cet accordement, dit-il, ne semblent pas sans quelque importance, et
l'on ne peut s'en éloigner beaucoup sans nuire à l'effet. Le timbre a
son orifice tourné en bas, et est fixé par son milieu sur un support.
Ce dernier est traversé par une barre aimantée recourbée légèrement, pourvue
à ses deux extrémités d'appendices en fer entourés de bobines d'induction
N, S. Le barreau aimanté du téléphone se termine également par un appendice
en fer renfermé dans une bobine. Dans les deux cas, les changements qui
se produisent dans l'état magnétique, paraissent être plus intenses que
dans les aimants dépourvus d'appendices. La barre aimantée est placée
à l'intérieur de la cloche dans le sens d'un de ses diamètres, de sorte
que les appendices en touchent presque la paroi.
Lors donc que le timbre vient à être frappé à un endroit
distant d'environ 90° de ce diamètre, au moyen d'un battant en bois M,
mu par un ressort et que la main ramène en arrière en tendant le ressort
(comme avec les timbres de table) pour le relâcher ensuite, les vibrations
qui lui sont communiquées envoient des courants dans les bobines, et ces
courants produisent dans la plaque de fer du téléphone des vibrations
identiques, qu'un résonnateur conique adapté au téléphone renforce suffisamment,
pour qu'on puisse encore les entendre facilement à quelques pas de distance.
Pour les usages ordinaires, la bobine du timbre est fermée à court circuit
au moyen d'un ressort métallique R, et par conséquent, lorsqu'on frappe
le timbre, ce ressort doit être baissé pour faire cesser cette fermeture
à court circuit. Un appareil du même genre a encore été combiné par M.
W. E. Fein à Stuttgart.
Fig. 51. et 52.
Système de MM. Dutertre et Gouhault.—Une
des plus jolies solutions du problème de l'avertissement téléphonique,
est celle qu'ont présentée récemment MM. Dutertre et Gouhault et que nous
représentons fig. 51 et 52, l'appareil étant vu sur ses deux faces opposées.
C'est une sorte de téléphone en tabatière analogue à celui que nous avons
représenté fig. 25 et qui est disposé de manière à transmettre ou à recevoir
l'avertissement, suivant la manière dont il est posé sur son support,
lequel n'est autre qu'une petite console ordinaire pendue à la muraille.
Quand il est posé sur cette console de manière à présenter extérieurement
l'embouchure téléphonique, il est dans la position de réception, et alors
il peut fournir l'appel. Quand, au contraire, il est renversé sur son
support de bas en haut, il fournit l'appel à l'autre station en déterminant,
sous l'influence d'une pile, les vibrations d'un trembleur, et ces vibrations
se trouvent assez fortement répercutées dans l'appareil en correspondance
pour fournir l'appel. En appuyant alors le doigt sur un petit bouton à
ressort, et en le prenant à la main, on peut s'en servir comme d'un téléphone
ordinaire.
Dans cet appareil, l'aimant NS, fig. 51, est disposé en
forme de limaçon, comme ceux dont il a déjà été question, mais le noyau
de fer doux S sur lequel est adaptée la bobine E peut déterminer à ses
deux extrémités deux effets différents. D'un côté, il réagit sur la lame
vibrante LL de l'appareil téléphonique, comme dans les appareils ordinaires,
de l'autre, il réagit sur une petite armature adaptée à l'extrémité d'une
lame vibrante C, fig. 52, qui, étant tendue contre un contact fixé au
pont B, constitue un trembleur électro-magnétique. À cet effet, ce pont
communique métalliquement avec le fil de la bobine dont l'autre bout correspond
au fil de ligne, et le ressort C est monté sur une pièce A qui porte en
même temps un autre ressort DG agissant sur deux contacts, l'un situé
en G et qui correspond au fil de terre, l'autre situé en H et qui est
réuni au pôle positif de la pile. Un petit bouton mobile qui dépasse le
couvercle de la boîte en passant à travers un trou, est fixé en G, et
toute cette partie de l'appareil fait face au fond de la boîte. La lame
vibrante et son embouchure constituent la partie supérieure, de sorte
que tout les mécanismes que nous venons de décrire sont montés sur une
cloison intermédiaire entre les deux fonds de la boîte.
Quand cette boîte est appuyée sur son fond, du côté de
la fig. 52, le petit bouton adapté en G appuie sur le ressort DG et en
le soulevant rompt la communication avec la pile; la bobine de l'appareil
est alors simplement réunie au circuit, et elle peut en conséquence recevoir
les courants transmis qui suivent le chemin suivant: le fil de ligne,
bobine E, pont B, ressort C, ressort DG, contact de terre. Si ces courants
sont transmis par un trembleur, ils sont assez forts pour déterminer un
bruit capable d'être entendu de tous les points d'une pièce, et en conséquence
l'avertissement peut être donné de cette manière. Si ces courants résultent
d'une transmission téléphonique, on place l'appareil à l'oreille en ayant
soin de pousser avec le doigt le bouton en G, et l'échange des correspondances
se fait comme avec les appareils ordinaires; mais il est plus simple d'avoir
pour cet usage un second téléphone intercalé dans le circuit et qui est
plus maniable. Quand la boîte est renversée sur son embouchure, le bouton
G ne pressant plus le ressort DG, le courant de la pile réagit sur le
trembleur de l'appareil et transmet l'appel à la station correspondante
en suivant la route: I D A C B E, ligne, terre et pile, et cet appel subsiste
jusqu'à ce que le correspondant ait coupé le courant en prenant lui-même
son appareil, ce qui prévient l'autre qu'on est prêt à entendre.
Système de M. Puluj.—Voici encore un
système avertisseur proposé par le docteur Puluj. Il se compose de deux
téléphones sans embouchure, reliés entre eux et dont les bobines sont
placées en face des branches de deux diapasons, accordés le plus exactement
possible sur le même ton. Une sonnette en métal est adaptée à la face
opposée de chacun des diapasons, et un fil suspendu à leur portée, est
munie d'une petite boule en contact avec leurs branches. Dès que, à la
station de départ on fait vibrer le diapason en le frappant avec un marteau
de fer recouvert de peau, le diapason de l'autre station se trouve mis
en vibration, et sa boule fait retentir la sonnette. Dès que la première
station a reçu le même signal de la seconde, on adapte aux téléphones
des embouchures à membranes de fer, et l'on entame la correspondance.
On peut, paraît-il, en se servant d'un résonnateur, renforcer le son parvenu
à la station de réception au point de le rendre perceptible dans une grande
salle, et le signal par la sonnerie peut être entendu dans une pièce attenante,
même à travers une porte fermée.
APPLICATIONS DU TÉLÉPHONE.
Les applications du téléphone sont beaucoup plus nombreuses
qu'on l'aurait pensé à première vue. Au point de vue du service télégraphique,
son usage ne peut être évidemment qu'assez restreint, puisqu'il ne laisse
pas de traces des dépêches transmises, et que sa vitesse de transmission
est moins grande que celle des télégraphes perfectionnés; mais il est
une foule de cas où son emploi peut être précieux, même comme système
télégraphique, car pour le faire fonctionner il n'est pas besoin d'une
éducation télégraphique spéciale. Le premier venu peut transmettre et
recevoir avec le téléphone, ce qu'on ne pourrait certainement pas faire
avec les appareils télégraphiques, même les plus simples. Aussi ce système
est-il employé maintenant pour le service des établissements publics et
industriels, pour les services des mines, pour les travaux sous-marins,
pour la marine militaire, surtout lorsque plusieurs vaisseaux marchent
de conserve dans les mêmes eaux et à la remorque les uns des autres, enfin,
pour les opérations militaires, soit pour les transmissions d'ordres à
divers corps d'armée, soit pour les correspondances à échanger dans les
écoles de tir. En Amérique, le service des télégraphes municipaux et des
télégraphes privés à l'intérieur des villes est effectué de cette manière,
et il est probable que ce système sera prochainement adopté en Europe.
Déjà en Allemagne un service de cette nature est établi depuis l'automne
dernier aux bureaux télégraphiques de certaines villes, et le Post-office
de Londres s'occupe en ce moment de l'établir en Angleterre. Il est à
supposer que le réseau municipal de notre administration française sera
un jour ou l'autre desservi ainsi. Mais indépendamment des services qu'il
peut rendre comme appareil de correspondance, le téléphone peut être d'un
grand secours aux services télégraphiques eux-mêmes en fournissant un
moyen des plus simples d'obtenir un grand nombre de transmissions télégraphiques
simultanées à travers un même fil et même d'être associés en Duplex
avec des télégraphes Morse. Ses applications sous la forme (p.
234) de microphone sont incalculables, et le proverbe qui dit que
les murs ont des oreilles pourra devenir de cette manière matériellement
vrai. On est effrayé des conséquences que pourrait avoir un organe aussi
indiscret. MM. les diplomates devront évidemment redoubler de réserve,
et les tendres confidences ne pourront plus se faire avec le même abandon.
Y gagnera-t-on? nous n'osons le croire, mais en revanche le médecin pourra
vraisemblablement un jour en tirer parti pour étudier avec une plus grande
facilité tout ce qui se passe dans notre corps.
APPLICATION DU TÉLÉPHONE AUX TRANSMISSIONS TÉLÉGRAPHIQUES
SIMULTANÉES.
L'une des plus curieuses et des plus importantes applications
du téléphone est celle qu'on peut en faire aux appareils télégraphiques
pour transmettre simultanément plusieurs dépêches à travers le même fil,
et nous avons vu que c'était cette application qui avait conduit MM. Gray
et Bell à leurs téléphones parlants que nous admirons tant aujourd'hui,
et qui ont fait perdre un peu de vue les conceptions primitives, bien
qu'elles aient peut-être une plus grande importance pratique. Ce sont
de ces systèmes dont nous allons maintenant nous occuper.
Pour obtenir la transmission simultanée, il n'est pas
besoin d'un téléphone articulant; les téléphones musicaux imaginés par
MM. Pétrina, Elisha Gray, Froment, etc., peuvent parfaitement suffire,
et pour qu'on (p. 235) puisse le comprendre,
il me suffira d'en exposer brièvement le principe: Qu'on imagine aux deux
stations en correspondance sept vibrateurs électro-magnétiques accordés
sur les différentes notes de la gamme et d'après un même diapason, et
admettons qu'une touche analogue à une clef de télégraphe Morse permette,
par son abaissement, de faire réagir électriquement chaque vibrateur;
on comprendra aisément que ces vibrateurs pourront faire réagir par le
même moyen les vibrateurs correspondants de la station opposée, mais il
faudra qu'ils soient accordés sur la même note, et la durée des sons émis
sera en rapport avec la durée de l'abaissement des touches. On pourra
donc, au moyen d'un abaissement court ou prolongé, obtenir des sons longs
et brefs qui pourront constituer les éléments du langage télégraphique
usité dans le système Morse, et, par conséquent, se prêter à une transmission
télégraphique auditive. Admettons maintenant que, devant chacun des vibrateurs
dont nous avons parlé, soit placé un employé télégraphiste façonné à ce
genre de transmission, et que ces employés transmettent en même temps
par ce moyen des dépêches différentes: le fil télégraphique se trouvera
instantanément traversé par sept courants interrompus et superposés qui,
à la station d'arrivée, sembleraient ne devoir fournir sur tous les vibrateurs
qu'un mélange de bruits confus, mais qui, en raison de l'accord existant
entre les vibrateurs en correspondance, n'influenceront d'une manière
sensible que ceux de ces vibrateurs auxquels ils sont destinés. La prédominance
des sons ainsi reproduits, pourra d'ailleurs être accentuée davantage
en adaptant à chaque vibrateur un résonnateur d'Helmholtz c'est-à-dire
un appareil acoustique susceptible de ne vibrer que sous l'influence d'une
seule note sur laquelle il aura été accordé. Par ce moyen, il deviendra
donc possible de trier les sons transmis et de ne faire arriver
aux oreilles de chaque employé que les sons qui lui sont destinés. Conséquemment,
que les sons soient mêlés ou non sur les vibrateurs d'arrivée, l'employé
du do ne recevra que des do, l'employé du sol ne
recevra que des sol, etc., de sorte que tous les employés pourront
correspondre entre eux comme s'ils avaient chacun un fil spécial.
Tel qu'il vient d'être exposé, ce système télégraphique
ne permettrait que des transmissions auditives, et l'on ne pourrait pas,
par conséquent, obtenir aucune trace des dépêches envoyées. Pour obvier
à cet inconvénient, on a imaginé de faire réagir les vibrateurs du poste
de réception sur des enregistreurs, en disposant ceux-ci de manière que
leur organe électrique présentât assez d'inertie magnétique pour que,
étant mis en action sous l'influence des vibrations sonores, il put maintenir
l'effet produit tout le temps de la vibration. L'expérience a montré qu'un
récepteur Morse, animé par le courant d'une pile locale, suffisait parfaitement
pour cela; de sorte qu'en faisant réagir le vibrateur musical comme relais,
c'est-à-dire sur un contact en rapport avec la pile locale et le récepteur,
on pouvait obtenir sur celui-ci les traces longues et courtes qui sont
les éléments constituants du langage Morse.
D'après ces principes, et en considérant les espaces musicaux
séparant les différentes notes de la gamme comme suffisants pour être
facilement distingués par le résonnateur, on pourrait donc obtenir sept
transmissions simultanées à travers le même fil; mais l'expérience a montré
qu'il fallait se contenter d'un moins grand nombre. Toutefois, comme on
peut appliquer à ce système les moyens de transmission en sens contraire,
on peut doubler ce nombre facilement.
Suivant M. G. Bell, l'idée de l'application du téléphone
aux transmissions électriques multiples serait venue simultanément à MM.
Paul Lacour de Copenhague, à M. Elisha Gray de Chicago, à M. C. Varley
de Londres et à M. Edison de New-Marck; mais nous croyons qu'il a fait
confusion, car nous voyons déjà, les brevets en mains, que le système
de M. Varley date de 1870, que celui de M. Paul Lacour date de septembre
1874, que celui de M. Elisha Gray date de février 1875, et que ceux de
MM. Bell et Edison sont postérieurs; mais si on se reporte aux caveats
de M. Elisha Gray, on voit que c'est lui qui, le premier, a conçu et exécuté
des appareils de ce genre. En effet, dans un caveat rédigé le 6 août 1874,
il exposait nettement le système que nous avons décrit précédemment et
qui fut la base de ceux dont nous parlerons plus loin. Ce caveat n'était
d'ailleurs lui-même qu'un complément de deux autres remplis en avril et
en juin 1874. Quant au système de M. Varley, il ne se rapportait que très-indirectement
à celui que nous avons exposé. Du reste, M. Bell lui-même semble avoir
abandonné maintenant toute prétention à cette invention. Voici, toutefois,
ce qu'il disait à cet égard dans son mémoire lu à la Société des ingénieurs
télégraphistes de Londres:
Ayant été frappé de l'idée que la durée plus ou moins
grande d'un son musical pouvait représenter le point et la barre de l'alphabet
télégraphique, je pensai qu'au moyen d'un clavier de diapasons (analogue
à celui d'Helmholtz) adapté à l'une des extrémités d'une ligne télégraphique
et disposé de manière à réagir électriquement à l'autre bout de la ligne
sur des appareils électro-magnétiques frappant sur des cordes de piano,
on pourrait obtenir, par des combinaisons convenables de sons longs et
courts, des transmissions télégraphiques simultanées, dont le nombre ne
pourrait être limité que par la délicatesse de l'ouïe. Il ne s'agissait
pour cela que d'affecter au service de la transmission un employé pour
chaque touche du clavier, et de faire en sorte que son correspondant ne
put distinguer, au milieu de tous les sons transmis, que celui qui lui
était propre. Cette idée envahit tellement mon esprit que je ne m'occupai
plus que de résoudre le problème ainsi posé, et c'est ce qui m'a conduit
à mes recherches sur la téléphonie.
Pendant plusieurs années, je cherchai le meilleur moyen
de reproduire, à distance, les sons musicaux au moyen de Rhéotomes à trembleur;
celui qui m'a donné les meilleurs résultats était une lame d'acier vibrant
entre deux contacts et dont les vibrations étaient provoquées et entretenues
électriquement au moyen d'un électro-aimant et d'une batterie locale.
Par suite de sa vibration, les deux contacts se trouvaient alternativement
touchés, et il en résultait des fermetures alternatives de deux circuits,
l'un local qui entretenait le mouvement de la lame, l'autre en rapport
avec la ligne, et qui réagissait à distance sur le récepteur de manière
à lui faire accomplir des vibrations isochrones. Une clef Morse était
adaptée dans ce dernier circuit près de l'appareil transmetteur, et quand
elle était abaissée, les vibrations étaient transmises à travers la ligne;
quand elle était relevée, ces vibrations cessaient, et l'on comprend aisément
qu'en abaissant plus ou moins longtemps la clef, on pouvait obtenir les
sons brefs et longs nécessaires aux différentes combinaisons du langage
télégraphique. De plus, si la lame vibrante de l'appareil récepteur avait
été réglée de manière à vibrer à l'unisson de celle de l'appareil transmetteur
correspondant, elle devait vibrer beaucoup mieux avec ce transmetteur
qu'avec un autre qui n'aurait pas eu sa lame ainsi accordée.
Il est facile de comprendre, d'après cette disposition
d'interrupteur, comment on peut obtenir avec plusieurs lames de sons différents
des transmissions simultanées, et comment, au poste de réception, il est
possible de distinguer les sons qui sont destinés à chaque employé, puisque
c'est celui qui se rapporte au son fondamental de chaque lame vibrante
qui est reproduit le plus fortement par cette lame. Conséquemment, les
sons provoqués par la lame vibrante du do, par exemple, ne seront
bien perceptibles à la station d'arrivée que sur l'appareil dont la lame
aura été accordée sur le do, et il en sera de même pour les autres
lames; de sorte que les sons arriveront à destination, sinon sans confusion,
du moins suffisamment clairement pour être distingués par les employés.
Sans entrer dans les détails de cette disposition, je
dirai seulement qu'il existait dans ce système plusieurs défauts qui peuvent
se résumer ainsi:
1o L'employé qui devait recevoir les dépêches
devait avoir une bonne oreille musicale afin de bien distinguer la valeur
des sons.
2o Les signaux ne pouvant être produits qu'autant
que les courants transmis sont dans la même direction, il fallait employer
deux fils pour échanger les dépêches dans les deux directions.
Je surmontai la première difficulté en adaptant au récepteur
un appareil auquel je donnai le nom d'interrupteur de circuit vibratoire
et qui permettait d'enregistrer automatiquement les sons produits. Cet
interrupteur était disposé dans le circuit d'une pile locale qui pouvait
actionner un appareil Morse sous certaines conditions. Quand les sons
émis par l'appareil ne correspondaient pas à ceux pour lesquels il avait
été accordé, l'interrupteur restait sans action sur l'appareil télégraphique;
au contraire il agissait sur lui quand les sons émis étaient ceux qui
devaient être interprétés, et naturellement cette action durait plus ou
moins, suivant que ces sons étaient brefs ou longs. Dès lors, on obtenait
sur l'appareil télégraphique les points et les traits qui correspondaient
aux signaux transmis.
M. Bell dit encore qu'il a appliqué ce système aux télégraphes
électro-chimiques, mais nous n'insisterons pas davantage sur cette partie
de l'invention, puisque, ainsi que nous l'avons dit, il semble l'avoir
abandonnée.
Système de M. Paul Lacour de Copenhague.—Le
système de M. Paul Lacour a été breveté le 2 septembre 1874, mais les
premières expériences ont été faites dès le 5 juin de la même année. À
cette époque, comme M. Lacour craignait que les vibrations ne fussent
pas perceptibles sur de longues lignes, les essais ne furent entrepris
que sur une ligne assez courte; mais au mois de novembre 1874, de nouvelles
expériences furent entreprises entre Frédériccia et Copenhague, sur une
ligne dont la longueur était de 390 kilomètres, et on put constater que
les effets vibratoires pouvaient être transmis facilement, même sous l'influence
d'une pile assez faible.
Fig. 53.
Dans le système de M. P. Lacour, l'appareil transmetteur
est un simple diapason soutenu horizontalement et dont l'un des bras réagit
sur un interrupteur de courant qui peut produire à travers la ligne un
nombre d'émissions de courants exactement égal à celui des vibrations
du diapason. Si un manipulateur Morse est interposé dans le circuit, on
comprend aisément qu'en le manœuvrant de manière à produire les traits
et les points de l'alphabet Morse, on pourra reproduire ces sortes de
signaux à la station opposée, et ces signaux s'y manifesteront par des
sons longs et courts, si un récepteur électro-magnétique est disposé en
conséquence. Ce transmetteur est indiqué fig. 53.
Fig. 54.
La fig. 54 représente le récepteur de M. Lacour. C'est
un diapason F non plus en acier comme le diapason transmetteur, mais en
fer doux et dont chacune des branches est introduite dans le tube d'une
bobine électro-magnétique CC; deux électro-aimants particuliers M, M réagissent
très-près de l'extrémité antérieure de ces branches et de telle manière
que les polarités développées sur ces branches sous l'influence des bobines
CC, se trouvent être de noms contraires à celles des électro-aimants M,
M. Si ce double système électro-magnétique est interposé dans un circuit
de ligne, il arrivera que, pour chaque émission de courant qui sera transmise,
il se produira une attraction correspondante des branches du diapason,
d'où naîtra une vibration, et par suite un son si ces émissions sont nombreuses.
Ce son sera naturellement bref ou long, suivant la durée d'action du transmetteur,
et il sera le même que celui du diapason de cet appareil. De plus, si
l'une des branches du diapason réagit sur un contact P introduit dans
le circuit d'une pile locale correspondant à un récepteur Morse, il pourra
se produire sur ce récepteur des traces qui seront longues ou courtes
suivant la durée des sons reproduits, car l'électro-aimant du Morse se
trouvera, si promptement actionné par ces fermetures successives de courant,
qu'il ne changera pas de place pendant toute la durée de chaque vibration.
Je n'ai pu encore, dit M. Lacour, à l'Académie des sciences de Danemark,
en 1875, calculer le temps nécessaire pour produire dans le diapason du
récepteur des vibrations d'un ordre déterminé. Ce temps est fonction de
divers facteurs, mais l'expérience a montré que le temps qui s'écoule
avant la fermeture du circuit local est une fraction de seconde si petite,
qu'elle est presque inappréciable, même quand le courant est très-faible.
Comme les courants intermittents n'agissent sur un diapason
qu'à la condition que ce diapason vibre à l'unisson de celui qui produit
ces courants, il en résulte que, si on dispose à l'une des extrémités
d'un circuit une série de diapasons transmetteurs accordés sur différentes
notes de l'échelle musicale, et que l'on dispose à l'autre extrémité une
série semblable de diapasons électro-magnétiques accordés exactement sur
les autres, les courants intermittents qui seront transmis par les diapasons
transmetteurs, se superposeront sans se confondre, et chacun des diapasons
récepteurs électro-magnétiques ne sera impressionnable qu'aux courants
lancés par le diapason vibrant à son unisson. De cette façon, les combinaisons
de signaux élémentaires représentant un mot, pourront être télégraphiées
au même instant.
M. Lacour énumère de la manière suivante les applications
que l'on peut faire de ce système: si les clefs reliées aux diapasons
transmetteurs sont placées les unes à côté des autres et abaissées successivement
ou simultanément en nombre plus ou moins grand, il suffira de jouer de
ces clefs comme on joue de celles d'un instrument de musique pour jouer
un air à distance, ou bien encore les signaux transmis simultanément pourront
appartenir chacun à une dépêche différente. Ce système permettra donc
à la station extrême d'une ligne de communiquer avec une ou plusieurs
stations intermédiaires et vice-versâ, sans troubler en rien l'installation
des autres postes. Ainsi deux des stations pourront s'envoyer des signaux
sans que les autres s'en aperçoivent. Cette faculté de transmettre beaucoup
de signaux à la fois donne un moyen avantageux de perfectionner le télégraphe
autographique. Dans les appareils qui existent actuellement, tels que
ceux de Caselli, de d'Arlincourt et autres, il n'y a qu'un seul style
traceur, et, pour obtenir la copie d'un télégramme, il faut que ce style
passe sur toute sa surface; mais avec le téléphone, on peut placer un
certain nombre de styles à côté les uns des autres de manière à figurer
un peigne, et il suffit de tirer ce peigne dans un sens pour qu'il parcoure
la surface du télégramme. On obtiendra ainsi en moins de temps une copie
plus fidèle.
M. Lacour fait remarquer également que son système offre
cet avantage déjà signalé par M. Varley, que ses appareils laissent passer
les courants ordinaires sans en accuser la présence, d'où il résulterait
que les courants accidentels qui troublent généralement les transmissions
télégraphiques, seraient sans action sur les systèmes télégraphiques dont
il vient d'être question.
Dans l'origine, M. Lacour n'avait pas adapté au transmetteur
de son appareil un système électro-magnétique pour entretenir le mouvement
du diapason; mais il n'a pas tardé à reconnaître que cet accessoire était
indispensable, et il a dû faire de ses diapasons des électro-diapasons.
D'un autre côté, il a pensé à transformer les courants transmis en courants
ondulatoires en interposant dans le circuit, comme l'avait fait du reste
M. Elisha Gray, une bobine d'induction. Enfin, pour obtenir la mise en
action immédiate des diapasons et la cessation également immédiate de
leur action, il les construisit de manière à rendre leur inertie aussi
petite que possible. Le moyen qui lui a le mieux réussi a été d'introduire
d'abord les deux branches du diapason dans une même bobine, et de prolonger
en arrière le pied du diapason de manière qu'après s'être recourbé, il
passât à travers une seconde bobine, se divisant en deux branches et embrassant
sans les toucher les deux branches vibrantes. Lorsqu'un courant traverse
les deux bobines, il produit dans ces deux systèmes qui constituent une
sorte d'électro-aimant en fer à cheval, des polarités contraires qui provoquent
une double réaction sur les branches vibrantes, réaction par répulsion
exercée par ces deux branches en raison de leur même polarité, réaction
par attraction par les deux autres branches en raison de leurs polarités
contraires, et cette action est renouvelée par le jeu d'un interrupteur
de courant adapté à l'une des branches vibrantes du diapason.
Système de M. Elisha Gray.—Dans le système
breveté primitivement, chacun des transmetteurs dont nous représentons
fig. 55 la disposition, se compose d'un électro-aimant M M soutenu au-dessous
d'une petite tablette de cuivre BS, de manière que ses pôles traversant
cette tablette viennent affleurer la surface supérieure de celle-ci. Au
dessus de ces pôles se trouve fixée une lame d'acier AS qui peut être
tendue plus ou moins au moyen d'une vis S, et contre laquelle vient appuyer
une autre vis c, mise en rapport électrique avec une pile locale
R' par l'intermédiaire d'une clef Morse. Au-dessous de cette lame AS se
trouve un contact d relié au fil de ligne L, lequel contact, étant
rencontré par la lame au moment de son attraction par l'électro-aimant,
forme le courant d'une pile de ligne P qui agit sur le récepteur de la
station opposée. Enfin des communications électriques établies entre la
pile locale R' et l'électro-aimant, comme on le voit sur la figure, permettent
de déterminer à chaque abaissement de la clef, et à la manière des trembleurs
ordinaires, des vibrations de la part de la lame d'acier AS, vibrations
qui, par une tension convenable de cette lame et une intensité donnée
de la pile R', peuvent fournir une note musicale déterminée. De plus,
comme à chaque vibration, cette lame AS rencontre le contact d,
des émissions du courant de ligne sont produites à travers la ligne L
et peuvent réagir sur l'appareil récepteur en lui faisant reproduire exactement
les mêmes vibrations que sur l'appareil transmetteur.
Fig. 55.
L'appareil récepteur que nous représentons fig. 56 est
exactement semblable à celui que nous venons de décrire, seulement le
contact d manque au-dessous de la lame vibrante AS, et le contact
c, au lieu de correspondre au fil de ligne, est relié électriquement
à un enregistreur E et à une pile locale P. Or il résulte de cette disposition
que quand la lame AS vibre sous l'influence des courants interrompus traversant
l'électro-aimant MM, des vibrations semblables sont transmises à travers
l'enregistreur; mais si l'organe électro-magnétique de cet enregistreur
est convenablement réglé, ces vibrations ne pourront produire que l'effet
d'un courant continu, et dès lors les traces laissées sur l'appareil seront
plus ou moins longues suivant la durée des sons produits; on aura donc
de cette manière l'enregistration des traits et des points qui composent
les signaux du vocabulaire Morse.
Fig. 56.
Si l'on considère maintenant que la lame AS peut vibrer
d'autant plus facilement, sous l'influence des attractions électro-magnétiques,
que le nombre de ces attractions se rapproche davantage de celui des vibrations
correspondantes au son fondamental qu'elle peut émettre, on comprend immédiatement
qu'en accordant cette lame sur celle de l'appareil transmetteur correspondant
de manière à lui faire produire le même son, elle deviendra particulièrement
impressionnable aux vibrations transmises par le transmetteur, et les
autres vibrations qui pourraient l'affecter n'agiront que faiblement.
De plus, un résonnateur placé au-dessus de cette lame pourra encore augmenter
dans une grande proportion cette prédisposition; de sorte que si plusieurs
systèmes de ce genre, accordés sur des tons différents, fournissent des
transmissions simultanées, les sons en rapport avec les différentes vibrations
transmises, se trouveront en quelque sorte triés et distribués, malgré
leur mélange, sur les récepteurs qui leur sont spécialement appropriés,
et chacun d'eux pourra conserver les traces des sons émis, par l'adjonction
de l'enregistreur qui pourra être d'ailleurs un récepteur Morse ordinaire
convenablement disposé. Suivant M. Elisha Gray, il peut y avoir autant
d'appareils transmetteurs et de circuits locaux indépendants qu'il y a
de tons et de demi-tons dans deux octaves, ou plus, pourvu que chaque
lame vibrante soit accordée sur une note différente de l'échelle musicale.
Les instruments pourront être placés les uns à côté des autres, et leurs
clefs locales respectives, disposées comme les touches d'un piano, permettront
de jouer facilement un air composé de notes et d'accords; on pourra encore
espacer les appareils et même les éloigner assez les uns des autres pour
que chaque employé ne soit pas importuné par des sons autres que ceux
qui sont propres à l'appareil dont il est chargé.
Dans une nouvelle disposition qui a figuré à l'Exposition
universelle de 1878, M. Elisha Gray a modifié assez notablement le mode
de fonctionnement des divers organes électro-magnétiques que nous venons
de décrire; cette fois les lames sont constituées par de véritables diapasons
à une branche qui vibrent continuellement aux deux stations, et les signaux
ne sont perçus que par des renforcements dans l'intensité des sons produits.
Cette disposition a été la conséquence de la nécessité dans laquelle on
se trouve, pour des transmissions multiples de ce genre, de maintenir
le circuit de ligne toujours fermé, afin de réagir avec des courants ondulatoires,
les seuls qui, ainsi qu'on l'a vu page 39, peuvent conserver à plusieurs
sons transmis simultanément leur caractère individuel.
Fig. 57.
Dans ces conditions, le transmetteur se compose, comme
on le voit fig. 57, d'une branche de diapason a munie d'une rainure
dans laquelle peut courir un curseur pesant afin d'accorder le diapason
sur la note voulue, et qui oscille entre deux électro-aimants e
et f et deux contacts I et G. Ces électro-aimants ont une résistance
très-différente; celle de l'un f est de 3 kilomètres de fil télégraphique,
et celle de l'autre ne dépasse pas 400 mètres. Les communications électriques
étant établies ainsi qu'on le voit sur la figure, voici ce qui se passe:
le courant de la pile locale BL étant fermé à travers les deux électro-aimants
e et f par le contact de repos de la clef Morse H, la lame
a se trouve sollicitée par deux actions contraires; mais comme
l'électro-aimant f a plus de spires que l'électro-aimant e,
son action est prépondérante, et la lame a se trouve attirée du
côté de f, déterminant avec le ressort G un contact qui ouvre une
issue moins résistante au courant; celui-ci passant alors presqu'entièrement
par G, b, 1, 2, B, permet à l'électro-aimant e d'exercer
à son tour son action; la lame a se trouve alors attirée vers e
et, déterminant un contact sur le ressort I, peut transmettre à travers
la ligne télégraphique le courant de ligne BP, si la clef H est en ce
moment abaissée sur le contact de transmission; si elle ne l'est pas,
aucun effet n'a lieu de ce côté, mais comme la lame a a abandonné
le ressort G, le premier effet attractif de l'électro-aimant f
se renouvelle et tend à attirer de nouveau la lame vers f, et les
choses se renouvelant ainsi indéfiniment, la vibration de la lame a
se trouve entretenue, déterminant des émissions de courants de ligne en
rapport avec ces vibrations, toutes les fois que la clef H se trouve abaissée.
Ces vibrations sont d'ailleurs facilitées par l'élasticité de la lame
qui doit d'ailleurs être mise en vibration mécaniquement au début.
Fig. 58.
Le récepteur que nous représentons fig. 58, consiste dans
un électro-aimant M, monté sur une caisse sonore C et dont l'armature
est constituée par une lame de diapason LL solidement fixée sur la caisse
avec arqueboutement par une traverse T. Cette armature porte un curseur
P, mobile dans une rainure, qui permet d'accorder ses vibrations propres
sur la note fondamentale de la caisse sonore C, laquelle doit vibrer à
l'unisson avec elle et est disposée en conséquence. Par conséquent, quand
la lame LL vibre, l'intensité de la note fondamentale est amplifiée suivant
les lois bien connues des résonnateurs, et un son ne pourra être reproduit
par elle qu'à la condition de vibrer à l'unisson avec elle. Dans ces conditions,
la caisse aussi bien que le diapason agira donc comme un analyseur des
vibrations transmises par les courants, et pourra faire fonctionner l'enregistreur
en réagissant elle-même sur un interrupteur de courant local. Pour obtenir
ce résultat, il suffit de tendre devant l'ouverture de la caisse une membrane
de baudruche ou de parchemin et d'y adapter un contact de platine disposé
de manière à rencontrer, quand la membrane entre en vibration, un ressort
métallique relié à un enregistreur quelconque, soit un appareil Morse.
Toutefois, comme en Amérique les dépêches sont généralement reçues au
son, on n'emploie pas ce complément du système.
On règle l'appareil non-seulement au moyen du curseur
P mais encore d'une vis de réglage V qui permet de placer l'électro-aimant
M dans une position convenable; ce réglage est assuré au moyen de la petite
vis v, et l'appareil est relié à la ligne par le bouton d'attache
B. Ce double dispositif est naturellement établi pour chacun des systèmes
de transmission.
Comme je le disais, on pourrait à la rigueur transmettre
simultanément de cette manière sept dépêches différentes à la fois, mais
jusqu'à présent M. Elisha Gray n'a disposé ses appareils que pour quatre;
il leur a appliqué toutefois la combinaison en duplex, ce qui lui
a permis de doubler le nombre des transmissions; de sorte que huit dépêches
peuvent être transmises en même temps, quatre dans le même sens, quatre
en sens contraire.
D'après l'Engineering et du reste d'après ce que
m'a affirmé M. Haskins, ce système aurait fonctionné avec le succès le
plus complet sur les lignes de la Western-Union Telegraph Company, de
Boston à New-York et de Chicago à Milwaukee. Mais depuis ces expériences,
de nouveaux perfectionnements ont permis de transmettre un beaucoup plus
grand nombre de dépêches.
M. Elisha Gray a combiné encore, conjointement avec M.
Haskins, un système dans lequel il peut effectuer des transmissions téléphoniques
sur un fil déjà desservi par des appareils Morse. C'est un problème qu'avait
résolu avant lui M. Varley; mais le système de M. Elisha Gray paraît avoir
fourni des résultats très-importants, et à ce titre il mérite de fixer
l'attention. Nous ne le décrirons pas toutefois ici, car nous sortirions
du cadre que nous nous sommes tracé, et nous nous réservons d'en parler
dans les appendices que nous ajouterons à notre exposé des applications
de l'électricité. En attendant, ceux que cette question pourra intéresser
trouveront tous les détails nécessaires dans un travail inséré dans le
journal de la Société des ingénieurs télégraphistes de Londres, tome VI,
p. 506.
Système de M. Varley.—Ce système est
évidemment le premier en date, puisqu'il a été breveté en 1870 et que
ce brevet indique en principe la plupart des dispositifs adoptés depuis
par MM. Paul Lacour, Elisha Gray et G. Bell. Il est basé sur l'emploi
du téléphone musical du même auteur que nous avons décrit p. 25 et dont
il a, du reste, varié la disposition de plusieurs manières qu'il indique,
en le rapportant plus ou moins au système de Reiss.
En fait, le but que s'était proposé M. Varley était de
faire fonctionner son appareil téléphonique concurremment avec des instruments
à courants ordinaires, par la superposition d'ondes électriques rapides,
incapables d'altérer pratiquement le pouvoir mécanique ou chimique des
courants formant les signaux ordinaires, mais susceptibles de produire
des signaux distincts perceptibles à l'oreille et même à l'œil. Un électro-aimant,
dit-il, offre au premier moment une grande résistance au passage d'un
courant électrique, et, par suite, peut être regardé comme un corps partiellement
opaque eu égard à la transmission de courants inverses très-rapides ou
d'ondes électriques. En conséquence, si on place à la station de transmission
un diapason ou un instrument à lame vibrante accordé sur une note déterminée
et disposé de manière à avoir son mouvement sans cesse entretenu par des
moyens électriques, on pourra, en faisant passer le courant qui l'anime
à travers deux hélices superposées constituant l'hélice primaire d'une
bobine d'induction, obtenir dans deux circuits distincts deux séries de
courants rapidement interrompus qui correspondront aux deux sens de la
vibration du diapason, et l'on aura encore les courants induits déterminés
dans l'hélice secondaire par ces courants, qui pourront animer un troisième
circuit. Ce troisième circuit pourra d'ailleurs être mis en rapport avec
une ligne télégraphique déjà desservie par un système télégraphique ordinaire,
si on y adapte un condensateur, et l'on pourra obtenir deux transmissions
simultanées différentes.
Fig. 59.
La figure 59 représente le dispositif de ce système, D
est la lame vibrante du diapason appelée à fournir les contacts électriques
pour l'entretien de son mouvement. Ces contacts sont en S et S', et les
électro-aimants qui l'actionnent sont en M et M'; la bobine d'induction
est en I, et les trois hélices qui la composent sont indiquées par les
lignes circulaires qui l'entourent. En A se trouve un manipulateur Morse;
un autre est en A', et en P et P' se trouvent les deux piles destinées
à animer le système. Le condensateur est en C et le téléphone T à l'extrémité
de la ligne L.
Quand la vibration de la lame D se porte à droite et que
le contact électrique est effectué en S', le courant de la pile P', après
avoir traversé la première hélice, arrive aux électro-aimants M, M' qui
l'actionnent en lui donnant une impulsion en sens contraire. Quand au
contraire elle se porte vers la gauche, le courant est envoyé à travers
le second circuit primaire qui sera équilibré avec le premier. Il en résultera
donc dans le circuit induit correspondant à la clef A', une série de courants
renversés qui chargeront et déchargeront alternativement le condensateur
C, envoyant ainsi sur la ligne une série correspondante d'ondulations
électriques qui réagiront sur l'appareil téléphonique placé à l'extrémité
de la ligne, et comme ces courants peuvent être transmis avec des durées
plus ou moins longues suivant le temps d'abaissement de la clef A', on
pourra obtenir sur cet appareil téléphonique une correspondance en langage
Morse en même temps qu'une autre correspondance sera échangée avec la
clef A et les récepteurs Morse ordinaires.
Pour rendre sensibles à la vue les signaux vibratoires,
M. Varley propose d'employer, pour la reproduction des vibrations, un
fil d'acier fin, tendu à travers une hélice, en regard d'une fente très-étroite.
On place derrière la fente une lumière qui est interceptée par le fil.
Mais aussitôt qu'un courant passe, le fil vibre et une lumière apparaît.
Une lentille placée en avant projette une image agrandie de la fente lumineuse
sur un écran blanc tant que le fil est en vibration.
APPLICATIONS DIVERSES DU TÉLÉPHONE.
Applications aux usages domestiques.—Nous avons
vu que le téléphone pouvait être employé avec beaucoup d'avantages aux
services des établissements publics et privés; ils sont en effet d'une
installation beaucoup moins dispendieuse que les tubes acoustiques, et
peuvent s'appliquer dans des cas où ceux-ci ne pourraient jamais être
employés. Grâce aux avertisseurs dont nous avons parlé, ils présentent
les mêmes avantages, et la liaison des appareils entre eux peut être beaucoup
mieux dissimulée. La différence du prix d'installation est d'ailleurs
environ dans le rapport de 1 à 7.
Pour ce genre d'application, les téléphones magnéto-électriques
sont évidemment ceux auxquels on doit donner la préférence, car ils ne
nécessitent pas de pile, et sont toujours prêts à fonctionner. On les
emploie déjà dans la plupart des bureaux des ministères, et il est probable
que d'ici à peu de temps, ils seront l'accompagnement des sonneries électriques
pour le service des hôtels et des grands établissement publics et privés;
on pourra même les employer dans les maisons particulières pour donner
des ordres aux domestiques éloignés ou aux concierges qui, par leur intermédiaire,
pourront éviter aux visiteurs la fatigue de monter inutilement plusieurs
étages. Dans ce cas, ces appareils devront être accompagnés de commutateurs
et de boutons d'appel dont la disposition se devine du reste aisément.
Dans les établissements industriels, les téléphones remplaceront
évidemment prochainement les systèmes télégraphiques déjà installés dans
beaucoup d'entre eux. Ils pourront alors servir non-seulement à la transmission
des ordres ordinaires, mais encore aux services de secours en cas d'incendie,
et ils feront partie intégrante des divers systèmes déjà établis dans
ce but.
Dans les pays qui ont la liberté de communication télégraphique,
le téléphone a déjà remplacé en grande partie les appareils de télégraphie
privée jusque-là en usage, et si nous jouissons un jour de ce privilége,
il est évident qu'on n'emploiera pas d'autre moyen de correspondance.
Espérons que d'ici à peu de temps ce desiderata exprimé depuis si longtemps
aux divers gouvernements qui se sont succédé, sera enfin accompli, et
le téléphone sera venu juste à point pour inaugurer cette ère nouvelle.
Application aux services télégraphiques.—Les
avantages que le téléphone peut rendre aux services télégraphiques est
assez restreint, car au point de vue de la célérité de la transmission
des dépêches, il aurait évidemment une moindre valeur que beaucoup de
nos appareils télégraphiques actuellement en usage, et les dépêches qu'ils
fourniraient ne seraient pas susceptibles d'être contrôlées. Néanmoins
dans les bureaux municipaux peu chargés de dépêches, ils pourraient présenter
des avantages en ce sens que l'on n'aurait pas besoin de former des employés.
Mais sur les lignes un peu longues, leur emploi serait évidemment moins
avantageux. Le Journal télégraphique de Berne a publié à cet égard
des considérations d'un grand intérêt sur lesquelles nous appellerons
l'attention du lecteur et qu'il résume ainsi:
1o Pour transmettre une dépêche avec tous
les avantages que comporte le système, il faudrait que l'expéditeur
pût parler directement au destinataire sans l'intermédiaire d'employés.
Et tous ceux qui connaissent l'organisation des réseaux savent que cela
n'est pas possible, qu'il faut nécessairement des bureaux intermédiaires
de dépôt, et que le public ne peut être admis dans les bureaux de transmission
et de réception; par conséquent l'expéditeur devra remettre sa dépêche
écrite.
2o L'employé une fois chargé de ce soin,
l'appareil a déjà perdu un de ses principaux avantages, car cet employé
va lire la dépêche et devra la prononcer à son correspondant; mais si
cette dépêche est écrite dans une langue étrangère, cela devient évidemment
impossible.
3o Enfin, aujourd'hui les administrations
possèdent des instruments qui permettent d'expédier les dépêches avec
une vitesse plus grande que celle qu'on obtiendrait en les expédiant
par la voix.
Cependant on a installé en Allemagne dans différents bureaux
télégraphiques un service téléphonique, et pour qu'on puisse comprendre
les avantages qu'on peut y trouver, il suffira de se reporter à la circulaire
administrative qui a créé l'établissement de ces services. Voici cette
circulaire:
Les bureaux qui seront ouverts au public pour le service
des dépêches téléphoniques en Allemagne, seront considérés comme des
établissements indépendants; mais ils seront en même temps rattachés
aux bureaux télégraphiques ordinaires, lesquels se chargeront de la
transmission, sur leurs fils, des télégrammes envoyés au moyen du téléphone.
La transmission aura lieu de la manière suivante: le
bureau qui aura un télégramme à expédier invitera le bureau de destination
à mettre l'appareil en place. Dès que les cornets auront été ajustés,
le bureau de transmission donnera le signal de l'envoi de la dépêche
verbale.
L'expéditeur devra parler lentement d'une manière claire
et sans forcer la voix; les syllabes seules seront nettement séparées
dans la prononciation, on aura soin surtout de bien articuler les syllabes
finales et d'observer une pause après chaque mot, afin de donner à l'employé
récepteur le temps nécessaire à la transcription.
Lorsque le télégramme a été reçu et transmis, l'employé
du bureau de destination vérifie le nombre de mots envoyés; puis il
répète, à l'aide du téléphone, le télégramme entier rapidement et sans
pause, afin de constater qu'aucune erreur n'a été commise.
Pour assurer le secret des correspondances, les instruments
téléphoniques sont installés dans des locaux particuliers, où les personnes
étrangères au service ne peuvent entendre celui qui envoie la dépêche
verbale, et il est interdit aux employés de communiquer à qui que ce
soit le nom de l'expéditeur ou celui du destinataire.
Les taxes à percevoir pour les dépêches téléphoniques
sont calculées à tant par mot, comme sur les lignes télégraphiques ordinaires.
Application aux arts militaires.—Depuis
la découverte du téléphone, de nombreuses expériences ont été entreprises
dans les différents pays, pour reconnaître les avantages que pourrait
fournir son emploi à l'armée pour les opérations militaires. Jusqu'à présent
ces expériences n'ont été que médiocrement satisfaisantes à cause des
bruits qui existent toujours dans une armée et qui empêchent le plus souvent
d'entendre; et on recherche avec empressement tous les moyens de rendre
les bruits du téléphone plus accentués. Au moment de la découverte du
microphone, on avait cru un instant le problème résolu, et plusieurs écoles
militaires m'avaient demandé des renseignements à cet égard; mais je ne
vois pas jusqu'ici que la question ait bien avancé sous ce rapport. Quoi
qu'il en soit, le téléphone a été un instrument excessivement utile dans
les écoles de tir et sur les polygones d'artillerie. Avec la grande portée
qu'ont aujourd'hui les armes à feu, il devenait nécessaire pour juger
de la justesse du tir d'être prévenu télégraphiquement de la position
des points frappés des cibles, et on avait même imaginé pour cela, des
cibles télégraphiques; mais le téléphone est bien préférable, et on l'emploie
aujourd'hui avec un grand succès.
Si le téléphone présente des inconvénients pour le service
de la télégraphie volante en campagne, en revanche il peut être d'un grand
secours pour la défense des places, pour la transmission des ordres du
commandant aux différentes batteries et même pour l'échange des correspondances
avec des ballons captifs lancés au-dessus des champs de bataille.
Malgré les difficultés de son emploi à l'armée, des essais
ont été tentés par les Russes à la dernière guerre; le câble des fils
de communication était assez léger pour être posé par un seul homme et
avait de quatre cents à cinq cents mètres. Le mauvais temps, dit le Telegraphic
Journal du 15 mars 1878, ne troubla pas le fonctionnement des appareils,
mais le bruit empêchait d'entendre, et on était obligé de se couvrir la
tête avec le capuchon d'un grand manteau pour intercepter les sons extérieurs.
Les résultats n'ont donc pas été très-satisfaisants. Toutefois le téléphone
peut rendre à l'armée de grands services, en permettant d'intercepter
au passage les dépêches de l'ennemi; ainsi un homme résolu muni d'un téléphone
de poche pourra, en se plaçant dans un endroit écarté, établir des dérivations
entre le fil télégraphique de l'ennemi et son téléphone et saisir parfaitement,
ainsi qu'on l'a vu, toutes les dépêches transmises. Il pourra même obtenir
ce résultat en prenant ses dérivations à la terre ou sur un rail de chemin
de fer. Bien des recherches sont du reste encore à tenter dans cet ordre
d'idées et il est probable que l'on arrivera quelque jour à des combinaisons
tout à fait pratiques.
Applications à la marine.—L'un des plus
grands avantages du téléphone est celui qu'il peut rendre à la marine
pour le service des électro-sémaphores, des forts en mer, et des navires
mouillés en rade. Les essais faits entre la préfecture maritime de Cherbourg,
les sémaphores et les forts de la digue, dit M. Pollard, ont fait ressortir
les avantages qu'il y aurait à munir ces postes de téléphones, ce qui
assurerait une communication facile entre les bâtiments d'une escadre
et la terre ou entre ces navires eux-mêmes. En mouillant de petits câbles
qui viendraient à la surface de la mer le long des chaînes des corps-morts
et aboutiraient aux bouées ou coffres disposés en permanence dans la rade,
les navires de guerre en s'amarrant se mettraient de cette manière en
relation avec la préfecture maritime, et en mouillant temporairement des
câbles légers d'un bâtiment à l'autre, l'amiral entrerait en communication
intime avec les bâtiments de son escadre.
On a essayé l'application du téléphone à bord des navires
pour la transmission des ordres, mais le bruit qui existe toujours sur
un bâtiment empêche d'entendre, et les résultats ont été négatifs.
C'est surtout pour les torpilles sous-marines que l'usage
du téléphone peut être utile. Nous avons déjà vu le genre de service qu'il
peut rendre quand il est accompagné d'un microphone. Mais il peut encore
être très-utile pour la mise à feu des torpilles, lorsqu'il s'agit de
connaître la position exacte du navire ennemi d'après deux visées faites
en deux points différents de la côte.
D'un autre côté, M. Trève a montré qu'on pouvait encore
employer avec avantage le téléphone pour relier télégraphiquement des
navires marchant à la remorque l'un de l'autre, et M. des Portes en a
fait une très-heureuse application pour les recherches que l'on est souvent
appelé à faire au fond de la mer à l'aide du scaphandre. Dans ce cas,
on remplace une glace du casque par une plaque en cuivre dans laquelle
est enchâssé le téléphone, ce qui fait que le scaphandrier n'a qu'un léger
mouvement de tête à faire soit pour recevoir des communications de l'extérieur,
soit pour en adresser. Avec ce système, on peut visiter les carènes des
navires et rendre compte de tout ce que l'on voit, sans qu'il soit besoin
de ramener les scaphandriers hors de l'eau, comme on était obligé de le
faire jusque-là.
Applications industrielles.—L'une des
premières et des plus importantes applications qui ont été faites du téléphone
est celle qui a été tentée des l'automne de 1877 en Angleterre et en Amérique
pour le service des mines. Les galeries de mines sont, comme on le sait,
souvent bien longues, et les transmissions des ordres de services avaient
déjà nécessité l'emploi de télégraphes électriques; mais les mineurs sont
loin d'être exercés à la manœuvre de ces appareils, et ce service laissait
beaucoup à désirer. Grâce au téléphone qui permet au premier venu de transmettre
et de recevoir, rien ne s'oppose plus maintenant à un échange facile de
communications entre les galeries et le dehors.
On a pu aussi à l'aide du téléphone surveiller la ventilation
dans les mines. Un téléphone étant placé près d'une roue mise en mouvement
par l'air servant à la ventilation et étant relié à un autre téléphone
placé dans le bureau de l'ingénieur, celui-ci pourra constater par le
bruit qu'il entendra, si la ventilation se fait dans les conditions convenables
et si la machine fonctionne régulièrement.
Application aux recherches scientifiques.—Les
expériences de M. d'Arsonval que nous avons rapportées, nous ont montré
qu'on pouvait employer le téléphone comme un galvanoscope des plus sensibles;
mais comme cet appareil ne peut fournir des sons que sous l'influence
de courants interrompus, il faut que le circuit sur lequel on expérimente
soit coupé à des intervalles plus ou moins rapprochés. Il n'est même pas
nécessaire, comme on l'a vu, que le téléphone soit interposé dans le circuit;
il peut être impressionné à distance, soit directement, soit par l'induction
du courant interrompu sur un autre circuit placé parallèlement à côté
du premier, et on peut augmenter la puissance de ces effets par la réaction
d'un noyau de fer autour duquel on enroule le circuit inducteur. L'inconvénient
de ce système est que l'on n'obtient pas le sens du courant et qu'il ne
peut être employé comme instrument mesureur; mais, en revanche, il est
tellement sensible, tellement facile à installer et si peu coûteux, qu'employé
comme galvanoscope, il peut rendre les plus grands services.
Lors des essais que l'on a faits du téléphone entre Calais
et Boulogne, on a constaté un résultat qui semblerait indiquer une application
avantageuse de cet appareil à l'étude de la balistique. En effet, des
expériences de tir étant faites sur la plage de Boulogne, on a placé près
de la pièce de canon un téléphone, et l'on a perçu la détonation à trois
kilomètres (point de chute). En mesurant le temps écoulé entre la sortie
du projectile et sa chute, on a pu calculer sa vitesse. Cette appréciation
se fait ordinairement par l'observation visuelle de la flamme qui accompagne
la sortie du projectile; mais dans certaines circonstances telles que
le brouillard ou le tir à longue portée, le téléphone remplacerait peut-être
l'observation visuelle. Sur le champ de bataille, un observateur muni
d'un téléphone et placé sur une éminence, pourrait, à distance, rectifier
le tir de sa batterie établie généralement dans un endroit abrité et moins
élevé.
LE PHONOGRAPHE.
Le phonographe de M. Edison qui a tant préoccupé les esprits
depuis quelques mois, est un appareil qui, non-seulement enregistre les
diverses vibrations déterminées par la parole sur une lame vibrante, mais
qui reproduit encore la parole d'après les traces enregistrées. La première
fonction de cet appareil n'est pas le résultat d'une découverte nouvelle.
Depuis bien longtemps les physiciens avaient cherché à résoudre le problème
de l'enregistration de la parole, et, en 1856, M. Léon Scott avait combiné
un instrument bien connu des physiciens sous le nom de phonautographe
qui résolvait parfaitement la question; cet appareil est décrit dans tous
les traités de physique un peu complets; mais la seconde fonction de l'appareil
d'Edison n'avait pas été réalisée ni même posée par M. L. Scott, et nous
nous étonnons que cet intelligent inventeur ait vu dans l'invention de
M. Edison un acte de spoliation commis à son préjudice. Nous regrettons
surtout pour lui, à qui, quoiqu'il en dise, tout le monde a rendu justice,
qu'il ait à cette occasion publié, en termes amers, une sorte de pamphlet
qui ne prouve absolument rien, et qui n'apprend que ce que tous les physiciens
savent déjà. Si quelqu'un pouvait élever des prétentions à l'égard de
l'invention du phonographe, du moins dans ce qu'il a de plus curieux,
c'est-à-dire la reproduction de la parole, ce serait bien certainement
M. Ch. Cros; car dans un pli cacheté déposé à l'Académie des sciences,
le 30 avril 1877, il indiquait en principe un instrument au moyen duquel
on pouvait obtenir la reproduction de la parole d'après les traces fournies
par un enregistreur du genre du phonautographe. Le brevet de M. Edison
dans lequel le principe du phonographe est indiqué pour la première fois,
ne date en effet que du 31 juillet 1877, et encore ne s'appliquait-il
qu'à la répétition des signaux Morse. Dans ce brevet, M. Edison ne fait
que décrire un moyen d'enregistrer ces signaux par des dentelures effectuées
par un style traceur sur une feuille de papier enveloppant un cylindre,
et ce cylindre était creusé sur sa surface d'une rainure en spirale. Les
dentelures ou gaufrages ainsi produits devaient être utilisés, d'après
le brevet, pour transmettre automatiquement la même dépêche, en repassant
sous un style capable de réagir sur un interrupteur de courant. Il n'est
donc dans ce brevet nullement question de l'enregistration de la parole
ni de sa reproduction; mais, comme le fait observer le Telegraphic
journal du 1er mai 1878, l'invention précédente lui donnait
les moyens de résoudre ce double problème aussitôt que l'idée lui en serait
venue. S'il faut en croire les journaux américains, cette idée ne tarda
pas à se faire jour, et elle aurait été le résultat d'un accident. Pendant
des expériences qu'il faisait un jour avec le téléphone, un style attaché
au diaphragme lui piqua le doigt au moment où le diaphragme entrait en
vibration sous l'influence de la voix, et cette piqûre avait été assez
forte pour que le sang en jaillit; il pensa alors que, puisque les vibrations
de ce diaphragme étaient assez fortes pour percer la peau, elles pourraient
bien produire sur une surface flexible des gaufrages assez caractérisés
pour représenter toutes les inflexions des ondes provoquées par la parole,
et il put croire que ces gaufrages pourraient même reproduire mécaniquement
les vibrations qui les avaient provoquées, en réagissant sur une lame
capable de vibrer à la manière de celle qu'il avait déjà employée pour
la reproduction des signaux Morse. Dès lors le phonographe était découvert,
car de cette idée à sa réalisation, il n'y avait qu'un pas, et, en moins
de deux jours, l'appareil était exécuté et expérimenté.
Cette petite histoire est assez ingénieuse et fait bien
dans le tableau, mais nous aimons à croire que cette découverte a été
faite un peu plus sérieusement. En effet, un inventeur comme M. Edison,
qui avait découvert l'électro-motographe, et qui l'avait appliqué
au téléphone, se trouvait par cette application même sur la voie du phonographe,
et nous estimons trop M. Edison pour ajouter foi au petit roman américain.
D'ailleurs le phonautographe de M. L. Scott était parfaitement connu de
M. Edison.
Ce n'est qu'au mois de janvier 1877, que le phonographe
de M. Edison a été breveté. Par conséquent, au point de vue du principe
de l'invention, M. Ch. Cros paraît avoir une priorité incontestable; mais
son système tel qu'il est décrit dans son pli cacheté et tel qu'il a été
publié dans la Semaine du clergé du 10 octobre 1877, aurait-il
été susceptible de reproduire la parole?... Nous en doutons fort, et notre
doute pourrait être légitimé par les essais infructueux tentés par M.
l'abbé Leblanc qui avait voulu réaliser l'idée de M. Cros. Quand il s'agit
de vibrations aussi accidentées, aussi complexes que celles qui sont exigées
pour la reproduction des mots articulés, il faut que leur clichage soit
en quelque sorte moulé par elles-mêmes, et leur reproduction artificielle
doit forcément laisser échapper les nuances qui distinguent les fines
liaisons du langage; d'ailleurs, les mouvements déterminés par une pointe
engagée dans une rainure suivant une courbe sinusoïde, ne peuvent
s'effectuer avec toute la liberté nécessaire au développement des sons,
et les frottements exercés sur les deux bords opposés de la rainure, seraient
d'ailleurs souvent de nature à les étouffer. Un membre distingué de la
Société de physique disait avec raison, quand j'ai présenté le phonographe
à cette Société, que toute l'invention de M. Edison résidait dans la feuille
métallique mince sur laquelle les vibrations se trouvent inscrites, et
effectivement, c'est grâce à cette feuille qui a permis de clicher directement
les vibrations d'une lame vibrante, que le problème a pu être résolu;
mais il fallait penser à ce moyen, et c'est M. Edison qui l'a trouvé;
c'est donc lui qui est bien l'inventeur du phonographe.
Après M. Ch. Cros, et encore avant M. Edison, MM. Napoli
et Marcel Deprez avaient cherché à construire un phonographe; mais leurs
essais avaient été si infructueux qu'ils avaient cru un moment le problème
insoluble, et quand on annonça à la Société de physique l'invention de
M. Edison, ils la mirent en doute. Depuis, ils ont repris leurs travaux
et nous font espérer qu'un jour ils pourront nous présenter un phonographe
encore plus perfectionné que celui de M. Edison; c'est ce que la suite
nous dira.
En définitive, c'est M. Edison qui le premier a reproduit,
mécaniquement la parole, et a réalisé par ce fait, une des plus curieuses
et des plus importantes découvertes de notre époque; car elle a pu nous
montrer que cette reproduction est beaucoup moins compliquée qu'on pouvait
le supposer. Cependant il ne faut pas s'exagérer les conséquences théoriques
de cette découverte qui n'a pas du tout démontré, suivant moi, que nos
théories sur la voix fussent inexactes. Il faut, en effet, établir une
grande différence entre la reproduction d'un son émis et la manière de
déterminer ce son. La reproduction pourra être effectuée d'une manière
très-simple, comme le disait M. Bourseul, du moment où l'on aura trouvé
un moyen de transmettre les vibrations de l'air, quelque compliquées qu'elles
puissent être; mais pour produire par la voix les vibrations compliquées
de la parole, il faudra la mise en action de plusieurs organes particuliers,
d'abord des cordes du larynx, en second lieu, de la langue, des lèvres,
du nez, des dents mêmes, et c'est pourquoi une machine réellement parlante
est forcément très-compliquée.
On s'est étonné que la machine parlante qui nous est venue,
il y a deux ans d'Allemagne, et qui a été exhibée au Grand-Hôtel, fut
d'une extrême complication, alors que le phonographe résolvait le problème
d'une manière si simple: c'est que l'une de ces machines ne faisait que
reproduire la parole, tandis que l'autre l'émettait, et l'inventeur de
cette dernière machine avait dû, dans son mécanisme, mettre à contribution
tous les organes qui dans notre organisme concourent à la production de
la parole. Le problème était infiniment plus complexe, et on n'a pas accordé
à cette invention tout l'intérêt qu'elle méritait.
Il est temps de décrire le phonographe et les diverses
applications qu'on en a faites et qu'on pourra en faire dans l'avenir.
Fig. 60.
Description du phonographe.—Manière de s'en
servir.—Le premier modèle de cet appareil, celui qui est le plus connu
et que nous représentons fig. 60, se compose simplement d'un cylindre
enregistreur R, mis en mouvement au moyen d'une manivelle M tournée à
la main, et devant lequel est fixée une lame vibrante munie antérieurement
d'une embouchure de téléphone E et, sur sa face postérieure, d'une pointe
traçante; cette pointe traçante que l'on voit en s dans la fig.
62 qui représente la coupe de l'appareil, n'est pas fixée directement
sur la lame; elle est portée par un ressort r, et entre elle et
la lame vibrante est adapté un tampon de caoutchouc c, constitué
par un bout de tube, lequel a pour mission de transmettre à la pointe
s les vibrations de la lame sans les étouffer; un autre tampon r,
placé entre la lame LL et le support rigide de la pointe, tend à atténuer
un peu ces vibrations qui seraient presque toujours trop fortes sans cette
précaution.
Fig. 61.
Le cylindre, dont l'axe AA, fig. 60, est muni d'un pas
de vis pour lui faire accomplir un mouvement de translation horizontal
à mesure que s'effectue son mouvement de rotation sur lui-même, présente
à sa surface une petite rainure hélicoïdale dont le pas est exactement
celui de la vis qui le fait avancer, et la pointe traçante s'y trouvant
une fois engagée, peut la parcourir sur une plus ou moins grande partie
de sa longueur, suivant le temps plus ou moins long qu'on tourne le cylindre.
Une feuille de papier d'étain ou de cuivre très-mince est appliquée exactement
sur cette surface cylindrique, et doit y être un peu déprimée afin d'y
marquer légèrement la trace de la rainure et de placer convenablement
la pointe de la lame vibrante. Celle-ci, d'ailleurs, appuie sur cette
feuille sous une pression qui doit être réglée, et, c'est à cet effet,
aussi bien que pour dégager le cylindre quand on doit placer ou retirer
la feuille d'étain, qu'a été adapté le système articulé SN qui soutient
le support S de la lame vibrante. Ce système, comme on le voit, se compose
d'un levier articulé qui porte une rainure dans laquelle s'engage la vis
R. Un manche N qui termine ce levier, permet, quand la vis R est desserrée,
de faire pivoter le système traçant. Conséquemment, pour régler la pression
de la pointe traçante sur la feuille de papier d'étain, il suffit d'engager
plus ou moins la vis R dans la rainure, et de la serrer fortement quand
le degré convenable de pression est obtenu.
Telle est la planche sur laquelle la parole viendra tout
à l'heure se graver en caractères durables, et voici comment fonctionne
ce système si peu compliqué.
On parle dans l'embouchure E de l'appareil, comme on le
fait dans un téléphone ou dans un tube acoustique, mais avec une voix
forte et accentuée et les lèvres appuyées contre les parois de l'embouchure,
comme on le voit fig. 61; on tourne en même temps le cylindre qui, pour
avoir un mouvement régulier, est muni d'un lourd volant, V. fig. 60. Sous
l'influence de la voix, la lame LL entre en vibration et fait manœuvrer
la pointe traçante, qui, à chaque vibration, déprime la feuille d'étain
et détermine un gaufrage plus ou moins creux, plus ou moins accidenté,
suivant l'amplitude de la vibration et ses inflexions. Le cylindre qui
marche pendant ce temps, présente successivement à la pointe traçante
les différents points de la rainure dont il a été question plus haut;
de sorte que, quand on est arrivé au bout de la phrase prononcée, le dessin
pointillé, composé de creux et de reliefs successifs que l'on a obtenus,
représente l'enregistration de la phrase elle-même. En ce qui concerne
l'enregistrement, l'opération est donc terminée, et en détachant la feuille
de l'appareil, la parole pourrait être mise en portefeuille. Voyons maintenant
comment l'appareil arrive à répéter ce qu'il a si facilement inscrit.
Fig. 62.
Pour cela, il s'agit de recommencer tout simplement la
même manœuvre, et le même effet se reproduit identiquement en sens inverse.
On replace le style traçant à l'extrémité de la rainure qu'il a déjà parcourue,
et on remet le cylindre en marche; les traces gaufrées en repassant sous
la pointe tendent à la soulever et à lui communiquer un mouvement qui
ne peut être que la répétition de celui qui les avait primitivement provoquées,
et la lame vibrante obéissant à ce mouvement, entre en vibration, reproduisant
ainsi les mêmes sons et par suite les mêmes paroles; toutefois, comme
il y a nécessairement perte de force dans cette double transformation
des effets mécaniques, on est obligé, pour obtenir des sons plus forts,
d'adapter à l'embouchure E le cornet C qui est une sorte de porte-voix.
Dans ces conditions, la parole reproduite par l'appareil peut être entendue
de tous les points d'une salle, et rien n'est plus saisissant que d'entendre
cette voix, un peu grêle il est vrai, qui semble venir d'outre-tombe pour
formuler ses sentences. Si cette invention eût été faite au moyen âge,
on en aurait bien certainement fait l'accompagnement des fantômes, et
elle aurait donné beau jeu aux faiseurs de miracles.
Comme la hauteur des sons dans l'échelle musicale dépend
du nombre des vibrations effectuées par un corps vibrant dans un temps
donné, la parole peut être reproduite par le phonographe sur un ton plus
ou moins élevé suivant la vitesse de rotation que l'on donne au cylindre
qui porte la feuille impressionnée. Si cette vitesse est la même que celle
qui a servi à l'enregistration, le ton des paroles reproduites est le
même que celui des paroles prononcées. Si elle est plus grande, le ton
est plus élevé, et si elle est moins grande, le ton est plus bas; mais
on reconnaît toujours l'accent de celui qui a parlé; cette particularité
fait qu'avec les appareils tournés à la main, la reproduction des chants
est le plus souvent défectueuse, et l'appareil chante faux; il n'en est
plus de même quand l'appareil se meut sous l'influence d'un mouvement
d'horlogerie parfaitement régularisé, et l'on a pu obtenir de cette manière
des reproductions satisfaisantes de duos chantés.
La parole, enregistrée sur une feuille d'étain, peut se
reproduire plusieurs fois; mais à chaque fois les sons deviennent plus
faibles et moins distincts, parce que les reliefs s'affaissent de plus
en plus. Avec une lame de cuivre, ces reproductions sont meilleures, mais
pour les obtenir indéfiniment, il faut faire clicher ces lames, et dans
ce cas, la disposition de l'appareil doit être différente.
On a essayé de faire parler le phonographe en prenant
les enregistrations à rebours de leur véritable sens; on a obtenu naturellement
des sons n'ayant aucune ressemblance avec les mots émis; cependant MM.
Fleeming Jenkin et Ewing ont remarqué que non seulement les voyelles ne
sont pas altérées par cette action inverse, mais encore que les consonnes,
les syllabes et des mots tout entiers peuvent être reproduits avec l'accentuation
que leur donnerait leur lecture si elle était faite à rebours.
Les sons produits par le phonographe, quoique plus faibles
que ceux de la voix qui a déterminé les traces enregistrées, sont néanmoins
assez forts pour réagir sur des téléphones à ficelle et même sur des téléphones
Bell, et comme dans ce cas les sons sont éteints sur l'appareil et qu'il
n'y a que celui qui est en rapport avec le téléphone qui les perçoit,
on peut être assuré qu'aucune supercherie n'a pu être employée pour les
produire.
Quand je présentai le 11 mars 1878 le phonographe à l'Académie
des Sciences de la part de M. Edison, et que M. Puskas, son représentant,
eût fait parler ce merveilleux instrument, un murmure d'admiration se
fit entendre de tous les points de la salle, et ce murmure se changea
bientôt en applaudissements répétés. Jamais, écrivait à un journal une
des personnes présentes à la séance, on n'avait vu la docte Académie,
ordinairement si froide, se livrer à un épanchement si enthousiaste. Pourtant
quelques membres incrédules par nature, au lieu d'examiner le fait physique,
voulurent le déduire de considérations morales et d'analogies, et bientôt
on entendit dans la salle une rumeur qui semblait accuser l'Académie de
s'être laissée mystifier par un habile ventriloque. Décidément
l'esprit gaulois se retrouve toujours chez les Français et même chez les
académiciens. Les sons émis par l'instrument sont exactement ceux des
ventriloques, disait l'un. Avez-vous remarqué les mouvements des lèvres
et de la figure de M. Puskas quand il tourne l'appareil?... disait l'autre;
ne sont-ce pas les grimaces des ventriloques?... Il peut se faire que
l'appareil émette des sons, disait encore un autre, mais l'appareil est
considérablement aidé par celui qui le manœuvre! Bref, le bureau de l'Académie
demanda à M. du Moncel de faire lui-même l'expérience, et comme il n'avait
pas l'habitude de parler dans cet appareil, l'expérience fut négative,
à la grande joie des incrédules. Toutefois, quelques académiciens désirant
fixer leurs idées sur ce qu'il y avait de vrai dans ces effets, prièrent
M. Puskas de répéter devant eux les expériences dans le cabinet du secrétaire
perpétuel et dans les conditions qu'ils lui indiqueraient. M. Puskas se
prêta à ce désir, et ils revinrent de là parfaitement convaincus. Néanmoins,
les incrédules ne se tinrent pas pour battus, et il fallut qu'ils fîssent
eux-mêmes les expériences pour accepter définitivement ce fait, que la
parole pouvait être reproduite dans des conditions excessivement simples.
Cette petite anecdote que je viens de raconter ne peut
certes pas être interprétée en défaveur de l'Académie des Sciences; car
son rôle est avant tout de conserver intactes les vrais principes de la
Science et de n'accueillir les faits qui peuvent provoquer l'étonnement,
qu'après un examen scrupuleux. C'est grâce à cette attitude qu'elle a
pu donner un crédit absolu à tout ce qui émane d'elle, et nous ne saurions
trop l'approuver de se maintenir ainsi sur la réserve et en dehors d'un
premier moment d'enthousiasme et d'engouement.
Le peu de réussite de l'expérience que j'avais tentée
à l'Académie provenait uniquement de ce que je n'avais pas parlé assez
près de la lame vibrante et que mes lèvres ne touchaient pas les parois
de l'embouchure. Quelques jours après, sur l'invitation de plusieurs de
mes confrères, je fis des expériences répétées avec l'appareil, et je
parvins bientôt à le faire parler aussi bien que celui qu'on accusait
de ventriloquie; mais je reconnus en même temps qu'il fallait une certaine
habitude pour être sûr des résultats produits. Il y a aussi des mots qui
sont reproduits beaucoup mieux que d'autres. Ceux qui renferment beaucoup
de voyelles et beaucoup d'R viennent bien mieux que ceux où les consonnes
dominent et surtout que ceux où il y a beaucoup d'S. On ne doit donc pas
s'étonner, comme l'ont fait plusieurs personnes, que même avec la grande
habitude que possède le représentant de M. Edison, certaines phrases prononcées
par lui s'entendaient mieux que d'autres.
Un des résultats les plus étonnants que le phonographe
a produits a été la répétition simultanée de plusieurs phrases en langues
différentes dont l'enregistration avait été superposée. On a pu obtenir
jusqu'à trois de ces phrases; mais pour pouvoir les distinguer au milieu
du bruit confus résultant de leur superposition, il fallait que des personnes
différentes, en faisant une attention spéciale à chacune des phrases inscrites,
pussent les séparer et en comprendre le sens. On a pu même superposer
des airs chantés aux phrases prononcées, et la séparation devenait même
dans ce cas plus facile.
Il y a plusieurs modèles de phonographes. Celui que nous
avons représenté fig. 60, est le modèle qui a servi pour les expériences
publiques; mais il est un modèle plus petit que l'on vend principalement
aux amateurs, et dans lequel le cylindre, beaucoup moins long, sert à
la fois d'enregistreur et de volant. Cet appareil donne de très-bons résultats,
mais il ne peut enregistrer que des phrases courtes. Dans ce modèle, comme
du reste dans l'autre, on peut rendre l'enregistration de la parole beaucoup
plus facile en adaptant dans l'embouchure un petit cornet en forme de
porte-voix allongé; les vibrations de l'air sont alors plus concentrées
sur la lame vibrante et agissent plus vigoureusement. Il paraît aussi
que l'appareil gagne à avoir une lame vibrante un peu épaisse, et on a
reconnu qu'on pouvait adapter directement la pointe traçante sur la lame.
Je ne parlerai pas d'une manière spéciale du phonographe
à mouvement d'horlogerie. C'est un appareil exactement semblable à celui
de la fig. 60, seulement il est monté sur une table spéciale un peu haute
de pieds pour donner au poids du mouvement d'horlogerie une course suffisante;
le mécanisme est adapté directement sur l'axe du cylindre au lieu et place
de la manivelle, et il est régularisé par un volant à ailettes. Celui
qu'on a adopté est un volant d'un système anglais; mais nous croyons que
le régulateur à ailettes de M. Villarceau serait préférable.
Fig. 63.
Comme le raccordement des feuilles d'étain sur un cylindre
est toujours délicat à effectuer, M. Edison a cherché à obtenir les traces
de la feuille d'étain sur une surface plane, et il a obtenu ce résultat
de la manière la plus heureuse, au moyen de la disposition que nous représentons
fig. 63. Dans ce nouveau modèle, la plaque sur laquelle doit être appliquée
la feuille d'étain ou de cuivre est creusée d'une rainure hélicoïdale
en limaçon, dont un bout correspond au centre de la plaque et l'autre
bout aux côtés extérieurs, et cette plaque est mise en mouvement par un
fort mécanisme d'horlogerie dont la vitesse est régularisée proportionnellement
à l'allongement des spires de l'hélice. Au-dessus de cette plaque est
placée la lame vibrante qui est d'ailleurs disposée comme dans le premier
appareil, et dont la pointe traçante peut, par suite d'un mouvement de
translation communiqué au système, suivre la rainure en limaçon depuis
le centre de la plaque jusqu'à sa circonférence. Enfin quatre points de
repère permettent déplacer toujours et sans tâtonnements la feuille d'étain
dans la véritable position qu'elle doit avoir. La figure 64 montre comment
cette feuille peut être retirée de l'appareil.
Il ne faudrait pas croire que toutes les feuilles d'étain
employées pour les enregistrations phonographiques soient également bonnes,
il faut que ces feuilles contiennent une certaine quantité de plomb et
présentent une certaine épaisseur. Les feuilles d'étain qui enveloppent
le chocolat, et même toutes celles que l'on trouve en France, sont trop
riches en étain et trop minces pour donner de bons résultats, et M. Puskas
a été obligé d'en faire venir d'Amérique pour continuer à Paris ses expériences.
Jusqu'ici les proportions de plomb et d'étain n'ont pas encore été bien
définies, et c'est l'expérience qui permet de décider le choix des feuilles;
mais quand le phonographe sera plus répandu, il faudra évidemment que
ce travail soit effectué, et cela sera facile en analysant la composition
des feuilles qui auront fourni les meilleurs résultats.
Fig. 64.
La disposition de la pointe traçante est aussi une question
très-importante pour le bon fonctionnement d'un phonographe. Elle doit
être très-tenue et très-courte (un millimètre de longueur tout au plus),
afin qu'elle puisse enregistrer nettement les vibrations les plus minimes
de la lame vibrante sans se courber et vibrer dans un autre sens que le
sens normal au cylindre, ce qui pourrait arriver si elle était longue,
en raison des frottements inégaux exercés sur la feuille d'étain. Il a
fallu aussi la construire avec un métal ne pouvant facilement provoquer
des déchirures sur la feuille métallique. Le fer a paru réunir le mieux
les conditions voulues.
Le phonographe n'est du reste qu'à son début, et il est
probable que d'ici à peu de temps, il pourra être dans des conditions
convenables pour enregistrer la parole sans qu'on ait besoin de parler
dans une embouchure. S'il faut en croire les journaux, M. Edison aurait
déjà trouvé le moyen de recueillir sans le secours d'un tuyau acoustique,
les sons émis à une distance de 3 à 4 pieds de l'appareil et de les imprimer
sur une feuille métallique. De là à inscrire sur l'appareil un discours
prononcé dans une grande salle, à une distance quelconque du phonographe,
il n'y a qu'un pas, et si ce pas est fait, ce qui est probable, la phonographie
pourra avantageusement remplacer la sténographie.
Nous publions dans la note ci-dessous les instructions
que M. Roosevelt le vendeur de ces machines, donne aux acquéreurs pour
les initier à la manœuvre de l'appareil.
Considérations théoriques.—Bien que
les explications que nous avons données précédemment soient suffisantes
pour faire comprendre les effets du phonographe, il est une question curieuse
qui ne laisse pas que d'étonner beaucoup les physiciens, c'est celle-ci:
Comment se fait-il que des gaufrages effectués sur une surface aussi peu
résistante que l'étain, puissent en repassant sous la pointe traçante
qui présente une rigidité relativement grande, déterminer de sa part un
mouvement vibratoire sans se trouver complètement écrasés? À cela nous
répondrons qu'en raison de l'extrême rapidité du passage de ces traces
devant la pointe, il se développe des effets de force vive qui n'agissent
que localement, et que, dans ces conditions, les corps mous peuvent exercer
des effets mécaniques aussi énergiques que les corps durs. Qui ne se rappelle
cette curieuse expérience relatée tant de fois dans les traités de physique,
d'une planche percée par une chandelle servant de balle à un fusil. Qui
ne se rappelle les accidents produits à diverses reprises par des bourres
de papier projetées par les armes à feu? Dans ces conditions, le mouvement
communiqué aux molécules qui reçoivent le choc n'ayant pas le temps d'être
transmis à toute la masse du corps auquel elles appartiennent, elles sont
obligées de s'en séparer ou tout au moins de déterminer, quand le corps
est susceptible de vibrer, un centre de vibration qui, propageant ensuite
des ondes sur toute sa surface, détermine les sons.
Plusieurs savants, entre autres MM. Preece et Mayer ont
cherché à étudier avec soin la forme des gaufrages laissés par la voix
sur la lame d'étain du phonographe, et ont reconnu que ces formes ressemblaient
beaucoup à celles des flammes chantantes si bien dessinées avec les appareils
de M. Kœnig. Voici ce que dit à cet égard M. Mayer dans le Popular
Science Monthly d'avril 1878.
Par la méthode suivante, j'ai pu parvenir à reproduire
sur du verre enfumé, de magnifiques traces montrant le profil des vibrations
sonores enregistrées sur la feuille d'étain avec leurs différentes sinuosités.
J'adapte pour cela au ressort supportant la pointe traçante du phonographe,
une tige longue et légère terminée par une pointe qui appuie de côté sur
la lame de verre enfumée, et qui peut, par suite de la position verticale
de celle-ci et d'un mouvement qui lui est communiqué, déterminer des traces
sinusoïdes. Par cette disposition, on obtient donc simultanément, quand
le phonographe est mis en action, deux systèmes de traces dont les unes
sont le profil des autres.
L'instrument a été en ma possession pendant si peu de
temps, que je n'ai pu faire autant d'expériences que je l'aurais voulu;
mais j'ai néanmoins pu étudier quelques-unes de ces courbes, et il m'a
semblé que les contours enregistrés avaient, pour un même son, une grande
ressemblance avec ceux des flammes chantantes de Kœnig.
Fig. 65.
La fig. 65 représente les traces correspondantes au son
de la lettre A prononcé bat dans les trois systèmes d'enregistration.
Celles qui correspondent à la ligne A sont la reproduction agrandie des
traces laissées sur la feuille d'étain; celles qui correspondent à la
ligne B, en représentent les profils sur la feuille de verre noirci. Enfin
celles qui correspondent à la ligne C montrent les contours des flammes
chantantes de Kœnig, quand le même son est produit très-près de
la membrane de l'enregistreur. Je dis très-près avec intention,
car la forme des traces produites par une pointe attachée à une membrane
vibrante sous l'influence de sons composés, dépend de la distance séparant
la membrane de la source du son, et l'on peut obtenir une infinité de
traces de forme différente en variant cette distance. Il arrive, en effet,
qu'en augmentant cette distance, les ondes sonores résultant de sons composés
réagissent sur la membrane à différentes époques de leur émission. Par
exemple, si le son composé est formé de six harmoniques, le déplacement
de la source des vibrations de 1/4 de longueur d'onde de la première harmonique,
éloignera la seconde, la troisième, la quatrième, la cinquième et la sixième
harmonique de 1/2, 3/4, 1, 1-1/4, 1-1/2 de longueur d'onde, et par conséquent
les contours résultant de la combinaison de ces ondes, ne pourront plus
être les mêmes qu'avant le déplacement de la source sonore, quoique la
sensation des sons reste le même, dans les deux cas. Ce principe a été
parfaitement démontré au moyen de l'appareil de Kœnig, en allongeant et
en raccourcissant un tube extensible interposé entre le résonnateur et
la membrane vibrante placée prés de la flamme, et il explique le désaccord
qui s'est produit entre différents physiciens sur la composition des sons
vocaux, quand ils les ont analysés au moyen des flammes chantantes.
Ces faits nous démontrent d'un autre côté, qu'il n'y a
pas lieu d'espérer que l'on puisse lire les impressions et les
traces du phonographe, car ces traces varient non-seulement avec la nature
des voix, mais encore avec les moments différents d'émission des harmoniques
de ces voix et avec les différences relatives des intensités de ces harmoniques.
Nous reproduisons néanmoins, fig. 66, des traces extrêmement
curieuses que nous a communiquées M. Blake, et qui représentent les vibrations
déterminées par les mots: Brown university; how do you do. Elles
ont été photographiées sous l'influence d'un index adapté à une lame vibrante
et illuminé par un pinceau de lumière. Le mot how est surtout remarquable
par les formes combinées des inflexions des vibrations.
Fig. 66.
Des expériences récentes semblent montrer que plus la
membrane vibrante d'un phonographe se rapproche comme construction de
celle de l'oreille humaine, et mieux elle répète et enregistre les vibrations
sonores; elle devrait, en quelque sorte, être tendue à la manière de la
membrane tympanique par l'os du marteau et surtout en avoir la forme,
car les vibrations aériennes s'effectueraient alors beaucoup mieux.
Suivant M. Edison, la grandeur du trou de l'embouchure
influe beaucoup sur la netteté de l'articulation de la parole. Quand les
mots sont prononcés devant toute la surface du diaphragme, le sifflement
de certains sons est perdu. Au contraire, il est renforcé quand les sons
n'arrivent à ce diaphragme qu'à travers un orifice étroit et dont les
bords sont aigus. Si ce trou est pourvu de dentelures sur ses bords aplatis,
les consonnes sifflantes sont rendues plus clairement. La meilleure reproduction
de la parole est obtenue quand l'embouchure est recouverte avec des enveloppes
plus ou moins épaisses disposées de manière à éteindre les sons provenant
de la friction de la pointe traçante sur l'étain.
M. Hardy a, du reste, rendu l'enregistration des traces
du phonographe plus facile en adaptant dans le trou de l'embouchure de
l'appareil un petit cornet d'ébonite formant comme une embouchure d'instrument
à vent.
APPLICATIONS DU PHONOGRAPHE ET SON AVENIR.
M. Edison vient de publier dans le North American Review,
de mai-juin 1878, un article très-intéressant sur l'avenir du phonographe,
dans lequel il discute lui-même les différentes applications qui pourront
être faites de cet instrument et dont nous allons reproduire ici les conclusions.
Afin de fournir au lecteur une base sur laquelle il puisse
asseoir son jugement, il commence par poser sous forme de questions auxquelles
il répond, les différents principes de son invention. Voici ces questions:
1o Une plaque ou un disque vibrant peut-il
recevoir un mouvement complexe qui représentera exactement les propriétés
particulières de chaque vibration et de toutes les ondes sonores résultant
des émissions des sons complexes si variés de la voix?
R. Le téléphone répond affirmativement à cette question.
2o Un mouvement si complexe peut-il être transmis
à une pointe adaptée à une plaque de cette nature, de manière à lui faire
imprimer sur une matière plastique des traces gaufrées capables de le
représenter exactement dans toutes ses conditions? et si cela est, cette
pointe traçante pourra-t-elle, en repassant à travers ces traces, les
suivre assez fidèlement pour transmettre de nouveau au disque les mouvements
complexes dont il avait été primitivement animé lorsqu'il avait produit
ces traces, lesquels mouvements doivent nécessairement reproduire à l'oreille
les sons vocaux aussi bien que tout les autres bruits qui auraient pu
les accompagner?
R. Les expériences faites avec le phonographe, quand il
est placé dans de bonnes conditions d'exécution et d'expérimentation,
répondent affirmativement à cette question, et les effets obtenus sont
aujourd'hui si parfaits, qu'avec un peu d'habitude on peut même, en quelque
sorte, lire les sons enregistrés, sans en connaître l'origine.
3o La feuille tracée peut-elle être enlevée
de l'appareil sur lequel elle a été impressionnée, et replacée sur un
autre sans annuler ou amoindrir son pouvoir reproducteur de la parole?
R. Ceci est question de précision de mécanisme et d'ajustement
qui ne présente pas plus de difficultés que la disposition de l'appareil
lui-même, et le problème est certainement moins difficile à résoudre que
celui de l'ajustement des différentes pièces d'une montre.
4o Une feuille contenant ainsi l'enregistration
de la parole peut-elle être facilement déplacée et expédiée par la poste?
R. Dix ou quinze secondes suffisent pour placer ou déplacer
la feuille enregistrée, mais comme il faut pour son expédition une enveloppe
spéciale, le poids de la dépêche pourra dépasser un peu celui de la taxe
postale; mais l'augmentation ne sera que très-minime.
5o Quelle est la durée d'une dépêche ainsi
reproduite?
R. Des expériences répétées ont prouvé que les gaufrages
ont un grand pouvoir de résistance, même quand la reproduction a été effectuée
par une plaque vibrante relativement rigide; mais on pense pouvoir substituer
aux lames d'étain des lames d'un métal plus dur et extrêmement mince,
sur lesquelles réagiraient des pointes très-dures, telles que des pointes
de diamant ou de saphir, et alors ces feuilles pourraient répéter les
dépêches cinquante ou cent fois.
6o Peut-on avoir un duplicata d'une feuille
enregistrée, et quelle serait sa durée?
R. Un grand nombre d'expériences ont été entreprises avec
plus ou moins de succès dans le but d'obtenir des enregistrations électrotypiques,
et d'après les renseignements qui ont été donnés, il paraîtrait qu'on
aurait pu obtenir ce résultat d'une manière satisfaisante. Il ne paraît
pas, du reste, que la solution du problème présente de difficulté sérieuse,
pas plus que celle d'obtenir des épreuves inaltérables.
7o Quelle peut être la force des ondes sonores
et la distance à laquelle elles doivent agir sur le diaphragme pour produire
une bonne enregistration?
R. Ceci dépend essentiellement de l'intensité des sons
que l'on demande à l'instrument pour leur reproduction. Si cette reproduction
doit être faite de manière à être entendue d'une assistance nombreuse,
les ondes sonores qui doivent fournir l'enregistration doivent être déterminées
d'une manière très-énergique; mais si on se contente d'une reproduction
à l'oreille, la parole prononcée à voix ordinaire ou même à voix presque
basse est susceptible d'être entendue. Dans les deux cas, les paroles
doivent être prononcées devant l'embouchure de l'instrument. Cependant
on a pu, dans certaines conditions, obtenir une reproduction de la parole
en parlant à voix très-haute à deux ou trois pieds de l'instrument. L'application
à l'appareil d'un tube ouvert ou d'un entonnoir pour concentrer les ondes
sonores, le bon établissement d'un diaphragme délicat et d'une pointe
traçante bien établie, étaient les conditions nécessaires pour obtenir
ce résultat. Il ne peut y avoir, du reste, de grande difficulté pratique
à réunir et à faire converger les ondes sonores à partir d'une source
de vibration placée dans un rayon de trois pieds, rayon qui est assez
étendu pour ne pas embarrasser une personne qui parle ou qui chante. Les
différents essais tentés dans cette voie ont démontré du reste que l'on
peut obtenir de cette manière:
1o L'emmagasinement, d'une manière permanente,
de toutes les espèces d'ondes sonores regardées comme fugitives.
2o Leur reproduction avec tous leurs caractères
primitifs, que la source de la vibration soit ou non présente, et quelque
soit le laps de temps écoulé entre le moment de l'enregistration et celui
de la reproduction.
3o Le moyen de transmettre matériellement la
parole ainsi emmagasinée par les voies ordinaires ouvertes aux transactions
commerciales, et de pouvoir remplacer ainsi une dépêche écrite.
4o La multiplication indéfinie de ces sortes
de dépêches et leur conservation, sans avoir à se préoccuper de la source
primitive.
5o Le moyen d'enregistrer la parole ou les
chants avec ou sans le consentement de la personne qui les a émis, et
même à son insu.
M. Edison entame ensuite le chapitre des applications
du phonographe qu'il énumère de la manière suivante:
Parmi les plus importantes applications du phonographe
on peut citer, dit-il, son application à l'écriture des lettres, à l'éducation,
à la lecture, à la musique, aux enregistrations de famille, aux compositions
électrotypiques pour les boîtes à musique, les joujoux, les horloges,
les appareils avertisseurs ou les appareils à signaux, la sténographie
des discours, etc.
Écriture des lettres.—L'appareil étant
perfectionné au point de vue des détails mécaniques de sa construction,
pourrait être employé pour tous les usages domestiques (excepté ceux qui
exigent une disposition particulière) qui demanderont la répétition indéfinie
d'un même ordre ou d'un même avis; mais, comme le principal rôle du phonographe
est d'enregistrer la parole et des sons, sa disposition a dû être combinée
en conséquence.
La disposition la plus générale consiste dans une plaque
plate ou un disque à la surface duquel est évidée une rainure fine en
spirale et à pas serré qui peut fournir par son développement une grande
longueur. Cette plaque est mise en mouvement par un mécanisme d'horlogerie
placé au-dessous, et la rainure est combinée de manière à permettre l'enregistration
de 40000 mots. Le débit de l'appareil peut être effectué dans des conditions
telles, que sur une surface d'étain de 10 pouces carrés, on peut enregistrer
100 mots. Reste à savoir si un débit moins grand par pouce carré ne serait
pas d'un meilleur effet. Il est certain que pour les lettres cela vaudrait
mieux, mais comme on ne peut pas multiplier indéfiniment les types de
machines, et que les messages étendus sont enregistrés plus économiquement
sur une seule feuille que sur deux, il vaut mieux que l'appareil puisse
fournir le plus de travail possible sur la surface la moins grande possible.
Cette question devra, du reste, être étudiée avant de créer le type définitif.
Le fonctionnement du phonographe ainsi disposé pour l'application
que nous traitons en ce moment, est très-simple. On place la feuille d'étain
sur le phonographe et on met en action le mécanisme d'horlogerie; on parle
devant l'embouchure comme si l'on dictait sa lettre à un secrétaire, et,
quand on a terminé, on ôte la feuille de l'appareil, on la met dans une
enveloppe, et on l'expédie par la voie ordinaire à celui auquel elle est
destinée. Celui-ci la place alors sur son phonographe, met en action l'appareil
et entend bientôt la parole de son correspondant comme s'il lui parlait
réellement; il peut même lui faire répéter sa missive s'il ne l'a pas
bien comprise. On comprend quel avantage un pareil système peut présenter
pour les relations qui peuvent exister entre les aveugles. Comme deux
feuilles d'étain peuvent être aussi facilement marquées par la pointe
traçante de l'appareil qu'une seule, on peut expédier un message en double,
ou bien en garder un comme copie ou contrôle de la lettre envoyée. De
cette manière les commerçants peuvent faire leur correspondance en secret
et sans qu'elles passent par des tiers.
Comme au moyen de la parole on peut transmettre et entendre
avec une vitesse de 150 à 200 mots par minute, l'expédition des dépêches
pourra être effectuée beaucoup plus promptement que par les moyens ordinaires,
et quand on en prendra connaissance, on pourra continuer ses occupations,
en accompagnant même l'audition de la dépêche de commentaires, d'exclamations
et de réflexions, comme cela a lieu dans une conversation échangée directement
entre deux personnes.
Le phonographe permet encore à une personne ne sachant
ni lire ni écrire de correspondre avec une autre placée dans le même cas,
ou même avec les autres personnes qui ne pourront pas, de cette manière,
s'apercevoir de son ignorance.
Les avantages de ce nouveau système de correspondance
sont si nombreux qu'il est inutile de les faire ressortir davantage; ils
viennent d'ailleurs immédiatement à l'esprit quand on considère la lenteur
qu'entraîne l'inscription de la parole avec les procédés ordinaires.
Dictées.—Il est aussi facile de faire
dicter la parole à un phonographe que de la dicter soi-même au phonographe
en parlant devant son embouchure, et souvent cette dictée pourra être
faite dans des conditions avantageuses. Ainsi, par exemple, si un imprimeur
possédait un appareil de ce genre, il lui serait plus facile de composer
en entendant directement les mots sortir de l'appareil, que de les lire
sur des manuscrits souvent illisibles et de détourner ses yeux de son
travail manuel. Il serait même bon qu'il pût, pour la vérification et
le contrôle, parler directement dans l'instrument.
Mais l'application la plus importante du phonographe au
point de vue qui nous occupe en ce moment, est celle qui pourra en être
faite, en justice, pour l'enregistration des dépositions des témoins,
des plaidoiries des avocats, et des paroles des juges, et dans d'autres
cas, à la reproduction des discours publics des orateurs. Il est vrai
que le phonographe, dans son état actuel, ne peut pas encore résoudre
ce problème; mais il sera bientôt assez perfectionné pour atteindre ce
résultat.
Livres.—La lecture des livres étant
effectuée dans de bonnes conditions par des personnes dont c'est la profession,
on pourra en reproduire l'enregistrement phonographique, et en composer
des recueils qui pourront être lus par le phonographe aux aveugles, aux
malades ou aux personnes qui voudraient pendant ce temps occuper leurs
yeux et leurs doigts à faire autre chose. Comme les feuilles enregistrées
auraient été le résultat d'une bonne lecture, les auditeurs du phonographe
auraient l'avantage d'entendre un bon lecteur, ce qui n'est pas toujours
possible d'obtenir. Le prix d'un livre, dont la lecture pourrait être
répétée 50 ou 100 fois et même plus, serait sans doute plus élevé qu'un
livre ordinaire, mais cette élévation de prix serait bien compensée par
les avantages qu'on aurait de n'être plus obligé de lire le livre à haute
voix.
Besoins de l'éducation.—Comme professeur
d'élocution ou comme premier maître de lecture pour les enfants, le phonographe
pourrait être d'un grand secours. Par son intermédiaire les passages difficiles
pourraient être rendus correctement par l'élève, et celui-ci n'aurait
plus qu'à avoir recours à son phonographe pour continuer à s'instruire.
L'enfant pourrait ainsi s'exercer à épeler et à apprendre par cœur une
leçon récitée par le phonographe.
Musique.—Le phonographe, nous n'en doutons
pas, pourra être appliqué avec avantage à la musique, car on pourra arriver,
je le crois, à reproduire par son action un chant avec une grande force
et une grande clarté. Un ami pourra donc nous envoyer avec son bonjour
du matin un chant qui fera le soir le bonheur d'une réunion entière. On
pourra même employer le phonographe comme maître de musique, car il pourra
vous seriner un air et apprendre à l'enfant son premier chant. Il pourra
même, comme une nourrice, endormir celui-ci dans une chanson.
Impressions de famille.—Les dernières
paroles prononcées par un mourant à son lit de mort sont pour sa famille
des souvenirs sacrés qu'on voudrait conserver, et ces souvenirs acquièrent
une valeur plus grande encore quand ce mourant est un grand homme. Le
phonographe permet de satisfaire à ce désir, et la répétition de ses paroles
devient alors d'autant plus émotionnante, qu'elles sont empreintes de
cet accent solennel que la voix acquiert au moment suprême. C'est en quelque
sorte la photographie de la parole, et comme par les procédés électrotypiques
on peut multiplier les reproductions des paroles ainsi enregistrées, tous
les membres d'une famille peuvent avoir un spécimen des dernières volontés
et des dernières paroles d'un membre qui lui est cher.
Livres phonographiques.—Le peu de place
que nécessite l'inscription de la parole par les moyens phonographiques
permettrait d'obtenir sous un petit volume des livres phonographiques
qui, entre autres avantages qu'ils pourraient présenter, auraient celui
très-important de conserver aux générations futures l'intonation et la
prononciation des différents mots de notre langage. Si on avait eu dans
l'antiquité le phonographe, nous saurions aujourd'hui comment les Grecs
et les Romains prononçaient les différentes lettres de leur alphabet,
et nous pourrions avoir une idée du ton déclamatoire des Démosthènes et
des Cicéron dans leurs discours. D'un autre côté, une lecture faite d'une
manière aussi facile rendrait les ouvrages plus populaires, et beaucoup
d'entre eux qui ne sont pas lus le seraient quand il ne s'agirait plus
que d'écouter.
Boîtes à musique, joujoux, etc.—La seule
difficulté qu'on ait jusqu'ici rencontrée dans la reproduction du chant
par le phonographe, difficulté qui, du reste, pourra être aplanie un jour,
ce sont les sons étrangers et nasillards qui accompagnent cette reproduction
et qui font qu'il est en ce moment impossible d'obtenir avec toute leur
pureté et toute leur suavité les sons émis par la voix d'un habile chanteur.
Si on pouvait se donner à volonté la reproduction d'un concert de la célèbre
Adelina Patti, combien le phonographe deviendrait-il un instrument précieux!!
Dans tous les cas, on pourra toujours obtenir de cette manière des effets
bien supérieurs à ceux des boîtes à musique, puisqu'on pourra alors reproduire
le chant de la voix humaine.
Les poupées pourront maintenant parler, chanter, rire
et crier, et les animaux eux-mêmes, reproduits en joujoux, pourront pousser
les cris qui leur sont propres; il n'est pas jusqu'à un modèle de locomotive
qui ne puisse faire entendre les bruits qui accompagnent sa marche. Dans
certains cabinets de curiosités, les figures de cire représentant les
grands hommes de l'époque, pourront non-seulement donner une image fidèle
de leurs traits, mais encore les faire parler, et l'illusion sera complète.
D'un autre côté, une horloge phonographique au lieu de sonner ses coups
monotones, vous dira poliment l'heure qu'il est; elle vous invitera au
lunch et vous indiquera l'heure du réveil ou l'heure du coucher, l'heure
d'une affaire ou l'heure du plaisir.
Applications à la télégraphie.—Le phonographe
perfectionnera le téléphone et révolutionnera le système actuel de la
télégraphie. En ce moment, le téléphone a nécessairement un rôle restreint
parce que les messages échangés, n'étant pas enregistrés, se réduisent
à une simple conversation qui ne présente pas les garanties voulues; mais
du jour où les appareils seront assez perfectionnés pour enregistrer les
messages, la question changera complètement d'aspect, et ce mode d'enregistration
sera bien préférable à l'écriture ordinaire. En effet, lorsque nous inscrivons
nos conventions commerciales, nous résumons brièvement notre pensée, et
nous pouvons employer des expressions qui peuvent laisser certains doutes
dans l'esprit; or, ces doutes peuvent donner lieu à des discussions, souvent
même à des malentendus regrettables. Avec le téléphone combiné au phonographe,
il n'en serait pas de même, car les discussions préliminaires des affaires
se trouveraient enregistrées, et l'on aurait la reproduction textuelle
de tout ce qui aurait été convenu. Chaque mot pourrait alors éclairer
la discussion en cas de contestation, et dans ces conditions, on pourrait
avoir avantage à traiter les affaires à distance plutôt que verbalement,
car on ne pourrait pas alors chercher une forme de langage capable d'embrouiller
les questions et de créer des sujets de chicane. S'il en est déjà ainsi
pour des personnes habitant un même lieu, il devra, à plus forte raison,
en être de même pour les personnes éloignées les unes des autres, et surtout
pour celles qui usent fréquemment du télégraphe et de la poste.
Comment est-il possible d'arriver à un pareil résultat?...
telle est la question qui doit naturellement nous être faite, et pour
y répondre il suffira de dire que, puisque le téléphone et le phonographe
mettent tous les deux à contribution une lame vibrante impressionnable
aux ondes sonores de l'air, on peut disposer cette lame de façon à fonctionner
à la fois comme téléphone et comme phonographe, et de cette manière, celui
qui parle enregistre lui-même la parole, il la conserve, et comme son
correspondant peut en faire autant, on a ainsi tous les éléments d'une
discussion sérieuse. On économise donc de cette manière beaucoup de temps
et même souvent beaucoup d'argent.
Pour obtenir la solution de ce problème, il suffit de
disposer l'appareil de manière à le rendre très-sensible à l'enregistration,
et ce résultat peut être produit en augmentant l'amplitude des vibrations
sur le téléphone transmetteur. Déjà le téléphone à charbon que j'ai imaginé
peut être employé dans ce but, car il peut, tel qu'il est déjà, fournir
quelques indications sur le phonographe, et comme je travaille toujours
à le perfectionner à ce point de vue, on peut dès maintenant considérer
cette application comme à peu près certaine.
Dans l'avenir, les Compagnies télégraphiques ne seront
donc que des administrations possédant des réseaux de fils télégraphiques,
des stations centrales et des stations de second ordre, dont les employés
n'auront d'autres fonctions à remplir que de surveiller les lignes et
les maintenir en bon état, de fournir les communications de fils nécessaires
pour mettre en rapport tel abonné avec tel autre, et de noter le temps
employé par chacun d'eux pour sa correspondance.
Les difficultés que peut présenter ce mode d'organisation
télégraphiques aux yeux des personnes habituées aux anciens usages, sont
très-minimes, et disparaîtront fatalement devant les besoins croissants
de l'humanité; car il n'est rien de tel pour faire disparaître les préjugés
ou les partis pris, que les exigences du public. Or ces exigences naîtront
du moment où l'on saura que, par un nouveau système de correspondance
télégraphique, les intéressés peuvent être mis directement en présence
et avoir leur correspondance enregistrée d'une manière infiniment plus
exacte qu'avec le meilleure secrétaire possible.
Ici se termine le mémoire de M. Edison; mais depuis l'époque
où il a paru, c'est-à-dire depuis le mois de juin 1878, plusieurs autres
applications ont été encore combinées par lui, et parmi elles nous citerons
celle qu'il en a faite à l'enregistration de la force des sons produits
sur les chemins de fer, et notamment sur le chemin de fer métropolitain
et aérien de New-York. L'appareil qu'il a construit dans ce but est d'ailleurs
tout-à-fait analogue à celui de M. Léon Scott, et il lui adonné le même
nom. Il est décrit et représenté d'une manière complète dans le Daily
Graphic, du 19 juillet 1878, ainsi que l'aérophone, le mégaphone et
le micro-tasimètre disposé pour les observations astronomiques. Nous sortirions
du cadre que nous nous sommes tracé dans ce volume, si nous entrions dans
de plus grands détails sur ces inventions; mais peut-être qu'un jour nous
publierons un second volume dans lequel nous pourrons donner à ce sujet
tous les développements qu'il comporte.
Dernièrement, M. Lambrigot, fonctionnaire de l'administration
des lignes télégraphiques, l'auteur de divers perfectionnements apportés
au télégraphe Caselli, m'a montré un système de phonographe combiné par
lui et qui a été réduit à sa plus simple expression.
Il a trouvé moyen, par un procédé extrêmement simple,
d'imprimer fortement, à l'intérieur d'une petite rigole de cuivre, les
vibrations déterminées par la voix, et elles sont assez nettement gravées
pour qu'en passant au travers la pointe émoussée d'une allumette, on puisse
entendre des phrases entières. Il est vrai que cette reproduction de la
parole est encore très-imparfaite, et qu'on ne distingue les mots que
parce qu'on les connaît d'avance, mais il est possible qu'on puisse obtenir
de meilleurs résultats en perfectionnant le système; toujours est-il que
cette impression si nette des vibrations de la voix sur un métal dur est
une invention réellement intéressante.
APPENDICES
Pour terminer, nous devons encore mentionner quelques
travaux récents qui nous ont été communiqués trop tard pour occuper la
place qui leur conviendrait.
Le plus important est de M. A. Righi et se rapporte à
un système de téléphone qui permet d'entendre à plusieurs mètres de l'instrument.
Pour obtenir ce résultat, on emploie un transmetteur à pile et un récepteur
Bell à membrane de parchemin très-analogue au modèle que nous avons représenté
(fig. 13). Seulement à l'électro-aimant à deux branches de ce dernier
modèle, est substitué le système ordinaire à barreau droit qui est beaucoup
plus développé. Le transmetteur est à peu près le même que celui de la
figure 18, sauf qu'au lieu de liquide, M. Righi emploie de la plombagine
mêlée à de la poudre argentée, et que l'aiguille de platine est remplacée
par un disque. Le récipient où est la poudre tassée est porté par un ressort
que peut pousser plus ou moins une vis de réglage. Enfin on emploie comme
générateur électrique le courant de deux éléments de Bunsen.
Quand la distance séparant les deux instruments est grande,
on introduit dans le circuit, à chaque station, une bobine d'induction
dont le fil primaire est traversé par le courant de la pile locale, ainsi
que le transmetteur, et qui est relié d'autre part avec le récepteur par
un commutateur. Le circuit secondaire de ces bobines est ensuite complété
par la terre et le fil de ligne. Il résulte de cette disposition que le
courant induit qui actionne le récepteur en correspondance, ne produit
son effet qu'après une seconde induction déterminée sur le fil primaire
de la bobine locale, et il paraît que cet effet est bien suffisant; mais
l'on a l'avantage, avec cette disposition, de pouvoir transmettre et recevoir
sans autre manœuvre à faire que celle du commutateur.
Un autre travail intéressant nous a été aussi communiqué
par MM. Ed. Houston et El. Thomson sur un relais téléphonique basé sur
l'emploi du microphone. Dès le mois de février 1878, j'avais songé à ce
problème, et voici ce que je disais dans ma communication à l'Académie
du 25 février: Si les vibrations de la lame du téléphone récepteur étaient
semblables à celles du téléphone transmetteur, il est facile de concevoir
qu'en substituant au téléphone récepteur un téléphone à la fois récepteur
et transmetteur ayant sa pile locale, ce dernier pourrait réagir comme
un relais, grâce à l'intermédiaire de la bobine d'induction, et pourrait
ainsi non-seulement amplifier les sons, mais encore les transmettre à
toute distance; mais il n'est pas prouvé que les vibrations des deux lames
en correspondance soient de la même nature, et si les sons résultent de
rétractions et dilatations moléculaires, le problème serait beaucoup plus
difficile à résoudre. Ce sont des expériences à tenter. Eh bien! ces expériences
ont été tentées avec succès par M. Hughes, qui, ainsi qu'on l'a vu page
194, est parvenu, grâce à la combinaison du microphone au téléphone, à
faire un relais téléphonique. Le relais de MM. Houston et Thomson ne diffère
de celui de M. Hughes qu'en ce que le microphone, au lieu d'être placé
sur une planche de bois à côté du téléphone, est fixé sur le diaphragme
lui-même du téléphone et se compose de trois microphones à charbons verticaux
que l'on peut associer en tension ou en quantité, suivant les conditions
de l'application. Le modèle de cet appareil est reproduit dans la Telegraphic
Journal du 15 août 1878, et nous y renvoyons le lecteur qui voudrait
avoir plus de renseignements à ce sujet.
D'un autre côté M. Hughes est parvenu à obtenir un relais
téléphonique par l'intermédiaire de deux microphones à charbon vertical.
En plaçant sur une planchette deux microphones de ce genre, et reliant
l'un de ces microphones à un troisième servant de transmetteur, alors
que le second est mis en rapport avec un téléphone et une seconde pile,
on entend dans le téléphone les paroles prononcées devant le microphone
transmetteur sans que le relais téléphonique mette à contribution aucun
organe électro-magnétique.
On peut encore obtenir la reproduction de la parole au
moyen d'un microphone, en fixant sur la même planche que ce microphone
un aimant en fer à cheval entre les pôles duquel est adapté un noyau de
fer doux recouvert de la bobine magnétisante. C'est encore un système
de relais téléphonique qui fonctionne sans diaphragme électro-magnétique.
Enfin, on peut faire parler distinctement un téléphone
sans noyau magnétique. Une simple lame de fer et un tube de cuivre évasé
sur lequel est enroulée la bobine, tels sont les éléments constituants
de ce nouvel instrument qui, suivant l'auteur, parlerait plus distinctement
qu'un Bell ordinaire sous l'influence d'un microphone transmetteur
et d'une pile de six éléments Leclanché.
M. Ader, de son côté, vient d'exécuter un modèle de téléphone
qui a aussi son mérite. Le récepteur n'est autre chose qu'un électro-aimant
ordinaire à deux branches, dont l'armature est soutenue à deux millimètres
environ de ses pôles, par une lame de verre à laquelle elle est collée,
et qui elle-même est fixée à deux supports rigides. Pour entendre, il
suffit de l'appliquer contre l'oreille. Le transmetteur est une tige mobile
de fer ou de charbon qui appuie sur un morceau de charbon fixe, sans autre
pression que son poids, et qui porte une plaque concave devant laquelle
on parle. Ces deux pièces sont disposées de manière à se mouvoir horizontalement,
de sorte que, quand l'appareil est suspendu, le circuit est forcément
disjoint par ce seul fait, alors qu'il se trouve fermé au moment où on
prend l'appareil pour parler. La parole est très-bien reproduite avec
ce système qui, exécuté dans de plus grandes dimensions, peut transmettre
la parole à une certaine distance.
En fait de microphones, nous devons encore signaler de
nouveaux modèles combinés par M. Trouvé, dont un est représenté fig. 67.
Ils sont d'une simplicité réellement remarquable et peuvent se prêter
à beaucoup d'expériences différentes; ils se composent généralement d'une
petite boîte cylindrique verticale, dont les deux bases sont constituées
par deux disques de charbon dont les centres sont réunis soit par une
tige de charbon, soit par une tige métallique. Ces boîtes peuvent s'ouvrir,
et servent en même temps de caisse pour renfermer des insectes dont on
veut étudier les bruits; elles peuvent être suspendues à une potence par
les deux fils de communication pour éviter les coussins, et en s'appliquant
sur le cadran d'une montre, elles en révèlent les battements avec une
certaine intensité.
Au moment où nous terminons l'impression de notre volume,
nous recevons de M. Edison la communication suivante, signée de MM. Edison,
Batchelor et J. Adams, qui semblerait indiquer que le récepteur téléphonique
sans organe électro-magnétique aurait été découvert par lui dès le 24
septembre 1877. Cette communication est une copie extraite du registre
d'expériences de M. Edison et qui est ainsi conçue:
Sept. 24 1877.Télégraphe parlant.
Ce soir, en essayant des parleurs, nous avons remarqué
que les sons ordinaires étaient reproduits très-haut. Quand j'ai fait
éloigner le receveur de M. Batchelor, celui-ci remarqua ou crut entendre
M. Adams parler dans le transmetteur. Cherchant à se rendre compte de
cet effet, il répéta l'expérience et reconnut qu'il ne s'était pas trompé,
et il continua la conversation avec M. Adams pendant plusieurs minutes,
en n'employant que deux transmetteurs. La pile se composait de
12 éléments, et le circuit était de 1200 Ohms (120 kilomètres de fil
télégraphique); mais avec 100, on pouvait fonctionner sur une ligne.
Toutefois, comme les sons transmis étaient un peu bas, les sons reproduits
l'étaient également, et même n'étaient pas toujours entendus. Je me
propose d'entreprendre une série d'expériences avec un récepteur basé
sur le principe de l'expansion et avec différentes compositions.
MM. A. Edison, Mac. Batchelor,
James Adams.
Une seconde communication de M. Edison, qu'il m'a également
envoyée, se rapporte à un appareil auquel il a donné le nom de gouverneur
électrique. C'est un électro-aimant dont l'armature, soulevée par
un ressort antagoniste, appuie contre un disque de charbon placé au-dessus
d'elle et du côté opposé au pôle électro-magnétique. Le courant qui passe
à travers l'électro-aimant continue sa marche à travers le disque de charbon,
et suivant que la pression exercée par l'armature sur le charbon est plus
ou moins grande, son intensité est plus ou moins marquée. Or cette pression
dépend de l'excès de force du ressort antagoniste sur l'attraction électro-magnétique.
Quand celle-ci s'affaiblit, la pression sur le charbon augmente, et l'intensité
du courant, devenant plus forte, fait réagir l'électro-aimant plus fortement.
Quand, au contraire, celui-ci agit trop fortement, la pression sur le
charbon diminuant, affaiblit le courant et, par suite, l'action électro-magnétique
se trouve forcée de rester constante entre les limites qui ont été réglées.
On comprend qu'en ajoutant au-dessus du charbon dont il vient d'être question
un second charbon isolé du premier, on pourrait faire réagir l'appareil
sur un second circuit qui se trouverait régularisé en même temps.
Un régulateur d'une disposition analogue, mais fondé sur
un autre principe, avait été déjà appliqué par MM. Lacassagne et Thiers
pour un régulateur de lumière électrique.
Fig. 67.
Note 1: Voy. t. II, p. 225, et t. III,
p. 110, de la 2e édition du même ouvrage publiée en 1857.
Note 2: Voy. le Journal de la Société des Ingénieurs
télégraphistes de Londres, t. VI, p. 417 et 419
Note 3: Voy. le Mémoire de M. Bell dans le Journal
de la Société des Ingénieurs télégraphistes de Londres, t. VI, p.
407
Note 4: Cette description n'était que la répétition
d'un article publié antérieurement dans le Journal de l'Arrondissement
de Valognes.
Note 5: M. Gray dans un article inséré dans le
Telegrapher du 7 octobre 1876, et dont on trouvera une traduction
dans les Annales télégraphiques de mars-avril 1877, p. 97-120,
entre dans de longs détails sur ce mode de transmission des sons par les
tissus du corps humain, et voici, suivant lui, les conditions dans lesquelles
il faut être placé pour obtenir de bons résultats:
1o Les émissions électriques doivent avoir
une tension considérable pour rendre l'effet perceptible à l'oreille;
2o La substance employée pour toucher la plaque
métallique doit être douce, flexible et conductrice jusqu'au point de
contact; là, il faut interposer une résistance très-mince, ni trop grande
ni trop petite;
3o La plaque et la main ou autre tissu, ne
doivent pas seulement être en contact, il faut que ce contact résulte
d'un frottement ou d'un glissement;
4o Les parties en contact doivent être sèches,
afin de conserver le degré voulu de résistance.
Note 6: Voici les noms des physiciens qu'il cite
dans son Mémoire sur l'électric telephony: MM. Page, Marrian, Beatson,
Gassiot, De la Rive, Matteucci, Guillemin, Wertheim, Wartmann, Janniar,
Joule, Laborde, Legat, Reiss, Poggendorff, du Moncel, Delezenne, Gore,
etc. (Voy. le Mémoire de M. G. Bell, dans le Journal de la Société
des Ingénieurs télégraphistes de Londres, t. VI, p. 590, 391.
Note 7: Ceci n'est pas exact, car M. Elisha Gray
en avait déjà reconnu l'importance pour les transmissions des sons combinés.
Note 8: Ce système, comme on le verra, est venu
après celui de M. Elisha Gray.
Note 9: C'est cette disposition qui est représentée
dans le brevet de M. Bell, de février 1876
Note 10: Cet appareil était constitué par un système
électro-magnétique composé d'un électro-aimant M recouvert par une bobine
d'induction et devant les pôles duquel était placée la membrane avec son
disque de fer. Cette membrane pouvait être plus ou moins tendue au moyen
des vis v, v, v adaptées à une sorte d'entonnoir E formant cornet acoustique,
et servant d'embouchure: le système électro-magnétique était soutenu par
une vis qui permettait de l'éloigner plus ou moins de la membrane et,
par conséquent, du disque de fer qui servait d'armature
Note 11: S'il faut en croire M. Prescott, ce transmetteur,
que M. Bell semble vouloir s'attribuer, était l'appareil de Gray lui-même.
Note 12: Cette propriété était connue depuis longtemps,
mais non appliquée. Je l'avais indiquée dès 1856 dans le tome I de mon
Exposé des applications de l'électricité, page 240 (2e
édition), à propos des interrupteurs de circuit. J'en ai parlé encore
dans un Mémoire sur les électro-aimants à fil nu (publié en 1865 dans
les Annales télégraphiques) et dans plusieurs notes présentées
à l'Académie des sciences en 1872 et 1875 sur la conductibilité des limailles
et poussières conductrices. M. Clérac, de son côté, en 1865, la mettait
à contribution pour obtenir des résistances variables
Note 13: J'ai pu, dès l'année 1865, m'assurer de
la vérité de cette observation, en provoquant le serrage des spires d'un
électro-aimant à fil nu. Plus le nombre des spires était considérable
dans le sens de la pression, plus les différences de résistance de l'hélice
magnétisante étaient accentuées.
Note 14: M. Hellesen m'a communiqué le dessin de
son appareil le 3 mai 1878. Or les expériences faites à Copenhague dataient
de plus de six semaines
Note 15: M. J. M. Page avait déjà reconnu que si
un téléphone est placé dans le circuit de l'hélice primaire d'une bobine
d'induction alors que l'hélice secondaire de cet appareil est placée dans
le circuit d'un électromètre capillaire de M. Lippmann, il se produit
à chaque mot prononcé dans le téléphone un mouvement de la colonne mercurielle
de l'électromètre, lequel mouvement s'effectue vers le bout capillaire
du tube et quelle que soit la direction du courant envoyé par le téléphone.
On reconnut que cet effet était dû à ce que le mercure tend toujours à
se mouvoir plus rapidement du côté du bout capillaire que du côté opposé.
Note 16: Voici un extrait d'une lettre de M. Edison
relative à ces expériences et qui est datée du 25 novembre 1877.
J'ai construit, dit-il, un couple de téléphones fonctionnant
avec des diaphragmes de cuivre et qui est basé sur les effets du magnétisme
de rotation d'Arago. J'ai reconnu qu'un diaphragme de cuivre peut remplacer
la lame de fer, dans l'appareil de Bell, si le cuivre a seulement 1/32
de pouce d'épaisseur. L'effet produit est très-petit quand le diaphragme
de cuivre existe dans les deux appareils en correspondance, mais quand
l'un de ces appareils, le récepteur, conserve la disposition ordinaire
et que le téléphone transmetteur seul est muni de la lame de cuivre, on
peut parler des deux côtés avec facilité.
M. Preece a répété ces expériences, mais il n'a obtenu
que des effets extrêmement faibles et à peine distincts; il croit, en
conséquence, qu'ils ne peuvent être d'aucune utilité pour la pratique,
mais qu'ils sont très-intéressants au point de vue théorique.
Note 17: Suivant M. J. Bosscha, qui a publié dans
les Archives néerlandaises, T. XIII, un mémoire très-intéressant
sur l'intensité des courants électriques du téléphone, l'intensité minima
de courant nécessaire pour fournir un son dans un téléphone par la vibration
de son diaphragme, pourrait être au-dessous de un cent millième de celle
d'un élément Daniell, et le déplacement du centre du diaphragme pourrait
être alors invisible, car il ne serait guère que de 2,5 millionièmes de
millimètre pour une intensité de courant n'étant que un dix-millième de
l'intensité du même élément Daniell. Quant à l'amplitude des mouvements
produits par le diaphragme sous l'influence de la voix, il n'a pu la mesurer
exactement, mais il la croit inférieure à un millième de millimètre, et
il en résulterait que, pour un son de 880 vibrations, l'intensité des
courants induits développés serait 0,0000792 de l'unité d'intensité électro-magnétique.
Note 18: Voici comment ces expériences sont décrites
par l'auteur: les aimants employés avaient à peu près les dimensions ordinaires,
1 pouce 1/2 de diamètre, et une longueur environ huit fois aussi grande.
On s'est servi d'abord de plaques de fer; mais elles n'étaient nullement
nécessaires. Mettant de côté ces plaques, j'ai essayé naturellement un
certain nombre de substances: d'abord une plaque mince d'étain qui convenait
parfaitement et pour transmetteur et pour récepteur. Une plaque de tôle
de 1/10 d'épaisseur environ n'opérait pas aussi bien, mais tout ce qu'on
disait était parfaitement compris. En faisant les expériences avec ces
plaques, on les mettait simplement au haut de l'instrument sans qu'elles
y fussent fixées en aucune manière; le pavillon en bois du sommet et la
cavité conique a été aussi mis de côté, parce que la transmission et la
réception se faisaient également sans elles. Cette partie de l'instrument
semble superflue, car le son, lorsque la simple plaque est appuyée à plat
contre l'oreille, paraît plus fort à cause de sa plus grande proximité.
Maintenant, les plaques de fer ne paraissent pas être absolument nécessaires,
quoique le fer agisse mieux qu'aucune autre chose, et que les substances
diamagnétiques agissent aussi très-bien. Désirant que mon assistant qui
était à une certaine distance et ne pouvait en aucune manière percevoir
un son direct, continuât de compter pendant quelque temps, j'ai enlevé
la plaque de fer et mis en travers de l'instrument un large barreau de
fer, de 1/1 de pouce d'épaisseur. En plaçant mon oreille contre lui, j'ai
entendu chaque nombre distinctement, mais un peu affaibli. Un morceau
carré de cuivre, de 3/3 de pouce, a été mis en place; le son quoique distinct,
n'était pas aussi fort que précédemment. Des morceaux épais de plomb,
de zinc et d'acier ont été tour à tour essayés. L'acier agit à peu près
comme le fer, et, comme dans les autres cas, chaque mot prononcé était
faiblement et distinctement entendu. Quelques-uns de ces métaux étaient
diamagnétiques, et cependant l'action se produisait. Des substances non
métalliques ont été ensuite essayées; d'abord un morceau de verre de vitre;
il opérait vraiment très-bien. Avec du bois, un morceau d'une boîte à
allumettes, l'action était faible; mais en plaçant des morceaux d'une
épaisseur graduellement croissante, le son augmentait sensiblement, et
avec un morceau grossier de bois de 1 pouce 1/2 d'épaisseur, le son était
parfaitement distinct. J'ai mis ensuite en place une boîte vide en bois;
elle agissait très-bien. Un morceau de liège épais de 1/2 pouce agissait,
mais un peu faiblement. Un bloc de pierre à rasoir, épais de 2 pouces,
a été placé sur l'instrument, et en appliquant l'oreille contre lui, on
pouvait suivre facilement celui qui parlait. Alors j'ai essayé sans qu'il
y eût rien d'interposé, et j'ai placé mon oreille tout contre l'aimant
et la bobine, et, ce qui est vraiment très-curieux, sans aucune plaque
vibrante, j'ai pu entendre faiblement, et en écoutant attentivement j'ai
pu comprendre tout ce qu'on disait. La chose a été répétée plusieurs fois:
la transmission mécanique du son était impossible, car beaucoup de mètres
de fil étaient couchés sur le sol, et cependant sans qu'il y eût rien
d'interposé (excepté de l'air) entre mon oreille et l'extrémité de l'aimant,
j'ai pu comprendre ce qui était dit. Dans toutes ces expériences, les
sons ont été perçus, mais les sons transmis ou essayés agissaient un peu
différemment. Un diapason, qu'on faisait sonner et qu'on plaçait sur la
plaque même de fer ou sur le bois de l'instrument était entendu clairement;
pour la parole, les plaques minces de fer agissaient mieux. Avec d'autres
corps, la pierre, le bois épais, le verre, le zinc, etc., le son du diapason
était entendu, soit qu'il reposât sur eux, soit qu'on tînt sur eux la
branche vibrante. Ces corps épais ne convenaient pas pour transmettre
le son de la voix. Tous ont été mis de côté, et l'instrument sonore a
été tenu directement sur le pôle de l'aimant; le son a été clairement
entendu, quoiqu'il n'y eût rien d'interposé, excepté l'air, entre le diapason
et l'extrémité de l'aimant. L'intensité du son n'était peut-être pas aussi
grande quand le diapason posait directement sur le pôle que quand il était
tenu sur l'extrémité de l'aimant. J'ai ensuite essayé si ma voix serait
entendue avec cet arrangement. Le résultat a été un peu douteux, mais
je pense que quelque action a dû se produire, car le diapason était entendu
lorsqu'il vibrait simplement dans le voisinage du pôle; l'effet produit
par la voix doit avoir différé seulement par le degré d'intensité; il
était trop faible pour être entendu à l'autre extrémité. J'ai répété ces
résultats, je les ai rendus tout à fait certains, et j'ai réussi à transmettre
les sons très-distinctement sans plaque sur le pôle, et j'ai entendu en
retour distinctement tout ce qui était dit en plaçant mon oreille contre
l'instrument, sans qu'il y eût aucune plaque.
Note 19: Voir les Mémoires de MM. de la Rive et
Guillemin aux Comptes rendus de l'Académie des sciences, t. XXII.
Note 20: Voici ses propres paroles: The articulation
produced from the instrument (le récepteur à électro-aimant tubulaire)
was remarkably distinct, but its great defect consisted in the fact that
it could not be used as a transmitting instrument, and thus two telephones
were required at each station, one for transmitting and one for receiving
spoken messages.
Note 21: Voici textuellement ce que j'en dis dans
cet ouvrage: Une chose curieuse à constater et qui paraît être, au premier
abord, en contradiction avec la théorie que l'on s'est faite de l'électricité,
c'est que la plus ou moins grande pression exercée entre les pièces de
contact des interrupteurs influe considérablement sur l'intensité des
courants qui les traverse. Cela tient souvent à ce que les métaux ne sont
pas toujours dans un état parfait de décapage au point de contact, mais
peut-être aussi à une cause physique encore mal appréciée. Ce qui est
certain, c'est que dans les interrupteurs où la pièce mobile de contact
est sollicitée par une force extrêmement minime, le courant éprouve souvent
des affaiblissements assez notables pour faire manquer la réaction électrique
qu'on attend d'eux.
Note 22: On obtient ces charbons en chauffant pendant
20 minutes à une température qu'on élève successivement jusqu'au rouge
blanc, des fragments de bois de sapin à fibres serrées que l'on enferme
dans une boîte ou un tube de fer hermétiquement fermée.
Note 23: M. Willoughby-Smith a varié encore cette
expérience en plaçant sur les bouts disjoints du circuit qu'il disposait
angulairement l'un par rapport à l'autre, un paquet de fils de soie cuivrés.
Dans ces conditions, l'appareil devenait tellement sensible, que le courant
d'air résultant d'une lampe placée au-dessous du système, déterminait
un crépitement très-accentué dans le téléphone.
Note 24: Voici ce que dit M. Hughes, relativement
à cette disposition: Le charbon, en raison de son inoxydabilité, est un
corps précieux pour ce genre d'applications. En y alliant le mercure,
les effets sont beaucoup meilleurs. Je prends pour cela le charbon employé
par les artistes pour leurs dessins, je le chauffe graduellement au blanc,
et le plongeant ensuite tout d'un coup dans le mercure, ce métal s'introduit
instantanément en globules dans les pores du charbon et le métallise pour
ainsi dire. J'ai essayé aussi du charbon recouvert d'un dépôt de platine
ou imprégné de chlorure de platine, mais je n'ai pas eu un effet supérieur
à celui que j'obtenais par le moyen précédent. Le charbon de sapin chauffé
à blanc dans un tube de fer contenant de l'étain et du zinc ou tout autre
métal s'évaporant facilement, se trouve également métallisé, et il est
dans de bonnes conditions si le métal est à l'état de grande division
dans les pores de ce corps, ou s'il n'entre pas en combinaison avec lui.
Le fer, introduit de cette manière dans le charbon, est un des métaux
qui m'a donné les meilleurs effets. Le charbon de sapin, quoique mauvais
conducteur, acquiert de cette manière un grand pouvoir conducteur.
Note 25: Suivant M. Hughes, les vibrations qui
affectent le microphone, même quand on parle à distance de l'instrument,
ne proviendraient pas de l'action directe des ondes sonores sur les contacts
du microphone, mais des vibrations moléculaires déterminées par elles
sur la planche servant de support à l'appareil; il montre, en effet, que
plus cette planche présente de surface, plus les sons produits par le
microphone sont intenses, et qu'en enfermant le microphone de son parleur
dans une enveloppe cylindrique, il ne diminue pas beaucoup la sensibilité,
si la boîte qui renferme le tout présente une certaine surface. C'est
pour augmenter encore, à ce point de vue, la sensibilité de ses appareils,
qu'il adapte la monture sur laquelle pivote la pièce mobile du parleur
et du récepteur microphonique sur une lame de ressort
Note 26: Nous reproduisons ci-dessous une lettre
que sir William Thomson a publiée au sujet de cette discussion:
Monsieur,
Au plaisir que le public a éprouvé en prenant connaissance
de ces magnifiques découvertes qui, sous le nom de téléphone, de microphone
et de phonographe, ont tant étonné le monde savant, est venu se mêler
dernièrement, très-inutilement, j'ai besoin de le dire, un des incidents
les plus regrettables qui puissent se produire. Il s'agit d'une réclamation
de priorité accompagnée d'accusation de mauvaise foi, qui a été lancée
par M. Edison contre une personne dont le nom et la réputation sont depuis
longtemps respectés dans l'opinion publique.
Avant de faire intervenir le public dans une semblable
affaire, M. Edison aurait dû évidemment discuter sa réclamation avec M.
Preece qui était, depuis l'origine de toutes ses inventions, en correspondance
avec lui; ou bien encore, il aurait pu, en s'adressant directement aux
journaux publics, établir sa réclamation, en montrant avec calme la grande
similitude qui pouvait exister entre son téléphone à charbon et le microphone
de M. Hughes qui l'avait suivi. Le monde scientifique aurait alors pu
juger le débat avec calme, il aurait pu s'y intéresser et examiner sainement
ce qu'il pouvait y avoir de commun entre les deux inventions. Mais, par
son attaque violente dans les journaux contre MM. Preece et Hughes, et
en les accusant de piraterie, de plagiat et d'abus de
confiance, il a ôté tout crédit à sa réclamation aux yeux des personnes
compétentes. Rien d'ailleurs n'était moins fondé que ces accusations.
M. Preece fit lui-même la description détaillée du téléphone à charbon
de M. Edison à la réunion de l'Association britannique qui eut lieu à
Plymouth, en août dernier; il en fit ressortir le mérite, et les journaux
publics en rendirent compte d'après sa communication. Les magnifiques
résultats présentés, au commencement de l'année, par M. Hughes avec son
microphone, ont été décrits par lui-même sous une forme telle, qu'il est
impossible de mettre en doute qu'il n'ait travaillé sur son propre fonds
et en dehors de toutes les recherches de M. Edison qu'il n'avait pas le
plus petit intérêt à s'approprier.
Il est vrai que le principe physique appliqué par M. Edison
dans son téléphone à charbon et par M. Hughes dans son microphone est
le même; mais il est également le même que celui employé par M. Clérac,
fonctionnaire de l'administration des lignes télégraphiques françaises,
dans son tube à résistance variable qu'il avait donné à M. Hughes et à
d'autres en 1866 pour des usages pratiques importants, appareil qui, du
reste dérive entièrement de ce fait signalé il y a longtemps par M. du
Moncel, que l'augmentation de pression entre deux conducteurs en contact
produit une diminution dans leur résistance électrique.
Note 27: Le résonnateur d'Helmholtz repose sur
ce principe qu'un volume d'air contenu dans un vase ouvert émet une certaine
noie quand il est mis en vibration, et que la hauteur de cette note dépend
de la dimension du vase et de celle de l'ouverture découverte. La forme
employée par Helmholtz est celle d'un globe, avec ouverture large sur
un côté et petite sur l'autre; c'est cette dernière qu'on approche de
l'oreille. S'il y a dans l'air une série de sons musicaux, c'est celui
qui est d'accord avec la note fondamentale du globe qui est renforcé et
qui est perçu parmi tous les autres. C'est du reste le même effet qui
se produit quand en chantant dans un piano, on entend certaines cordes
qui vibrent plus fortement que les autres. Ce sont précisément celles
qui vibrent à l'unisson des sons émis. On a donné aux résonnateurs des
formes bien différentes; les plus employées sont des caisses plus ou moins
longues qui servent en même temps de boîtes sonores.
Note 28: J'avais décrit dans le tome III de mon
exposé des applications de l'électricité, p. 466, un système de ce genre,
que M. Varley avait expérimenté au moment de la pose du câble transatlantique
français.
Note 29: Voici le texte du pli cacheté de M. Cros,
ouvert sur sa demande à l'Académie des sciences le 3 décembre 1877. (Voir
comptes rendus, tome 85, p. 1082). En général, mon procédé consiste à
obtenir le tracé de va et vient d'une membrane vibrante et à se servir
de ce tracé pour reproduire le même va et vient, avec ses relations intrinsèques
de durées et d'intensités, sur la même membrane ou sur une autre appropriée
à rendre les sons et bruits qui résultent de cette série de mouvements.
Il s'agit donc de transformer un tracé extrêmement délicat,
tel que celui qu'on obtient avec des index légers frôlant des surfaces
noircies à la flamme, de transformer, dis-je, ces tracés en relief ou
creux résistants capables de conduire un mobile qui transmettra ses mouvements
à la membrane sonore.
Un index léger est solidaire du centre de figure d'une
membrane vibrante; il se termine par une pointe (fil métallique, barbe
de plume, etc.), qui repose sur une surface noircie à la flamme. Cette
surface fait corps avec un disque animé d'un double mouvement de rotation
et de progression rectiligne. Si la membrane est en repos, la pointe tracera
une spirale simple; si la membrane vibre, la spirale tracée sera ondulée
et ses ondulations présenteront exactement tous les va et vient de la
membrane en leur temps et en leurs intensités.
On traduit, au moyen de procédés photographiques actuellement
bien connus, cette spirale ondulée et tracée en transparence par une ligne
de semblables dimensions, tracée en creux ou en relief dans une matière
résistante (acier trempé, par exemple).
Cela fait, on met cette surface résistante dans un appareil
moteur qui la fait tourner et progresser d'une vitesse et d'un mouvement
pareils à ceux dont avait été animée la surface d'enregistrement. Une
pointe métallique, si le tracé est en creux, ou un doigt à encoche, s'il
est en relief, est tenue par un ressort sur ce tracé, et, d'autre part,
l'index qui supporte cette pointe est solidaire du centre de figure de
la membrane propre à produire des sons. Dans ces conditions, cette membrane
sera animée, non plus par l'air vibrant, mais par le tracé commandant
l'index à pointe, d'impulsions exactement pareilles en durées et en intensités,
à celles que la membrane d'enregistrement avait subies.
Le tracé spiral représente des temps successifs égaux
par des longueurs croissantes ou décroissantes. Cela n'a pas d'inconvénients
si l'on n'utilise que la portion périphérique du cercle tournant, les
tours de spires étant très-rapprochés; mais alors on perd la surface centrale.
Dans tous les cas, le tracé de l'hélice sur un cylindre
est très-préférable et je m'occupe actuellement d'en trouver la réalisation
pratique.
Note 30: Ne jamais établir le contact entre le
stylet et le cylindre avant que celui-ci soit recouvert de la feuille
d'étain.
Ne commencer à tourner le cylindre qu'après s'être assuré
que tout est en place. Avoir toujours soin, en faisant revenir le stylet
au point de départ, de ramener l'embouchure en avant.
Laisser toujours une marge de 5 à 10 millimètres à la
gauche et au commencement de la feuille d'étain, car si le stylet décrivait
la courbe sur le bord extrême du cylindre, il pourrait déchirer le papier
ou sortir de la rainure.
Avoir soin de ne pas détacher le ressort du coussin en
caoutchouc.
Pour placer la feuille d'étain sur le cylindre, enduire
l'extrémité de la feuille avec du vernis au moyen d'un pinceau, prendre
cette extrémité entre le pouce et l'index de la main gauche, le côté gommé
vers le cylindre, la relever avec la main droite et la tendre fortement
en l'appliquant contre le cylindre de façon à bien lisser le papier, appliquer
alors le bout gommé sur l'autre extrémité et les réunir fortement.
Pour ajuster le stylet et le placer au centre de la rainure,
ramener le cylindre vers la droite afin de mettre le stylet en face de
l'extrémité gauche de la feuille de métal, faire avancer doucement et
peu à peu le cylindre jusqu'à ce que le stylet touche la feuille d'étain
avec assez de force pour y laisser une trace.
Observer si cette trace est bien au centre de la rainure
(pour cela avec l'ongle rayer en travers le cylindre), si non ajuster
le stylet à gauche ou à droite au moyen de la petite vis placée au haut
de l'embouchure.
La meilleure profondeur à donner à la trace du stylet
est de 1/3 de millimètre, c'est-à-dire juste assez pour que le stylet,
quelle que soit l'ampleur des vibrations de la plaque, laisse toujours
une légère trace sur la feuille.
Pour reproduire les mots, faire en sorte de tourner la
manivelle avec la même vitesse que lors de l'inscription; la vitesse moyenne
doit être de 80 tours par minute.
Pour parler dans l'appareil, appuyer la bouche contre
l'embouchure; les sons gutturaux ou la voix de poitrine se gravent mieux
que la voix de fausset.
Pour reproduire les sons, desserrer la vis de pression
et ramener en avant l'embouchure; faire revenir le cylindre au point de
départ, rétablir le contact entre la pointe du stylet et la feuille, faire
tourner de nouveau le cylindre dans le même sens que lorsque la phrase
a été prononcée.
Pour augmenter le volume de son restitué: appliquer sur
l'embouchure un cornet en carton, en bois ou en corne, de forme conique
dont l'extrémité inférieure sera un peu plus large que l'ouverture placée
devant la plaque vibrante.
Le stylet est fait d'une aiguille no 9 un peu
aplatie sur les deux côtés par frottement sur une pierre huilée: il est
facile de construire un stylet, d'ailleurs la maison en a de rechange
à la disposition de ses clients.
Le coussin de caoutchouc qui réunit la plaque au ressort
sert à atténuer les vibrations de la plaque.
Dans le cas où ce coussin viendrait à se détacher: chauffer
la tête d'un petit clou, l'appuyer sur la cire qui colle le coussin à
la plaque ou au ressort jusqu'à ce que cette cire soit amollie, et alors
après avoir retiré le clou, presser légèrement le caoutchouc sur la partie
décollée jusqu'à ce que, étant refroidie, la cire fasse adhérer le coussin
à la plaque ou au ressort.
Avoir soin de renouveler de temps à autre ces coussins
qui, par l'usage, perdent de leur élasticité.
En les remplaçant: faire attention à ne pas abîmer la
plaque vibrante, soit par une pression trop forte, soit par une éraflure
avec l'instrument qui servira à maintenir le coussin.
Commencer les expériences par des mots isolés ou par des
phrases très-courtes: les augmenter au fur et à mesure que l'oreille s'habitue
au timbre particulier de l'appareil.
Varier les intonations et faire reproduire les phrases
ou les airs sur des tons différents en accélérant ou en ralentissant le
mouvement de rotation du cylindre.
Imiter les cris d'animaux (coq, poule, chien, chat, etc.)
Faire jouer dans l'embouchure devant laquelle on aura
au préalable placé un cornet en carton, des instruments en cuivre.
Autant que possible jouer des airs sur mesure rapide,
leur reproduction parfaite, sans mouvement d'horlogerie, étant plus facile
à obtenir que celle des airs lents.
Note 31: M. Edison dit que son préparateur a pu
lire, sans en perdre un mot, plusieurs colonnes d'un article de journal
qui lui était inconnu et qui avait été enregistré sur l'appareil en son
absence. La seule chose qu'il ne put pas distinguer fut la nature de la
prononciation de celui qui avait provoqué cette enregistration, et suivant
M. Edison, ce ne serait pas un défaut, car souvent la prononciation de
l'instrument est meilleure que celle de certains individus qui, par suite
d'un défaut de langue ou de lèvres, ne parlent pas distinctement. Le mécanisme
du phonographe, dit M. Edison, diminue ou supprime ce défaut. Nous devons
toutefois avouer que nous avons peine à croire à cette vertu du phonographe
qui nous a toujours fait entendre une voix de polichinelle enroué dont
nous l'aurions dispensé avec plaisir.
Note 32: Voici la description du procédé de M.
Lambrigot telle qu'il vient de me l'envoyer:
L'appareil se compose d'un plateau de bois dressé verticalement
sur un socle et fixé solidement. Au milieu de ce plateau se trouve une
ouverture ronde recouverte d'une feuille de parchemin bien tendue, sur
laquelle appuie un couteau d'acier qui doit, comme la pointe du phonographe,
tracer les vibrations. Un bâtis solide s'élève depuis le socle jusqu'au
milieu du plateau, et supporte une glissière qui permet à un chariot de
circuler devant ce plateau. Sur ce chariot se trouve une baguette de verre
dont l'une des faces est recouverte de stéarine. En rapprochant le chariot
et en le faisant aller et venir, la stéarine se trouve en contact avec
le couteau, et prend régulièrement sa forme qui est hémi-cylindrique sur
toute sa longueur.
Lorsqu'un bruit se fait entendre, la feuille de parchemin
se met en vibration et communique son mouvement au couteau, qui pénètre
dans la stéarine et trace des stries variées.
La reproduction ainsi obtenue sur la baguette de verre
est soumise aux procédés ordinaires de métallisation. Par la galvanisation,
on obtient un dépôt de cuivre qui reproduit les stries en sens inverse.
Lorsqu'on veut faire parler la lame métallique, il suffit de passer légèrement
sur les signaux une pointe de bois, d'ivoire ou de corne, et en la promenant
plus ou moins vite, on peut faire entendre des intonations diverses sans
altérer la prononciation.
En raison de la dureté du cuivre par rapport au plomb,
la lame de cuivre qui contient les traces des vibrations, peut donner
sur ce dernier métal un nombre illimité de reproductions. Pour obtenir
ce résultat, il suffit d'appliquer sur la lame en question un fil de plomb,
et d'opérer sur ce fil une pression convenable. Le fil s'aplatit et prend
l'empreinte de toutes les traces qui apparaissent alors en relief. En
passant à travers ces traces la tranche d'une carte à jouer, on provoque
les mêmes sons que ceux que l'on obtient avec la lame de cuivre.
Suivant M. Lambrigot, les lames parlantes peuvent être
utilisées dans bien des cas; pour l'étude des langues étrangères, par
exemple, elles permettront d'apprendre facilement la prononciation, car
on pourra, en les réunissant en assez grand nombre, en former une sorte
de vocabulaire qui donnera l'intonation des mots les plus usités dans
telle ou telle langue.
Sommaire
|