J.G. SMITH
1889 Les tentatives de commutation automatique
des lignes téléphoniques étudiée jusqu'à
cette date visaient à obtenir un taux de connexions maximal,
soit cinquante pour cent. Autrement dit, il était nécessaire
d'assurer l'interconnexion simultanée de tous les abonnés.
Ce principe de J. G. Smith aurait donné aux premiers inventeurs
la bonne idée de la commutation automatique, celle de disposer
d'un nombre suffisant d'appareils de commutation pour assurer le bon
fonctionnement du système.
Le 2 novembre 1889, J. G. Smith, de New
York, a déposé une demande de brevet pour un système
de commutation à cadran pour lignes télégraphiques,
brevet qui a été délivré le 23 août
1892 sous le numéro 481 247.
Il s'agissait du premier brevet à divulguer clairement l'utilisation
de « jonctions » entre des groupes de sélecteurs,
y compris la sélection automatique d'une ligne libre, qui devint
plus tard une fonctionnalité essentielle de tous les centraux
téléphoniques à cadran, à l'exception des
plus petits. Cette invention,
bien que non destinée à la téléphonie, incarne
certains principes qui ont depuis été améliorés
et appliqués à la commutation téléphonique
automatique.
Afin de réduire le coût des services de télégraphe
privés offerts aux courtiers et autres personnes souhaitant établir
une connexion télégraphique entre leurs bureaux situés
dans différentes villes, Smith l'inventeur a prévu un
nombre de lignes seulement suffisant pour desservir le nombre maximal
d'abonnés télégraphiant simultanément.
Pour éviter que deux abonnés ou plus ne soient connectés
à la même ligne, il a conçu un mécanisme
permettant de rechercher la première ligne inutilisée.
Chaque poste d'abonné était équipé d'un
cadran. avec des trous portant les numéros des circuits locaux
distants avec lesquels la communication pouvait être souhaitée,
et des moyens pour activer le mécanisme du central téléphonique.
Au central téléphonique local, chaque ligne d'abonné
se terminait par un commutateur, ou sélecteur, dont la fonction
était de sélectionner une ligne libre. Les lignes interurbaines
étaient multipliées jusqu'aux contacts de chaque sélecteur,
de sorte que chaque ligne d'abonné puisse se connecter à
chaque ligne. Chaque ligne interurbaine se terminait, au central téléphonique
distant, par un commutateur, ou connecteur, qui établissait la
connexion avec la ligne d'abonné souhaitée. Toutes les
lignes d'abonné du central téléphonique distant
étaient multipliées jusqu'aux blocs de tous les connecteurs.
L'alimentation des commutateurs était fournie par un réseau
électrique en continu. arbre rotatif entraîné par
un petit moteur.
L'appareil et le mode de fonctionnement de ce système étaient
bien trop complexes pour être décrits ici. En bref,
un abonné souhaitant se connecter insérait un bouchon
en laiton dans le trou approprié de son cadran et, en actionnant
des interrupteurs manuels appropriés, faisait en sorte que son
embrayage de sélection engage un disque en rotation constante,
ce qui faisait avancer les balais de sélection sur les bornes
du tronc jusqu'à ce que le balai d'essai rencontre un tronc inactif.
L'embrayage était alors désengagé et le balai s'arrêtait.
La ligne de l'abonné appelant était ainsi connectée,
via le tronc sélectionné, à un commutateur de connexion
du central téléphonique distant, dont les balais étaient
reliés.
Ce système connectait la ligne de l'abonné appelant, via
la ligne principale sélectionnée, à un commutateur
de connexion du central téléphonique distant, dont les
balais avançaient sur les bornes des lignes d'abonné,
étape par étape.
À chaque étape, le cadran de l'abonné appelant
avançait d'une longueur correspondante jusqu'à ce qu'il
rencontre la fiche en laiton insérée dans un trou. Une
variation d'intensité du courant se produisait alors, ce qui
arrêtait le connecteur distant sur la borne appropriée,
et la connexion souhaitée était établie.
Bien que la caractéristique importante du brevet Smith fût
l'adoption du principe de la liaison, l'invention utilisait également
le principe de la commande par impulsion inverse, qui, sous une forme
différente, est une caractéristique du système
de composition de panneau Bell System.
L'inventeur cherchait à réduire le coût
des services de télégraphe privés pour les courtiers
et autres personnes souhaitant établir une connexion télégraphique
entre leurs bureaux d'une ville et ceux d'une autre. Il a observé
que s'il y avait autant de lignes reliant deux villes que de circuits
loués, la plupart d'entre elles ne seraient utilisées
que pendant une courte période de la journée. Son idée
était de fournir suffisamment de lignes principales pour desservir
le maximum de personnes utilisées simultanément. Tout
abonné télégraphique devait avoir accès
à n'importe quelle ligne principale, et la commutation se faisait
automatiquement. Pour empêcher deux abonnés d'accéder
à la même ligne principale, il inventa un dispositif très
ingénieux permettant de rechercher la première ligne principale
non utilisée.
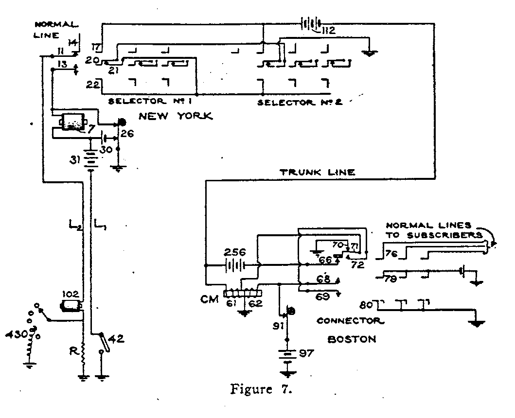
Le schéma général est illustré à
la figure suivante :

Les lignes d'abonné se terminaient par des commutateurs, que
l'on peut appeler « premiers sélecteurs »,
car ils effectuaient la première sélection, la sélection
d'une ligne principale non occupée. Il y avait un premier sélecteur
pour chaque ligne. Les lignes principales étaient multipliées
par le nombre de contacts de chaque premier sélecteur, afin que
chaque ligne puisse se connecter à chaque ligne principale. Chaque
ligne principale se terminait par un commutateur, plus connu sous le
nom de « connecteur », car il établissait
la connexion finale avec la ligne souhaitée. Un connecteur était
présent à chaque extrémité de chaque ligne
principale, permettant ainsi une utilisation dans les deux sens. Toutes
les lignes d'abonné étaient multipliées par le
nombre de connecteurs.
Un schéma détaillé, tiré des spécifications
du brevet, est présenté à la figure ci dessous
:

Deux premiers sélecteurs sont représentés en I
et Ia, ainsi qu'un connecteur à droite. Le dernier sert à
recevoir les appels de l'autre ville, dont le câblage est très
similaire. La ligne principale correspond à la ligne principale.
Le premier sélecteur et le connecteur sont tous deux constitués
d'une rangée circulaire de contacts formant un cylindre complet.
Il y a un jeu de quatre contacts pour chaque ligne principale et un
jeu de deux contacts pour le point d'origine de la ligne d'abonné
à laquelle appartient le commutateur.
Au centre de tous les sélecteurs passe un arbre maintenu en rotation
par un petit moteur ou une autre source d'énergie.
Un disque 5 est fixé rigidement à l'arbre dans chaque
sélecteur.
L'aimant 7, les bras d'essuie-glace 11, 12 et 13, ainsi que le commutateur,
sont montés sur un manchon qui s'adapte librement à l'arbre.
Les essuie-glaces sont fixés sur un bras ou un levier qui porte
un goujon (10) et une armature en fer sous l'action de l'aimant d'embrayage
(7).
Le disque fixé à l'arbre est percé d'un cercle
de trous dans lesquels le goujon du bras peut s'insérer.
L'attraction de l'aimant, qui maintient les essuie-glaces en position
initiale, l'en empêche généralement. Si l'aimant
est relâché, un ressort tire le bras, éloignant
les essuie-glaces de leurs points de contact et permettant au goujon
de se glisser dans l'un des trous du disque. Cet effet d'embrayage entraîne
l'ensemble (aimant, bras, essuie-glaces, etc.) en rotation avec l'arbre
jusqu'à ce qu'un tronc de repos soit trouvé. L'aimant
d'embrayage est alors excité, tirant le goujon hors du trou et
arrêtant les essuie-glaces. Ce même effet met ces derniers
en contact avec les ressorts de la ligne tronc sélectionnée.
Après avoir expliqué le mécanisme,
les circuits seront plus facilement compris en se référant
à cette figure :

Il s'agit simplement d'un schéma des circuits que nous souhaitons
aborder.
De nombreux détails ont été omis afin de mieux
comprendre les actions qui nous intéressent. La rangée
de contacts est représentée comme sur un plan : 14
est le point de départ de l'abonné qui utilise ce sélecteur
et est connecté à la ligne normale, ou ligne sur laquelle
les appels peuvent être reçus ; 17 est le contact
auquel est connectée la ligne principale représentée,
les autres lignes étant connectées aux ressorts similaires
à droite ; 22 est le contact d'occupation et est normalement
relié à la terre via 20.
Le ressort 22 est multiplié par tous les ressorts similaires
de tous les sélecteurs ayant accès à cet ensemble
de lignes principales. La connexion à la terre est bouclée
de 20 à travers tous les contacts similaires de tous les autres
sélecteurs du groupe. Les deux racleurs, 11 et 13, sont commandés
par l'aimant d'embrayage 7. Lorsque ce dernier est excité, les
racleurs sont poussés vers le haut, amenant 11 en contact avec
I4. Lorsque l'aimant d'embrayage est désexcité, le levier
se déplace vers le bas, entraînant les racleurs vers le
bas, de sorte que le point inférieur de 13 est en position de
balayer 22 et tous les ressorts similaires ; 26 est un interrupteur
« hors service », qui représente une partie
du rôle du commutateur illustré sur la figure précédente.
Ses deux contacts ne se touchent que tant que les curseurs sont en position
normale, et sont coupés dès que l'embrayage les a éloignés.
La ligne L2, qui mène aux appareils des abonnés, est reliée
au curseur 11. Elle traverse un aimant de cadran I02 et une résistance
à la terre. Cet aimant de cadran est conçu pour déplacer
un curseur 425 par un mouvement pas à pas. Un cercle de trous
est situé sous le curseur et une fiche 430 peut être insérée
dans n'importe lequel des trous. Cette fiche est reliée à
la terre et est suffisamment haute pour toucher le curseur.
Au centre, l'aimant de l'embrayage est alimenté normalement par
une petite pile 30, fermée par l'interrupteur 26. Une pile relativement
puissante 31 est connectée à une seconde ligne LJ.J reliant
le poste à un interrupteur 42, normalement ouvert. ·
Pour passer un appel, la fiche 430 est placée dans le trou correspondant
au numéro de la ligne souhaitée dans la ville éloignée.
L'interrupteur 42 est ensuite fermé. Cela permet à la
batterie 31 de fournir un courant qui affaiblit l'aimant d'embrayage
7 au point de le faire lâcher. Les deux racleurs sont alors entraînés
vers le bas et le goujon glisse dans l'un des trous du disque. Comme
le disque tourne constamment, il entraîne les racleurs. Le premier
mouvement ouvre l'interrupteur d'arrêt normal 26, mettant ainsi
la batterie 30 hors circuit. On constate que la rotation continue des
racleurs dépend du maintien de l'aimant d'embrayage hors tension.
Le racleur 13 étant la borne de la batterie et de l'aimant, s'il
est relié à la masse, le circuit est fermé et l'aimant
est excité. De cette manière simple, le racleur 13 constitue
un « palpeur » qui touche le ressort 22 et tous
les ressorts similaires parcourent le cercle à la recherche d'une
masse.
Supposons que le premier coffre ne soit pas occupé, son ressort
occupé, 22, sera donc à la masse. Dès que l'essuie-glace
13 touchera 22, l'aimant d'embrayage sera excité et relâchera
l'embrayage, arrêtant les essuie-glaces. La même action
poussera les essuie-glaces vers le haut, amenant 11 en contact avec
17 et 13 avec 20. En touchant 20, il est écarté de son
contact normal, 21, coupant ainsi la masse à 22 et aux autres
ressorts des sélecteurs correspondants. Le circuit de 13 est
maintenant relié à la masse via 20, maintenant l'aimant
d'embrayage 7 sous tension.
Si, maintenant, un autre abonné envoie son sélecteur à
la recherche d'un trunk libre, l'essuie-glace occupé ne trouvera
pas de masse sur 22 et son embrayage ne sera donc pas débrayé.
L'autre essuie-glace sera donc porté par ce tronc particulier
pour tester et trouver le suivant
Mon objectif n'est pas de faire une étude critique
de cette invention, car elle ne nous intéresse pas en tant qu'appareil
télégraphique.
Cependant, en ce qui concerne la commutation automatique, les points
suivants méritent d'être soulignés :
1. Un système de commutation automatique. Les tentatives de commutation
automatique des lignes téléphoniques que nous venons d'étudier
visaient à obtenir un taux de connexions maximal, soit 50 %.
Autrement dit, il était nécessaire d'assurer l'interconnexion
simultanée de tous les abonnés. Cette idée de J. G.
Smith aurait donné aux premiers inventeurs la bonne idée
de la commutation automatique, celle d'un nombre d'appareils de commutation
automatique suffisant pour assurer le bon fonctionnement du système.
Quelques modifications auraient été nécessaires
pour adapter le système à l'usage téléphonique.
2. La Banque Circulaire : en cela, le système était
le plus avancé de nos jours. De nombreuses tentatives ont été
faites pour mettre au point un système de commutation automatique
utilisant des mouvements rectilignes dans un plan, mais elles ont échoué.
3. Entraînement mécanique. Il semble que les premières
difficultés rencontrées pour obtenir une construction
mécanique précise des frotteurs et des groupes de contacts
aient été considérables et ont donné lieu
à des fonctions considérables. Surmonter ce problème
et déplacer les frotteurs avec certitude était trop difficile
pour les aimants de l'époque. Depuis lors, le frottement des
pièces mobiles a été considérablement réduit
grâce à une construction mécanique correcte, et
la puissance des aimants a également été augmentée.
Mais certains soutiennent encore que l'entraînement mécanique
est la meilleure solution pour la commutation automatique.
Énergie centrale pour la sélection. À ma connaissance,
il s'agit de la première tentative d'application d'une batterie
centrale stricte pour effectuer toutes les commutations. Il ne s'agissait
pas d'une batterie courante, car chaque ligne nécessitait sa
propre batterie.
5. Sélection automatique de la ligne non occupée :
ce système permettait au curseur de détecter une certaine
condition électrique dans les contacts qu'il touchait. Ce principe
général est applicable de multiples façons et est
très utile.
6. Contrôle de la numérotation depuis le central :
comme nous l'avons vu, cette idée n'est pas entièrement
nouvelle, car elle a été reprise par Connolly et McTighe
dans la dernière carte décrite.
Bien que le système présente de graves défauts,
il est regrettable que personne ne s'en soit emparé pour en faire
un bon standard téléphonique automatique. Sur certains
points, il était en avance sur son temps.
C'était le premier brevet à divulguer
clairement l'utilisation de "jonctions" entre
des groupes de sélecteurs, y compris la sélection automatique
d'une jonction inactive, qui est devenue plus tard une caractéristique
essentielle de tous les centraux téléphoniques
sauf les plus petits.
Dans le but de réduire le coût de l'offre d'un service
avec fil privé, aux courtiers et d'autres qui souhaitaient une
connexion télégraphique entre leurs bureaux de différentes
villes, l'inventeur n'a fourni que le nombre de lignes principales suffisantes
pour desservir le nombre maximum d'abonnés qui télégraphiant
à tout moment.
Dans deux brevets ultérieurs, nos 550,728
et 550,7299, déposés
en 1893 et délivrés en 1895, J. G. Smith a appliqué
les caractéristiques de son central téléphonique
à cadran au fonctionnement des centraux téléphoniques.
Bien que la caractéristique importante
du brevet Smith soit l'adoption du principe de jonction, l'invention
utilise également le principe de commande d'impulsion inverse
qui, sous une forme différente, est une caractéristique
du système avec cadran du "Panel
Bell System".
sommaire