MERCADIER
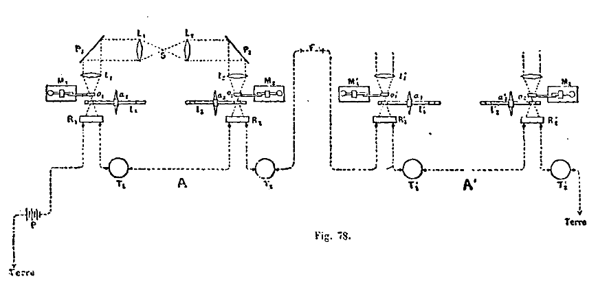
Le Bitéléphone et le Radiophone
Ernest Jules Pierre Mercadier, né
le 4 janvier 1836 à Montauban et mort le 27 juillet 1911 à
Paris, est un ingénieur électricien français.
Élève du collège Saint-Barbe
à Paris, il entre en 1856 à l'École polytechnique
; à sa sortie, il dirige le service des lignes télégraphiques
dans diverses villes de France (1859-1870) et devient directeur de transmission
de seconde classe (1864).
En 1871 Pendant le siège de Paris, il est commissaire du gouvernement
de Défense nationale délégué à la
direction des lignes télégraphiques ; il met en place
les services de dépêches par pigeons voyageurs et la télégraphie
militaire. Ingénieur des télégraphes.
En 1874 il est nommé répétiteur à l'École
polytechnique.
En 1876 il faisait ses premiers essais de télégraphie
multiple à fréquences harmoniques.
En 1878, il prend une part active à l'organisation de l'École
supérieure de télégraphie, où il enseigne
l'électricité théorique.
A partir de 1881, il est directeur des études à l'École
polytechique. Ses recherches de radiophonie et son système de
transmission multiplex ont été récompensés
par une médaille d'or à l'exposition d'électricité
de 1881 et à l'Exposition universelle de 1889.
Légion d'honneur
Il reçoit une médaille d'or lors de l'Exposition universelle
de Paris de 1889.
Il achète le château de Balsac en Aveyron en 1896.
Il occupa son poste jusqu'en 1909.

- Il est universellement connu pour l'invention de l'appareil
télégraphique qui permet d'expédier huit dépêches
à la fois (multiplex).
- Auteur de lampes à incandescence.
- Citation : « Pour devenir célèbre, il avait fallu
à Legendre au moins un livre, à Poinsot une théorie,
il suffit à Sturm d'un théorème ».
- Publications :
Ses travaux portent sur l'acoustique, l'électricité,
le magnétisme, la télégraphie, la téléphonie,
etc. Parmi les nombreux mémoires confiés à des
publications spécialisées :
° Etudes historiques sur la science musicale : Descartes et la musique,
Paris, Gauthier-Villars, 1865.
° Conférences littéraires et scientifiques de Rodez
: Des Principes de la musique (Résumé de la conférence
faite le 30 décembre 1865), Rodez,
° E. Mercadier et Alfred Cornu, Sur les intervalles mélodiques
et harmoniques, Paris, impr. Gauthier-Villars, 1870.
° Sur la mesure des intervalles musicaux, Bordeaux, Gounouilhou,
1872.
° Notice sur les services et les titres scientifiques de M. E. Mercadier...,
Paris, Gauthier-Villars, 1881,
° Traité élémentaire de télégraphie
électrique : leçons faites à l'administration centrale
des télégraphes à l'usage des auxiliaires, surnuméraires,
agents des postes et des télégraphes, des écoles
de télégraphie militaire et de toutes les personnes qui
désirent acquérir des notions de télégraphie
électrique, Paris, G. Masson (réimpr. 1883) (1re éd.
1880),
° Sur la réalisation des résultats de la théorie
générale des petits mouvements par l'emploi de mouvements
électriques périodiques, système de télégraphie
multiple réversible ou multiplex, Tours, impr. de Deslis frères,
coll. « Séances de la Société française
de physique », 1900.
- Article : « Les Théories musicales de Descartes »,
Revue d'histoire et de critique musicale, Paris,? 1901, in-4°, p.
129-137 ; 183-195 ; 237-241
Le mot « radio » est dérivé
du mot latin « radius », qui signifie « rayon d'une
roue, faisceau de lumière, rayon ». Il a été
appliqué pour la première fois aux communications en 1881
lorsque, à la suggestion du scientifique français Ernest
Mercadier, Alexander Graham Bell a adopté « radiophone
» (qui signifie « son rayonné ») comme nom
alternatif pour son système de transmission optique par photophone.
Cependant, cette invention ne sera pas largement adoptée. Suite
à la découverte par Heinrich Hertz de l'existence des
ondes radio en 1886, divers termes furent initialement utilisés
pour désigner ce rayonnement, notamment « ondes hertziennes
», « ondes électriques » et « ondes éthérées
».
Les radiophones de Mercadier et de Tainter étaient des appareils
de recomposition du son à partir d'impulsion lumineuse.
M. Mercadier, est mort à l'âge de 75 ans.
Mercadier, qui a été célèbre comme directeur
des études à lEcole polytechnique, a eut lidée,
en 1889, de transmettre sur une même voie téléphonique
plusieurs signaux télégraphiques, en modulant différentes
«fréquences porteuses ». Ce fut là le point
de départ de la «télégraphie harmonique »,
bien connue de tous les techniciens des télécommunications.
On peut même dire que ce principe annonçait les futurs
«systèmes à courants porteurs », qui
seront à la base de tous les développements des réseaux
de télécommunications.
Voici quelques publications sur sa collaboration technique les plus
connues.
sommaire
1881 Le Monotéléphone
ou résonateur électromagnétique.
Dans une étude précédente sur
la théorie du téléphone, je crois avoir démontré
que le diaphragme magnétique de cet appareil est animé
de deux espèces de mouvements différents qui se superposent.
Les uns sont des mouvements de résonnance, moléculaires,
indépendants de la forme extérieure: ce sont précisément
ceux qui permettent au diaphragme de transmettre et de reproduire tous
les sons, propriété caractéristique qu'il aurait
fallu préciser nettement dans le nom même du téléphone
en l'appelant pantéléphone. Les autres sont des mouvements
d'ensemble transversaux correspondant au son fondamental et aux harmoniques
du diaphragme, et qui dépendent de son élasticité,
de sa forme et de sa structure: ceux-là sont nuisibles au point
de vue de la transmission nette de la musique et de la parole, car ils
altèrent le timbre, leurs harmoniques ne coïncidant que
par le plus grand des hasards avec ceux de la voix ou des instruments
usuels.
Pour mettre hors de doute l'existence et la superposition de ces deux
genres de mouvements, j'ai cherché à faire prédominer
les uns ou les autres à volonté dans le même diaphragme.
On y parvient à l'aide de la disposition suivante, que j'avais
réalisée dès 1881 et que j'ai seulement simplifiée
depuis.
On place le diaphragme d'un téléphone quelconque dans
les conditions les plus favorables pour qu'il puisse vibrer transversalement
sans obstacle, et de façon à laisser se produire facilement
la division en lignes nodales correspondant à un son donné
bien déterminé. Pour cela, au lieu d'encastrer le diaphragme
sur ses bords, comme on le fait ordinairement, on le pose simplement
aussi près que possible du pôle E (fig. 1) de l'électro-aimant,
sur un nombre de points suffisants d'une ligne nodale.
Si c'est un diaphragme rectangulaire, on le pose sur deux appuis rectilignes
coïncidant avec les deux lignes nodales du son fondamental.
Si c'est un diaphragme circulaire D, on perce trois ouvertures a de
2 à 3 millimètres de diamètre sur les sommets d'un
triangle équilatéral inscrit dans la circonférence
qui constitue la ligne nodale du premier harmonique, et l'on pose le
disque sur trois pointes V en liège, disposées de la même
manière sur un plateau fixe et pénétrant dans les
ouvertures.
Cela étant, faisons passer dans la bobine de l'appareil une série
de courants d'intensité très faible, de période
graduellement décroissante, par exemple provenant de l'émission
de sons musicaux devant un transmetteur quelconque téléphonique
ou radiophonique. Alors le récepteur téléphonique,
modifié comme il est dit ci-dessus, ne vibre, d'une manière
appréciable, que sous l'action des courants dont la période
est égale à celle du son correspondant à la nodale
sur laquelle repose le diaphragme, son que j'appellerai particulier
ou spécial: il ne reproduit plus une série continue de
sons de hauteur graduellement croissante, indifféremment et avec
la même intensité, comme le téléphone ordinaire;
il n'en reproduit énergiquement qu'un seul; il n'est plus pantéléphonique,
il est monotéléphonique; on peut donc l'appeler monotéléphone.
Ce résultat n'est pas absolu. En réalité,
le diaphragme fait entendre quelques sous-harmoniques.du son spécial
correspondant à la ligne nodale fixée; mais leur intensité
est relativement très faible. De plus, le diaphragme reproduit
des sons de période un peu inférieure ou supérieure
à celle du son spécial, mais l'intervalle extrême
entre ces sons est assez petit et n'excède généralement
pas un ou deux comas.
Ces réserves sont de la même nature que celles qu'on doit
faire au sujet des résonnateurs en acoustique. Du reste, le rôle
d'analyseur, que le monotéléphone joue par rapport à
ce qu'on peut appeler les ondes électromagnétiques, est
analogue à celui que joue un résonnateur par rapport aux
ondes sonores: si on leur communique en effet une série d'ondes
successives ou simultanées de périodes différentes,
chacun d'eux choisit en quelque sorte celle du son spécial qui
correspond à sa forme géométrique et aux conditions
dans lesquelles il est placé, et la renforce énergiquement.
Le monotéléphone peut donc s'appeler aussi
bien résonnateur électromagnétique.
Dans le dispositif qu'on vient de décrire, les mouvements transversaux
prédominent, et il est aisé de voir l'effet qu'ils peuvent
avoir dans un téléphone ordinaire; car si l'on essaye
de faire reproduire par un monotéléphone la parole articulée
émise dans un transmetteur, ou bien on n'entend à peu
près rien si le son spécial de l'appareil est hors de
l'échelle où se meut la voix humaine (de l'ut, à
l'ut ¸), ou bien, dans le cas contraire, on n'entend que des sons
d'un timbre modifié et des articulations émoussées,
le tout noyé en quelque sorte dans la sonorité du son
spécial, toutes les fois qu'il se fait entendre.
Mais il est très facile de produire l'effet inverse, de faire
prédominer les mouvements moléculaires de résonnance
sur les transversaux, de rendre au monotéléphone le rôle
pantéléphonique, de lui faire reproduire tous les sons
avec la même intensité et la parole articulée avec
netteté. Il suffit pour cela de mettre obstacle aux vibrations
transversales d'ensemble, en fixant légèrement les bords
ou plusieurs points du diaphragme, par exemple en y appuyant convenablement
les doigts. Le moyen le plus simple de faire l'expérience est
le suivant.
On reçoit dans le monotéléphone des sons différents
successifs ou simultanés, parmi lesquels se trouve le son spécial
ou des paroles articulées à peu près à la
hauteur de ce son. On approche l'oreille du diaphragme tant qu'elle
en est à une certaine distance ou qu'elle l'effleure tout au
plus, on entend seulement le son spécial; mais si l'on appuie
de plus en plus l'oreille sur le diaphragme, le son spécial s'affaiblit
peu à et l'on finit par entendre tous les sons avec une égale
intensité, ainsi que la parole articulée sans altération
sensible du timbre. Par cette seule opération très simple,
on a rendu au mouvement de résonnance la prédominance
sur les transversaux et à l'appareil la propriété
pantéléphonique que possède le téléphone
ordinaire à diaphragme encastré.peu,
- Je reviendrai sur la construction du résonnateur électromagnétique
et sur ses applications.
E. MERCADIER
sommaire
L'étude la plus complète
sur les mouvements du diaphragme, aussi bien dans le transmetteur que
dans le récepteur, nous a été donnée par
M. Mercadier. (Etudes
Sur La Theorie Du Telephone 1886)
Il s'est occupé principalement de ces mouvements en laissant
de côté les phénomènes intermédiaires
de la reproduction de la parole.
Les diaphragmes des téléphones sont des plaques en fer
ou en acier minces et élastiques. Elles ont comme toutes les
plaques, lames ou tiges élastiques des vibrations qui leur sont
propres, d'une vitesse déterminée .
Sur les lois des vibrations sonores transversales des lames rectangulaires
La théorie donne pour lexpression générale
du nombre des vibrations transversales dune lame mince ayant la
forme dun rectangle allongé, durant l'unité de temps,
la formule : n = k ( e / l au carré).
Mercadier a démontré par des mesures expérimentales
lexactitude de cette loi (Journal
de physique théorique et appliquée, 2' série, t.
III, p. 189)
Pour des lames de fer et dacier serrées sur toute leur
largeur entre des prismes de liège placés à une
distance des extrémités égale à 0, 22 de
la longueur, il a trouvé que la valeur du coefficient h était
exprimée par le nombre 5 329 503 , lépaisseur e
et la longueur l étant mesurées en millimètres.
La valeur théorique de ce coefficient est 5 3 10866.
M. Mercadier conclut de ses recherches quen donnant au coefficient
Æ, dans la formule mentionnée ci-dessus, la moyenne 5 320184,
on peut calculer par avance, à 1ou 2 pour 100 près, le
son quune lame rectangulaire de fer ou dacier, de provenance
quelconque, peut rendre.
Les expériences de M. Mercadier ont porté sur des épaisseurs
comprises entre o ,5 et 12 millimètres.
Le mode dexpérimentation choisi par lhabile physicien
est le suivant ; une lame rectangulaire étant encastrée
comme il a été dit, un électro-aimant est placé
au-dessous du centre du rectangle ; il est destiné à entretenir
par son attraction le mouvement vibratoire de la lame. A lune
des extrémités de cette lame on a fixé un style
et, sous le style, on a disposé un petit disque de platine. A
chacune des vibrations transversales de la surface rectangulaire, le
disque de platine est touché par le style. Le courant dune
pile suffisamment énergique traverse le fil de lélectro-aimant
lorsque le circuit est fermé. Dans ce circuit se trouvent le
style, le disque de platine, ainsi que quelquun des points des
lignes nodales enserrées entre les prismes de liège ;
de plus, le fil dun petit électro-aimant, dont larmature
mobile enregistre les vibrations de la lame sur la surface dun
cylindre tournant, fait partie du même circuit. Quant au temps,
il est marqué sur le cylindre tournant par un électro-diapason.
Les expériences de M. Mercadier sont une vérification
très satisfaisante de la théorie des lames vibrantes rectangulaires.
Sur les lois des vibrations sonores transversales des lames circulaires
M. Mercadier a appliqué le même mode de recherche
aux vibrations transversales des lames circulaires.
Daprès la théorie, le nombre des vibrations transversales
de ces lames durant lunité de temps est donné par
la formule n = k' ( e / d au carré )' ou d est le diamètre
du disque et k' un coefficient dépendant de son élasticité,
de sa densité et de plusieurs autres quantités.
Laccord entre les mesures expérimentales et les évaluations
théoriques na pas été aussi satisfaisant
dans le cas des lames circulaires que dans celui des lames rectangulaires
allongées.
Cela tient peut-être au mode adopté par .M. Mercadier pour
la fixation des lignes nodales.
Dans ses recherches relatives aux lames circulaires, M. Mercadier posait
la lame sur trois pointes en liège, situées aux sommets
dun triangle équilatéral inscrit dans la circonférence
nodale du premier harmonique. Suivant la théorie, le rayon de
cette circonférence est égal aux 68 centièmes du
rayon de la
plaque. Gomme dans les expériences relatives aux vibrations des
plaques rectangulaires, un stylo était fixé au bord du
disque et, par-dessous le style, se trouvait un bouton en platine. Le
reste du dispositif expérimental était exactement la reproduction
de celui qui a été décrit plus haut.
Le son produit par la lame vibrante est, dans ces conditions, le premier
harmonique du son fondamental.
M. Mercadier a trouvé, dans la vérification de la loi
des diamètres, des écarts relatifs quil est impossible
dattribuer à des erreurs dappréciation dans
la mesure des quantités d et n.
La vérification de la loi des épaisseurs à diamètre
égal ne lui a pas donné de meilleurs résultats.
Dans ces écarts, lacier suit une marche analogue à
celle du fer.
Les discordances entre les données de lexpérience
et les indications de la théorie sont dautant plus grandes
que le disque étudié est plus mince. Ce nest que
pour des épaisseurs supérieures à 1 ou 2 millimètres
que laccord entre la théorie et lexpérience
commence à se manifester. A partir de ces limites,la loi des
épaisseurs, par exemple, se vérifie à 1pour 100
près.
M. Mercadier attribue les écarts observés dans les lames
minces au défaut dhomogénéité de lacier
laminé : lélasticité suivant la direction
des rayons y est, ce semble, fort inégale. De fait, quand on
essaie de produire au moyen du sable la circonférence nodale
du premier harmonique, en frappant le centre du disque avec un marteau
de liège, on nobtient guère que des cercles déformés,
des triangles curvilignes ou des courbes ellipsoïdales ; dans ce
dernier cas, un des axes de lellipse est orienté suivant
les stries produites par le laminage. Il y a plus, les courbes nodales
déformées varient dune plaque mince à lautre
lorsquon opère sur des lames découpées dans
le même cylindre.
La trempe ne paraît pas intervenir dune manière sensible
dans ces phénomènes.
La conclusion qui ressort de ces recherches de M. Mercadier, cest
quil n'est pas possible de calculer davance le son que rendra
une lame circulaire de fer ou dacier, lorsque lépaisseur
de la lame est inférieure à i millimètre. Pour
les épaisseurs supérieures à cette limite, laccord
entre la théorie et l'expérience croît à
mesure que lépaisseur augmente.
Mais, je le répète, ces divergences tiennent peut-être
au mode de fixation de la ligne nodale adopté par M. Mercadier
dans le cas des lames circulaires.
Études sur la théorie du téléphone (Journal
de physique théorique et appliquée, série, t. V,
pp. 141 et suivantes.).
On sait que dans le transmetteur du téléphone Bell
le diaphragme circulaire, en fer ou en acier, est une partie importante
de lappareil. Ce diaphragme est encastré sur les bords
et placé à peu de distance du pôle dun électro-aimant
rendu actif par la présence dun barreau aimanté.
Lorsque le fil de cet électro-aimant est relié par ses
extrémités au fil de félectro-aimant de lappareil
récepteur appareil en tout semblable au transmetteur on
constate dans les transmissions sonores les propriétés
suivantes :
1° Les vibrations simples de lair produites dans le voisinage
du diaphragme de lappareil transmetteur sont reproduites par le
diaphragme de lappareil récepteur avec leur tonalité;
2 Les vibrations complexes des accords musicaux sont également
reproduites sans altération dintervalle;
3 ° La parole articulée est reproduite avec son timbre ;
4" Lorsque les sons simples ou complexes émis dans le voisinage
de lappareil transmetteur varient en hauteur dune manière
continue, ils sont reproduits par lappareil récepteur avec
les mêmes hauteurs et suivant la même continuité.
Cette variation continue de la tonalité des sons transmis par
le téléphone est la propriété caractéristique
de finstrument : cest par cette propriété que les
vibrations des diaphragmes du transmetteur et du récepteur se
distinguent des mouvements vibratoires des lames circulaires vibrant
librement.
Dans ces dernières, en effet, la série acoustique des
sons propres est une série limitée : on ny trouve
à la suite du son fondamental, daprès la théorie,
qu'un harmonique dans loctave du son fondamental, deux dans la
seconde octave, quatre dans la troisième, etc.
Lexpérience démontre également que la série
des sons propres des lames circulaires vibrant librement est une série
discontinue. Pour le faire voir, M. Mercadier a mis en vibration sonore,
par influence, des diaphragmes de téléphone, au moyen
de tuyaux dont les sons fondamentaux, échelonnés en série,
croissaient par intervalles de seconde. Des appenjdices en carton servant
dallonges permettaient même de passer dun son à
lautre sans discontinuité. La série musicale ainsi
formée allait du la de loctave de quatre pieds à
l'ut de trois pouces. Cet intervalle musical dépassait de beaucoup
la série dos tonalités habituelles de la parole articulée.
Dans cette série physiquement continue de sons musicaux, M. Mercadier
ne trouva que sept ou huit sons qui impressionnassent les diaphragmes,
en y déterminant des lignes nodales; tous les autres sons étaient
sans action sensible. De plus, le nombre des sons impressionnant les
diaphragmes diminuait à mesure que lépaisseur de
ceux-ci croissait. Ces faits montrent bien que la continuité
dans les périodes des sons transmis par le téléphone
ne peut pas sexpliquer au moyen des vibrations acoustiques propres
au diaphragme; pour rendre raison de cette continuité, il est
nécessaire de faire intervenir des mouvements dune autre
espèce.
M. Mercadier a démontré lexactitude de cette conséquence
par dautres expériences.
Il prit des disques de deux millimètres au moins dépaisseur
et de dix centimètres de diamètre. Le son fondamental
de ces lames encastrées par les bords était supérieur
à Vut de six pouces. La tonalité de la parole articulée
ne dépassant jamais la gamme de deux pieds, il est impossible,
en parlant devant ces disques, de mettre en jeu leurs vibrations propres.
Ces disques néanmoins, mis à la place des diaphragmes
des téléphones, transmettaient très nettement la
parole et permettaient même dapprécier le timbre
des voix. On pouvait même leur donner des épaisseurs de
trois et de quatre millimètres, sans nuire à la netteté
de la transmission; lintensité seule des sons transmis
se trouvait affaiblie.
M. Mercadier remarqua encore que la netteté de la transmission
téléphonique nest pas altérée, lorsque
le diaphragme, au lieu dêtre ébranlé directement
par les émissions sonores de la personne qui parle devant le
transmetteur, ne lest plus que par lintermédiaire
des vibrations transversales de substances parfois très peu élastiques,
telles que mica, liège, caoutchouc, bois, papier, coton, plumes,
linge, cire. Pour faire cette expérience, il suffit demprisonner
une couche dair entre le diaphragme du téléphone
et une lame de ces substances. Dans' ces conditions, on observe que
le timbre des sons transmis est plus net que lorsque le diaphragme est
directement excité. M. Mercadier a obtenu des résultats
très satisfaisants avec des lames de verre de 5 millimètres,
des plaques de liège de yS millimètres, des cylindres
de bois de 5o millimètres, des couches de ouate de 20 millimètres
dépaisseur.
Un diaphragme téléphonique percé de trous ou découpé
en roue à six rayons et recouvert dun papier transmet comme
sil était plein.
Il résulte de tous ces faits que le mode de mouvement du diaphragme
téléphonique est assimilable à celui des corps
solides de grande épaisseur et de forme quelconque, transmettant
au travers de leur masse les mouvements vibratoires de toute période.
Cest ainsi, par exemple, que le mur massif dune chambre
transmet, dune de ses surfaces à lautre, les sons
émis dans la chambre voisine. Les vibrations du diaphragme du
téléphone Bell sont donc un phénomène de
simple résonnance.
Jai fait connaître ailleurs les lois de Verdet relatives
à la résonnance (Annales de la Société
scientifique de Bruxelles, huiLième année, 2e partie,pp.
29 et suivantes).
La présence du champ magnétique du téléphone
napporte aucune modification à cette conclusion ; daprès
les expériences de M. Mercadier, les variations dintensité
du champ sont sans effet sensible sur la transmission du son, lorsque
le diaphragme est bien encastré.
Les recherches de lhabile physicien ont encore porté sur
un autre point : il sagissait de savoir si lénergie
de linduction dynamique produite dans le fil de lélectro-aimant
transmetteur par les variations dintensité du champ magnétique
nest pas liée à la rigidité ou aux c|ualités
acoustiques du diaphragme.
Le fait le plus saillant découvert par M. Mercadier dans cet
ordre didées, cest la propriété quont
des molécules de fer disséminées dans le champ
magnétique et, jusquà un certain point, indépendantes
les unes des autres, de pouvoir servir de diaphragme transmetteur. Pour
démontrer cette propriété, M. Mercadier prend un
téléphone Bell ordinaire, enlève le diaphragme
et place sur le pôle de laimant une rondelle de papier mince;
puis, après avoir remis lembouchure, il laisse tomber sur
le disque de papier une pincée de limaille de fer. Les grains
de limaille se disposent aussitôt en houppes au-dessus du papier,
et ces houppes dessinent la direction dans lespace des lignes
de force. Sous linfluence de lattraction de laimant,
les grains de limaille sont, en outre, pressés contre la rondelle,
et la pression est suffisante pour maintenir cette dernière sur
laimant dans nimporte quelle orientation de lappareil
: on peut renverser le téléphone, rien ne tombe. Ainsi
disposé chose presque incroyable le téléphone
possède toutes les propriétés du téléphone
ordinaire: il transmet très nettement la parole articulée.
En ajoutant de la limaille, les lignes de force se dessinent davantage
et les effets de transmission croissent en intensité.
M. Mercadier appelle ce téléphone, téléphone
à limaille. De ses recherches relatives à cet appareil,
il tire les conclusions suivantes :
1° La présence, dans le champ magnétique dun
téléphone transmetteur, de diaphragmes magnétiques,
rigides ou non, nest nullement indispensahle produire les effets
téléphoniques ; mais ils sont utiles pour en augmenter
lintensité, en présentant par unité de volume
un plus grand nombre de molécules magnétiques à
laction des forces extérieures, ou bien, comme on dit souvent,
en opérant une grande concentration des lignes de force
du champ.
2" Il suffit, pour produire ces effets, dexercer des déformations
mécaniques directes sur les lignes de force du champ réalisées
avec de la limaille de fer.
sommaire
|
Le téléphone à
limaille de fer
Article paru dans L'INDUSTRIEL DU
RHONE du 16 mai 1886
Un nouveau téléphone
Bien que la téléphonie soit entrée aujourd'hui
dans l'usage courant la théorie des phénomènes
électro-acoustiques est loin d'être complètement
élucidée.
M. Mercadier, l'éminent directeur des études de
l'Ecole polytechnique, vient de proposer une doctrine nouvelle
touchant ces péhnomènes ; il a construit pour la
justifier un curieux appareil téléphonique, actuellement
en expérience à la Société française
de physique.
Tout le monde sait qu'un téléphone électro-magnétique
transmetteur se compose essentiellement d'un diaphragme en forme
de disque mince, en fer ou en acier, encastré sur ses bords,
à peu de distance d'une hélice métallique...
Qnand l'air voisin du diaphragme entre en vibrations, ces vibrations
sont reproduites à distance par ce récepteur, et
avec une continuité absolue dans les effets.
On a jusqu'ici admis assez généralement que le diaphragme
se comportait comme un disque vibrant ordinaire ; que les mouvements
qui s'y produisaient étaient ceux qui correspondent à
ses sons particuliers. Nous ne suivrons pas M. Mercadier dans
la savante discussion qu'il fait de cette hypothèse, en
s'appu vaut sur ces faits que :
1° Le diaphragme n'est pas libre dans ses momements élastiques,
que ceux-ci sont des mouvements forcés;
2° que la continuité nécessaire des mouvements
électro-acoustques est en contradiction avec les résultats
de la théorie des disques vibrants et de l'expérience.
Notons seulement un procédé expérimental
ingénieux qu'il a appliqué à cette étude.
Il soumet des disques serrés dans la monture ordinaire
d'un téléphone de Gower à l'action des vibrations
de tuyaux d'orgue dont l'ouverture est placée au-dessous
de leur centre.
En versant du sable sur le disque maintenu horizontal, on cherche
par l'inspection des lignes dessinés par le sable (lignes
nodales) s'il y a des sons que le disque renforce visiblement.
Le résultat de ces expériences est qu'il paraît
démontré que les mouvements correspondant aux sons.particuliers
des disques encastrés, comme ils le sont dans les téléphones,
forment une échelle discontinue, insuffisante à
expliquer la transmission d'une série continue de sons,
et que dès lors le disque doit avoir nécessairement
des mouvements autres que ceux qui correspondent à ces
sons particuliers.
Au sens de M. Mercadier, les diaphragmes téléphouiques
exécutent leurs mouvements par un phénomène
analogue à celui par lequel un mur transmet à l'une
de ses surfaces les vibrations quelconques produites dans l'air
en contact avec l'autre surface.
Ce phénomène, dit de résonance existerait
seul pour diaphragme épais; ils s'y joindrait pour les
diaphragmes minces, les mouvements correspondant à leurs
sons propres, superposés aux précédents en
vertu de la loi bien connue en dynamique sous le nom de superposition
des petits mouvements.
M. Mercadier a aussi étudié le diaphragme au point
de vue de la transformation d'énergie qui résulte
de ses mouvements. Une série d'expériences l'a amené
â conclure que les phénomènes téléphoniques
ne sont pas nécesairement liés à la rigidité
du diaphragme et aux qualités acoutiques et élastiques
corresrondant à sa forme. C'est ainsi qu'il a successivement
remplacé le diaphragme rigide par une toile métallique
et enfin par quelques grains de limaille de fer matérialisant
pour ainsi dire le champ magnétique. Voici comment il opère
dans ce dernier cas :
On prend comme récepteur un téléphone ordinaire
et un transmetteur identique. On enlève le diaphragme en
fer blanc de ce dernier, puis on remet le couvercle portant une
embouchure circulaire dont les dimensions sont à peu près
égales à celles du pôle central de l'aimant.
On commence par parler sur l'aimant lui-même à travers
l'embouchure : on n'entend rien de sensible dans le récepteur.
En posant sur l'aimant une pincée de limaille de fer, on
a un appareil dont les effets sont identiques à ceux d'un
téléphone ordinaire, moins l'intensité.
Mais si l'on dispose à la place du diaphragme ordinaire
un diaphragme de substance non magnétique (carton, mica,
etc.), et qu'on laisse tomber dessus de la limaille l'action mécanique
directe des ondes aériennes sur ce diaphragme s'ajoutera
à l'action de la limaille, et on aura construit un téléphone
à limaille de fer, encore inférieur, il
est vrai en intensité au téléphone ordinaire,
mais possédant à un plus haut degré . les
propriétés téléphonique
essentielles, et en particulier la reproduction du timbre de la
parole humaine .
Quelles que soient les applications ultérieures dont cet
appareil est suceptible, il constitue actuellement une démonstration
élégante des deux points suivants :
1° La rigidité n'est pas une qualité indispensable
des diaphragmes téléphoniques;
2° Il suffit, pour produire les effets téléphoniques,
d'exercer des déformations mécaniques directes sur
les lignes de font du champ, réalisées avec de la
limaille de fer.
On pourra trouver que se sont là des résultats médiocrement
pratiques ; nous ne le croyons pas. La science marche dans la
pénombre, et souvent, ce sont les théories en apparence
les plus abstruses qui conduisent aux applications les plus comnunément
utilisables.
|
Quant au récepteur
téléphonique, depuis longtemps déjà il a
été démontré par MM. Breguet, Ader et Dumoncel
que toutes les parties de lappareil, noyau, hélice, diaphragme,
manche, etc., vibrent simultanément dans lacte de la réception;
mais, daprès les expériences de M. Mercadier, les
effets de transmission les plus énergiques sont ceux produits
par la vibration du diaphragme ; linfluence de la vibration du
noyau et de lhélice, pour être constatée,
demande des courants de transmission de grande intensité. Cest
donc à tort que Dumoncel pense pouvoir rattacher leffet
principal de la transmission aux vibrations moléculaires du noyau.
Les recherches de M. Mercadier déterminent le mode daction
du diaphragme récepteur, dans le phénomène de la
transmission, aussi bien que celui du diaphragme transmetteur. Toutes
les expériences indiquées ci-dessus, notamment celles
du téléphone à limaille, peuvent être faites
avec le téléphone récepteur ; il suffit dintroduire
dans ce dernier les modifications décrites à propos de
l'appareil transmetteur. On reconnaît sans peine que, dans toutes
ces circonstances, la transmission reste parfaitement nette .
sommaire
Lors de lExposition
universelle de 1901 non loin du merveilleux télégraphone
de M. Paulsen, dont nous navons pas à parler ici, puisquil
sagit dun inventeur danois, fonctionnait le Télégraphe
multiplex, construit par M. Mercadier, directeur des Études à
lÉcole Polytechnique de Paris.
Cet ingénieux appareil se compose de diapasons inductophones
représentant chacun une note de musique, naturelle ou dièze,
avec un petit électro-aimant entre les branches ce sont
les transmetteurs et de monotéléphones réglés
pour reproduire cette même note à lexclusion de toute
autre : ce sont les récepteurs. On peut faire des signaux sur
une seule ligne, sur un seul fil, avec autant de diapasons que lon
veut et simultanément puisque les courants ne se mélangent
pas et que chaque courant agit sur un téléphone et seulement
sur celui-là.
Il y a quinze ans, paraît-il, que M. Mercadier a jeté les
bases de son invention quil perfectionne chaque jour. Voir plus
bas l'étude du Radiophone.
Elle multipliera dune façon extraordinaire le nombre des
communications télégraphiques dans la même unité
de temps ; on pourrait objecter que dans la télégraphie
musicale, la réception se fait à loreille et sans
laisser de trace. Mais cest aujourdhui une tendance générale
dans les pays où senvoient le plus de dépêches,
de préférer la réception par le son à la
réception par écrit ; on la considère comme non-seulement
plus rapide, mais plus sûre, parce quelle exige une attention
plus soutenue et comporte, par conséquent, moins de négligences
dans le service ...
Le télégraphe multiplex de M. Mercadier, par
M. J. Anizan

Brevet MULTIPLE TELEGRAPHY US420884A
du 4 février 1890.
Vu dans le "Journal télégraphique
Avril 1902"
L'appareil télégraphique
multiplex de M. Mercadier, qui, depuis de nombreuses années,
soutient l'attention des télégraphistes, vient de prendre
une nouvelle forme. Il est devenu plus simple et plus sûr. Il
peut désormais assurer un service régulier.
Le moment est donc venu d'en faire une description complète et
impartiale. Il ne sera pas sans intérêt d'indiquer ses
principales transformations et les causes qui les ont amenées.
Ce système permet à douze postes télégraphiques
de transmettre simultanément dans les deux sens, sur un circuit
de deux fils, des signaux du code Morse lus au son. Il est duplexé,
ce qui double le nombre des télégrammes pouvant être
échangés en même temps. Le nombre total de 12 (un
dans un sens et 12 en sens inverse) devient 24, jusqu'à concurrence
de 12 dans chaque sens.
Nous reviendrons sur ce point important, ainsi que sur la faculté
qu'il possède de pouvoir desservir, au moyen du même circuit,
plusieurs postes
échelonnés, lorsque nous examinerons la question du rendement.
Nous allons voir de suite comment ces résultats sont obtenus.
Les récepteurs sont constitués par des sortes de téléphones,
que M. Mercadier appelle des monotéléphones, à
cause de la propriété que possède la plaque de
chacun d'eux de vibrer pour un seul son. Cet appareil donne au système
sa caractéristique, ainsi que nous le verrons par la suite.
Les transmetteurs proprement dits sont des diapasons, dont le
mouvement de vibration est actionné électriquement.
On conçoit par la pensée que si, au moyen de 12 diapasons
correspondant à des notes séparées par des intervalles
musicaux de un demi-ton, on envoie des signaux différents sur
une même ligne, ces signaux peuvent être perçus respectivement
par des monotéléphones dont les plaques sont réglées
pour vibrer à l'unisson des diapasons correspondants.
Il fallait obtenir ces résultats dans la pratique et, de plus,
permettre aux transmissions de s'échanger simultanément
dans les deux sens. En d'autres termes, obtenir avec une seule ligne
et un télégraphe multiplex les résultats donnés
par des systèmes ordinaires et douze lignes.
D'autres inventeurs avaient précédé M. Mercadier
dans la voie des recherches concernant les télégraphes
harmoniques. Le téléphone du savant allemand Reis avait
ouvert cette voie dès 1860. Parmi ceux qui avaient poursuivi
des études dans ce sens, on peut citer Cromwell Varley, Paul
La
Cour et Elisha Gray. Nous ne pouvons résister au désir
de rappeler succinctement les travaux de ces dignes précurseurs.
En outre de l'intérêt historique que présentent
leurs travaux, on est étonné de la hardiesse de certaines
conceptions appliquées par la suite aux installations téléphoniques.
Le télégraphe de Varley date de 1870. Il est représenté
schématiquement par la figure 1.
D est un diapason dont le mouvement est électriquement entretenu
au moyen des électro-aimants E1 E2. (On sait que, en vibrant,
les branches d'un diapason s'éloignent et se rapprochent en même
temps de la ligne médiane.) B, une bobine à 3 enroulements
(dont 2 primaires et 1 secondaire). Un pôle de la pile P est relié
au pied du diapason et l'autre pôle à l'entrée du
1er et à la sortie du 2e primaire.
Les deux autres extrémités des fils primaires sont raccordées
l'une au style S 2 du diapason, et l'autre au style S1. Les électro-aimants
d'entretien E1 E2 sont embrochés entre la bobine I et S1. Lorsque
le style S 1 est en contact avec le diapason, le courant de la pile
P traverse le fil primaire 1' 1' et les électro-aimants E 1 E2.
Les noyaux des électro-aimants se polarisent et attirent les
branches du diapason. L'appendice placé sur l'une d'elles quitte
le style S1 et prend contact avec le style S 2 . Le courant ne passe
plus dans les électroaimants E1 E2 , et le diapason, en vertu
de son élasticité, tend à revenir à sa position
de repos. Dans la série des vibrations, il prend contact alternativement
avec les styles S1 et S 2 .
Suivant le cas, le courant passe dans l'un ou l'autre des deux circuits
primaires de la bobine d'induction I.
Il y a lieu de noter que, à chaque vibration du diapason, le
courant qui traverse le primaire change de sens et d'intensité.
Le récepteur se composait d'un fil de fer écroui,
tendu dans l'axe d'une bobine dont il constituait une sorte de noyau
susceptible de vibrer.
Ce fil, aimanté par le passage du courant dans la bobine, vibrait
en face de deux aimants fixes placés dans le voisinage..
Le but de Varley était de superposer les transmissions avec courants
induits aux transmissions avec courants ordinaires, ces derniers étant
duplexés. A cet effet, le poste utilisant les courants harmoniques
était séparé de la ligne par un condensateur embroché.
On ne peut s'empêcher d'admirer, à la suite de cette étude
abrégée du télégraphe Varley, l'importance
des travaux de cet inventeur. S'ils n'ont pas eu de suite immédiate,
ils ont, sans aucun doute, servi de germe pour des applications ultérieures.
Certainement la réalisation de l'entretien électrique
du diapason et la production de courants alternatifs dans un primaire
de bobine d'induction par le jeu même du diapason n'ont pas été
poussées plus loin.
Quant à l'emploi d'un condensateur
pour séparer les courants induits des courants ordinaires, il
a été utilisé par la suite dans les systèmes
de télégraphie et de téléphonie simultanées.
Le télégraphe que Paul La Cour, de Copenhague, imagina
en 1874, employait des diapasons comme transmetteurs et comme récepteurs.
Les branches des diapasons récepteurs pouvaient vibrer dans l'intérieur
de bobines dont ils devenaient les noyaux. Les extrémités
des branches aimantées par le passage du courant se trouvaient
actionnées par les pôles d'un 2e électro-aimant
traversé également par le courant de ligne. On se rend
compte de l'inertie que présentait un tel récepteur et
de la difficulté que l'inventeur a éprouvée pour
faire fonctionner son appareil sur de longues lignes.
On doit cependant retenir le but poursuivi, qui consistait à
réaliser la superposition de plusieurs transmissions simultanées
sur une même ligne.
Elisha Gray a publié, en 1874 et en 1876, deux descriptions de
son télégraphe harmonique. Il utilisait dans chacun de
ces types des courants ondulatoires, mais de même sens, contrairement
au télégraphe Varley, qui se servait de courants alternatifs.
Les deux modèles étaient multiples et duplexés.
Ils différaient entre eux en ce qu'ils utilisaient, au départ
et à l'arrivée, c'est-à-dire comme appareils transmetteurs
et récepteurs, le premier
des barreaux de fer réglés pour vibrer pour des notes
données, le second des tiges vibrantes pincées à
l'une des extrémités et libres à l'autre. Engineering
de l'époque donnait comme résultats obtenus par Gray 4
dépêches transmises simultanément sur des lignes
très probablement en fer
d'une longueur de 2400 milles. On peut affirmer sans crainte
que l'évaluation du rendement était exagérée.
En vue de l'étude méthodique du télégraphe
multiplex de M. Mercadier, nous aborderons la description du transmetteur
et du récepteur, et nous continuerons par celle des appareils
communs aux 12 postes.
Transmetteur.

Le transmetteur se composait, au début, d'un diapason entretenu
électriquement au moyen de h électro-aimant E (fig. 2)
et fixé sur une caisse renforçante G. Cette caisse portait
un microphone m dont les variations de résistance électrique
correspondaient au mouvement vibratoire du diapason. Ce microphone faisait
partie du circuit primaire d'une bobine d'induction I, dans lequel se
trouvait également un manipulateur M".
On se rend compte du fonctionnement de ce transmetteur. Le diapason
vibre constamment. Lorsque la clé Morse est abaissée pour
l'envoi d'un signal, le circuit primaire est fermé, et des courants
induits, dont la période correspond à celle du diapason,
sont envoyés sur la ligne. Les courants induits ainsi produits
étaient peu intenses.
Pour augmenter l'intensité de ces courants, M. Mercadier remplaça
le microphone par un interrupteur actionné par le diapason même.
A cet effet, le diapason était muni d'un style sur chacune de
ses branches (fig. 3).
Le style de droite servait comme précédemment pour l'entretien
électrique du mouvement de vibration du diapason.
Le style de gauche, isolé électriquement de la masse du
diapason, servait d'interrupteur dans un circuit composé de l'un
des enroulements d'une
bobine d'induction I et d'une pile P' distincte de la pile d'entretien
P.
Les résultats obtenus furent excellents sous le rapport de l'intensité
des courants. Mais il arrivait que, le style de droite fonctionnant
régulièrement, l'entretien du mouvement de vibration du
diapason s'effectuait dans de bonnes conditions, tandis que le défaut
de fonctionnement du style de gauche empêchait les courants de
se produire.
On était en présence d'une source de dérangements
qu'il fallait faire disparaître.
C'est pour cette raison que le type actuel, représenté
par la figure 4, a été adopté.

Une seule pile P sert à la fois à l'entretien du mouvement
de vibration du diapason et à alimenter le primaire du transformateur
t. Le diapason possède toujours deux styles, mais celui de gauche
n'est plus isolé du diapason. Ils concourent au même but
et servent mutuellement de rechange,
étant donné qu'ils ne sont jamais utilisés en même
temps.
Comme nous l'avons déjà dit, il a sur le précédent,
représenté par la figure 3, l'avantage de garantir une
sécurité absolue. Lorsque l'entretien électrique
du mouvement de vibration du diapason se fait, on est toujours sûr,
en'actionnant le manipulateur, d'envoyer des courants induits sur la
ligne.
Par contre, si on considère l'intensité des courants produits,
on remarquera que, selon la position du style actionné, ou bien
il. n'y a courant ni dans la bobine d'entretien ni dans le primaire
du transformateur si le style est isolé de la pièce C;
ou bien le courant de la pile les traverse, en dérivation, lorsqu'il
y a contact entre ce style et cette pièce. Il est certain que
la dérivation de la bobine d'entretien sur le primaire du transformateur
est une cause d'affaiblissement des courants induits, mais ce que l'on
perd en intensité est largement compensé par la sécurité
de fonctionnement du système transmetteur.
Est-ce à dire que le transmetteur actuel n'est pas susceptible
de perfectionnements ?
Nous nous garderions bien de l'affirmer, surtout si nous le comparons
à celui du télégraphe Varley, représenté
dans la figure 1 et reproduit en fig. 5.
Au point de vue de l'intensité des courants, nous avons déjà
dit que dans le Varley les courants primaires changeaient de sens, tandis
que dans le transmetteur de M. Mercadier ces courants varient seulement
d'intensité. Lorsque le diapason du système Varley est
en contact avec le style S2, le courant de la pile P passe tout entier
dans l'enroulement 1 1 du transformateur, c'est-à-dire sans dérivation.
Lorsqu'il est en contact avec le style S1, le courant de la pile P traverse
le fil 1' 1', en changeant de sens, et les électro-aimants E
E2 , lesquels pourraient être remplacés par un électro-aimant
unique placé entre les deux branches du diapason. La variation
de courant dans le primaire du transformateur Varley est donc plus grande
que dans le transmetteur de M. Mercadier, puisque le courant change
de sens et qu'il n'y a pas de shunt sur le primaire du transformateur.
Je sais bien que, dans la position du diapason sur S1, l'intensité
du courant qui traverse également les bobines E1 E2 est moins
grande que dans la position sur S2.
. Malgré tout, cette intensité a une valeur qui doit être
suffisante pour entretenir le mouvement du diapason. Quelle que soit
la valeur de cette intensité, elle s'ajoute à l'intensité
dans le cas de la position du S2 pourchiffrer la différence d'intensité
qui existe dans les deux positions du diapason.
Reste la question de sécurité de fonctionnement. On crée
bien une difficulté en cherchant à obtenir deux contacts
en S1 et S 2 , comme dans
le système Varley. Nous pensons cependant que ce résultat
pourrait être obtenu.En tout état de cause, si le contact
en S 1 ne se produisait pas ou s'effectuait imparfaitement, on n'aurait
pas les inconvénients afférents au transmetteur représenté
par la figure 3. On enverrait sur la ligne des courants induits tant
que le mouvement du diapason s'exécuterait. En résumé,
on aurait autant de sécurité et beaucoup plus d'intensité
qu'avec le transmetteur indiqué par la figure 4.
Tel est l'état de la question en ce qui concerne le transmetteur.
J'ai essayé de décrire ce qu'il a été dans
le passé, ce qu'il est dans le présent et ce qu'il pourrait
devenir plus tard. Je pense qu'un transmetteur genre Varley donnerait
une plus grande puissance de transmission. On pourrait ainsi aborder
des lignes plus longues. Il y a toujours intérêt, en télégraphie
et en téléphonie, à avoir des appareils plutôt
trop puissants. On a plusieurs moyens de réduire l'intensité.
Ceux qui permettraient de l'augmenter n'existent pas toujours, surtout
dans les systèmes avec courants induits.
Récepteurs.
Ainsi que nous l'avons déjà dit plus haut, le récepteur
est une sorte de téléphone dans lequel la membrane est
disposée pour vibrer pour un seul son. Tandis que dans le téléphone
ordinaire la membrane est pincée par ses bords et est ainsi susceptible
de rendre tous les sons, dans le monotéléphone la plaque
circulaire en acier repose librement sur 3 points, situés sur
la circonférence; constituant la ligne nodale du premier, harmonique.

La figure 6 représente une de ces plaques. La ligne nodale est
en pointillé sur la figure. La hauteur du son des plaques varie
avec leur diamètre, et il est possible de régler ces plaques
à l'unisson des diapasons correspondants.
La figure 7 montre le récepteur du début.
L'électro-aimant ordinaire est monopolaire. La membrane vibrante
est en m m , les prises de son en 5 au-dessus et au-dessous de la membrane.

Dans le dernier modèle de récepteur, représenté
par la figure 8, fi électro-aimant est polarisé, bipolaire
et à pôles concentriques.
Le pôle central est creux et sert à Tunique prise de son..réalité,
elles sont percées de trous à travers lesquels passent
des tiges, et elles reposent sur des rondelles de liège.
Ces récepteurs sont très sensibles, très robustes
et absolument indéréglables. La membrane est réglée
une fois pour toutes, par construction, pour un son donné. Quel
que soit le nombre de courants induits de périodes diverses traversant
l'électro-aimant du récepteur, la membrane restera inerte,
tant que des courants induits, dont la période ne correspondra
pas exactement au nombre de vibrations du son pour lequel la membrane
est construite, ne passeront pas. La plaque possède une propriété
analogue à celle du résonateur acoustique, qui choisit,
parmi un certain nombre de sons qui lui arrivent simultanément,
L'un d'entre eux pour le renforcer vivement.
Il nous reste à examiner les moyens employés pour grouper
sur une même ligne, et pour les duplexer, les transmetteurs et
récepteurs que nous venons de décrire.
Est-il téméraire de penser, dans un moment où la
télégraphie sans fil est encore à ses débuts
et marche en tâtonnant, que le transmetteur et le récepteur
du télégraphe multiplex de M. Mercadier pourraient utilement
servir à des recherches permettant enfin d'éviter la confusion
des signaux
entre appareils voisins. L'idée de cette application a déjà
été émise dans le N° 1216 de l'Electrician,
du 6 Septembre dernier, en ce qui concerne le récepteur.
(A suivre.) . J. ANIZAN.
Suite dans le "Journal télégraphique
de Juillet 1902"
Postes échelonnés.
On sait que, en téléphonie, le fait de disposer en dérivation
sur les deux fils un ou plusieurs annonciateurs de fin de conversation
le long du circuit n'a pas pour effet de diminuer l'intensité
d'audition de la parole. Certaines personnes même soutiennent
que, à la façon des bobines Pupin sur les câbles
souterrains, la self-induction des annonciateurs de fin de conversation
combat heureusement l'effet de la capacité électro-statique
de la ligne, et que, par conséquent, la présence de ces
annonciateurs disposés en surface sur les deux fils d'un circuit
améliore l'intensité d'audition de la parole.
Le même phénomène se produit lorsque, entre deux
points extrêmes A et B (fig. 16), on dispose sur la ligne en des
points CDE des transformateurs dont l'un des fils, possédant
une résistance et une self-induction suffisantes, est installé
en dérivation sur les deux conducteurs du circuit, le deuxième
fil de ces transformateurs communiquant avec une installation à
courants induits.
On constate bien que l'intensité des courants de réception
aux postes A et B ne faiblit pas, et que chacun des postes CDE correspond
avec tous les autres dans les mêmes conditions que A et B. Le
dispositif qui donne des résultats satisfaisants avec le télégraphe
Mercadier est celui qui emploie des
transformateurs installés en dérivation, comme l'indique
la fig. 16. Les lignes artificielles sont aménagées pour
être reliées à l'installation dans les mêmes
conditions que la ligne réelle. Elles sont raccordées
à l'installation en un point intermédiaire au lieu de
l'être par une de leurs extrémités.
Les expériences faites entre Paris et Pau comme postes extrêmes,
avec Tours, Angoulême et Bordeaux comme postes intermédiaires,
ont démontré que la présence des postes intermédiaires
n'altérait pas l'intensité des transmissions entre les
postes extrêmes, et que les appareils disposés en C D et
E se comportaient absolument comme ceux des postes extrêmes. La
question des postes échelonnés était dès
lors résolue. Quel est le nombre des postes intermédiaires
qui peut être ainsi exploité ?
1° Si on considère une ligne partant d'un poste important,
comme Paris, et ayant seulement besoin d'un poste duplexé avec
chacune des villes correspondantes, il est certain que, dans ces conditions,
ce poste important pourrait communiquer par la même ligne avec
12 autres villes, y compris l'autre poste extrême.

Les figures 17 et 18 font ressortir quelle serait dans ce cas l'économie
de fils. Mais deux objections se présentent, l'une d'exploitation,
l'autre d'ordre technique.
Au point de vue exploitation, on ne voit pas bien quel avantage on aurait
à charger Paris d'opérer le transit des télégrammes
échangés entre ces postes. Il y aurait tout intérêt,
au contraire, à permettre à tous les postes d'échanger
directement, sans intermédiaire, leurs télégrammes.
La rapidité de transmission y gagnerait et les frais d'exploitation
seraient diminués, puisque les agents de Paris seraient déchargés
des transmissions de transit.
La deuxième objection vise l'absence d'un système d'appel
spécial à chaque poste. L'emploi d'une bobine Cailho,
ou Picard, ou Jacob, ne permettrait l'appel que pour un seul poste sur
12 sans déranger les autres, par exemple entre Paris et le poste
6. Cependant, si on se servait de rappels polarisés, Paris pourrait
appeler le 6, par exemple, avec le pôle positif, et le 7 avec
le pôle négatif, et être appelé par eux avec
les mêmes pôles de pile. Cette solution, essentiellement
pratique, ne résoudrait que partiellement la question de l'appel,
puisqu'il resterait 10 autres postes dépourvus d'appel.
En admettant que l'appel soit trouvé, ce qui ne paraît
pas impossible, l'objection concernant l'exploitation conserve toute
sa valeur, et nous pensons qu'il y a intérêt à permettre
aux postes de communiquer entre eux.
2° Si on veut que chacun des postes communique avec tous les autres,
le nombre de postes pouvant être desservis par une ligne est de
5, au moyen de 10 notes. Les deux autres notes pourraient doubler l'installation
des deux postes dont le trafic est le plus chargé.
La figure 20 fait ressortir le nombre de fils qui serait nécessaire
pour obtenir un résultat analogue à celui donné
par le multiplex avec l'arrangement indiqué par la figure 19.

Dans ce cas, l'objection relative à l'exploitation ne porte plus,
celle concernant l'appel subsiste, mais, comme nous l'avons dit plus
haut, nous ne pensons pas qu'elle soit insurmontable.
Si le télégraphe multiplex devait desservir trois bureaux
tels que leur trafic soit suffisant pour absorber aux heures chargées
le rendement de douze postes duplexés (fig. 21), on possède
dès à présent tous les moyens d'exploitation nécessaires,
les appels se faisant au moyen de dispositifs de télégraphie
et téléphonie simultanée, combinés avec
des inverseurs de courant et des rappels polarisés.
L'emploi d'inverseurs de courant et de rappels polarisés se fait
d'une façon courante, dans le réseau téléphonique
français, pour les appels sur les lignes desservant trois postes
centraux. On a donc en mains tous les éléments d'exploitation
d'un télégraphe multiplex desservant trois bureaux au
moyen d'un même circuit.
Pour résumer tout ce qui a été dit jusqu'ici en
quelques mots, nous pouvons conclure que le télégraphe
multiplex de M. Mercadier, en l'état actuel, permet d'échanger
24 télégrammes simultanés sur un circuit de deux
fils, et que les appels indépendants de trois postes desservis
par la même ligne sont possibles.
Quant à sa puissance de transmission, nous avons indiqué
plus haut la possibilité d'échanger des signaux par des
lignes de 2000 kilomètres lorsque, à chaque extrémité
du circuit, on n'avait qu'un transmetteur et un récepteur. Dans
le cas d'une installation complète des 12 postes à chaque
extrémité, la longueur de 2000 kilomètres se trouve
réduite en raison des diverses transformations de courants et
d'autres causes, au nombre desquelles on peut citer la disposition en
surface des transmetteurs. Bien que l'expérience n'ait pas été
faite sur une ligne aussi longue, nous pensons qu'en l'état actuel
une installation complète pourrait affronter un circuit en fils
de cuivre de gros diamètre d'une longueur de 12 à 1400
kilomètres.
Quant au rendement, on peut dire que chaque note duplexée permet
de transmettre autant de télégrammes qu'un Sounder duplexé.
Nous ne nous hasarderons pas à faire un tableau comparatif du
rendement du télégraphe multiplex avec d'autres systèmes,
car il n'y a pas de question plus controversée que celle des
rendements, et il n'est guère possible de trouver la moindre
concordance entre les chiffres donnés par les divers inventeurs
et
même par des personnes désintéressées. Cela
tient, selon nous, à ce qu'on n'envisage que rarement à
la fois le rendement d'un système au double point de vue du matériel
et du personnel, c'est-à-dire de l'économie des lignes,
d'une part, et demain-d'uvre de transmission, d'autre part.
Perfectionnements dont le télégraphe multiplex paraît
susceptible.
Maintenant que nous savons ce qui a été fait, il nous
est facile de voir ce qui reste à faire, la sécurité
de fonctionnement du système étant acquise, pour augmenter
le rendement et la puissance de transmission et doter le télégraphe
multiplex des moyens d'appel qui lui manquent encore. Des recherches
récentes m'ont amené aux conclusions qui suivent :
Accroissement du rendement.
Le rendement serait doublé si on pouvait utiliser des
plaques séparées par un intervalle musical d'un quart
de ton, en décalant, bien entendu, les transmetteur et récepteur
d'un même poste d'un huitième de ton. La question qui se
pose alors est la suivante. "Peut-on pratiquement réaliser
un système fonctionnant avec des plaques séparées
par un quart de ton" ? La réponse n'est pas douteuse en
ce qui concerne la construction des diapasons et des plaques. Mais la
monophonie se maintiendra-t-elle dans les plaques sous l'action des
courants ? Oui, si on améliore le mode de suspension des plaques
audessus de l'électro-aimant.
Au lieu
de reposer sur des rondelles rr, comme l'indique la figure 22, les plaques
pp devraient, selon nous, reposer sur des pointes. A cet effet, deux
légers traits de scie et une petite cavité conique déterminant
l'emplacement des pointes devraient remplacer les trous actuels pratiqués
dans les plaques. Le récepteur étant un appareil essentiellement
fixe, aucun inconvénient à cela.
Si le résultat visé plus haut était atteint, le
nombre de télégrammes échangés sur une même
ligne, qui est actuellement de 24 (12 dans chaque sens), serait de 48
(24 dans chaque sens).
Augmentation de la puissance de transmission.
Deux moyens se présentent. Ils peuvent être employés
séparément ou conjointement (fig. 23).

Le premier consiste à remplacer le tansmetteur actuel (fig. 4)
par le transmetteur de Yarfey représenté par la figure
5. Nous avons indiqué dans le premier article de la présente
étude les raisons qui militent en laveur de ce dernier dont la
déscription est parvenue récemment à notre connaissance.
Le deuxième moyen consiste dans le fait de disposer en surface,
dans le circuit de la ligne réelle, les fils 2 2 de la bobine
d'induction B et 1 1 du transformateur T, montés actuellement
en série.
Bien entendu, il devrait en être de même des fils 2' 2'
de B et V V de T dans le circuit de la ligne artificielle. Peut-être
par ce moyen pourraiton réduire au minimum les capacités
des condensateurs shuntant les secondaires de la bobine B.
On aurait même tout avantage à s'en passer, si c'était
possible. L'essentiel serait de supprimer tout au moins le condensateur
qui se trouve dans le circuit de la ligne réelle. L'autre, installé
dans le circuit de la ligne artificielle, pourrait rester sans inconvénient
si son emploi était indispensable. La suppression du condensateur
C aurait pour résultat de laisser aux courants émis par
la bobine B toute leur puissance, ce condensateur agissant vis-à-vis
des courants induits, comme une résistance apparente faible ne
pouvant que les affaiblir. Il n'y a pas à craindre que l'installation
des bobines T et B en dérivation affaiblisse l'effet dans le
transformateur T des courants de réception.
Nous avons déjà dit, en citant l'exemple des annonciateurs
de fin de conversation dans les circuits téléphoniques,
qu'une dérivation ayant une résistance et une self-induction
convenables n'a pas d'action sur les courants induits. C'est, d'ailleurs,ce
qu'on constate dans le multiplex lorsqu'on installe une bobine Cailho
(fig. 15).
Si les essais démontraient que ces deux moyens sont efficaces,
l'installation nouvelle serait représentée par la figure
23.
Enfin, un autre avantage, dont on reconnaîtra l'importance plus
loin, serait de permettre le remplacement de la bobine Cailho par une
dérivation prise sur le milieu du secondaire 22 de la bobine
B pour desservir une installation télégraphique ordinaire,
celle-ci pouvant être utilisée soit pour augmenter le rendement
du sjstème Mercadier, soit pour l'appel (fig. 24).
Dispositifs d'appel.
Par ce qui a été déjà décrit,
nous savons que nous pouvons assurer l'exploitation de trois postes
A, C, B, disposés comme ceux de la figure 21, par exemple, au
moyen du télégraphe Mercadier. Aucune difficulté
pour que chacun d'eux corresponde simultanément par la même
ligne avec les deux autres pour l'échange des transmissions.
Les appels peuvent se faire en employant des bobines Cailho et en utilisant
les deux pôles des piles d'appel.

Il serait à souhaiter que cinq postes échelonnés
(fig. 25) puissent s'appeler entre eux dans les mêmes conditions
que les postes A, B, C de la figure 21, c'est-à-dire que le poste
2 puisse appeler le poste 4, par exemple, sans déranger les autres
postes au repos, ni sans altérer les transmissions qui s'échangent
au même moment sur la ligne.
On ne peut, pour atteindre ce but, se servir de courants ordinaires.
Il faut donc avoir recours aux courants vibrés. Nous avons déjà
un moyen de ne pas déranger les transmissions par courants induits.
Il consiste à utiliser soit le dispositif représenté
par la figure 24, soit les bobines spéciales permettant la télégraphie
et la téléphonie simultanées.
Au moyen de courants ordinaires ondulatoires, on pourrait employer un
système analogue à celui dont se servait Elisha Gray pour
ses transmissions.
Au moyen de courants induits, on pourrait utiliser le principe même
des appareils du télégraphe multiplex de M. Mercadier.
Supposons que le poste 4 soit appelé par le poste 2, au moyen
du son mi. Il faudrait s'arranger pour que, en abaissant une clé
du genre des clés d'appel des commutateurs multiples, les fils
2 2 de la bobine d'induction de l' électro-diapason représenté
dans la figure 23 soient mis en relation avec les points a b de la figure
25. Si un monophone mi, spécial à l'appel et très
sensibilisé, se trouve embroché en 4 (fig. 25), il sera
susceptible de vibrer fortement sous l'action des courants envoyés
par le transmetteur mi du poste 2. Il est bien entendu qu'au repos de
la clé d'appel, le transmetteur mi, qui peut servir pour les
transmissions et pour l'appel, se trouve relié avec le primaire
11 de la bobine B.
Les courants émis par un seul transmetteur seront très
puissants, beaucoup plus que ceux envoyés sur la ligne par les
transmetteurs de l'installation servant aux transmissions télégraphiques.
Ceux-ci sont, en effet, groupés en surface, et les courants qu'ils
émettent subissent plusieurs transformations, tandis que le transmetteur
employé pour l'appel est seul directement relié à
la ligne, et les courants envoyés ne traversent pas de transformateurs.
La résistance des fils de ligne est réduite au quart pour
l'appel, puisque les deux conducteurs qui la composent sont pris en
surface.
Enfin, les courants transmis, au lieu de traverser 12 récepteurs
en série, sont reçus dans 4 récepteurs en surface.
L'expérience seule démontrerait si le récepteur
actionné dans ces conditions pourrait fonctionner comme les appels
phoniques utilisés dans les installations Van
Rysselberghe, ou si, combiné avec un résonateur,
il rendrait un son puissant pouvant servir d'appel.
Fonctionnement du multiplex sur un fil unique.
Il y a lieu, selon nous, d'attacher une grande importance aux
moyens propres à augmenter l'intensité des courants de
transmission, parce qu'ils peuvent amener le fonctionnement du télégraphe
multiplex sur une ligne composée d'un fil unique.
Si on pouvait, par exemple, tripler l'intensité des courants
actuels, il faudrait, pour obtenir la même intensité de
sons à l'arrivée, désensibiliser considérablement
les récepteurs monophoniques. Il suffirait pour cela d'éloigner
la plaque de l'électro-aimant polarisé. On pourrait espérer
que les plaques monophoniques resteraient insensibles sous l'action
des courants produits par l'induction des fils voisins. L'expérience
démontre déjà que ces
plaques sont beaucoup plus inertes que celles des récepteurs
téléphoniques. En les éloignant peu à peu
des pôles des électro-aimants, il arrivera un moment où
le bruit de friture ne sera plus perçu.
Si les courants du poste correspondant sont suffisants pour actionner
les récepteurs monophoniques ainsi réglés, on aura
réalisé d'une façon pratique l'échange des
transmissions harmoniques au moyen d'un seul fil. Et le jour où
on aura obtenu la séparation des sons par quart de ton, on aura
quadruplé, au point de vue de l'économie des fils de ligne,
le rendement du multiplex actuel. On aura, en effet, 48 transmissions
simultanées au moyen
d'un fil unique, au lieu de 24 transmissions par un circuit de deux
fils. Il est bien entendu que le rendement d'exploitation reste, dans
tous les cas,
toujours le même. On peut évaluer que le travail produit
par un employé avec le multiplex est du même ordre que
celui du même employé avec le Sounder.
Les renseignements qui précèdent sur les moyens propres
à accroître le rendement, à augmenter la puissance
de transmission et, conséquemment, à obtenir le fonctionnement
du multiplex sur un seul fil, et, enfin, à donner des dispositifs
d'appel pour postes échelonnés, ne sont fournis qu'à
titre d'indication. Bien que nous pensions que les résultats
envisagés puissent être atteints, il serait nécessaire,
avant d'en faire état, de soumettre ces moyens à l'épreuve
de la pratique sur des lignes réelles.
La description détaillée du télégraphe multiplex
aurait demandé de plus longs développements.
Nous, avons cru devoir nous borner, en l'accompagnant de dessins schématiques,
à un exposé raisonné aussi réduit que possible.
Il suffira, croyons-nous, à faire comprendre la nouvelle application
qui a été tirée du principe des télégraphes
harmoniques par le savant qu'est M. Mercadier. Cette application représente
de nombreuses années de travaux méthodiquement conduits.
Un avenir prochain montrera s'ils ont été poursuivis en
vain.
J. ANIZAN.
Suite dans le "Journal télégraphique
de février 1911"
Les télégraphes multiplex
(système E. Mercadier).
Nous avons publié, Juillet, Août, Septembre et Octobre
1908, un article concernant un nouveau mode d'exploitation télégraphique
multiplex au moyen de courants alternatifs.
La Société des télégraphes multiplex (système
E. Mercadier) nous communique une notice faisant connaître la
suite de ses travaux et les derniers résultats obtenus.
On sait que l'invention repose sur ce principe très simple que
plusieurs courants alternatifs de fréquence différente,
de faible intensité et issus d'un même poste transmetteur,
peuvent emprunter un conducteur unique et être triés automatiquement
au poste d'arrivée. On conçoit donc que plusieurs transmissions
peuvent coexister sur une même ligne télégraphique,
si l'on prend soin d'affecter à chacune d'elles un courant alternatif
de fréquence différente, et l'on voit immédiatement
les économies de fils à provenir d'une pareille organisation
du service.
A l'origine, plusieurs transmissions Morse étaient échangées
sur un circuit et la réception était obtenue au moyen
d'appareils auditifs. La lecture au son présentant certains inconvénients,
les inventeurs,
MM. Mercadier et Maguna, réussirent, en 1907, à faire
fonctionner des transmissions Hughes entre Paris et le Havre au moyen
d'un circuit bifilaire de 2 V 2 mm - de diamètre et, en 1908,
entre Paris et Marseille, au moyen d'un circuit bifilaire de 5 mm.
On pouvait reprocher au système, pour les transmissions à
longue distance, l'emploi d'un double fil de cuivre de gros diamètre.
Cette critique ne peut plus être formulée. Les inventeurs
ont, en effet, réussi à réaliser l'application
de leur mode d'exploitation à une ligne télégraphique
ordinaire, c'est-à-dire à faire circuler leurs courants
sur un fil unique de petit diamètre (3 mm.) avec retour par la
terre. Cette démonstration a été faite en 1909
entre Paris et Lyon avec toute l'ampleur désirable, les expériences
ayant duré près de six mois. Pendant les deux premiers
mois, les expérimentateurs ont procédé au montage
des deux postes de Paris et de Lyon et ont cherché et trouvé
le moyen d'éliminer l'influence des courants perturbateurs et
des variations de potentiel de la terre.
Pendant les deux mois suivants, ils ont commencé à échanger
des transmissions et ont progressivement approprié leurs appareils
à ces nouvelles conditions de fonctionnement et rendu leur réglage
aussi stable que précis. Enfin, au cours des deux derniers mois,
ils ont procédé aux essais officiels
contrôlés par une commission de fonctionnaires du service
télégraphique de l'Etat français.
Au début, ils faisaient fonctionner simultanément sur
le fil télégraphique de 3 mm. mis à leur disposition
trois Hughes à courant alternatif et un Hughes à courant
continu. Plus tard, ils remplacèrent le Hughes à courant
continu par un Baudot quadruple. C'est dans ces conditions que les essais
définitifs eurent lieu et furent couronnés d'un plein
succès.
On peut donc, sur un fil desservi par un Baudot quadruple, ajouter un
Hughes-Mercadier sextuplex et obtenir l'exploitation indiquée
par le tableau ci-dessous.
Si l'on admet que le rendement d'un clavier Baudot est de 1550 mots
à l'heure et celui d'un clavier Hughes de 1800 mots, le rendement
total des quatre claviers Baudot ci-dessus est de 1550 x 4 = 6200 mots,
celui des six claviers Hughes est de 1800 x 6 == 10 800, et le rendement
total du système atteint le chiffre de 17 000 mots à l'heure.
L'adjonction des six claviers Hughes augmente donc le rendement du fil
télégraphique dans la proportion de 174 %. De telle sorte
que, le jour où une ligne desservie au Baudot quadruple, déjà
fort bien utilisée, devient encombrée, on peut, en employant
le nouveau mode d'exploitation, se dispenser d'établir un nouveau
conducteur et réaliser ainsi une économie qui peut être
évaluée à 250 francs par kilomètre. Le résultat
est obtenu sans modifier les appareils télégraphiques
en usage, sans modifier les lignes, sans imposer au personnel manipulant
aucun surcroît de travail ni aucun apprentissage.
Pour récompenser ces remarquables résultats, l'Académie
des Sciences, sur la proposition unanime de sa Commission, a décerné
à M. Maguna le prix Kastner-Boursault, et lui a attribué
la médaille Berthelot.
sommaire
1891 le Bitéléphone
Le premier brevet pour les « écouteurs
», comme on les appelait alors, a été déposé
par Ernest Jules Pierre Mercadier, en 1891, lorsqu'il a créé
un « bi-téléphone ». M. Mercadier, se basant
sur des principes théoriques, dont lanalyse sortirait du
cadre élémentaire que nous nous sommes imposé,
a été amené à construire un appareil auquel
il a donné le nom de bitéléphone.
Voici, d'après le Cosmos, la description de cet appareil :

« La figure représente en vraie grandeur une coupe, suivant
laxe du noyau, de lun des récepteurs dun bitéléphone
à un seul pôle. La boîte est en ébonite et
se compose de deux couvercles percés en leur centre et vissés
à refus sur un cylindre taraudé également en ébonite.
Le couvercle supérieur, qui fixe le diaphragme, porte sur son
centre un embout qui est destiné à pénétrer
dans le conduit de loreille. Lautre couvercle laisse émerger
le noyau aimanté N, dont lextrémité taraudée
est reliée à la tige V, au moyen dune lame d'acier
R, fixée, dune part, par l'écrou E, et, de lautre,
par la vis A. La boîte est entourée dun collier métallique
tfd', qui permet de fixer le récepteur à la tige Y et
dy relier lextrémité f du fil de la bobine.
La figure 96 donne une vue densemble du bitélépbone.
La tige Y de la figure 95 nest autre chose que lextrémité
du ressort en acier aimanté, recouvert dun tube de caoutchouc,
qui se trouve relié, comme on vient de le voir, à lune
des extrémités du fil des bobines et au noyau aimanté,
et remplit, par suite, une triple fonction ;
1° II relie électriquement deux des quatre bouts des bobines,
les deux autres étant reliés à la ligne ;
2° En tant quaimant, il augmente le magnétisme des
noyaux des téléphones ;
3° Enfin, en tant que ressort, il appuie les téléphones
contre les oreilles et maintient les embouts dans les conduits auditifs.
Chacun peut dailleurs régler à sa convenance la
pression du ressort.
Ee.poids de lappareil complet est de 50 grammes; cest en
poids et en dimensions (à lépaisseur près)
comme si lon avait une pièce de 3 francs accrochée
à chaque oreille ; aussi ne produit-il pas de fatigue. Les employés
téléphonistes peuvent le conserver aux oreilles des1 journées
entières sans en être incommodé. Les travaux de
lécole Pastorienne ont fait naître une très
légitime crainte des microbes ; aussi sest-on, dans la
presse, récemment préoccupé des dangers de transmission
de certaines maladies contagieuses par lemploi du téléphone
dans les cabines publiques, les hôtels, etc... Le bitéléphone
donne à cet égard un avantage très appréciable
: les embouts t sont recouverts de pièces coniques mobiles c,
en caoutchouc, qui senlèvent et se remettent facilement,
et qui ont pour but de rendre ces parties de lappareil essentiellement
personnelles. Chacun peut, a un prix très minime, avoir des pièces
de rechange pour son usage exclusit.
Cette a figure montre la manière de se servir du téléphone.
On voit quil laisse aux mains une grande liberté d'action
et permet, par conséquent, de prendre des notes, ou même
de transcrire intégralement le message téléphoné,
ce qui la fait adopter dans un grand nombre de bureaux centraux
téléphoniques. Le bitéléphone est d'un usage
particulièrement commode dans les laboratoires, comme galvanoscope,
pour constater le passage dun courant. Cest, dailleurs,
l'usage auquel il était dabord destiné uniquement.
Comparé avec les téléphones dont on se sert habituellement,
il leur est comparable et, comme netteté, est supérieur
à plusieurs dentre eux. Cest ce quont permis
de constater des expériences comparatives faites sur la ligne
aéro-sous-marine de Paris à Londres.
Le bitéléphone
MERCADIER Brevet US454138
Le but de M. Mercadier, en réalisant son bitéléphone,
a été dobtenir un instrument de dimensions et
de poids très réduits, produisant en netteté
et en intensité des effets comparables à ceux
des meilleurs récepteurs en usage. Linstrument est
assez léger pour rester suspendu aux oreilles de lopérateur
sans lui occasionner de fatigue et en lui laissant les mains libres.
Deux récepteurs de 3 à 4 cm de diamètre sont
réunis par un ressort VV en fil dacier de 2 mm de diamètre
enfilé dans un tube de caoutchouc. Le boîtier des récepteurs
est en ébonile, et le couvercle se termine par un appendice
II, garni de caoutchouc, que l'on introduit dans les oreilles en
écartant légèrement les branches du ressort
YV. La boucle du ressort reste ainsi au-dessous du menton, tandis
que, par son élasticité propre, il maintient les appendices
l , t engagés dans les oreilles.
La disposition de l'organe électromagnétique rappelle
par sa forme celle du récepteur Ader; mais les dimensions
en ont été calculées en vue dappliquer
les conclusions d'une note communiquée par linventeur,
le 22 juin 1891, à l'Académie des Sciences de Paris,
savoir :
1° donner au diaphragme du téléphone lépaisseur
juste suffisante pour absorber toutes les lignes de force du champ
de son aimant;
2° diminuer le diamètre jusquà ce que le
son fondamental et les harmoniques du diaphragme encastré
soient plus aigus que ceux de la voix humaine, cest-à-dire
plus aigus que 1ut 3 .
Ce sont là, daprès M. Mercadier, les conditions
que doivent remplir les récepteurs téléphoniques
pour fournir le meilleur rendement.
|
 |
sommaire
Les téléphones Mercadier Anizan
1893 Les transmetteurs Mercadier et Anizan sont construits par
la maison L. Digeon et C ie .
Il existe un modèle mural et un modèle portatif qui, tous
les deux, ont le même mécanisme et les mêmes communications
intérieures que les transmetteurs similaires du modèle
dArsonval.
Pour éviter l'emballage qui se produit souvent lorsque du carbone
en poudre ou en granulés est utilisé dans les microphones,
E. Mercadier et Anizan utilisent des tiges de carbone en position verticale
dans le microphone. Mercadier et Anizan ont veillé à ce
que les points de contact puissent être modifiés lorsque
des bruits de bulles deviennent perceptibles.
Le transmetteur Mercadier.
 
|

|
La membrane du microphone est un disque de verre homogène,
de dimensions calculées de manière que le son fondamental
en soit supérieur au Do 5, cest-à-dire au son le plus
aigu de la voix humaine, afin que les vibrations naturelles de cette membrane
ne puissent pas interférer avec celles qui lui sont imprimées
par la parole, et les troubler. Cette membrane, dont les bords sont maintenus
sur toute leur circonférence, présente toujours, en son
milieu, un centre de vibrations sur lequel on attache un bloc en carbone
; et, devant elle, on place une toile métallique, dont le principal
objet est datténuer, sur la membrane, les impulsions brusques
produites par certaines articulations ,... dont la prédominance
a généralement pour effet daltérer notablement
le timbre de la voix. Le bloc de carbone est fixé à la membrane
par une tige métallique carrée, serrée par un écrou
sur une rondelle débonite qui limite à sa surface
létendue du contact avec le bloc de carbone. Chacun de ces
blocs de carbone est entaillé de quatre encoches, dans lesquelles
jouent lune des extrémités d'autant de crayons en
charbon, enchâssés dans des douilles métalliques,
dont lautre extrémité, fermée par des bouchons
métalliques, pivote sur des pointes fixées à des
barres également métalliques (une par bloc), posées
sur un support non affecté par les vibrations de la membrane, et
de manière à pouvoir relier les blocs entre eux en quantité
ou en série. Le microphone se règle par linclinaison
des crayons, en déplaçant leurs pointes.
Dans un double prisme de charbon
A, B (fig. 63) percé de trous cylindro-coniques, sengagent
huit charbons mobiles, tels que CD.
Les prismes A, B, sont fixés sur la planchette microphonique
par le boulon c et lécrou b ; ils sont calés
par des tasseaux x, y, z.
Chacun des charbons mobiles est cylindrique à sa base et
taillé en pyramide à son sommet.
La partie cylindrique est enfoncée dans une douille métallique
D, percée elle-même dun trou conique t. Sur deux
plaques métalliques P, P', isolées lune de lautre,
et dont nous verrons plus loin les liaisons électriques,
sont placées huit chevilles métalliques e. Cest
sur ces chevilles que reposent les douilles métalliques t
des charbons mobiles; les sommets de ces charbons sont logés
dans les trous des prismes A, B, et sy meuvent très
librement. Tel est le microphone.
Sur la portion de la figure qui représente les plaques P,
P', et une coupe des charbons mobiles, on voit que ces charbons
forment deux groupes de quatre charbons montés en quantité;
ces deux groupes sont eux-mêmes montés en série
par leur liaison à travers les prismes de charbon A, B. La
coupe longitudinale de lappareil, placée sur la gauche
de la figure, montre les positions respectives des deux rangées
de charbons; elles sont parallèles, et les charbons y sont
inclinés, faisant un angle denviron 15° avec la
verticale. Pour parer à un calage des charbons, peu probable
dailleurs en raison de leur grande mobilité et pour
chasser aussi les poussières qui pourraient altérer
les points de contact, les inventeurs ont imaginé un système
de réglage qui permet de faire rouler les charbons mobiles
sur leurs pivots. Un cordonnet de soie entoure chacun des charbons;
les deux brins de ce cordonnet sont noués derrière
le ressort en acier R, et sont fixés, dautre part,
à la barrette h qui supporte le bouton T. Cette
par le ressort r dans la position que représente la figure,
glisse sur les tigesf, g', lorsquon tire le boulon T
; le ressort r obéit lui-même à cette impulsion,
de sorte que, en tirant plusieurs lois le boulon T, comme on tirerait
un bouton de sonnette, on imprime à tous les charbons mobiles
un mouvement de rotation autour de leur axe.
|
 |

On dispose dans le circuit primaire du microphone un shunt de résistance
calculée de manière à atténuer lintensité
des actions téléphoniques, afin quun microphone construit
pour une transmission à grande distance puisse grâce à
linterposition dun commutateur intercepteur (fig. 12), être
utilisé aussi pour un service à courte distance. En outre,
ce shunt atténue laccentuation des syllabes les plus sonores,
qui a, jusqu'à présent, rendu si difficile lapplication
des micro-téléphones aux appareils domestiques, Le shunt
peut être intercalé soit (fig. 11) en S à, entre les
contacts C et Ct des crayons, ou aux bornes 1 1' de lenroulement
inducteur primaire, ou enfin (fig. 11) de G à C', par 1 1'.
On peut, dautre part, remplacer ce shunt par une résistance
R (fig. i3) intercalée dans le circuit primaire du microphone,
et que lon supprime par le commutateur I, quand on veut parler à
grandes distances. Quand on emploie sur une seule membrane plusieurs blocs
microphoniques, chacun deux a (fig. 14) ses contacts, sa pile et
son shunt, avec commutateur permettant de supprimer à volonté
tous les shunts
 |
Le récepteur supplémentaire
Mercadier Anizan
Sur lun des pôles dun aimant A (fig. 22) est
montée une bobine dont la résistance est de 115
ohms.
Les extrémités de lenroulement de cette bobine
aboutissent aux bornes DD qui, dautre part, reçoivent
le cordon souple.
Le tube T, adapté au boîtier, sert de logement à
l'aimant A, autour duquel est enroulé un ressort à
boudin R que la vis Y maintient bandé.
Laimant A et la bobine B qui fait corps avec lui sont mobiles
dans le tube T, sans cependant pouvoir tourner, car la joue inférieure
de la bobine porte un prolongement percé dun trou,
dans lequel s'engage un ergot fixé au boîtier.
Ce dispositif empêche tout déplacement angulaire
de la bobine et de laimant.
La partie inférieure du tube T est taraudée et le
système électro-magnétique est commandé
par les trois vis V 1 V 2 V 3 . de sorte que, en agissant sur
ces vis, bloquées les unes par les autres, on peut rapprocher
ou éloigner de la plaque vibrante M, pincée entre
le boîtier et le cou vercle, l'extrémité polaire
de laimant A qui porte la bobine B.
|
 |
sommaire
Monotéléphone et Pantéléphone
?
C'est M. Mercadier durant ses travaux sur la télégraphie
multiplex, s'est proposé vers 1881, de construire de qui s'appelle
le monotéléphone, reproduisant un son unique, par
opposition au téléphone ordinaire, qui reproduisait indistinctement
tous les sons et qui s'appelle pantéléphone.
On sait que le téléphone ordinaire se compose essentiellement
d'un diaphragme en forme de disque mince en fer ou en acier, encastré
sur les bords, à peu de distance du pôle d'un électro
aimant.
Pour construire le monotéléphone, M.Mercadier tout en
maintenant le diaphragme très prés du pôle de l'électro
aimant, lui a rendu la liberté de vibrer transversalement, en
fixant seulement par trois points choisis sur la ligne nodale de son
premier harmonique. ...

On retrouve aussi des traces dans les Comptes rendus hebdomadaires des
séances de l'Académie des sciences de 1887
Sur la théorie du téléphone
monotéléphone ou résonateur électromagnétique.
Note de M. E. Mercadier, présentée par M. Cornu.
« Dans une étude précédente sur la théorie
du téléphone, je crois avoir démontré
que le diaphragme magnétique de cet appareil est animé
de deux espèces de mouvements différents qui se superposent.
Les uns sont des mouvements de résonance, moléculaires,
indépendants de la forme extérieure ce sont précisément
ceux qui permettent au diaphragme de transmettre et de reproduire
tous les sons, propriété caractéristique qu'il
aurait fallu préciser nettement dans le nom même du
téléphone en l'appelant pantéléphone
Les autres sont des mouvements d'ensemble, transversaux, correspondant
au son fondamental et aux harmoniques du diaphragme, et qui dépendent
de son élasticité, de sa forme et de sa structure
ceux-là sont nuisibles au point de vue de la transmission
nette de la musique et de la parole, car ils altèrent le
timbre, leurs harmoniques ne coïncidant que par le plus grand
des hasards avec ceux de la voix ou des instruments usuels.
» Pour mettre hors de doute l'existence et la superposition
de ces deux genres de mouvements, j'ai cherché à faire
prédominer les uns ou les autres à volonté
dans le même diaphragme. On y parvient à l'aide de
la disposition suivante que j'avais réalisée dès
1881, et que j'ai seulement simplifiée depuis.
- I. On place le diaphragme d'un téléphone
quelconque dans les conditions les plus favorables pour qu'il puisse
vibrer transversalement sans obstacle, et de façon à
laisser se produire facilement la division en lignes nodales correspondant
à un son donné bien déterminé. Pour
cela, au lieu d'encastrer le diaphragme sur ses bords, comme on
le fait ordinairement, on le pose simplement aussi près que
possible du pôle de l'électro-aimant sur un nombre
de points suffisants d'une ligne nodale.
» Si c'est un diaphragme rectangulaire, on le pose sur deux
appuis rectilignes coïncidant avec les deux lignes nodales
du son fondamental. » Si c'est un diaphragme circulaire, on
perce trois ouvertures de 2mm à 3mm (le diamètre sur
les sommets d'un triangle équilatéral inscrit dans
la circonférence qui constitue la ligne nodale du premier
harmonique, et l'on pose le disque sur trois pointes en liège
disposées de la même manière sur un plateau
fixe et pénétrant dans les ouvertures.
» Cela étant, faisons passer dans la bobine de l'appareil
une série de courants d'intensité très faible,
de période graduellement décroissante, par exemple,
provenant de l'émission de sons musicaux devant un transmetteur
quelconque téléphonique ou radiophonique. Alors le
récepteur téléphonique, modifié comme
il est dit ci-dessus, ne vibre, d'une manière appréciable,
que sous l'action des courants dont la période est égale
à celle du son correspondant à la nodale sur laquelle
repose le diaphragme, son que j'appellerai particulier ou spécial
il ne reproduit plus une série continue de sons de hauteur
graduellement croissante, indifféremment et avec la même
intensité, comme le téléphone ordinaire; il
n'en reproduit énergiquement qu'un seul; il n'est plus pantéléphonique,
il est monotéléphonique on peut donc l'appeler
monotéléphone.
» Ce résultat n'est pas absolu. En réalité,
le diaphragme fait entendre quelques sous-harmoniques du son spécial
correspondant à la ligne nodale fixée mais leur intensité
est relativement très faible. De plus, le diaphragme reproduit
des sons de période un peu inférieure ou supérieure
à celle du son spécial, mais l'intervalle extrême
entre ces sons est assez petit et n'excède généralement
pas un ou deux commas.
» Ces réserves sont de la même nature que celles
qu'on doit faire au sujet des résonateurs en Acoustique.
Du reste, le rôle d'analyseur que le monotéléphone
joue par rapport à ce qu'on peut appeler les ondes électromagnétiques
est analogue à celui que joue un résonateur par rapport
aux ondes sonores si on leur communique en effet une série
d'ondes successives ou simultanées de périodes différentes,
chacun d'eux choisit en quelque sorte celle du son spécial
qui correspond à sa forme géométrique et aux
conditions dans lesquelles il est placé, et la renforce énergi-
quement. » Le monotéléphone peut donc s'appeler
aussi bien résonateur électromagnétique.
- II. Dans le dispositif qu'on vient de décrire, les
mouvements transversaux prédominent, et il est aisé
de voir l'effet qu'ils peuvent avoir dans un téléphone
ordinaire car si l'on essaye de faire reproduire par un monotéléphone
la parole articulée émise dans un transmetteur, ou
bien on n'entend à peu près rien si le son spécial
de l'appareil est hors de l'échelle où se meut la
voix humaine (de l'ut2 à l'ut4), ou bien, dans le cas contraire,
on n'entend que des sons d'un timbre modifié et des articulations
émoussées, le tout noyé en quelque sorte dans
la sonorité du son spécial, toutes les fois qu'il
se fait entendre.
» Mais il est très facile de produire l'effet inverse,
de faire prédominer les mouvements moléculaires de
résonance sur les transversaux, de rendre au monotéléphone
le rôle pantéléphonique, de lui faire reproduire
tous les sons avec la même intensité et la parole articulée
avec netteté.
» Il suffit, pour cela, de mettre obstacle aux vibrations
transversales d'ensemble, en fixant légèrement les
bords ou plusieurs points du diaphragme, par exemple en y appuyant
convenablement les doigts.
» Le moyen le plus simple de faire l'expérience est
le suivant. On reçoit dans le monotéléphone
des sons différents successifs ou simultanés parmi
lesquels se trouve le son spécial, ou des paroles articulées
à peu près à la hauteur de ce son. On approche
l'oreille du diaphragme tant qu'elle en est à une certaine
distance ou qu'elle l'effleure tout au plus, on entend seulement
le son spécial mais, si l'on appuie de plus en plus l'oreille
sur le diaphragme, le son spécial s'affaiblit peu à
peu, et l'on finit par entendre tous les sons avec une égale
intensité, ainsi que la parole articulée sans altération
sensible du timbre. Par cette seule opération très
simple on a rendu aux mouvements de résonance la prédominance
sur les transversaux et à l'appareil la propriété
pantéléphonique que possède le téléphone
ordinaire à diaphragme encastré.
» Dans une Communication ultérieure, je reviendrai
sur la construction du résonateur électromagnétique
et sur ses applications. » |
sommaire
1881 LE RADIOPHONE
Dans ces travaux avant d'aboutir à
son télégraphe multiplex en 1902, vers 1880 Mercadier avait
poursuivi les travaux de Bell sur le photophone.
On sort de la téléphonie classique, mais l'objectif est
toujours de transporter la parole par d'autres moyens que le fil métallique.
La radiophonie a eu pour point de départ une modification, sous
l'influence de la lumière, des conditions électriques d'une
plaque de sélénium traversée par un courant électrique,
modifications qui résultaient de changements survenant dans la
résistance électrique de cette substance et qui se traduisaient
par des sons dans le téléphone quand l'action lumineuse
était intermittente; mais les expériences qui suivirent
ces premiers résultats; montrèrent que le phénomène
n'était pas aussi isolé qu'on aurait pu le croire et qu'il
était une propriété générale des corps
impressionnés par la lumière; on a pu même constater
que les effets lumineux n'étaient pas seuls à intervenir
dans ce genre de phénomènes, que les effets calorifiques
étaient même le principal agent, et on s'est trouvé
conduit à changer le nom de photophones,
que M. Bcll avait donné dans l'origine à ses premiers appareils,
en celui de radiophones, qui se rapportait mieux à tous les effets
observés .
Les travaux de M. Mercadier sur la radio peuvent être divisés
en deux parties;
l'une, qui se rapporte aux phénomènes résultant de
l'action directe des rayons luminettx sur tous les corps,
l'autre, aux effets produits par les rayons lumineux sur certains corps
dont la conductibililé électrique se trouve impressionnée
par l'action de la lumière et qui, par conséquent, pour
être appréciés, exigent l'intervention d'un courant
électrique et d'un téléphone.
Sons produtts sous l'influence dircetc des rayon lumineux
Les sons produits sous l'influence directe des rayons lumineux étant
le résultat d'une propriété générale
de la matière, nous commencerons par. passer
en revue les études qui s'y rapportent.
Les premières recherches qu'on a dû faire devaient naturellement
se rapporter aux moyens de rendre les effets produits plus intenses en
perfectionnant les appareils employés pour les faire naitre.
On a d'abord substitué à la roue métallique percée
d'une seule rangée de trous dans le voisinagede sa circonfénence,
une roue de verre recouverte des deux côtés de sa surface
de deux disques de papier noirci, présentant plusieurs rangées
concentriques de trous, ce qui, tout en lui donnant plus de légèreté
et en empêchant les sons de Siréne qui sont la conséquence
de déplacements rapides de surfaces trouées au sein d'un
milieu gazeux, permettait d'étudier les effets produits avec des
intermittences lumineuses plus ou moins espacées et susceptibles,
par des obturations faites convenablement, de
fournir des combinaisons de sons plus ou moins complexes.

Premier dispositif combiné par M. Mercadier.
La roue, comme on le voit, est mobile autour d'un axe horizontal a fixé
un montant vertical m susceptihle de glisser entre deux autres montants
en bois E, F solidement vissés au support général
de l'appareil. Le mouvement de glissement vertical alternatif s'opère
à l'aide d'un levier coudé en fonte NL fixé en a'
au montant mobile et articulé en a". En opérant ce
mouvement très simple, on peut, sans troubler le mouvement de rotation
de la roue, faire passer le faisceau radiant S successivement à
travers les quatre séries d'ouvertures représentées
sur la figure, de façon il produire les sons successifs d'un
accord parfait; car les séries contiennent 40, 50, 60 et 80 ouvertures,
nombres qui sont entre eux dans les rnpports des nombres de vibrations
constituant un accord parfait majeur. Quand on ne touche pas au levier,
le faisceau S peut passer, si l'on veut, travers les quatre séries
à la fois et produire l'accord' parfait plaqué. Dans ces
appareils, les ouvertures avaient environ 8 millimètres et étaient
au nombre de 80 dans la rangée du haut;
la roue elle-même avait un diamètre de. 44 centimètres.
On la mettait en mouvement il l'aide d'une petite poulie et d'une courroie
Lb actionnée par un moteur quelconque. Elle pouvait aisément
effectuer 20 tours par seconde, mais on pouvait aller plus loin sans inconvénient,
et, en tous cas, on pouvait obtenir facilement des sons correspondant
à 1 600 interruptions du faisceau lumineux par seconde, c'est-à-dire
il 1 600 vibrations doubles par seconde, ce qui donne des sons relativement
assez aigus.
Dans ces conditions, on pouvait avoir, en donnant à la roue des
vitesses graduellement croissantes, une série continue de sons
depuis les plus graves que l'oreille puisse percevoir, le long d'une échelle
de 4 à 5 octaves au moins, ou bien des accords dont le son fondamental
peut être l'un quelconque des sons de cette échelle.
La seconde partie de l'appareil consiste dans ce qu'on peut appeler le
récepteurs, qui est formé de la lame qui reçoit les
radiations intermittentes et de son support.
C'est lui qui est représenté en 0 dans la seconde figure
avec le tube de caoutchouc et l'embouchure téléphonique
qui le termine, et nous en donnons la coupe. La lame en expérience
L repose sur une portée ménagée à l'intérieur
d'une sorte de cornet acoustique abcd sans y être fixée.
Le cornet est en bois et formé de deux parties; la seconde, eif,
entre à frottement à l'intérieur de la première,
et vient presser la lame L pour la maintenir relativement fixe; elle se
termine par une embouchure f il laquelle on peut adapter le tube de caoutchouc
et l'embouchure auriculaire.
Lc cornet, peut être maintenu a la main devant le disque tournant,
ou mieux est soutenu par un support en forme de fourche que l'on aperçoit
sur la figure, et qui permet de disposer des deux mains pour porter l'embouchure
C à l'oreille et pour faire varier la position du disque tournant.
M. Mcrcadier a remarqué qu'il .n'était pas besoin de fixer
d'une manière rigide la lame réceptrice et qu'on pouvait
la séparer du support avec des rondelles élastiques sans
que les phénomènes radiophoniques en fussent altérés.
Cette remarque avait son importance, car cette disposition devenait indispensable
avec des lames minces et fragiles. Ces lames d'ailleurs pouvaient avoir
des dimensions plus petites que le cornet, et on les adaptait alors dans
des disques de liège, comme on le fait pour les lames cristallines
dans les expériences d'optique.
Malgré sa simplicité l'appareil précédent
laissait beaucoup à désirer, et M. Marcadier a du combiner,
conjointement avec M..1. Duboscq, un nouveau modèle que nous représentons
figures 50 et qui est cette fois un véritable appareil de physique.
Dans ce nouveau modèle, la roue de verre est fixe sur son support,
et les trous découpés dans les disques de papier noirci
qui la recouvrent, échappent aux rayons lumineux projetés,
au moyen d'obturaleurs t, t que l'on aperçoit entre les deux montanls
et que l'on manoeuvre à l'aide d'un commutateurà clavier
C.
Le récepteur R est adapté sur un support spécial
S en avant de la roue, et consiste dans un tube de verre à l'intérieur
duquel se trouve une lame de mica enfumée, et qui est montre dans
une garniture à laquelle correspond un tube acoustique T.

Ce récepteur peut du reste être remplacé par un autre
a Sélénium que nous représentons figure ci dessus
et que nous décrirons plus tard.
Enfin derrière la roue, se trouve un autre support circulaire 0
dans lequel on adapte, soit une lentille bi-convexe, quand on veut concentrer
le faisceau à travers les ouvertures d'une seule rangée,
soit une lentille cylindrique U,.quand on veut faire passer simultanément
le faisceau il travers les trous des
différentes rangées, suivant une ligne droite verticale.
Les différentes expériences entreprises par M. Mercadier
l'ont conduit aux déduction suivantes .
1° En ce qui concerne les divers récepteurs
« La radiophonie ne parait pas être un effet produit par la
masse de la lame réceptrice vibrant transversalement dans son ensemble,
comme une plaque vibrante ordinaire.
« La nature des molécules du récepteur et leur mode
d'agrégation ne paraissent pas exercer sur la production des sons
un rôle prédominant.
« Le phénomène radiophonique semble résulter
principalemcnt d'une action exercée il la surface du récepteur,
et il est très amplifié quand cette surface est recouverte
de substances telles que le noir de fumée., le noir de platine,
etc.
2° En ce qui concerne l'influence de la source radiante
« Les sons radiophoniques résultent bien de l'action directe
des radiations sur les récepteurs.
« Les sons radiophonique sont produits principalement par des radiations
de grande longueur d'onde dites calorifiques.
3 ° En ce qui concerne le siège et le mécanisme. du
phénomène
« Le milieu où se produit la vibration radiophonique est
bien la couche d'air en contact avec les parois du récepteur.
« La couche d'air condensée sur les parois des récepteurs,
surtoutquand ils sont enfnmés ou recouverts d'une substance très
absorbante pour la chaleur, est alternativement chauffée et refroidie
par les radiations intermittentes, et il en résulte des dilatations
et contractions périodiques et régulières; d'où
un mouvement vibratoire communiqué aux couches gazeuses voisines
qui, d'ailleurs, peuvent vibrer directement sous la même influence.
4° En ce qui concerne l'influence du milieu au sein duquel se produisent
les vibrations radiophoniques
« Les sons radiophoniques ne peuvent se produire que quand le milieu
qui entoure les surfaces impressionnées est aériforme.
En conséquence un milieu liquide et même solide ne peut les
produire; mais un milieu gazeux au sein duquel se trouvent des vapeurs,
et en particulier
les vapeurs d'ammoniaque et d'élher, les développe d'une
manière remarquable, et ce sont les vapeurs qui ont le pouvoir
thermique le plus absorbant qui donnent les effets les plus considérables.
P
M. Mercadier, dans son article du 51 août 1881 de la Lumière
électrique (page 278), insiste, malgré les assertions de
M. Bell, sur l'impossibilité dans laquelle seraient les corps solides
de vibrer sous l'influence de la lumière.
Leur rôle, suivant lui, ne serait que de condenser les gaz et d'absorber
les radiations, principalement les radiations thermiques plus cette condensation
et cette absorption seraient considérables, plus les sons reproduits
seraient énergiques, et c'est ce qui expliquerait pourquoi les
corps mous, spongieux et de couleur foncée, irnprcssionnés
par les rayons lumineux, donneraient les résultats les plus importants.
Nous allons maintenant passer en revue les différentes expériences
de M. Mercadier qui l'ont conduit aux déductions que nous venons
de formuler.
Démonstration des Lois de la Radiophonie.
pour démontrer que les sons produits par un radioplrone en action
directe ne sont pas le résultat d'un effet produit par la masse
de la lame réceptrice vibrant transversalement dans son ensemble,
comme une plaque vibrante ordinaire, li. Mercadier montre que cette lame
reproduit également bien tous les sons successifs depuis les plus
graves jusqu'aux plus aigus; qu'elle reproduit dans les mêmes conditions
des accords dans tous les tons possibles en faisant varier d'une manière
continue la vitesse de la roue interruptrice; enfin qu'on peut faire varier
l'épaisseur et la largeur des lames sans changer
la hauteur et le timbre des sons produits. Or tous ces effets sont inconciliables
avec l'idée d'une lame vibrant transversalement. D'un autre côté,
il montre que l'intensité des sons produits par le radiophone avec
des lames opaques varic avec leur épaisseur, et qu'elle est d'autantpl
us grande que les lamés sont plus minces; ce sont des feuilles
de clinquant qui donnent les meilleurs résultats. Quand les lames
sont transparentes il n'en est plus ainsi, et l'épaissein, ne parait
pas exercer d'influence, du moins entre des limites de 0,5 à 5
centimètres mais ce qui démontre le plus que les vibrations
produites sont indépendantes de celles qui sont propresà
la lame, c'est que les lames radiophoniques peuvent être fendues,
fêlées, sans que les sons émis par elles en soient
altérés sensiblement.
Pour démontrer que la nature des molécules du récepteur
radiophonique et leur mode d'agrégation n'exercent pas sur la production
des sons produits un rôle prédominant, M. Mercadier fait
voir
1° qu'à épaisseurs et surfaces égales, les lames,
de quelque nature qu'elles soient, produisent des sons de même hauteur
et de même timbre
2° que l'effet produit par les radiations ordinaires ou polarisées
est, toutes choses égales d'ailleurs, à peu près
le même pour des substances transparentes aussi différentes
que le verre, le mica, le spath d'Islande, le gypse, le quartz taillé
parallèlement ou perpendiculairement a l'axe.
La démonstration du principe posé par M. Mercadier, que
les effets radiophoniques résultent principalement d'une action
exercée à la surface des lames, a mis au jour plusieurs
conséquences importantes sur lesquelles nous devons particulièrement
insister. On reconnait d'abord que l'intensité des sons produits
est essentiellement liée il la nature de cette surface, et que
toute opération qui a pour effet de diminuer le pouvoir réflecteur
et d'augmenter le pouvoir absorbant, influe sur le phénomène.
C'est ainsi que des surfaces rayées, dèpolies, ternes ou
oxydées donnent des sons très accentués alors que
quand elles sont brillantes elles restent à peu près inertes;
mais c'est surtout quand on dépose sur ces surfaces des couches
minces de certaines substances susceptibles d'absorber plus ou moins les
radiations que les effets sont les plus curieux et les plus caractérisés.
Si ces substances ainsi déposées sont très peu absorbantes,
telles que la céruse, le blanc de zinc, le jaune de chrome, le
rouge de Saturne, les sons ne peuvent être produils; tandis qu'au
contraire ils deviennent très intenses quand ces substances absorbent
beaucoup ces radiations, comme le bitume de Judée, l'encre de Chine,
le noir de platine, et principalement le noir de fumée.
Mais il faut pour cela que ces couches absorbanles soient exposées
devant les rayons lumineux, du moins quand les lames sont métalliques
ou opaques, et que les lames soient très minces. Quand les lames
sont transparentes, la couche absorbante peut être placée
devant les rayons- lumineux ou en sens contraire sans que les sous cessent
de se faire enténdre; mais quand elle reçoit la lumière
par transparence, l'épaisseur de la lame n'exerce aucune influence,
tandis que quand elle y est directement exposée, il faut que, comme
pour les lames opaques, la lame soit très mince, de millimètre.
Cette propriété a permis à M. Mercadier d'établir
des récepteurs radiophoniques sensibles en enfumant tout simplement
des tubes de verre à l'intérieur. Toutefois les meilleurs
effets sont produits par des lames minces de mica enfumées du côté
opposé à la source lumineuse.
Cette influence de la surface enfumée d'un récepteur sur
la production des sons se manifeste de la façon la plus curieuse
sur les substances qui, par elles-mêmes, présentent peu de
consistance et d'élasticité, telles que le papier mince
et le drap. Quand elles sont enfumées,elles fournissent des sons
radiophoniques à peu près égaux à ceux produits
par des lames rigides.
L'influence de la source radiante sur les sons produits dans le radiophone
a été facilement mise en évidence par M. Mercadier,
en diminuant graduellement l'intensité du phénomène
par le rétrécissement de l'ouverture par laquelle les rayons
lumineux étaient introduits, ou en employant de la lumière
polarisée et en provoquant physiquement des extinctions de lumière
par la rotation du plan de polarisation, la lame radiophonique représentant
alors l'analyseur. M. Mercadier a d'ailleurs pu s'assurer que l'on pouvait
obtenir les sons radiophoniques avec d'autres lumières que la lumière
solaire, en
employant des lentilles de concentration, et que la lumière Drummond,
celle du platine incandescent et même celle d'un bec de gaz pouvaient
donner des résultats satisfaisants qui ne présentaient d'ailleurs
aucun caractère propre à l'une ou à l'autre, mais
qui exigeaient des dispositifs particuliers dont nous représentons
un spécimen .
Pour déterminer la cause des sons produits dans le radiophonie
à réaction directe, M. Mercadier a dû d'abord étudier
quelles sont celles des radiations lumineuses qui les déterminent,
en second lieu quelle est la substance dans laquelle se produit la transformation,
et en troisième lieu quel peut être le mécanisme de
la transformation.
En projetant le faisceau de rayons lumineux destiné à agir
sur le radiophone sur un prisme, et en exposant successivement le radiophone
à l'action des différents rayons dispersés, on a
pu s'assurer que les effets radiophoniques étaient produits principalement
par les radiations rouges et infra-rouges, c'est-à-dire les radiations
grande longueur d'onde ou calorifiques. Nous représentons plus
loin le dispositif employé pour cette expérience, qui du
reste est un peu analogue celui employé par M. Bell. On a pu conclure
de ces expériences que c'était un effet thermique qui était
alors en jeu, et pour mettre
ce fait hors de doute on a cherché a obtenir le. phénomène
en employant des radiations complètemcnt invisibles, telles que
celles résultant d'une plaque métallique échauffée
par la flamme d'un chalumeau il gaz comme on le voit dans cette figure
.

Quand ce disque est écliaûffé au rouge sombre, on
entend parfaitement les sons radiophoniques résultant des interruptions
de ces radiations, et
ces sons s'entendent encore quand le disque n'est plus rouge du tout.
Il s'agissait maintenant de reconnaître où était le
siège de la vibration produisant les sons; était-ce la surface
cle la lame du récepteur radiophonique ou la couche d'air en contact
avec cette surface ?.
Pour résoudre cette question M. Nercadier a combiné plusieurs
dispositifsque nous représentons ici .
Dans l'un, (figure ci dessus à gauche) , le récepteur radiophonique
est constitué par un tube de verre T bouché ou non à
sa partie inférieure et communiquant par l'autre extrémité
avec un petit cornet acoustique C par l'intermédiaired'un tube
en caoutchouc aussi court que possible. La partie intérieure du
haut du tube est enfumée en a sur une moitié seulement,
ou simplement recouverte de papier enfumé, et on peut échelonner
les unes au-dessous des autres plusieurs surfaces enfumées de ce
genre b, c, constituées avec différentes matières.
Si l'ou projette sur la partie découverte d du tube les rayons
intermittents, on entend, il est vrai, quelques sons qui sont très
faibles; mais si l'on présente la partie enfumées b la radiation
de façon qu'elle traverse d'abord la portion transparente du tube,
les sons produits deviennent très intenses par suite de l'absorption
par cette substance de la chaleur rayonnante, et on reconnaît, en
faisant agir successivement les radiations sur les surfaces enfumées
a et c, que les sons varient très peu et sont par conséquent
indépendants de la nature des surfaces sur lesquelles est déposé
le noir de fumée: toutefois leur intensité est en rapport,
jusqu'à une certaine limite, avec l'épaisseur de la couche
de noir de fumée.

Les effets sont à peu près les mêmes quand les surfaces
enfumées sont adaptées extérieurement au tube, et
on peut s'en convaincre facilement si l'on introduit le tube précédent
sur lequel on aura appliqué, comme dans la figure ci dessus, les
surfaces enfumées a et b intérieurement et extérieurement,
et si l'on introduit ce tube dans un autre tube plus grand communiquant
lui-même avec un tube acoustique. De cette manière, on a
deux tubes acoustiques A,B que l'on peut placer aux deux orcilles et en
projetant successivement les radiations sur a et b, on reconnaît
d'abord que les sons produits en a ne sont entendus que dans le tube acoustique
de gauche, et que les tons produits en ne sont entendus que dans le tube
de droite; en second lieu on reconnaît qu'ils sont à peu
près de même intensité.
Il n'est du reste pas besoin de coller sur le verre des surfaces enfumées
pour produire des sons intenses, toute substance susceptible de condenser
l'air à sa surface et d'absorber la chaleur produit des sons accentués.
Ainsi il suffit d'introduire dans les tubes des morceaux de fusain, de
bois, de drap, etc., pour les obtenir, et M. Mercadier, conclut de ces
diverses expériences que c'est l'air qui est en contact avec ces
surfaces absorbantes des radiations thermiques, qui vibre et qui détermine
les sons.
Le meilleur récepteur radiophonique qu'a construit M. Mercadier
est représenté figure 67; il se compose d'un tube en verre
mince de 0"006 environ de diamètre, contenant une petite plaque
de mica ou de clinquant de cuivre enfumée. La sensibilité
de ces appareils est telle, que sous l'influence de la lumière
électrique on peut obtenir des sons qui, avec un porte-voix substitué
à l'embouchure acoustique, peuvent être entendus à
8 ou 10 mètres dans une salle silencieuse. Avec de la lumière
oxhydrique, on peut les entendre à 1 ou 2 mètres.
Cet appareil peut même produire des sons sous l'influence seule
d'une plaque éclrauffée à 300° avec l'appareil
disposé comme l'indique la figure (en noir et au milieu).
D'après ces données, il était facile de conclure
que le mécanisme de la transformation des radiations thermiques
en ondes sonores réside entièrement dans ce fait que la
couche d'air condensée sur les parois des récepteurs, surtout
quand ils sont enfumés ou recouverts d'une substance très
absorbante pour la chaleur, est, sous l'influence des radiations intermittentes,
alternativement échauffée et refroidie, et il en résulte
des dilatations et des condensations périodiques constituant un
mouvement vibratoire communiqué aux couches d'air voisines qui,
d'ailleurs, peuvent vibrer sous la même influence. M. Mercadier
le démontre d'ailleurs d'une manière très ingénieuse
par l'expérience suivante.
On prend un long tube de verre T, dans lequel peut se mouvoir un piston
P à l'aide d'une tige. A l'extrémité du tube, on
place, à l'intérieur, un morceau de mica enfumé a;
on laisse cette extrémité ouverte ou bien on la bouche avec
une lame de verre ou de mica en b, et l'on y ajuste, par l'intermédiaire
d'un tube en caoutchouc ou en métal, un cornet acoustique C.
On fait tomber en a le faisceau radiant intermittent S, on place le piston
en a et on écoute en C. On entend un son comme dans les récepteurs
beaucoup plus courts. On maintient constante la vitesse de la roue interruptrice
et par suite la hauteur du son produit. En retirant alors graduellement
le piston, l'intensité du son éprouve des variations périodiques
qui vont jusqu'à l'extinction en des points N, N' avec des maxima
en V. On obtient donc ainsi des nuds et des ventres, absolument
comme dans un tuyau sonore qui serait percé d'une ouverture dans
le plan a par laquelle arriverait un courant d'air.
Si l'on change la vitesse de la roue interruptrice, en la maintenant constante
quand elle a atteint une nouvelle valeur, on reproduit la même expérience.
La distance seule entre deux noeuds consécutifs N, N' change. «
On a donc bien là, dit M. Mercadier, un tuyau sonore susceptible
de rendre tous les sous qu'on peut produire en changeant la vitesse de
la roue interruptrice, c'est-à-dire la période d'intermittences
de la radiation thermique, cause déterminante des vibrations. »
Après avoir ainsi indiqué le mécanisme en vertu duquel
l'énergie radiante thermique est transformée en énergie
sonore dans des récepteurs à air, M. Mercadier, devait naturellement
passer à l'étude des autres gaz, vapeurs et liquides qui
pouvaient faire partie intégrante d'un récepteur radiophonique,et
pour y arriver, il combina le dispositif représenté figure
de droite en noir. C'est un simple tube radiophonique bouché, analogue
il ceux dont il a été question précédemment,
et dans lequel on introduit en a les liquides que l'on veut étudier
ou les vapeurs de ces liquides, vapeurs que l'on obtient directement en
chauffant le tube au moyen d'une lampe à alcool. On projette sur
ce tube les rayons intermittents, et on écoute dans le cornet acoustique.
En expérimentant alors avec de l'eau. de l'ammoniaque, de l'éther,
etc., on constate les résultats suivants
1° Quand les radiations sont projetées sur la couche liquide,
on n'entend aucun son mais si ces radiations sont projetées au-dessus
de la colonne liquide, les sons commencent à se faire entendre
et ils deviennent très intenses quand la radiation tombe sur la
surface enfumée.
2° Quand on chauffe le liquide, la vapeur sature de plus en plus l'air
qui se trouve renfermé dans le tube, l'intensilé des sons
augmente successivement.
Avec l'éther et l'ammoniaque, les mêmes effets se manifestent,mais
les sons sont encore plus intenses, et ils sont maxima avec la vapeur
d'ammoniaque.
4° Conformément aux expériences de M. Tyndall, les sons
produits sous l'influence d'un milieu occupé par dcs vapeurs, sont
d'autant plus intenses que les vapeurs ont un plus grand pouvoir absorbant
thermique, et ce sont les vapeurs d'éther sulfurique et acétique,
de cyanure d'élhyle et d'acide acétique qui donnent les
sons les plus intenses.
5° Les gaz qui déterminent les sons les plus intenses sont
ceux qui absorbent le mieux la chaleur rayonnante tels que le protoxyde
d'azote, le bicarbure d'hydrogène, l'acide carbonique; l'oxygène
et l'hydrogène donnent des sons très faibles.
Dans toutes les expériences qui précèdent, les sons
étaient produits par des rayons lumineux intermittents et on n'avait
pas essayé de reproduire la parole dans les conditions de la radiophonie
directe. M. Mercadier,. sans avoir eu connaissance des travaux de M. Bell
dans cette nouvelle voie, avait cherché à résoudre
le probléme, et dans plusieurs notes envoyées à l'Académie
des sciences depuis le 9 mai 1881, il indique qu'il a obtenu ce résultat
en projetant sur son tube radiophonique à lame de mica enfumée
un faisceau de rayons lumineux réfléchi par un transmetteur
photophonique à lame de
verre argentée très mince, analogue à ceux employés
par M. Bell pour ses appareils il sélénium.

Cet appareil, dont nous indiquons le dispositif figure ci dessus, présentait
cependant une disposition particulière en ce sens que, pour protéger
la lame de verre très mince P contre l'action directe de la voix,
M. Mercadier avait placé en avant et immédiatement contre
l'embouchure téléplionique une
lame mince de mica p, et la parole y était transmise par l'intermédiaire
d'un cornet acoustique T. Les rayons réfléchis par ce transmetteur
étaient ensuite concentrés sur la surface noircie du tube
radiophonique au moyen d'une lentille, comme on le voit sur cette figure
.

Il put obtenir ainsi la reproductionde la parole il une distance de 20
mètres et en faisant passer les rayons solaires projetés
à travers deux portes vitrées.
M. Mercadier a voulu aussi ohtenir. le même résultat avec
des lumières moins intenses que la lumière solaire, mais
il a dit nécessairement rapprocher les appareils transmetteur et
récepteur., et pour que la personne occupée à entendre
ne pût être troublée par la transmission directe de
la parole, il faisait réagir la voix sur le transmetteur par l'intermédiaire
d'un très long tube acoustique, comme l'indique l'autre figure
; il a pu de cette manière transmettre la parole avec de la lumière
oxhydrique ou de la lumière électrique placée en
S, le transmetteur étant en T, et le récepteur en tns. Il
donne du reste tous les détails du mode d'expérimentationdans
deux articles intéressants publiés dans le journal la Lumière
électrique du 20 mai et du 11 juin 1881. Nous verrons plus tard
que M. Mercadier a pu faire une application pratique de ce mode de transmission
téléphonique.
II. Sons produits sous l'influence de variations de conductibilité
électrique de certaines substance soumises à l'action de
rayons lumineux intermittents.
Les recherches de M. Mercadier sur cette question ont eu principalement
pour but de démontrer que l'action des rayons lumineux agissant
sur le sélénium ou autres substances sensibles a la lumière,
faisant partie d'un circuit électro-téléphonique,est
une action propre à la lumière et non une action thermique.
C'est ce que M. Bell avait avancé dans son premier mémoire
et ce qui l'avait conduit il donner son appareil le nom de photophonc.
Mais, bien qu'il ait démontré cette action par certaines
expériences, entre autres celle dans laquelle il faisait traverser
une solution d'alun par un faisceau de rayons lumineux intermittents sans
diminuer l'énergie des sons produits, beaucoup de savants doutaient
encore de la réalité de cette action, et ce n'est qu'à
la suite des expériences de M. Mercadier que la question s'est
trouvée complétement élucidée.
Pour obtenir des résultats hien concluants, M. Mercadier, a dit
perfectionner les dispositifs photoplioniques comme il l'avait déjà
fait pour les appareils de radiophonie, et il s'est surtout attaché
au récepteur de sélénium, auquel il a donné
une disposition tout il fait nouvelle et l,'une construction facile.
LE TÉLÉRADIOPHONE MULTIPLE
AUTORÉVERSIBLE

« Nous prenons, dit-il, deux rubans
de laiton très minces de millimètre environ 1 dixième
de milimètre, dont l'un est représenté, par un trait
plein, l'autre par un trai tpointillé. Nous les séparons
par deux rubans de même largeur d'environ lm"15 d'épaisseur
en papier parchemin qui sert d'isolant et qui peut être considéré
comme représenté sur les figures par l'intervalle blanc
qui existe entre les deux traits. L'ensemble des quatre rubans est. enroulé
en spirale aussi serrée que possible, et le bloc ainsi formé
est pris entre deux lames de laiton c et d, épaisses de 1 millimètre,
qui communiquent avec les deux extrémités b' et a' des rubans
métalliques. Le tout est serré aussi fortcmcnt que possible
entre deux morceaux de bois dur ou de laiton reliés l'un à
l'autre par deux longues vis ou deux tiges il écrous M, N isolées.
Deux boutons A et B communiquent avec les lames c et d, et par suite avec
les bouts des rubans métalliques qui forment, l'un les spires d'ordre
pair, et l'autre les spires d'ordre impair. L'appareil est représenté
en perspective, où V, V désignent les tiges à écrous,
et B, B' les bornes d'attaclie des fils.
« Le bloc ainsi serré peut être, sans aucune difficulté,
limé sur ses deux faces, d'abord grossièrement, puis de
plus en plus finement, et enfin poli au papier d'émeri, sans crainte
qu'il reste des limailles de cuivre établissant la communication
métallique entre les spires. En fait, il v a toujours une communication
très faible entre les spires par le papier parchemin, qui n'est
pas un isolant parfait, mais elle est si faible qu'clle est sans inconvénient
et évite l'opération du paraffinage du papier qui compliquerait
un peu la construction de ces appareils et qui aurait d'ailleurs, pour
l'opération subséquente, des inconvénients particuliers.
« Après avoir ainsi poli le bloc et constaté avec
un galvanomètre sensible l'absence de communications métalliques,
on recouvre l'une des surfaces ou toutes les deux de sélénium
de la manière suivante . On chauffe l'appareil dans un bain de
sable ou en le posant à plat sur une plaque épaisse de cuivre
chauffée par la flamme d'un bec de Bunsen, jusqu'au moment précis
où un crayon de sélénium appuyé dessus commence
à fondre. On proméne alors le crayon le long de la surface,
de façon à la recouvrir d'une couche aussi mince que possible.
En ne laissant pas la température s'élever au-dessus de
ce point, le sélénium prend la teinte ardoisée qui
caractérise l'état on il est le plus sensible à la
lumière, et en laissant refroidir lentement l'appareil, il est
inutile de le recuire, et il est prêt à fonctionner.
Pour préserver les surfaces séléniées, on
peut ensuite sans inconvénient les recouvrir, soit d'une lame mince
de mica, soit même d'une couche de vernis à la gomme à
laque déposée à chaud.
On peut faire ainsi des récepteurs excellents ayant leur petite
largeur variant de 5 à 6 millimètres à 20 millimètres
au plus, et on peut leur donner des résistances très variables
en ne séléniant qu'une portion de la surface ou en la recouvrant
d'abord tout entière et enlevant ensuite le sélénium
par fragments. On peut avoir de cette manière des appareils dont
la résistance varie de 1200 à 200 000 ohms, qui fonctionnent
plus ou moins bien suivant les conditions du circuit où ils se
trouvent, mais qui produisent tous des sons très nets,
« II en résulte les conséquences suivantes. D'abord,
on peut, avec des appareils qui peuvent être aussi résistants,
sans diminuer sensiblement le courant de la pile el les effets produits,
placer dans le même circuit plusieurs téléphones en
série ou en quantité et faire entendre les sons produits
à un certain nombre de personnes à la fois.
Ensuite, on peut réunir dans un même appareil, entre deux
morceaux de bois, plusieurs récepteurs étroits de façon
à pouvoir constituer des sortes de batteries radiophoniques dont
l'élément est un récepteur à sélénium,
et disposer ces éléments en série ou en quantité,
ce qui permet de faire varier la résistance de la batterie réceptrice
et de l'adapter le mieux possible à des conditions données
de circuit extérieur, de téléphone et de pile. ,
Je ferai remarquer en outre que si un appareil de ce genre vient à
être détérioré, il suffit de limer de nouveau
la surface et de la seténier.
« On peut .d'ailleurs construire des récepteurs avec d'autres
métaux que le laiton pour supporter la couche de sélénium.
Le cuivre rouge et le platine sont très bous; le fer, l'argent
et l'aluminium présentent des inconvénients.
Dernièrement . Mercadier, avec le coucours de M. Humblot, a rendu
encore plus simple la construction de ces récepteurs, en constituant
les électrodes avec des fils métalliques maintenus séparés
l'un de l'autre comme dans les chaines voltaïques de M. Pulver-Macher,
et enroullés sur une lame d'ébonite. En recouvrant cette
espèce d'enibobinement d'un enduit isolant et en le dénudant
ensuite à la lime, comme dans le système précédent,
on obtenait ainsi, d'une ma niére plus simple, le dispositif d'électrodes
multiplés apIpelé il transmettre le courant, et il ne s'agissait
plus que de le recouvrir de sélénium par le procédé
indiqué plus haut, pour en faire un très bon récepteur
radiophonique, qu'on renfermait dans une boite à coulisse BB.
Pour faire agir le faisceau lumineux intermittent sur le récepteur
photophonique que nous venons de décrire, il suffit, quand on ne
veut faire que de simples expériences phonétiques, de le
placer, il l'aide du support S, devant le disque perforé que nous
avons de manière que les rayons traversant les ouvertures suivant
la verticale, puissent frapper la surface séléniée
dans sa longueur.
Suivant M. Mercadier, on peut obtenir avec les dispositifs pliotophoniques
que nous venons de décrire, des sons, quelle que soit la lumière
employée, même la lumière diffuse, mais ils sont plus
faibles, toutes choses égales d'ailleurs, qu'avec les récepteurs
il action directe, et il faut, quand la source lumineuse est faible, rapprocher
autant que possible la roue interruptrice dcla source, et limiter le faisceau
lumineux au moyen d'une fente pour éviter les effets d'interférences
sur le récepteur,. L'emploi de ce dispositif simple augmente notablement
l'intensité des sons produits.
Le premier point qui était il éclaircir était de
reconnaître définitivement si c'étaient les rayons
thermiques ou lumineux qui agissaient sur la conductibilité du
séluium. M. Mercadier a fait, pour s'en assurer, agir successivement
sur le récepteur de sélénium les différents
rayons du spectre, en disposant l'expérience comme le montre cette
figure :
S est une source de radiations intenses telle qu'une lampe électrique
animée par 40 ou 50 éléments Bunsen.
Le système de lentilles L rend le faisceau radiant parailéle,
et ce faisceau est reçu sur une fente F de 5 à 4 millimètres
de largeur. Une lentille L' reçoit les radiations de manière
à donner une image nette de la fente sur un écran placé
à la distance où se trouvera la roue interruptrice. En sortant
de la lentille, les rayons sont dispersés par un prisme P, disposé
de manière avoir le minimum de déviation, et l'on obtient
un spectre de 55 à 40 millimètres de largeur (dans la partie
visible), sur un dia phragme DD percé il son centre d'une ouverture
porlant un cylindre dans lequel on peut faire glisser une lentille cylindrique
C. Le diaphragme est fisé au support de la roue interruptrice Il
placée derrière, et ce support est mobile sur deux rouleaux
n, n. Un second diaphragme t, percé d'une fente de 2 millimètres
de largeur, est placé en avant de la lentille cylindrique, et limite
ainsi la portion de spectre qui peut traverser cette lentille et les ouvertures
de la roue.
En faisant mouvoir le support de cette roue perpendiculairement à
la direction des rayons dispersés et dans la direction indiquée
par la Iléche, on voit que la lentille cylindrique C recevra successivement
les rayons diversenient colorés du spectre sur une largeur de 2
millimètres, et produira, dans chaque position sur le bord de la
roue, une bande étroite résultant de la concentration des
rayons qu'elle recueille, et on peut ainsi étudier l'effet des
diverses positions du spectre de deux en deux millimétres sur le
récepteur à sélénium fixé derrière
la roue sur le support.
En se plaçant dans l'obscurité pour éviter les effets
de la lumière diffuse, bien qu'ils soient très faibles,
M. Mercadier est arrivé à constater les résultats
suivants
1° Dans la partie ultra-violette, violette et indigo du spectre, le
récepteur ne manifeste aucun effet sensible.
2° On commence entendre vers la limite de l'indigobleu des sons dont
l'intensité augmente dans le bleu, le vert et le jaune, puis décroit
dans l'orangé et le rouge.
3° Les sons cessent généralement il la limite du rouge
visible, et le récelteur reste insensible atc delà de l'infrarouge.
4° Le maximuna d'effet se produits en tous cas dans la partiejaune
du spectre.
« Il en résulte nettement, dit M. licrcadier, que l'effet
radiophonique du sélénium est dû il des radiations
qui produisent sur l'oeil des effets lumineux, et qu'il est maximum dans
la partie la plus lumineuse du spectre.
Cette conclusion est confirmée par ce fait qu'en exposant un récepteur
à sélénium a des radiations obscures produites par
une plaque de cuivre chauffée au-dessous du rouge sombre, on n'a
pu obtenir aucuns sons. »
En substituant au sélénium, dans les expériences
précédentes, un récepteur radiophonique à
action directe, l'effet maximum, au contraire, se produit dans l'infrarouge,
et les rayons agissants s'étendent de l'orangé au delà
du rouge jusqu'à une limite qui peut arriver au tiers ou au quart
de la longueur du spectre visible. Les autres radiations, depuis le jaune
jusqu'à l'ultra-violet, ne produisent pas d'effet perceptible.
Ce sont donc bien, dans ce cas, les rayons thermiques seuls qui sont actifs.
Après avoir ainsi étudié les effets du sélénium,
M. Mercadier a voulu étudier ceux résultant du noir de fumée
employé comme conducteur d'un courant électro-téléphonique,
et il a fait construire un récepteur analogue à celui employé
par M. Bell et que nous avons déjéà représenté
mais il a eu plus d'avantages à employer le dispositif à
bandes métalliques enroulées qu'il avait combiné
pour ses récepteurs à sélénium et qu'on enfume
au lieu de les recouvrir d'une couche de sélénium. Le meilleur
moyeu pour y arriver est de faire agir la flamme fuligineuse destinée
à produire le dépôt carboné a travers une toile
métallique. En conservant à l'une des faces du récepteur
sa couverture de sélénium et en enfumant l'autre, on peut
comparer facilement l'intensité des effets produits par les deux
systèmes.
M. Mercadier commence par faire observer que dans ces conditions, les
différences d'effets que l'on constate ne sont pas dues à
des différencesde conductibilité du noir de fumée
et du sélénium, mais bien à ce que le courant, se
dérivant plus facilement il travers la couche de noir de fumée
qu'à travers celle de sélénium dont les conductibilités
sont dans le rapport de 6000/141 , doit donner des effets plus intenses.
L'action des différentes radiations spectrales sur la surface enfumée
de l'appareil ne parait pas être la même que sur la surface
séléniée. Ainsi, là où un récepteur
sélénié donne des sons aisément perceptibles,
le récepteur enfumé n'en donne souvent pas. Le récepteur
enfumé n'en donne pas encore dans la partie rouge et infra-rouge
du spectre, alors qu'un tube thermophonique également à
noir de fumée en donne d'assez intenses. Mais ce que M. Mercadier
a pu conclure, c'est que l'origine des sons dans les récepteurs
dont nous parlons actuellement n'est pas thermique, mais bien photophonique
ou actinophonique, et qu'on peut la considérer comme étant
la même que dans les récepteurs à sélénium.
En effet, un récepteur de noir de fumée étant exposé
aux radiations d'une plaque graduellement chauffée (avec un chalumeau
oxhydrique dans l'obscurité, ne produit des sons qu'au moment où
la plaque arrive au rouge sombre, et ces sons augmentent successivement
en intensité il mesure que l'incandescence se développe.
M. Mercadier fait d'ailleurs remarquer que la grandeur de l'espace éclairé
de ces sortes de récepteurs, pas plus que dans les photophones
et les thermophones, ne semble influer sensiblement sur l'intensité
des sons produits; d'un autre côté, tandis que le noir de
fumée ou l'éponge de platine peuvent constituer à
la fois des radiophones directs du genre thermique et des radiophones
indirects du genre photophonique, il n'en est pas de même de certaines
autres corps qui, appartenant à la première catégorie,
comme le bitume de Judée, ne fournissent pas les effets propres
à ceux de la seconde catégorie, ce qui pourrait tenir à
leur très grande résistance électrique.
Pour bien apprécier la nature des effets produits dans les radiophones
à sélénium ou à noir de fumée, il était
indispensable d'être définitivement fixé sur l'influence
exercée par la température extérieure sur les substances
sensibles de ces appareils, et M. Mercadier a fait à cet égard
des expériences qui paraissent être d'une grande exactitude.
Il a d'abord constaté qu'à des températures ordinaires
peu élevées, entre 10 et 20 degrés, il y a avec les
récepteurs à Sélénium une proportionnalité
assez exacte entre les variations de la température et la résistance
électrique des récepteurs, mais que cette résistance
varie d'un jour à l'autre et va pendant longtemps en augmentant
jusqu'à un certain degré où elle reste à peu
près stationnaire. La loi qui relie dans ces conditions la variation
de résistance à
celle de la température est celle que l'on retrouve dans beaucoup
de corps de conductibilité secondaire, notamment dans les minéraux
et les liquidcs; c'est-à-dire que la résislance varie en
raison inverse de la température, ou, ce qui revient au même,
que la conductibilité du récepteur varie dans le même
sens gue la température,. Ces variations de résistance sont
assez considérables, et M. Mercadier en a constaté qui atteignaient
de 1550 à 2000 ohms pour une variation de température de
1 degré.
Quand les températures présentent de grands écarts
de 0 à 40 ou 50 degrés par exemple, les expériences
sont plus délicates et exigent un dispositif particulier.
Celui qui a servi à M. Mercadier est une sorte d'étuve constituée
par une cuve de zinc MNOP (fig. ci dessus) traversée à son
centre par un tube de cuivre fermé B, dans lequel on place le récepteur
de sélénium R et un thermomètre t pour indiquer la
température, et la caisse est remplie d'eau E E'E" que l'on
peut amener à telle température que l'on désire,
et dans laquelle plonge un second thermomètre t' pour indiquer
cette température..
En remplissant d'abord de glace la cuve en question, puis la chauffant
graduellement jusqu'à une température de 46°, M. Mercadier
a constaté, comme précédemment, qu'avec des récepteurs
arrivés à l'état stable dont nous venons de parler,
les variations de résistance étaient approximativement proportionnelles
aux variations de température, du moins entre 5° et 55°.
Effectivement, en laissant refroidir graduellement jusqu'à 10°
le récepteur élevé à la température
de 56°, la résistance a varié de H 000 a 41 000 unités.
A des températures élevées les effets sont plus compliqués,
mais pour les constater il a fallu employer des récepteurs à
lames de platine et les introduire dans une étuve à sable
dont la température était mesurée avec un thermomètre
dont le réservoir touchait le récepteur. En maintenant pendant
trois heures un récepteur de ce genre à aune température
comprise entre 208" et 212°, et abaissont ensuite régulièrement
et lentement cette température jusqu'à 16°, on a observé
que la résistance du récepteur. qui au début était
de 575 ohms, a d'abord augmenté, atteignant vers 163°un maximum
de 490 ohms, puis elle a diminué et a présenté vers
125° un minimum d'environ 455 ohms. A partir de ce moment, elle a
augmenté jusqu'à 15°, où elle a atteint 3370
ohms. A partir de 35 à 36°, la variation pouvait être
regardée comme régulière et conforme à ce
qui se passe a de basses températures.
Ces effets particuliers, qui avaient du reste été déjà
observés par M. Siemens, tiennent probablement à une modification
allotropique du sélénium.
L'influence des variations de la température sur les récepteurs
téléphoniques à noir de fumée est à
peu près la méme, à des températures peu élevées,
que sur les récepteurs à sélénium. La diminution
de résistance est en moyenne environ un dixième d'ohm par
degré centigrade, et le coefficient moyen de la variation par degré
centigrade est de 0,00230. Il est vrai que la résistance de ces
récepteurs est beaucoup moindre que celle des récepteurs
à sélénium, et elle varie entre 40 et 1650 ohms.
Des expériences faites par M. Shelford Bidvvell, en Angleterre,
ont conduit il des déductions un peu différentes. «
La température de la pièce où j'expérimentais,
dit-il, étant de 14 degrés centigrades, j'ai immergé
un éléments de sélénium dans un bain d'essence
de térébatine maintenu a 8°, et j'ai observé
qu'un grand abaissement se produisait dans sa résistance. En augmentant
successivement la température du bain et la faisant passer de 8°
à 24°, cette résistance augmentait graduellement, mais
après 24° elle diminuait rapidement, et j'ai pu en conclure
que pour l'élément de sélénium expérimenté,
la plus grande résistance correspondait à 24°. J'expérimentai
ensuite cinq autres éléments, et leur résistance
la plus grande correspondait aux températures de 25°, 14°,
50°, 25°, 22°.
Le détail des expériences n'étant pas indiqué,
il est difficile de savoir si toutes les précautions ont été
prises pour obtenir des résultats exacts. Mais le sélénium
est une substance si peu homogène, si instable, qu'il est bien
difficile d'avoir des résultats concordants avec les différents
échantillons que l'on trouve dans le commerce .
C'est M. Preece, qui a continué à effectué ses propres
expériences.
...
Photophoncs sans pile.
D'après les expériences de MM. Blyth et Kabischer, il paraîtrait
que l'on pourrait obtenir des actions photophoniques sans pile, par suile
d'une action chimique exercée par les rayons lumineux, soit sur
des lames de phosphore amorphe, soit sur certains échantillons
de sélénium, laquelle action déterminerait un courant
plus ou moins intense suivant l'énergie des rayons lumineux, et
capable de réagir sur un téléphone. Il est probable
que toutes les substances sensibles à l'action de la lumière,
et en particulier le chlorure d'argent, sont dans le même cas, car
depuis longtemps M. Kd. Becquerel avait constate la production de courauts
électriques dans ces conditions sous l'influence de la lumière
...
L'une des principales applications des effets radiophoniques que
nous venons d'étudier est celle que M. Mercadier vient d'en faire
à la télégraphie pour des transmissions multiples
et simultanées. Il a donné à ce système le
nom de Téléradiophone électrique multiple autoréversible,
et nous en reproduisons ci-dessous la description qu'il en a donnée
dans le journal la Lumière électrique du 5 octobre 1881.
« J'appelle téléradiophone multiple un système
de télégraphie électrique, où les signaux
sont produits par des effets radiophoniques. En outre, le système
permet de transmettre sur un conducteur quelconque plusieurs signaux simultanés,
à volonté dans un sens ou en sens inverse, d'où la
qualification abréviative de multiple autoréversible. Le
mot autoréversible indique d'ailleurs que la réversibilité
est automatique; elle ne nécessite pas d'appareils accessoires,
tels que lignes artificielles, relais différentiels, etc.
« Le système est fondé a
1° Sur la loi de la coexistence des petits mouvements de Bernouilli,
applicable aux petites ondulations électriques qu'on peut produire
sur un conducteur tel qu'une ligne télégraphique atérienne,
souterraine, ou sous-mariue.
2° Sur l'emploi d'un courant électrique continu toujours de
même sens, constitué, par suite, en régime permanent,
ou bien d'un état électrostatique permanent d'un circuit,
obtenu soit à l'aide d'une pile, soit à l'aide d'une.machine
quelconque. Si, en des points de ce circuit ouvert ou fermé sur
lui-même, ou par l'intermédiaire de la terre, l'on produit
de simples variations d'intensilé rapides et périodiques,
ou, comme on le dit, ondulatoires, ces ondulations se propagent en se
croisant le long du circuit sans altération sensible on peut les
recevoir simultanément et indépendamment, sans confusion,
dans des postes extrêmes et intermédiaires, à l'aide
d'appareils récepteurs appropriés, tels que des téléphones,
des condensatenrs, ou des appareils électro-magnétiques
vibrants.
3 ° Sur l'emploi de récepteurs radiophoniques intercalés
dans le circuit, sur lesquels tombent des radiations quelconques, thermiques,
lumineuses ou actiniques provenant d'une ou de plusieurs sources.
Ces radiations sont rendues périodiques d'une manière quelconque,
soit par leur passage à travers des ouvertures pratiquées
sur une roue tournante, soit par des électro-diapasons, soit par
leur réflexion sur un miroir dont la surface vibre sous l'action
de la voix, soit par des extinctions périodiques dues à
la polarisation ou à tout autre moyen. Cette action produit ainsi
les variations ondulatoires d'intensité dans le circuit dont il
vient d'être question, et il en résulte la reproduction a
distance de sons musicaux, d'accords, du chant ou de la parole arlirculée.
On peut admettre que ces variations résultent de | variations correspondantes
de la résistance électrique du récepteur radiophonique.
4° Sur l'emploi de manipulateurs permettant, dans le j cas où
la voix elle-même n'est pas reproduite, de produire des signaux
avec des sons ou des accords, suivant un alphabet conventionnel quelconque.
Ces appareils peuvent beaucoup varier ils peuvent produire ou éteindre
un son unique, suivant un rythme déterminé, conformément
à l'alphabet Morse, par exemple, ou bien produire des sons de différentes
hauteurs combinés d'après une certaine loi pour former un
code de signaux, etc,a Ces principes, dont l'application simultanée
constitue la nouveauté du système, peuvent être mis
en oeuvre de
bien des manières, mais ces formes diverses ne différeront
que par des détails d'installation d'importance secondaire. Nous
allons, pour préciser donner un exemple particulier d'une installation
de ce genre.
« La figure représente 2 stations extrêmes A et A'
sépa1 rées par une longue ligne télégraphique
quelconque F, et rlans lesquelles sont figurés seulement deux appareils
de transmission et de réception susceptibles de fonctionner dans
n'importe quel sens et tout à fait indépendamment les uns
des autres.

On n'en a représenté que deux pour simplifier le dessin
mais il est facile de voir qu'on en pourrait disposer un nombre plus considérable.
On suppose qu'on veut produire des signaux Morse ordinaires, en employant
un courant continu pour fxer, les idées.i Le courant continu provenant
de la pile P traverse successivement, dans la station A, des récepteurs
radiophoniques et des téléphones Iir, Tj, fit, T2 puis la
ligne F; puis, dans la station A', les radiophones et les téléphones
R'1 T'1 R'2, T'2 correspondant à ceux de A.
En face de chaque récepteur tel que Rt, se trouvent les ouvertures
d'une roue 1, en verre ou en mica, ou en toute autre substance, tournant
continuellement et aussi règulibrement que possible autour d'un
axe a, sous l'action d'un moteur quelconque. Un diaphragme o, de la grandeur
des ouvertures, fixé à une tige rigide, formant le prolongement
du levier d'un manipulateur Morse et qui fi l'état de repos ferme
les ouvertures, empêche le
passage des radiations émises par une source quelconque S. on voit
qu'il suffit d'abaisser le levier de pour que les radiations traversant
la roue et agissant sur le radioplione B, produisent des variations correspondantes
dans la résistance de ce récepteur et, par suite, dans l'intensité
du courant continu qui te traverse d'où la production dans tous
les téléphones T1 T2. T1' T'2 échelonnés le
long du circuit, d'un son musical dont le nombre de vibrations par seconde
est égal au nombre des ouvertures de la roue I, qui passent en
une seconde en face du récepteur.
Supposons que ce soit un Ut, pour fixer les idées. h En abaissant
et relevant M1, suivant le rythme des signaux Morse, on entend dans les
téléphones le son Ut, pendant un temps plus ou moins long,
et l'on a reproduit ainsi acoustiquement les signaux Morse, à une
hauteur déterminée.
Rien n'est plus facile que de recueillir et de traduire rapidement une
pareille transmission.
L'expérience prouve, d'ailleurs, qu'on peut opérer la manipulation
au moins avec la même vitesse que dans le cas de la télégraphie
électrique ordinaire.
Pendant qu'un opérateur manipule et envoie des signaux en M1, un
autre peut en recevoir, en mettant l'oreille au téléphone
T1,, ainsi qu'on va le voir.
Le second appareil de la section A est constitué de la mème
manière avec des organes de transmission et de réceplion
identiques. La seule différence est que la roue I2, produit un
son différent; ce qu'on obtient soit en la rendant complètement
solidaire de I1, en la faisant tourner avec la même vitesse, et
lui donnant un nombre d'ouvertures différent; soit en lui donnant
le munie nombre d'ouvertures et la faisant tourner avec une vitesse différente,
ce qui peut s'obtenir de plusieurs manières, même en employant
un seul moteur pour toutes les roues, par exemple à l'aide de cordons
et de poulies de diamètres différents fixées aux
axes a1, a2.
Supposons que I2, produise le son Ni. voit que si l'on fait mouvoir indépendamment
l'un de l'autre les deux manipulateurs M1, et M2, on pourra
entendre simultanément, mais sans confusion, dans tous les téléphones,
des signaux Morse effectués les uns à la hauteur de l'Ut,
les autres à la hauteur du Mi il ne sera pas possible de les confondre.
Les deux appareils représentis dans la station A' sont établis
de la même façon; seulement les choses sont disposées
de manière que les roues I1,I2 produisent des sons différents,
par exemple Sol, Si...
Enfin on fait correspondre ensemble les appareils affectés des
mêmes indices 1,2... Cela étant, supposons le cas le plus
complexe où les quatre appareils fonctionnent a la fois indépendamment
les uns des autres. Il n'y aura aucune confusion des 4 systèmes
de signaux qui seront simultanément reçus dans tous les
téléphones.
Chacune des personnes qui les entendront devra seulement écouter
celle qui est au téléphone T1 les signaux faits à
la hauteur du Sol et provenant de M1 celle qui est en T2, les signaux
à la hauteur du Si et provenant de celle qui est en T2, les signaux
à la hauteur de l'Ut et. provenant de celle qui est en T'2. les
signaux a la hauteur du Mi et provenant de M2,, etc. d'ouv ertures différent;
soit en lui donnant le munie nombre d'ouvertures et la faisant tourner
avec une vitesse différente, ce qui peut s'obtenir de plusieurs
manières, même en employant un seul moteur pour toutes les
roues, par exemple à l'aide de cordons et de poulies de diamètres
différents fixées aux axes a1, a2.
« Supposons que 1, produise le son Ni.
« On voit que si l'on fait mouvoir indépendamment l'un de
l'autre les deux manipulateurs M1 et M2, on pourra entendre simultanément,
mais sans confusion, dans tous les téléphones, des signaux
Morse effectués les uns à la hauteur de l'Ut, les autres
à la hauteur du Mi il ne sera pas possible de les confondre.
« Les deux appareils représentis dans la station A' sont
établis de la même façon; seulement les choses sont
disposées de manière que les roues I'1 I'2 produisent des
sons différents, par exemple Sol, Si...
Enfin on fait correspondre ensemble les appareils affectés des
mêmes indices 1,2. Cela étant, supposons le cas le plus complexe
où les quatre appareils fonctionnent a la fois indépendamment
les uns des autres. Il n'y aura aucune confusion des 4 systèmes
de signaux qui seront simultanément reçus dans tous les
téléphones.
Chacune des personnes qui les entendront devra seulement écouter
celle qui est au téléphone T1les signaux faits à
la hauteur du Sol et provenant de M'1 celle qui est en T2, les signaux
il la hauteur du Si et provenant de M'1; celle qui est en T2, les signaux
à la hauteur de l'Ut et. provenant de M1 celle qui est en T'2.
les signaux a la hauteur du Mi et provenant de M,, etc.
L'expérience prouve qu'au bout de peu de temps il est facile de
suivre ainsi une transmission de cette nature, abstraction faite des autres.
Mais, en tout cas, on peut, soit faire des téléphones ne
reproduisant bien qu'un son de hauteur déterminée, soit
adapter à des téléphones ordinaires des résonnateurs
ne renforçant qu'un seul des sons transmis, soit faire entendre
à l'une des oreilles de l'ohservateur, très faihlement,
mais d'une manière continue, le son sur lequel il doit porter son
attention pendant qu'il écoute les signaux avec l'autre oreille
nous indiquerons, plus tard, des moyens très simples d'obtenir
ce résultat.
« Le dessin représente, en A, une source radiante S; éclairant
deux roues par l'emploi des lentilles L12 L21, L13 L23, et des miroirs
plans P1 et P2; mais on peut, soit adapter une source à chaque
roue, soit faire servir la source à 3, 4. roues, en les disposant
convenablement.
On peut encore employer une source et un récepteur uniques pour
5 ou 4 transmissions. Il suffit de prendre une roue percée de 5
ou 4 séries d'ouverturesde nombre variable, de placer en face un
récepteur R assez long, de concentrer le faisceau sur les ouvertures
avec une lentille cylindrique C et de faire arriver les diaphragmes des
manipulateurs en face de chaque série à l'aide de leviers
articulés V" Vs, V3, V4, si c'est nécessaire.
Comme il suffit d'éclairer un point d'un récepteur radiophonique
pour qu'il produise son effet, ce récepteur pourra recevoir simultanément
les 4 faisceaux lumineux et produire dans le circuit, simultanément
ou séparément, les 4 effets distincts sans confusion il
est clair, d'ailleurs, qu'on n'est pas forcé de se limiter à
quatre.
La figure
représente sommairement l'un des récepteurs à sélénium
précédemment décrits.
La figure ci dessus représente un fragment d'une branche D d'électro-diapason
susceptible de remplacer l'une des roues I1, I2. L'instrument entretenu
électriquement d'une manière continue vibre dans le sens
de la flèche un appendice P percé d'une ouverture laisse
alors passer ou intercepte périodiquement le faisceau lumineux
dirigé sur le récepteur R, en produisant un son de même
hauteur. que celui du diapason, qui sert alors comme de
repère à l'opérateur, lequel doit écouter
dans le téléphone le même son intermittent qui constitue
les signaux.
« La source à employer est une source quelconque suffisamment
intense on peut se servir de lumière électrique ou oxyhydrique,
de lampes à pétrole alimentées ou non avec de l'oxygène,
d'un bec de gaz, etc.

« La figure ci dessus représente le dispositifqu'on pourrait
adopter pour avoir huit transmissions, les roues des postes A et A' ayant
huit ouvertures et huit réceptions dans les huit téléphones
indiqués sur la figure.
« On a représenté, de plus, deux postes intermédiaires
I'1 et I'2, pouvant recevoir et transmettre des deux côtés;
leurs correspondants sont représentés en B et B' il va sans
dire que les sons produits par les roues en I2, I'2, B, B'. doivent être
différents de ceux qui sont émis par les roues A et A'
Les résultats pratiques de ce système sont faciles à
évaluer. Supposons, ainsi que l'indique la figure 78, qu'il s'agisse
de transmettre des signaux Morse. Il suffira, pour avoir le rendement,
de multiplier celui d'un télégraphe Morse ordinaire par
le nombre des appareils employés dans les deux stations, et dont
le nombre peu Ure considérable. En le réduisant à
10, ce qui n'est pas exagéré, et en admettant un rendement
de 20 dépêches de 50 mots à l'heure pour chaque appareil,
on obtient un rendement total de 200 dépêches ou d'environ
6000 mots par heure, 400 mots par minute, plus d'un mot par seconde, transmis,
il faut bien le remarquer, dans n'importe quel sens.
« Ce rendement n'est pas susceptible d'être diminué
par les causes perturbatrices qui retardent ordinairement les transmissions
télégraphiques, à savoir les effets d'induction,
de charge et de décharge.
En effet, sur le fil desservi par le téléradiophone, les
effets ordinaires des extra-courants sont infiniment petits, parce que
le courant continu peut être très faible, et que des variations
d'intensité très faibles de ce courant produisent les signaux.
« Les effets de charge et de déchargesont amoindris par les
mêmes raisons.
« Quant aux effets d'induction, provenantdes fils voisins, si ces
derniers sont desservis radiophoniquement, ces effets sont nécessairement
infiniment petits il la distance où l'on place ordinairement les
fils. Si les fils sont desservis par des appareils actuellement employés,
il eu résulte, il est vrai, dans les téléphones,
le bruissement particulier bien connu dans la pratique téléphonique;
mais ce bruit est si différent des sons musicaux très purs
et très clairs qui se produisent. dans les transmissions radiophoniques,
qu'il n'empêche en rien ces transmissions.
« Le seul cas où ces bruits sont très gênants
est celui où l'on prend la terre d'un grand bureau télégraphique,
comme le poste central de Paris, par exemple; mais il est toujours facile,
au besoin, d'aller l'aide d'un fil auxiliaire prendre la terre autre part.
« Outre ces avantages, il est il remarquer que le système
décrit s'applique parfaitement aux lignes de grande longueur car
on peut se servir, par exemple, de récepteurs radiophoniques à
sélénium de grande résistance (de 30 à 100
mille unités) qui fonctionnent très bien avec un trés
petit nombre. d'éléments de pile (de 2 à 10 éléments
Leclanché, par exemple).
« Dès lors la résistance des lignes de la plus grande
longueur usitée est très petite, ainsi que celle des téléphones,
par rapport à celle du récepteur ou des, récepteurs
(qu'on peut d'ailleurs disposer en série ou en surface).
« De plus, il est évident que rien ne s'oppose dans ce système
il l'emploi de tous les moyens abréviatifs ou automatiques, permettant
de transmettre rapidement des signaux rythmées, tels que bandes
perforées ou autres moyens de ce genre, et à l'emploi de
procédés permettant d'enregistrer les signaux il la réception.
Ce mode de transmission est d'ailleurs applicable sur des lignes souterraines
et sur les câbles télégraphiques sous-marins, tant
à cause de la continuité du courant qui charge une fois
pour toutes le conducteur, que de la faible intensité des ondes
électriques qui produisent les transmissions. Il faut remarquer
à ce sujet que ces ondes proviennent d'effets périodiques
réguliers produisant des sons musicaux lrès purs; elles
doivent avoir nécessairement, par suite, une forme simple et régulière
telle par exemple, qu'une forme sinusoïdale, et il ne parait pas
douteux que des ondes électriques de cette nature ne se propagent
beaucoup plus aisément, dans un câble télégraphique,
que les ondes de forme très complexe résultant des modes
de production des signaux intermittents ordinaires ou même des signaux
téléphoniques.
« Il va sans dire que toutes les considérations précédentes
où l'on a supposé l'emploi d'un courant continu, s'appliquent
intégralement aux cas où le conducteur serait maintenu dans
un état électrostatique permanent sans communication directe
avec la terre, et renfermerait ou non des condensateurs dans son circuit.
Le système qui vient d'être décrit a été
déjà soumis à des essais qui ont donné de
bons résultats.
sommaire
De 1890 à 1910, la technique télégraphique fut dominée
par l'appareil Baudot, que plusieurs inventeurs en Amérique et
en Angleterre cherchèrent à modifier en le combinant avec
la composition préalable par machine à écrire ; d'autres
cherchèrent à utiliser à son maximum la composition
préalable sans transmission multiple en employant pour la réception
des appareils à faible inertie et à enregistrement photographique.
De tous ces appareils, seul le « multiple américain »
demeura en exploitation.
De même, les efforts de Mercadier poir faire adopter son système
de télégraphie multiplex demeurèrent vains.
Il fallut attendre la révolution technique, résultant de
la découverte des lampes triodes (de 1910 à 1915) pour changer
complètement les idées et amener le développement
de la télégraphie harmonique.
1900 Société des télégraphes
Multiplex ( système E. Mercadier ) ayant son siège à
Paris , rue Caumartin , n ° 60 .

sommaire
|