Allemagne 1896
SYSTÈME
DE TÉLÉPHONIE SANS PILE D'APPEL NI MAGNÉTO CHEZ
LES ABONNÉS
Etant donné le grand développement que
la Téléphonie a pris de tous côtés , l'effort
des techniciens doit tendre à réaliser des systèmes
tels que , d'une part , le service se fasse avec rapidité et
sûreté et que , d'autre part , grâce à la
simplification des installations , les frais d'achat et d'exploitation
s'abaissent jusqu'au taux le plus minime , rendant ainsi les bienfaits
dutéléphone accessibles au plus grand nombre .
Avant de s'interesser au réseau téléphonique
en Allemagne, en France en 1880 c'est J Bourdin qui a pensé
à supprimer la pile (courant continu) d'appel du centre téléphonique
sur la réflexion suivante : Le réseau téléphonique
de Paris est constitué soit par des fils aériens soit
par des fils souterrains. Dans ce dernier cas, la pratique a fait reconnaître
que le meilleur moyen d'éviter les courants étrangers
qui nuisent à la transmission est de former le conducteur téléphonique
avec deux fils. C'est ainsi que fonctionnaient au début les lignes
télégraphiques, c'est-à-dire en circuit complet
sans mise à la terre. Appliquée aux communications téléphoniques,
cette disposition supprime toute action inductrice ; le son acquiert
une netteté remarquable. Il se présente toutefois une
difficulté : pour le service des appels par courant direct entre
le bureau central et les abonnés , on se trouve obligé
de multiplier les éléments de pile par suite de l'accroissement
de résistance que donne un conducteur double.
Avec ce concept il y a là un avantage
sérieux , non seulement au point de vue économique, mais
encore et surtout au point de vue des dérangements possibles.
Considérons le circuit établi entre un abonné et
le bureau central , représentons-le par la ligne ASBDS'C

La partie ABS est chez l'abonné , la partie CDS ' est au bureau
central. En A et C se trouvent des clefs Morse. En S est une sonnerie
, en S' un avertisseur optique. Le point D est soudé à
un des pôles de la pile du central, l'autre pôle communique
avec le contact de la clef placée en C , et communique en même
temps avec la terre. Le contact de la clef A, placée chez l'abonné
, communique avec la terre.
Cela posé si l'employé du central presse la clef C , le
circuit GASBD sera traversé par le courant de la pile, la sonnerie
S fonctionnera , et l'abonné sera averti. Si , à son tour,
l'abonné presse la clef A, le circuit DS'CA, communiquant en
A avec la terre , la pile du poste central fera fonctionner l'avertisseur
S' , le central sera donc averti. Lorsque les deux clefs sont au repos
, si l'abonné et l'employé du central introduisent chacun
leur téléphone. ans le circuit , ils peuvent communiquer
sans être gênés par aucune action inductrice extérieure
.
L'appareil d'appel construit par M. J. Bourdin a sensiblement le volume
d'une boîte à dominos. Il contient une clef Morse , un
avertisseur et un commutateur à doublé contact, permettant
de mettre à volonté plusieurs lignes dans le même
circuit.
Cependant il restait encore une pile dans chaque appareil pour le circuit
de conversation. ...
Plus tard en Allemagne le dispositif d'appel du téléphone
ètait la "Magnéto" pour envoyer un courant alternatif
d'appel au central.
Le dispositif que nous allons décrire (Document
traduit de l'Electrotechnische Zeitschrift) répond
à ces desiderata ; sa nouveauté consiste dans la suppression
des générateurs de courant employés pour l'appel
dans les postes d'abonnés , et dans l'émission automatique
des appels et des signaux de fin de conversation .
Dans ce nouveau système , on peut employer aussi bien le simple
fil que le double fil ; dans les bureaux centraux , on peut avoir en
service des panneaux d'annonciateurs disposés en monocordes ou
en dicordes ; pour les appels du bureau on peut se servir à volonté
de courants alternatifs ou continus . La description ci-après
sera limitée aux installations dicordes , pour lesquelles seules
nous avons l'expérience de l'exploitation.
Dans les figures suivantes , on a représenté
la marche du courant pour le fil simple et pour le double fil ; ces
deux installations sont disposées , de manière qu'en enlevant
le téléphone , l'abonné fait tomber automatiquement
le volet de son annonciateur, et qu'en le remettant en place, une fois
la conversation terminée , il fait tomber le volet de l'annonciateur
de fin de conversation .
La source électrique , par le moyen de laquelle on agit sur ces
volets , est reportée au bureau central.
Nous décrirons le système , après avoir indiqué
les manuvres que l'employé et l'abonné ont à
faire pour l'établissement d'une communication .
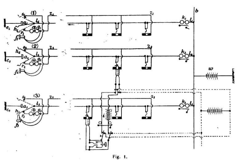
I. Installation des réseaux à double fil
.
La fig. 1 , représente une installation de ce genre . Les nº
1 , 2 et 3 indiquent des postes d'abonnés avec leurs leviers
commutateurs h , les téléphones f, les sonneries g et
les contacts de mise à la terre a . Ceux-ci sont disposés
de manière que le levier commutateur h , en revenant du butoir
de conversation s au butoir de repos r, vient, chemin faisant, en contact
métallique avec a . Les postes d'abonnés sont reliés
au bureau par les conducteurs et zz. Les conducteurs communiquent avec
la terre par l'annonciateur de fin de conversation et la pile commune
w ; les conducteurs ont leur extrémité isolée au
bureau. Si un abonné veut appeler le bureau , il enlève
du crochet h son téléphone f. Le levier se relève
contre le butoir de conversation s et , en passant sur le contact de
terre a , la pile w se ferme sur le conducteur et l'annonciateur d'appel
correspondant k (cf. le poste d'abonné 1 ) ; le volet tombe .
La mise en relation de l'employé avec l'abonné appelant
s'effectue comme dans les autres systèmes et n'a pas besoin d'être
décrite en particulier. On peut en dire autant de l'appel adressé
par le bureau à l'abonné demandé . 
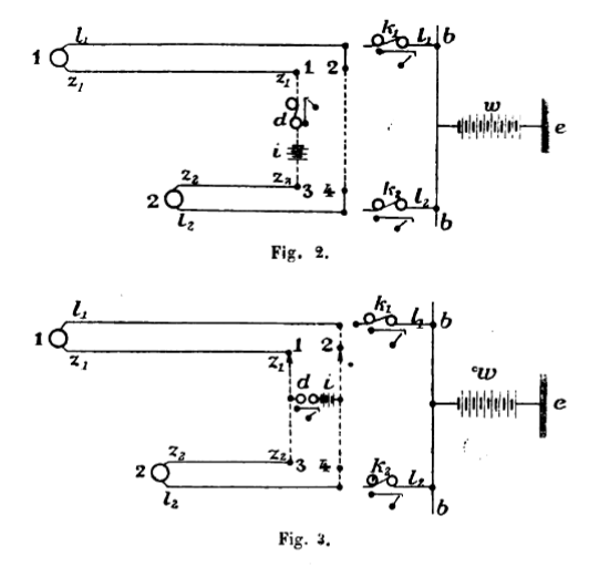
En ce qui concerne l'établissement de la communication
entre deux abonnés et l'intercalation de l'annonciateur de fin
de conversation , destiné à rendre possible l'émission
automatique du signal de fin , le dispositif employé est représenté
dans les fig. 2 et 3 .

Les lignes ponctuées y indiquent les conducteurs souples , les
flèches sont les contacts des fiches , les points 1 , 2 , 3 et
4 sont les ressorts de contact des jacks . Les annonciateurs d sont
construits de manière que le guichet reste caché quand
l'électro est excité et qu'il est découvert dans
le cas contraire . On obtient ce résultat , soit en faisant un
volet en fer qui serve d'armature à l'électro aimant,
soit en tournant vers le haut le crochet de retenue . Des piles i sont
reliées avec les annonciateurs de fin de conversation de manière
à être fermées sur les bobines pendant que la communication
est établie entre deux abonnés . Elles maintiennent ainsi
en place les volets de fin de conversation, jusqu'au moment où
, les téléphones étant remis en place dans les
postes d'abonnés , il se produit une interruption par le jeu
du levier commutateur h, entre les conducteurs llet zz . Le courant
de la pile correspondante i est alors interrompu et le volet libéré
. Ainsi que dans les autres systèmes , on peut placer la pile
i dans le circuit des cordons , comme dans la fig . 2, ou bien on peut
choisir le montage en pont , comme dans la fig. 3.
Cette position de la pile exige que les électro-aimants de fin
de conversation aient une forte résistance et une grande autoinduction
, ce qui rend possible l'emploi d'une pile commune pour tous les annonciateurs
. La fig . 4 représente cet arrangement .

Les mélanges d'audition sont empêchés par la forte
autoinduction des électro aimants de fin de conversation . Comme
on le voit sur la fig. 1 , on emploie des jacks en série pour
séparer du circuit de conversation , en enfonçant les
fiches , les parties des conducteurs qui sont en communication avec
la terre par les annonciateurs d'appel et la pile w .
Pour réaliser cette séparation , désirable à
plusieurs égards , on emploi pour chaque ligne , quand les jacks
sont en dérivation , un circuit auxiliaire , renfermant une pile
b (fig. 5) . L'un des pôles est relié
à travers un électro aimant à l'enveloppe extérieure
du jack h, l'autre pôle est relié aux fiches S. En enfonçant
la fiche , on ferme le circuit auxiliaire , l'électro-aimant
e est excité ; son armature sépare de la terre la dérivation
l l. Ledit électro-aimant peut être également employé
, s'il est arrangé en conséquence , pour relever automatiquement
le volet de l'annonciateur d'appel .
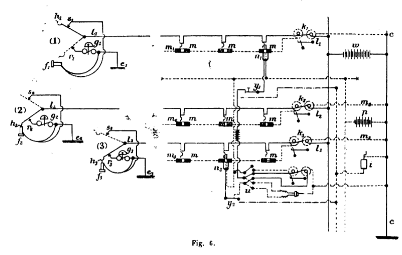
II . Installation des réseaux à simple fil .
La marche du courant est alors représentée fig . 6 ; 1
, 2 et 3 désignent des postes d'abonnés avec leurs leviers
commutateurs h , leurs téléphones f et sonneries g .

Les abonnés sont reliés au réseau par des lignes
à un fil 17 , qui sont en communication avec la terre par les
jacks , les annonciateurs d'appel k et la pile commune w . Les annonciateurs
k sont construits de ma- Lière que le volet reste fermé
quand la pile w envoie un courant continu sur la ligne 7. Comme dans
les installations précédemment décrites , l'appel
d'un abonné au bureau se produit en enlevant le téléphone
du crochet commutateur h. Celui-ci , dans son mouvement , pour
aller du butoir de repos r au butoir de conversations , interrompt le
courant de la pile w dans la ligne 7 correspondante et amène
ainsi la chute du volet correspondant k. Les manuvres que l'employé
a à faire pour mettre son téléphone en relation
avec l'abonné appelant, pour appeler l'abonné demandé
et pour établir la communication entre les deux lignes. intéressées
, s'accomplissent comme dans les autres systèmes , et la fig
. 6 indique , en partie , ces manuvres .
Quant à l'appel que le bureau envoie aux abonnés , il
est à remarquer que les sonneries g des postes d'abonnés
ne répondent pas à l'action du courant continu envoyé
par la pile w , mais qu'elles sont arrangées de manière
à n'être actionnées que par un courant alternatif
ou , dans d'autres cas , plus intense .
Dans la fig. 6, on a supposé que le courant d'appel était
alternatif et , par suite , que le générateur i est un
appel magnéto .
Si l'on a affaire à un multiple, il faut avoir soin de ne pas
faire tomber le volet de l'abonné demandé , en enfonçant
la fiche dans un des jacks généraux , d'où il résulterait
une interruption du courant continu de la pile w . A cet effet , les
enveloppes extérieures des jacks m de chaque ligne d'abonné
sont reliées entre elles par des conducteurs auxiliaires m 1,
m2, m3,, etc. , et ces circuits auxiliaires traversant un second embobinage
de l'électro-aimant correspondant aboutissent à une bande
, qui constitue l'un des pôles de la pile auxiliaire p. La bande
qui constitue l'autre pôle est reliée par les fils axiliaires
xx avec les conducteurs des fiches n , de manière qu'en enfonçant
les fiches dans les jacks on ferme le circuit. de la pile p sur le bobinage
auxiliaire de l'annonciateur correspondant ; le volet se trouve donc
maintenu pen- dant qu'on met la fiche en place . Il va sans dire que
la fermeture de ce circuit auxiliaire doit se produire avant l'interruption
du courant principal , ce qu'on eut obtenir très simplement .
Il y a lieu de remarquer aussi que le dispositif auxiliaire , ainsi
introduit , peut encore servir à relever automatiquement les
volets tombés et à faire le test des lignes , en tant
qu'occupées ou libres . Mais il n'est pas besoin de s'étendre
là- dessus . Le dispositif employé pour émettre
automatique- ment le signal de fin de conversation coïncide , en
principe, avec le procédé adopté pour le double
fil . Il consiste à mettre une pile en relation avec l'annon-
ciateur de fin de conversation ; celui-ci doit être construit
pour rester fermé , quand l'électro est excité
.
Dans la fig . 6 , la paire de cordons des fiches n¸ , n , en dehors
des touches pour l'appel y1 , y , et du commutateur u qui sert à
introduire alternativement , soit l'annonciateur de fin de conversation
, soit le téléphone. d'opérateur , contient encore
une pile o , à laquelle incombe la fonction de maintenir fermé
le volet de l'annonciateur de fin , pendant la durée de la mise
en communication de deux abonnés . L'échappement de ce
volet est produit par la remise du téléphone au crochet.
du levier commutateur dans les postes des abonnés reliés
l'un à l'autre.
Comme dans les installations pour double fil, on peut aussi employer
ici une pile commune pour l'ensemble des annonciateurs de fin d'un bureau
central ; alors , il faut disposer leur insertion comme dans la fig.
7 , et leur donner une résistance suffisante et une forte autoinduction.
Après avoir , dans ce qui précède
, parlé des nouvelles dispositions téléphoniques
au point de vue de leur agencement schématique , nous allons
décrire encore , ci-dessous , quelques installations réalisées
.
La première installation , dont il est question ici ,
est en service depuis le milieu d'août 1895.
Elle compte environ 20 abonnés reliés au bureau central
en double fil. Les postes d'abonnés sont montés conformément
au schéma représenté par la fig . 8.

Ils sont munis de sonneries pour courants alternatifs et n'ont aucun
autre géné rateur d'électricité que l'élément
du circuit microphonique .
Le contact de mise à la terre qui doit être actionné
par le levier commutateur consiste en un ressort lame relié métalliquement
au pivot du levier et qui est mis à la terre quand ce levier
frotte sur lui en passant.

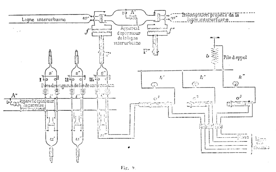
Le commutateur central est construit suivant la fig. 9 ; il comprend
20 annonciateurs d'appel avec 20 jacks pour abonnés locaux, plus
2 autres pour lignes interurbaines , 2 clés doubles w' et w"
pour prendre les lignes interurbaines au moyen des transformateurs f1
et f2 , 5 paires de cordons , chacune avec une pile i de 10 éléments
, 1'annonciateur de fin de conversation s et 1 commutateur u . De plus
, on dispose de deux postes téléphoniques complets avec
appel magnéto . L'un , A' , est affecté à la ligne
interurbaine ; l'autre , A" , peut être mis en relation avec
les paires. de cordons et sert principalement d'appareil d'opérateur
à l'employé du bureau .
Le service du commutateur pour le trafic local s'accomplit exactement
de la même manière que dans les systèmes actuellement
en usage , et l'on peut , par suite , le passer sous silence dans la
description de l'état actuel des choses .
En ce qui concerne le trafic à grande distance , celui-ci exige
des transformateurs , malgré la disposition à double fil
du réseau local , parce qu'avec l'installation à l'ancienne
mode des bureaux voisins , il n'est pas admissible d'envoyer d'une façon
continue un courant dans les circuits interurbains . A l'état
de repos , l'appareil A ' , pourvu de sa sonnerie polarisée et
de son appel magnéto , est relié au circuit à grande
distance . Si un appel de l'extérieur fait marcher le timbre
de ce poste , l'employé prend les ordres du bureau appelant avec
ce même appareil . L'abonné demandé est appelé
au moyen de l'appel magnéto du poste d'opérateur A "
, et , après que le bureau demandeur a été averti
, la communication est établie avec le circuit interurbain au
moyen du jack interurbain F ' en déplaçant la manette
de la clé double w¹ . A la fin de la communication on raccroche
les téléphones dans les postes d'abonnés en cause
, le volet échappe , la communication est coupée et le
poste d'opérateur A ' est remis sur ligne interurbaine . Si un
abonné local demande une communicationavec l'extérieur
, l'employé s'entend au moyen de l'appareil A ' avec le bureau
extérieur intéressé et établit la communication
à la façon ordinaire , une fois que l'abonné extérieur
a été obtenu . On peut aussi mentionner qu'il est possible
, sans autre modification , de relier au commutateur central ici décrit
des postes d'abonnés montés suivant l'ancien système
, soit à simple fil , soit à fil double . Ainsi , le n°
3 représente une ligne reliée au tableau , avec la terre
en guise de fil de retour . La ligne est à la terre au delà
de la pile d'appel b . Les abonnés qui sont reliés de
cette façon appellent le bureau central au moyen des appels magnéto
qu'ils possèdent et la mise en communication de ces lignes avec
les autres s'effectue à la façon usuelle . Il est donc
ainsi possible d'introduire le nouveau dispositif dans des installations
où, pour des raisons quelconques , on doit conserver les postes
d'abonnés existants dans leur état actuel .
Examinons maintenant les appareils à employer
dans ces installations ; les sonneries polarisées des postes
. d'abonnés ont des bobines de 60 w de résistance et correspondent
tout à fait aux sonneries employées d'autre part . Les
appareils d'opérateur A ' et A " sont également empruntés
au matériel constitué , de même que les deux transformateurs
t ' et t " qui possèdent sur chaque enroulement environ
100 o de résistance .
Les annonciateurs de fin de conversation , comme ceux d'appel , ont
des électro aimants à deux noyaux avecdes enroulements
de 140 o de résistance . Les premiers se distinguent des autres
, en ce que , chez eux , le crochet est tourné vers le haut ;
de plus , les noyaux sont munis d'une enveloppe de cuivre . Les piles
qui servent aux signaux de fin de conversation consistent chacun en
dix éléments Leclanché , mesurant 200/100/100 millimètres
, de la maison Berliner , de Hanovre , avec un cylindre
de charbon creux et une lame de zinc de 110/35/6 millimètres
, pesant environ 170 grammes . Même dimensions pour la pile d'appel
b . Pour l'usure des éléments des divers piles , notons
que , d'après les expériences en cours , les piles de
fin deconversation accusent une consommation de zinc d'environ 36,5
et les piles d'appel une consommation de 70 grammes environ , par élément
et par an .
L'exploitation marche jusqu'à présent sans encombre et
il n'y a pas eu à signaler de dérangements véritables
.
Une autre installation du nouveau système a été
livrée à l'exploitation au milieu de février 1896.
Celle-ci présente relativement à la précédente
des changements essentiels , aussi faut il en dire un mot . La différence
principale à noter , c'est l'emploi d'une pile commune pour les
signaux de fin de conversation . Cette pile est intercalée en
pont avec l'annonciateur de fin entre les deux cordons .
Avec ce montage , pour faire tomber le volet de fin de conversation
, il faut que le circuit soit interrompu simultanément dans les
deux postes d'abonnés reliés . On satisfait à cette
condition de la façon la plus simple et la plus sûre comme
il sera exposé ci après , en introduisant des sonneries
trembleuses à courant continu pour l'appel des abonnés
. La condition envisagée aurait aussi pu être remplie ,
en ajoutant aux leviers commutateurs un mécanisme , ayant pour
objet de ralentir leur retour à la position de repos .
On aurait pu tourner la difficulté , en plaçant de fortes
résistances avec grande selfinduction entre les conducteurs des
cordons et en intercalant les annonciateurs de fin dans les cordons
même des fiches . Cependant, la solution choisie se présentait
comme la plus simple et par suite offrait la meilleure garantie pour
la sûreté de l'exploitation .
Les postes d'abonnés seront faits d'après la fig. 8, avec
la seule différence qu'une sonnerie trembleuse remplace la sonnerie
polarisée .

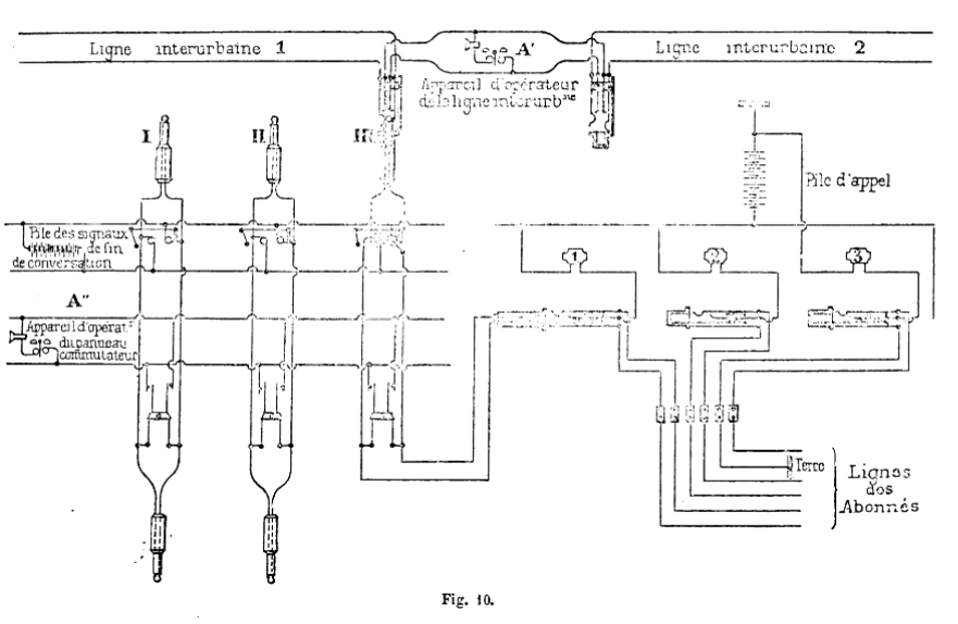
Le commutateur du bureau central qui est monté d'après
la fig. 10 comprend quarante lignes d'abonnés locaux ; le montage
et la construction des annonciateurs d'appel et des jacks pour lignes
de réseau correspondent exactement à l'agencement que
l'on rencontre dans l'installation décrite .
Pour le trafic local , on dispose de huit paires de fiches , dont le
montage répond à celui des paires I et II de la fig .
10.
On opère à la façon ordinaire . Pourtant, il y
a à relever cette particularité que le bureau appelle
automatiquement l'abonné demandé pour une communication
, simplement en enfonçant la fiche de liaison , ce qui est possible
, grâce à ce fait que la pile des signaux de fin de conversation
peut faire marcher les sonneries des abonnés . On a adopté
cette disposition , afin d'obtenir que le circuit de conversation ,
une fois celle ci terminée , fût ouvert en même temps
dans les deux postes . Le courant de la pile qui actionne l'annonciateur
de fin de conversation est interrompu au même moment . Comme il
doit arriver très rarement que les deux interlocuteurs raccrochent
en même temps leurs téléphones , la sonnerie de
celui des deux correspondants qui le remet en place le premier , résonnera
aussitôt , et par suite de la vibration du ressort interrupteur
, la remise en place du téléphone du second poste produit
à coup sûr l'interruption simultanée dans les deux
postes , si bien que le signal de fin en résulte . Cette particularité
, que l'appel de l'abonné demandé soit donné automatiquement
par la pile des signaux de fin de conversation , quand on enfonce la
fiche dans le jack correspondant , a pour conséquence de faire
marcher la sonnerie de l'abonné demandé jusqu'à
ce qu'il se présente pour parler. Au premier abord , cette manière
d'opérer soulève des scrupules ; à certains égards
cependant , elle s'est jusqu'au présent très bien comportée
en pratique . En premier lieu , elle assure la rapidité de l'établissement
des conversations , les abonnés appelés se hâtant
de se présenter à l'appareil ; en second lieu , elle dispense
des appels répétés que les abonnés appelants
adressent au bureau , pour lui demander d'appeler encore le correspondant
qui ne se montre pas ou pas assez vite ; de plus , il faut noter cette
circonstance favorable que l'abonné appelant peut déterminer
exactement le moment où la mise en communication s'est effectuée
, puisqu'il entend la sonnerie de l'abonné demandé , ce
qui n'est pas pour lui déplaire . C'est là aussi une chose
très agréable pour les employés du bureau , étant
donné qu'avec les anciens dispositifs ils étaient souvent
rendus injustement responsables des retards survenus dans l'établissement
des communications par le fait des lenteurs de l'abonné appelé
, ce qui maintenant leur est épargné . Dans cette installation
aussi , qui est réalisée avec des lignes à double
fil , il y a quelques lignes pour lesquelles la terre sert de fil de
retour , et dont les postes sont pourvus d'appels magnéto . Elles
sont reliées au bureau central comme il est indiqué dans
la fig . 10 pour le n° 3. Pour permettre au bureau d'appeler les
postes reliés ainsi , le poste d'opérateur A" est
muni d'un appel magnéto ; d'ailleurs l'une des huit paires de
fiches pour le service local n'est pas reliée à la pile
des signaux de fin de conversation . Les dispositifs pour le service.
interurbain ont subi quelques changements relativement à ceux
de la première installation . Ceux ci étaient en premier
lieu nécessités par l'emploi d'une pile commune pour les
signaux de fin de conversation . En second lieu , les modifications
ont eu pour cause le désir d'écarter de la ligne interurbaine
les clés doubles wet w " employées dans la première
installation , parce que , si l'on n'y fait pas attention en s'en servant,
il peut se produire des interruptions fâcheuses sur la ligne interurbaine
; c'est ce qui est évité avec l'agencement de la seconde
installation ; à la place des clés doubles , on a , en
conséquence , disposé des jacks , dits jacks à
deux pointes ; on se sert pour le trafic interurbain de deux paires
de cordons montés d'une façon spéciale ( cf. fig
. 10 III ) . Ces paires , dites interurbaines , se distinguent de celles
employées pour le trafic local par l'enroulement des annonciateurs
de fin de conversation . Ils ont deux circuits et sont montés
en transformateurs , la pile des signaux de fin de conversation étant
intercalée dans un des deux enroulements . Pour l'établissement
des communications , la fiche qui communique avec ce dernier enroulement
, se met dans le jack local , tandis que la fiche qui communique avec
l'enroulement non divisé se met dans le jack. interurbain. Pour
éviter les interversions , les enveloppes des fiches interurbaines
se distinguent par la couleur, le service interurbain se fait en général
comme dans la première installation . Inutile de décrire
la manière de procéder . Considérons maintenant
les appareils employés dans zette installation : nous pouvons
noter que les sonneries qui se trouvent dans les postes d'abonnés
possèdent une résistance d'environ 200 o , et que le reste
correspond exactement à la première installation ; au
bureau , les jacks , les annonciateurs d'appel pour le réseau
, la pile d'appel ainsi que les postes d'opérateurs A' et A"
sont identiques aux parties correspondantes de la première installation
; la pile des signaux de fin de conversation consiste en trente éléments
Leclanché de Keiser et Schmidt , de Berlin , ayant 225 millimètres
de hauteur et 135 millimètres de diamètre . Elles ont
des charbons en forme de prismes à base triangulaire et trois
agglomérés de peroxyde de maganèse , et contiennent
un cylindre de zinc de 180 millimètres de hauteur pour 110 millimètres
de diamètre pesant environ 1.000 gr. Les annonciateurs de fin
de conversation possèdent des électro aimants à
un noyau avec un enroulement de 600 , entouré d'une chemise de
fer ; les annonciateurs de fin de conversation employés comme
transformateurs ont 300 par circuit . Pour garantir une attraction franche
de l'armature avec cette forte résistance , les crochets sont
munis de contre poids . D'après les expériences en cours
, l'usure du zinc par élément et par an , pour la pile
de fin de conversation , se monte à 130 où 140 gr. , de
sorte qu'on peut en conclure que ces éléments dureront
plusieurs années . L'usure de la pile d'appel correspond à
ce qui a été établi pour la première installation
. Bien que les dépenses pour l'entretien des générateurs
de courant servant à l'appel soient à noter comme des
plus modérées , et essentiellement moindres dans les deux
installations décrites que celles des installations où
les générateurs pour l'appel sont chez les abonnés
, l'emploi d'accumulateurs au lieu des piles primaires pour les signaux
de fin de conversation permet de diminuer encore les frais en question
. Une occasion. favorable se présenta pour une installation nouvelle
à créer dans une ville ayant une station centrale électrique
, parce qu'alors on avait la possibilité de charger les accumulateurs
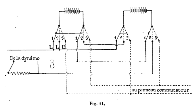
commodément et à bon marché. On employa deux batteries
de vingt accumulateurs chacun , du type X' de la fabrique d'accumulateurs
de W. A. Beese et C° à Berlin , ayant une capacité
de charge chacune de 3 à 6 ampères heures avec un courant
à la décharge de 1 à 0,2 ampère et un courant
de charge maximum de 1 ampère . D'après l'expérience
en cours , la demande de courant journalière se monte à
environ 0,1 ampère heure pour un nombre d'abonnés provisoirement
de cinquante . Ainsi , la dépense annuelle , pour un prix de
2 pfennigs l'hectowattheure , se chiffre à 80 pfennigs environ
. Les deux batteries , dont une seule suffirait , travaillent en parallèle
, mais sont chargées en série ; d'ailleurs , on prend
soin que chaque moitié soit bien chargée en ce qui la
concerne par le courant de 110 volts dont on dispose . Pour établir
commodément les liaisons voulues , on se sert de deux commutateurs
à levier bipolaires . Dans la position du milieu , les deux batteries
sont chargées en série ; dans la position de droite de
la manette , il y a décharge ; dans la position de gauche , il
y a au contraire charge en parallèle . Il faut un rhéostat
en tête de la batterie , on emploie des lampes à incandescence
.
La fig . 11 représente le montage effectif.

Une autre disposition qu'on a adoptée dans la nouvelle installation
doit encore être mentionnée ici.
Le fait que , dans les postes d'abonnés , de la dernière
installation , les sonneries continuent à tinter une fois la
conversation finie et le téléphone raccoché , jusqu'à
ce que le bureau coupe la communication entre les abonnés en
cause , montre qu'il est à souhaiter que cela se fasse le plus
tôt possible. Comme , dans les petits bureaux , il incombe aux
employés d'autres affaires encore que le service du commutateur
téléphonique , il a paru indiqué de faire percevoir
par un signal acoustique la chute d'un volet d'annonciateur. La combinaison
à adopter pour produire ce signal devait être disposée
en tenant compte de ce fait que les annonciateurs de fin de conversation
sont découverts à l'état de repos ; et elle devait
n'entrer en jeu qu'avec les annonciateurs de fin de conversation dont
le volet est tombé , parce que la conversation est terminée
. On peut satisfaire à cette condition , en ajoutant , en plus
du butoir placé sous le volet de fin de conversation , pour fermer
le circuit d'une sonnerie continue , quand le volet est tombé
, un deuxième contact en série qui ne ferme le circuit
que si la paire de fiches , correspondant audit annonciateur de fin
de conversation , est en service actuellement . Le contact en question
peut être relégué dans l'alvéole où
reposent les fiches , ou , au contraire , soit dans le jack , soit dans
la fiche ; le premier procédé s'adapte bien auxmeubles
indépendants ; le dernier aux panneaux muraux .
Dans le cas présent , où l'on emploie un meuble indépendant
, le contact· supplémentaire est disposé dans le
siège de la fiche antérieure . Le montage représenté
fig. 12 , trouve alors son application .

Si le contact en question est mis dans le siège de la fiche antérieure
, c'est que , autrement , quand on prend les ordres d'un abonné
, ce qui se fait, en règle générale , avec la fiche
postérieure , la sonnerie continue tinterait , troublant ainsi
le service ; d'autre part , la sonnerie , en tintant après qu'une
communication a été établie , avertit l'employé
de relever le volet de fin de conversation , ce qui autrement eût
été oublié maintes fois . Dans les grands bureaux,
où les employés sont affectés exclusivement au
service téléphonique , on peut se dispenser de cette précaution
, ou bien on peut , si l'on ne veut pas y renoncer , adopter un signal
optique saillant au lieu et place d'une sonnerie . Comme on l'a mentionné
plus haut, on a, dans l'installation téléphonique précédemment
décrite , mis en service un meuble indépendant , muni
d'un appel magnéto pour appeler sur les lignes interurbaines
reliées à l'installation , ainsi que sur quelques lignes
locales pourvues d'appels magnéto . A la place de l'appareil
A' dont on disposait dans la fig. 10 , il y a ici un annonciateur d'appel
, le bureau en question étant maintenant poste terminal pour
la ligne interurbaine .
Pour pouvoir , au moyen de l'appel magnéto déjà
mentionné , donner des appels aussi bien sur les lignes interurbaines
que sur la partie des circuits locaux exploités avec l'appel
par courants alternatifs , les fiches interurbaines sont munies chacune
de deux touches d'appel ; on emploie alors le montage indiqué
fig . 13 .
Les meubles téléphoniques des trois installations précédemment
décrites ont été construits dans la fabrique de
E. Welles , de Berlin ; les montages des postes d'abonnés
ont été faits dans les ateliers royaux des télégraphes
de Wurtemberg .
Si le dispositif de l'installation dont il a été parlé
d'abord et où le service se faisait en appelant avec les courants
alternatifs , devait être appliqué à de grands bureaux,
cela obligerait à employer les accumulateurs et permettrait ainsi
de changer la façon d'amener aux paires de cordons , individuellement
, l'énergie électrique nécessaire pour l'émission
automatique du signal de fin de conversation .
Quoique une installation de ce genre n'ait pas encore été
réalisée , pourtant , pour être complet , il y a
lieu d'indiquer les dispositifs prévus pour donner automatiquement
le signal de fin de conversation .
Dans le projet, on devrait supposer que le courant nécessaire
est fourni par une batterie Fig . 13 . centrale , ce qui est possible
si on intercale dans les paires de cordons , à la place de piles
primaires , des accumulateurs et si on s'arrange pour les charger pendant
qu'elles sont dans la position de repos .Le dispositif en question est
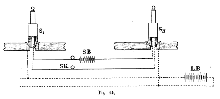
indiqué sur la fig. 14.
Voici en quoi il consiste une batterie centrale d'accumulateurs LB est
reliée aux sièges des fiches , tandis que les viroles
métalliques correspondant aux prises de contact des fiches sont
reliées au conducteur où est insérée la
batterie SB . Celle ci est alors chargée par la première
, quand les cordons sont au repos . Le courant employé pour maintenir
les volets des annonciateurs de fin se monte d'ordinaire à 10
ou au plus à 25 milliampères , de sorte que pour une conversation
, 0,002 ampères heure sont nécessaires , en moyenne ,
et cette consommation est d'ailleurs aussitôt restituée
. Si maintenant les batteries des annonciateurs de fin de conversation
ont une capacité de charge correspondant à 100 communications
, cela ne donne qu'une capacité d'environ 0,2 ampères
heure , et , par suite , un très petit élément
, ce qui permet de réunir , dans une boîte de celluloïde
ou d'ébonite les éléments nécessaires pour
un meuble , ou mieux , pour une place 'opérateur , et de reléguer
ces boîtes dans le meuble même , ce qui a pour effet de
raccourcir les fils de secours allant aux cordons et de les rendre plus
faciles à visiter .
L'emploi de batteries séparées pour le signal de fin de
conversation a encore l'avantage de permettre de supprimer dans les
postes d'abonnés l'élément de pile microphonique
, si on y installe des microphones appropriés , ce qui n'est
pas possible , sans autremodification , si la batterie de fin de communication
est d'usage commun.
sommaire