Les Taxiphones,
Publiphones et les Télécartes
Novembre 2013 Après la
disparition du minitel
lannée d'avant rudement mis à lépreuve
par Internet et la disparition de France Télécom remplacé
par Orange, cest à un autre objet de lopérateur
téléphonique de tirer sa révérence. la
fin de la télécarte est annoncée prochainement.

Télécartes utilisées dans les cabines téléphoniques
ou publiphones
Fin années 1970 : La Télécarte était
un dispositif de pré-paiement de télécommunications
reposant sur une carte en plastique PVC, le plus souvent de type carte
à puce, servant de support technologique et pouvant tenir dans
un porte-feuille.
Elle est apparue largement en Europe vers la fin des années
1970, pour proposer une alternative commode au paiement en monnaie
dans les cabines téléphoniques publiques, sujettes au
vandalisme. Les cartes de téléphone comportait toutes
une valeur faciale (pouvant aller jusqu'à 15-20 euros) et leur
fabrication nécessite donc des dispositions très strictes
en matière de sécurité et de qualité pour
éviter toute fraude et limiter les réclamations des
utilisateurs.
sommaire
Un peu d'histoire à propos des cabines publiques
Àu USA à la fin du XIXe siècle,
si le téléphone se généralisait dans les
foyers et les entreprises, son accès public restait limité
: on ne pouvait téléphoner que depuis des cabines téléphoniques
tenues par des préposés qui percevaient les appels.
Flairant une opportunité, William Gray a mis au point
un téléphone public fonctionnant avec des pièces
de monnaie et a déposé un brevet le 5 avril 1888.
Le premier prototype de Gray consistait en un boîtier recouvrant
l'ouverture du combiné et qui coulissait lorsqu'une pièce
était insérée. Cependant, il fut rejeté
car une seule pièce permettait de passer plusieurs appels et
que, si un autre poste était appelé, le destinataire
devrait également payer une solution manifestement loin
d'être idéale. Après plusieurs tentatives infructueuses,
Gray trouva une solution étonnamment simple : un « appareil
à pièces » utilisant une petite cloche pour
signaler l'insertion d'une pièce(brevet américain n° US408709A),
puis, quelques années plus tard, un « dispositif
de signalisation pour cabines téléphoniques payantes »
plus élaboré (brevet américain US454470).
Le concept a rapidement rencontré un vif succès et,
en 1889, le brevet a été accordé. La Southern
New England Telephone Company a installé le premier téléphone
public à pièces dans les locaux de la Hartford National
Bank, sur State Street.
En 1891, Gray fonda la Gray Telephone Pay Station Company et commença
à installer des téléphones sur des poteaux et
dans des armoires à travers l'Amérique. Il continua
à perfectionner son invention, déposant finalement plus
de 20 brevets liés au téléphone public, notamment
des innovations concernant les appareils de télépéage,
les monnayeurs, les registres d'appels et les dispositifs de signalisation.
Cent ans plus tard, on comptait plus de 2 millions de téléphones
publics installés aux États-Unis.
En France, on a utilisé tour à tour
ou simultanément les termes de : téléphone public,
cabine téléphonique, téléphone automatique,
téléphone à prépaiement, Taxiphone, Publiphone.
Cette abondance de termes manifeste une hésitation sur lidentité
de ce que nous appellerons « téléphone public
», privilégiant dans notre définition une entrée
par les usages. Le téléphone public sera pour nous celui
qui, situé dans les lieux publics, est offert à lusage
public. Mais cet usage est dépendant dune transformation
technique de lobjet par rapport au simple appareil à
communiquer à distance par la voix, puisque lobtention
dune communication est subordonnée à son paiement
préalable.
Le téléphone public est-il une simple déclinaison
du téléphone « ordinaire » ou un nouvel
objet technique ?
lobligation de présenter un système de paiement
intégré à la machine et celui de sa résistance
particulière à la fois aux intempéries et aux
éventuelles agressions des utilisateurs. A la fonction première
de communication sest ajoutée celle de paiement immédiat
et intégré à la machine, cest-à-dire
une caisse recevant pièces ou jetons, ainsi quune qualité
de résistance particulière aux agressions. Enfin lobligation
de protéger de la pluie lappareil et les utilisateurs
a donné naissance aux habitacles fermés. Lobjet
originel a donc été assez profondément modifié.
Lautomate destiné à permettre la transaction financière
a complexifié lappareil et en a alourdi la forme. Lhabitacle
est devenu un édicule urbain suffisamment visible pour quil
suffise à sa propre signalisation.
Ainsi, ces nécessités découlant directement de
lutilisation des téléphones dans les lieux publics
ont suffisamment influé sur lidentité technique
de la machine pour quon puisse dire quelles ont donné
naissance à un projet puis à un objet technique nouveau.
Il nous faut remonter aux origines, lorsque sest posé
le problème de lutilisation autonome dun téléphone
dépourvu de tout système de paiement intégré.
Dès 1879 un simple poste Ader mural était mis
à la disposition du publique dans les bureaux de poste.
En 1881 les premières cabines téléphoniques publiques
sont implantées par la S.G.T ( Société générale
des téléphones ) à l'exposition d'éléctricité
et dans Paris.
Les premières cabines téléphoniques voient le
jour en France le 1er janvier 1885. Elles sont installées à
lintérieur des bureaux de poste ou dans des lieux publics,
par exemple les cafés.
Les premiers téléphones installés dans les cabines
sont horizontaux, obligeant les utilisateurs à se pencher en
avant. Le chapeau haut-de-forme que portaient les hommes à
cette époque s'en trouvait écrasé. L'ingénieur
Clément Ader, le précurseur de l'aviation, travaille
alors à la Société Générale des
Téléphones et met au point un téléphone
mural vertical. En 1889, le service du téléphone est
nationalisé.
Jusqualors, les seuls téléphones à usage
public nécessitaient la médiation de la « gestionnaire
», une employée des PTT qui devait à la fois recevoir
les demandes de communication des clients, appeler pour eux les destinataires,
répartir les clients dans les cabines, surveiller les fins
de communication, veiller à ce que personne ne parte sans payer,
rendre la monnaie.
Ces communications, doublement médiatisées par la machine
et par lemployée des PTT, ne pouvaient être obtenues
quaux heures douverture des bureaux de Poste et dès
avant la guerre de 1914, ladministration sest préoccupée
de trouver une réponse au besoin de téléphone
public en utilisation autonome et, en tout premier lieu, de régler
le problème du paiement de la communication.
Une première solution, rapidement abandonnée, a été
de sen remettre à lhonnêteté des usagers
en plaçant à côté de lappareil un
tronc qui devait recevoir le prix des communications. Il sagit
là, observons-le, du point extrême de la non-intégration
de deux fonctions (communication et rétribution de lopérateur)
se traduisant par une simple juxtaposition de deux appareils aux fonctionnalités
complémentaires. On peut imaginer lexistence dune
communauté sociale composée dindividus suffisamment
honnêtes et soucieux des lois pour quil ne soit pas nécessaire
daller plus loin que le tronc à côté du
téléphone. Mais force est de constater que le degré,
insuffisant, de responsabilité de la population, un élément
éminemment social ou culturel, a imposé un procédé
technique liant lobtention dune communication au paiement
dune redevance, ce qui a finalement donné naissance au
téléphone public en tant quobjet technique.
Le premier stade de lintégration des deux fonctions a
été conçu en 1922 par lingénieur
anglais F.W. Hall qui vers 1923 a relié un encaisseur
au téléphone. Il ne sagissait en loccurrence
que dun lien assez fragile, un fil électrique, qui subordonnait
lobtention dune communication à une opération
de paiement. Les deux parties de lappareil (mais ne sagissait-il
pas encore là de deux appareils séparés ?), étaient
visiblement bien distinctes, bien que reliées par un mince
fil.
Plus tard, en 1924, un inspecteur des téléphones
français, M. Roussotte a amélioré
le dispositif en intégrant lencaisseur et le téléphone
dans un même boîtier. On a, grâce à cette
intégration, un premier degré de « concrétisation
» dun objet technique, objet qui a évolué
à partir de « labstraction » que constituait
la juxtaposition de deux fonctionnalités qui ninteragissaient
pas lune avec lautre.
Dans cette logique, le téléphone « abstrait »
est le téléphone privé, doté du seul pouvoir
de faire communiquer à distance, et sa concrétisation
est issue de la rencontre avec une réalité du terrain,
son utilisation dans le cas concret dun site non protégé
et dune absence de médiation humaine. Dans le cas qui
nous intéresse, le premier téléphone public Hall/Roussotte
peut être considéré comme une étape imparfaite
de concrétisation puisquil sagit de deux systèmes
juxtaposés : un système communiquant et un système
de paiement.
Lorsque le téléphone public a parachevé la synthèse
de ces deux fonctions par lintégration de deux systèmes,
il a atteint cette concrétisation qui a donné naissance
à un nouvel objet technique. Les fonctions de paiement seront
alors si bien liées aux fonctions de communication quon
ne pourra plus déterminer quels éléments de lensemble
remplissent chacun de ces deux rôles, désormais étroitement
imbriqués.
Ainsi, les nombreux modèles de téléphones publics
qui se sont succédé depuis celui de Hall, malgré
leur grande variété de conception, présentent-ils
ces mêmes caractères et leurs différences ne sont-elles
que des réponses particulières, propres à chaque
contexte, correspondant à ces exigences fondamentales que sont
la communication, la sécurité et le paiement. Lhabitacle,
par exemple, qui répond à lexigence de sécurité
(protection des appareils) autant quau confort de lutilisateur
a pu être une cabine en bois et verre complètement fermée,
un simple chapeau posé sur un pied ou accroché à
un mur dans les lieux semi-protégés, où même
être complètement absent dans les lieux fermés,
comme dans le cas des « pointphones » posés sur
le comptoir de certains cafés. La sécurité de
ce dernier appareil est alors assurée, mais pas le confort
des utilisateurs qui doivent téléphoner dans le bruit
et en public. Quant à la fonction de communication remplie
par lappareil téléphonique lui-même, elle
a surtout été modifiée en même temps que
le réseau se perfectionnait en assurant automatiquement les
tâches auparavant dévolues à des opérateurs
(plus souvent des opératrices). Le téléphone
a matérialisé ces évolutions par la disparition
de la manivelle et lintroduction du cadran, par lutilisation
puis labandon du bouton poussoir. Le tableau 1 met en évidence
la chronologie de lévolution technique des téléphones
publics et ses liens avec son histoire sociale ...
sommaire
En France bien avant les publiphones à pièces
ou à carte prepayée il y avait des cabines publiques
pour permettre aux abonnés de Paris et au public de téléphoner.
En 1880, les timbres-téléphone font leur apparition.
Cest le premier moyen de paiement des communications.
Dès 1881 des premières cabines téléphoniques
publiques sont implantées par la S.G.T ( Société
générale des téléphones ) à l'exposition
d'éléctricité et dans Paris. La S.G.T
était la seule entreprise privée offrant un service
de communication téléphonique aux particuliers, qui
avait eu l'idée d'isoler ses 30 téléphones en
démonstration dans des guérites en chêne capitonnées.
Les cabines téléphoniques à proprement parler
se limitent longtemps à des cabines installées à
l'intérieur des bureaux de Postes, télégraphes
et téléphones
Première cabine
Timbre téléphone
Le"timbre téléphone", qui apparut en 1880-1881
constituait le premier moyen de prépaiement des communications
téléphoniques,
En 1883, 9 premières cabines téléphoniques
sont exploitées à titre expérimental à
Reims, dans bureaux de poste, les pavillons de l'octroi ou
les
stations d'omnibus.
Avant la fin de 1884, on commença l'installation de
cabines téléphoniques publiques à Paris et dans
quelques villes de province.
Le service fut ouvert au public le 1er janvier 1885.
Fin 1885, Paris compte 35 cabines enregistrant chacune
une trentaine de communications hebdomadaires . Les cinq minutes
de communication coûtent à Paris 50 centimes de francs.
Fin 1885, Paris compte 35 cabines enregistrant chacune une trentaine
de communications hebdomadaires.
Pour les utiliser, il fallait posséder une carte d'abonné
Le gouvernement délivre aux abonnés de Paris, sur
la présentation de leur contrat, une carte d'abonnement,
dont le prix est de 40 francs par an, et qui leur permet de communiquer
dans tous les bureaux téléphoniques et bureaux de quartiers
de la Société générale des Téléphones
indistinctement. La Société générale des
Téléphones remet à tous ses abonnés, sur
la présentation de leur contrat d'abonnement, des cartes de
communication, leur donnant droit de communiquer gratuitement dans
tous les bureaux de quartiers de la Société générale
des Téléphones, mais dans ses bureaux seulement. Chaque
abonné a droit à autant de cartes qu'il a d'abonnements.
Les cercles et les établissements publics, tels que cafés,
restaurants, hôtels, etc, abonnés aux réseaux
téléphoniques concédés à l'industrie
privée, sont autorisés à mettre le téléphone
à la disposition de leurs membres ou clients, moyennant le
payement d'un abonnement double de celui qui est fixé par le
tarif applicable aux abonnés ordinaires.

Anciennes cartes d'abonnement de ma collection.
Les premières cabines téléphoniques
voient le jour en France le 1er janvier 1885. Elles sont installées
à lintérieur des bureaux de poste ou dans des
lieux publics, par exemple les cafés.
Le 24 février 1887, à
huit heures du matin, a été inauguré le service
de la correspondance téléphonique entre Paris et
Bruxelles. La distance est de 333 kilomètres. A la Bourse
de Paris, le public a l'usage de deux cabines dont l'une est affectée
aux communications d'une façon permanente.
A Bruxelles, une cabine accessible jour et nuit est installée
au bureau du dépôt des télégrammes. Une
seconde cabine, établie près de la grande salle des
réunions, est ouverte au service pendant les heures de la Bourse
seulement.
Une seconde ligne téléphonique directe, de Paris
à Bruxelles, a été ouverte au public le 13
mars 1888. Le nombre des cabines aux Bourses des deux villes a
été doublé.
En province, dès les années 1890, l'État
incite les communes à troquer leurs systèmes télégraphiques
contre des cabines dans leurs bureaux de poste. Les habitants des
zones rurales ne disposaient pas de téléphone chez eux.
Les postes dabonnement publics sont installés dans les
commerces, en façade desquels on trouvait la fameuse plaque
téléphonique émaillée de dimensions 40X36
cm « CABINE TÉLÉPHONIQUE », plaque qui était
aussi apposée en façade des bureaux de poste.
En 1885, on le renommera « bulletin de conversation »,
puis en 1897, « bulletin de communication ». Ils disparaissent
le 1er janvier 1911.
En 1889, le téléphone public à pièces
est inventé par William Gray, un scientifique
américain. Son premier modèle fut installé dans
une banque au Connecticut.
...
A l'exposition universelle de Paris 1900
Le public est admis à communiquer, à
partir des 82 cabines mises à sa disposition dans les bureaux
de l'Exposition ou en dehors de ces bureaux, avec tous les abonnés
de Paris et toutes les localités qui sont en relations téléphoniques
avec Paris. Des cartes permettant de téléphoner gratuitement,
à partir de ces cabines, avec tous les abonnés ou les
postes publics de Paris, valables pour toute la durée de fonctionnement
des cabines, sont délivrées séance tenante, au
prix de fr. 20, contre remise d'une photographie de l'intéressé
au bureau central de la Porte Rapp ou au bureau ordinaire des abonnements,
rue de Grenelle.
Dès 1923 les premiers taxiphones apparaissent
à Paris ils fonctionnent avec des pièces de 25
centimes.
LAdministration des PTT décide de confier lexploitation
des cabines téléphoniques munies dappareils à
encaissement automatique à la compagnie
du taxiphone, créée en février 1923
pour lachat et lexploitation des brevets concernant le
taxiphone. Ils sélectionnent plus précisément
un modèle conçu par FW. Hall en 1922, nommé le
taxiphone. Celui-ci est adapté pour la France par M.
Roussote, inspecteur des téléphones, sous la
direction de M.Drouet, ingénieur en chef et directeur des services
téléphoniques de la région de Paris.
...
En 1924 est créée la société le
Taxiphone qui fabrique les téléphones publics
à encaissement électromécanique, elle signe avec
ladministration des PTT une convention lui permettant non seulement
de construire ces postes téléphoniques mais également
de les exploiter. Elle installe ses appareils dans les cafés
et les restaurants.
Parallèlement, les PTT ouvrent leurs propres cabines publiques
dans les bureaux de poste et dans certaines gares.
Modèle 24
1925 Modèle pour Paris
Les taxiphones Hall
Les premiers taxiphones, au nombre de 50, apparaissent
à Paris. Ils fonctionnent avec des pièces de 25 centimes.
Les 2 Modèles 24
Type SAINT-CYR BL ( Batterie Locale), interurbain, manuel
à monnaie 10F et 20F, à manivelle et à timbres
dencaissement (1924) équipé dun circuit
téléphonique identique à celui des postes agréées
des PTT 1924. Ce modèle a notamment équipé les
campagnes demeurées tardivement en manuel et à batterie
locale (pile électrique installée chez l'abonné)
.
Shéma dusaint cyr BL
Il y avait aussi le modèle Type SAINT-CYR BCI (Batterie
au Central Intégrale), interurbain, manuel à monnaie
10F et 20F, à timbres dencaissement (1924) équipé
dun circuit téléphonique identique à celui
des postes agréées des PTT 1924.
Ce modèle a notamment équipé les villes de province,
non reliées au réseau téléphonique automatique.
(Sans manivelle).
Les premiers à fonctionner avec un jeton téléphonique
apparaissent en 1937.
Shéma dusaint cyr BC
Vers 1930 les premiers taxiphones urbains munis dun
cadran, compatibles avec les premiers réseaux automatiques
sont installés en France. Désormais, dans les grandes
villes où le réseau urbain est automatisé, lusager
se passe à présent des services des opératrices.
Le principe technique est que pour obtenir la tonalité dans
le but de téléphoner à un abonné à
l'aide du cadran téléphonique, il faille dabord
introduire au préalable un jeton ou une pièce de monnaie
dans lappareil.
En revanche, ce type de téléphone ne permettait lencaissement
que dun seul jeton (ou dune pièce de monnaie) pour
chaque conversation établie. Ainsi, les taxiphones nétaient
autorisés que pour établir des communications locales
ou urbaines, c'est-à-dire dont labonné demandé
fût situé dans la même circonscription de taxe.
(Communications urbaines dailleurs facturées sans limite
de durée).
Lutilisation de ces lignes de taxiphones est restreinte par
lAdministration aux seules communications urbaines. Il est alors
hors de question de pouvoir appeler dans une autre ville via le réseau
interurbain.
Le Type PARIS, urbain, automatique à
jetons PTT, à bouton dencaissement (circa 1937
jusquen 1947) équipé dun circuit téléphonique
identique à celui des postes agréés des PTT 1924.
Conformément à l'avenant du 9 avril 1925 entre l'Administration
des P&T et la Compagnie Le Taxiphone, le Taxiphone Urbain de type
Paris est conçu avec une structure interne dite « Monobloc
», qui est en quelque sorte une structure modulaire, montée
sur gonds articulés et débrochable, particulièrement
ingénieuse pour l'époque.
Une convention est passée entre lEtat
et la compagnie du Taxiphone le 15 mars 1923 : ladministration
sattribue un droit de regard exclusif sur ces cabines. Elle
perçoit le prix des communications et ne laisse quun
léger pourcentage à la compagnie privée. Cet
appareil fonctionne au moyen de jetons sur un réseau équipé
en automatique. La compagnie devient par la suite la Société
Anonyme Française des Appareils Automatiques (SAFAA).
De 1925 à 1955, la SAFAA exploite toute une série dappareils
dérivés du premier modèle de taxiphone. Outre
léquipement des villes, ces appareils automatiques sont
rapidement installés le long des routes. Ils connaissent un
grand succès : ils demeurent en exploitation pendant de très
nombreuses années et le terme taxiphone passe dans langage
courant avant dêtre remplacé, dans les années
70, par le terme de publiphone.
Les premiers taxiphones à encaissement automatique de technologie
Hall, ainsi que toute la lignée qui va en découler
sont donc des Taxiphones de type Urbain.
|
L'encaissement se fait par inversion de
polarité de la ligne téléphonique.
En effet, lorsque le correspondant appelé a décroché
son téléphone, le commutateur téléphonique
inverse, au central, la polarité de la ligne téléphonique
du taxiphone (dans le cas où il s'agisse bien du taxiphone
ayant appelé), et dans chaque publiphone urbain de type
Hall, un gros électroaimant se retrouve de ce
fait actionné ce qui entraîne 3 conséquences
:
- l'électroaimant autorise l'encaissement du jeton,
- l'électroaimant décourt-circuite le microphone
du combiné du taxiphone afin que les correspondants puissent
converser,
- l'électroaimant court-circuite le temps de la conversation
le cadran téléphonique afin d'éviter toute
fraude dite "au cadran".
Au raccrochage, le commutateur téléphonique rétablit
la polarité dans son sens initial, ce qui fait revenir
l'électroaimant au repos, court-circuite le microphone
et libère le cadran d'appel : le taxiphone est alors
prêt à traiter un nouvel appel...
|
En province à partir de 1935 à
l'établissement du téléphone automatique-rural,
ces installations se répartissent en 276 groupes et portent
sur 7.054 autocommutateurs ruraux, qui desservent 55.888 abonnés
et 9.302 cabines.
A partir de 1947, c'est "la compagnie le taxiphone"
qui est en charge de s'occuper du téléphone public.
A partir 1957, des systèmes de comptage de pièces
permettent aux cabines téléphoniques de revenir à
la monnaie.
BENJAMIN 1946
BENJAMIN 2 
Les cabines installées dans les bureaux de poste, établissent
un ticket pour chaque communication établie.
Ces tickets (imprimé 1392-19B), sont ensuite envoyés
avec un bordereau (imprimé 1392-66) au Centre de Comptabilité
Téléphonique, qui deviendra Centre régional d'Informatique
des Télécommunications (C.R.I.T.) avant de prendre le
nom, dans les années 80 de Centre de Facturation et de recouvrement
des Télécommunications (C.F.R.T.).
1946 Type BENJAMIN urbain, automatique à jetons PTT,
à bouton dencaissement .
1955 - 1963 Type BENJAMIN (type2) urbain, automatique à jeton,
puis à monnaie 50F, puis 20c, avec puis sans bouton dencaissement
(circa 1955 - 63) équipé dun circuit téléphonique
identique à celui des postes agréés U43. Ce modèle
de poste a vu beaucoup de changements au niveau du monnayeur : d'abord
à jetons Taxiphone, puis en anciens francs, puis en nouveaux
francs. Il y a eu des variantes avec boutons d'encaissement et d'autres
sans ce bouton.
| Le Type Benjamin 2 est un Taxiphone Urbain,
adapté ultérieurement en appareil interurbain, de
3 manières possibles :
Variante 1 : Taxiphone Urbain
Automatique + Taxiphone Interurbain Manuel.
Il s'agit de l'hybridation du taxiphone cumulant le fonctionnement
initial du Taxiphone Benjamin 2 avec un Taxiphone Interurbain
Manuel de Type Saint-Cyr BCI, par l'adjonction, en plus du monnayeur
à Jetons, de deux monnayeurs de pièces de monnaie
et de deux timbres d'encaissement internes, couplés avec
un microphone interne au compartiment technique.
Ainsi en Taxiphone Urbain, il fonctionne en mode automatique
habituel par introduction d'un jeton, décrochage combiné
et numérotation, puis encaissement du jeton en cas de
réponse du demandé, assurant dans la circonscription
locale de Paris, la conversation sans limite de durée.
Mais pour appeler en dehors de la circonscription locale de
Paris, donc en interurbain, le Type Benjamin 2 en est bien incapable.
Lorsque l'on souhaite joindre un correspondant lointain, l'on
introduit d'abord un jeton de taxiphone, puis l'on décroche
le combiné et l'on appelle à l'aide du cadran
une opératrice sur le central Provence (au numéro
PROvence 71.39).
Sur ce numéro spécifique qui nest pas taxé,
l'on donne alors le numéro du correspondant souhaité
puis l'on raccroche. Le jeton est alors rendu à l'appelant.
Puis, lopératrice va établir au central
Provence la communication avec le correspondant interurbain,
puis si elle lobtient, met le correspondant appelé
en attente, et rappelle alors le Taxiphone Benjamin 2 demandeur.
L'opératrice demande alors au Taxiphone demandeur dintroduire
des pièces de monnaie quelle va entendre tomber
dans lappareil, grâce au microphone interne, qui
va capter le son des pièces de monnaie tombant sur lun
ou lautre des deux timbres métalliques. Une fois
la somme perçue, l'opératrice met les deux correspondant
en relation pour la durée prépayée.
À une époque où la retransmission des impulsions
de taxation n'était pas encore inventée/diffusée,
cette adaptation hybride permet alors aux parisiens de joindre,
via une opératrice manuelle, un correspondant éloigné.
Cet artifice n'a pas duré, le type Benjamin 2 ayant été,
pour certains d'entre eux, entièrement transformé
en automatique intégral.
Variante 2 : Taxiphone Urbain
Automatique + Taxiphone Interurbain Manuel.
Idem à la variante 1, mais pour les appels interurbains,
en dehors de la Circonscription de Paris, il y a la présence
d'un deuxième bouton en bas à gauche de l'appareil
(Bouton B) qui permet d'obtenir l'opératrice manuelle
sans introduction de jeton.
Variante 3 : Taxiphone Urbain et Interurbain Automatique.
vers 1960, transformation en appareil interurbain entièrement
automatique, par adjonction d'un détecteur de taxes périodiques
à 50Hz et adjonction d'un signal lumineux avertissant
l'usager de la coupure imminente, qui donnait un délai
de quelques secondes pour réintroduire une nouvelle pièce
de 50c pour prolonger la conversation.
|
Blu
700
Taxiphone Blu (fin 1950) de la SAFAA et taxiphone 700 type FGBS de
la SAFAA
Type
100 et le T300 
Le Type 100 urbain, automatique à monnaie 20c Lagriffoul
(1957) équipé dun circuit téléphonique
identique à celui des postes U43.
Ultérieurement dans les années 1970, ce modèle
est modernisé et comporte désormais un circuit téléphonique
identique à celui des postes S63. Ce modèle est livré
neuf jusques en 1976. Environ 25.000 Taxiphones Type 100 furent installés
dans les bureaux de poste ou en cabine publique.
Le Type 200 urbain, automatique à jetons (1957) équipé
dun circuit téléphonique identique à celui
des postes agréés U43. En fait, le taxiphone type 200
est identique au type 100, excepté qu'il est pourvu d'un monnayeur
à jetons. Ce modèle est livré neuf jusques en
1969. Environ 5.000 Taxiphones Type 200 furent installés dans
les bureaux de poste. Ce modèle a en outre été
largement déployé dans le Métropolitain Parisien.
Le Type 300 urbain, automatique à monnaie 20c Lagriffoul,
sans bouton d'encaissement (1974) équipé dun circuit
téléphonique identique à celui des postes agréés
S63 autorégulé. Descendant direct des Types 100 et 200,
le Type 300 a profité de perfectionnements mécaniques,
en termes de renforcement face aux effractions. Ce modèle est
livré neuf jusques en 1977. Environ 7.500 Taxiphones Type 300
furent installés dans les bureaux de poste ou parfois en cabine
publique.
Jusqu'en 1955 le taxiphone fonctionnera avec des jetons; à
partir de cette date, les téléphones à
pièces de monnaie vont prendre le relais.
1955 Taxation à distance et à la durée
|
Aussi appelé Télétaxe /
Télécomptage
Mise en service le 13 novembre 1952 à
titre expérimental, puis le 8 janvier 1955, appliquée
à la publiphonie.
Les commutateurs téléphoniques sont en mesure
de retransmettre, via la ligne téléphonique, les
impulsions de comptage pour les pupliphones comme pour les abonnés
abonnés qui souscrivent au service spécifique
de Dispositif de Renvoi des Impulsions de Comptage sur un compteur
spécial prévu à cet effet.
Les premiers appareils à encaissement
périodiques, permettent enfin établir des communications
interurbaines à partir dun taxiphone. Lordre
dencaissement est envoyé par la ligne téléphonique
de manière automatique par le commutateur de rattachement,
à la fréquence modulée en mode commun de
50Hz par rapport à la terre.
Le service de retransmission des impulsions de taxes est primordial
pour le fonctionnement des taxiphones et publiphones interurbains,
qu'ils soient à pièces ou à cartes prépayées.
1er dispositif 50Hz :
techniquement, le commutateur envoie par la ligne téléphonique
des impulsions périodiques modulées en mode commun
à la fréquence de 50Hz, via la terre utilisée
en 3ème fil fantôme (ou réel lorsque la
terre chez labonné est très mauvaise). Ce
système est utilisé pour assurer lencaissement
des publiphones à jeton ou à monnaie des classes
urbaine et interurbaine, La première impulsion de taxation
est dédoublée par une inversion de la polarité
de la ligne téléphonique, afin de permettre le
fonctionnement des plus anciens types de téléphones
à encaissement de monnaie ou de jeton qui font appel
à un électro-aimant dencaissement spécifique.
Le procédé 50Hz est le seul procédé
à pouvoir couvrir les longues distances.
2ème dispositif 12Khz : à partir de Juillet
1977 et jusquen 1983, pour cause de fraude massive dite
« fraude au 50Hz » dans les téléphones
publics, le dispositif à 50Hz est progressivement remplacé
par une modulation dimpulsions périodiques de 12KHz
réalisée entre les deux fils de chaque ligne téléphonique.
En plus des publiphones à monnaie ou à jeton,
les publiphones à cartes reliés à une ligne
analogique utilisent également ce dispositif. La première
impulsion de taxation à 12Khz est également dédoublée
par linversion de polarité pour permettre le fonctionnement
des anciens téléphones à monnaie ou à
jetons.
|
Sur ces appareils, la tonalité est obtenue
dès le décrochage du combiné sans introduction
d'argent, ensuite numéroter normalement et une fois que l'usager
a obtenu son correspondant, il dispose d'un délai de 4 à
5 secondes pour introduire la monnaie dans l'appareil, sous peine
d'être coupé dans le cas contraire. Durant ce laps de
temps de quelques secondes, le microphone du publiphone est shunté,
ce qui empêche toute conversation.
BENJAMIN 3
Le Type BENJAMIN modifié, interurbain, automatique
à monnaie, avec ou sans bouton dencaissement (circa 1960)
équipé soit d'un circuit téléphonique
des postes agréés PTT1924 ou dun circuit téléphonique
identique à celui des postes agréés U43. (Il
s'agissait d'adaptations à partir du parc de taxiphones urbains
existants, d'où plusieurs variantes possibles).
T400
Type 400 Urbain automatique et Interurbain manuel, à
monnaie 20F, 50F et 100F Guiraud (circa 1957) équipé
dun circuit téléphonique identique à celui
des postes agréés des U43. Reprend les caractéristiques
de fonctionnement du type Benjamin 2 modifié, dans un nouvel
habillage. Se serait écoulé à quelque 4.000 exemplaires...
Éclipsé par l'arrivée du Type 700.
- A aussi existé le Type 500 dérivé du
Type 400 dans le même boîtier, mais dépourvu de
cadran. Il s'agit d'un Taxiphone Interurbain Manuel fonctionnant sur
le même principe que le Type Saint-Cyr avec accès direct
à une opératrice des PTT.
- A aussi existé le Type 600.
- Type 700 interurbain, automatique à monnaie, via 3
sélecteurs de pièces différentes 20c Lagriffoul,
1/2F et 1F semeuse Roty (1965) équipé dun circuit
téléphonique identique à celui des postes agréés
S63 non régulés. Cet appareil est équipé
d'un comparateur de taxes (équipé d'une fenêtre
d'affichage des taxes créditées restantes) et d'un mécanisme
de crédit développé par M. Jean Briend, Ingénieur
en chef des télécommunications.
Le détecteur d'impulsions de taxe fonctionne aussi bien en
50Hz modulé par rapport à la terre, qu'en 12kHz.
En cas de solde débiteur de taxes, la conversation est brouillée
de telle sorte que la conversation devienne impossible, jusqu'à
ce que l'usager introduise de la monnaie et que le solde redevienne
créditeur. Si le solde demeure débiteur plus d'une dizaine
de secondes, le taxiphone est raccroché automatiquement, en
interne. Premières mises en service, à Paris, le 15
octobre 1965. Les disques d'appel métalliques en zamac chromé
remplacent les disques d'appel en plastique à partir de Mars
1974 par déploiement sir le terrain et livrés avec tout
taxiphone ou publiphone neuf à partir de Septembre 1974 quel
que soit le modèle. Les derniers exemplaires du modèle
Type 700 sont tous mis hors service au 31 décembre 1982.
Modèle présent très longtemps dans les bureaux
de postes. Au moins 16.000 Type 700 ont été déployés
en bureaux de poste ou en cabine publique.
les Taxiphones de Type 700 encore en service à la fin des années
1970 se verront équipés d'un nouveau comparateur de
taxes entièrement électronique, en remplacement du comparateur
de taxe électromécanique d'origine.
Par la suite ce sont de nombreux autres modèles
qui vont se succéder suite aux améliorations techniques.
Au milieu des années 1960, la France accuse un sérieux
retard en matière de téléphonie. En 1966, il
faut attendre trois ans pour être raccordé au
téléphone, contre trois jours aux États-Unis.
L'État lance une grande politique de rattrapage : l'âge
d'or du publiphone peut commencer.
L'administration des PTT décide alors de mettre en place dans
la rue, des bureaux de poste muets abritant une boite aux lettres,
un distributeur de
timbre et un publiphone à pièces de couleur jaune (série
300).

Le mot Taxiphone a progressivement disparu de lusage, car en
1970, les PTT nont pas renouvelé la concession avec la
Compagnie le Taxiphone. Pour éviter les conflits juridiques,
ladministration a inventé le terme PUBLIPHONE
pour remplacer le bon vieux taxiphone (Nom de marque déposé
le 29 juillet 1974). Il désigne les téléphones
publics disposés sur la voie publique ou dans des lieux semi-privés
mais ouverts, fabriqués après 1970 par de nouvelles
compagnies.
En 1973, apparaissent les premières cabines téléphoniques
dans les abribus (séries 800 et 900).
En 1975, sont installées les premières cabines
fermées et entièrement vitrées, dites «
de Paris ». La situation du téléphone public devient
difficile, en raison des 10.000 tonnes de pièces à collecter
et du vandalisme.
Vers 1980 autre grande étape, essentiellement pour limiter
le vandalisme, des cabines à cartes, cartes magnétiques
d'abord, puis cartes à puce sont mises en place. Cela permet
de sortir les cabines des bureaux de poste.
TE900
TE80
Publiphone à pièces: le TE900 à touches, TE900
à cadran et publiphone TE80.
PF32
Pc31P à
volet
Pc31P
à platine
d'introduction de la carte.
PF32 de Schlumberger, le premier publiphone à carte.
Publiphone à carte PC31P (Monetel) de Landis & Gyr, Schlumberger
et de Crouzet.
PF16
IPT 701
FTA
704
PF16 de Schlumberger. Publiphone IPT 701 de Monétel et FTA
704 de Monétel.
1983, les cabines téléphoniques
affichent leur numéro de téléphone et peuvent
être appelées.
1984, les premiers tests de la télécarte ont
lieu à Blois (test de la puce CP8 de Bull) et à Lyon
(test de la puce Schlumberger), 10 ans après linvention
de la carte à circuit intégré par Roland Moreno.
En juin 1985, les télécartes sont conditionnées
sous plastique, le « blister ».
Un nouveau test est organisé à Grenoble en 1986.
La télécarte (dites « pyjama » en raison
de leur visuel rayé bleu et blanc ) est commercialisée
à partir de 1984.
La première production de masse de la carte « pyjama
» a lieu en 1987.
Certains TGV ont même été équipés
à partir de 1989 de téléphones publics.
Apparu en 1985, POINTPHONE ce nom de marque
est utilisé pour nommer ces petits téléphones
publics dintérieur (Nom de marque déposé
le 19 juin 1985). Il y a eu aussi les Téléphones Intérieurs
à Cartes, similaires aux Pointphones à cartes, bien
que simplifiés
Ce sont des petits publiphones destinés à être
installés dans des locaux intérieurs et surveillés,
comme sur des comptoirs de bars, ou dans des hôtels, gîtes
ruraux.
Puis des Téléphones public à usage spécifique
: .
bornes d'appel d'urgence
SNCF 
La cabine téléphonique
 |
Une cabine téléphonique est un
édicule situé sur l'espace public (typiquement,
le trottoir), muni d'un téléphone permettant d'émettre
et, éventuellement, de recevoir des communications qui
sont réglées avec une carte à puce (carte
prépayée, carte bancaire), des pièces de
monnaie ou des jetons.
Contrairement au téléphone public sans cabine,
la cabine téléphonique permet à celui qui
téléphone ou y reçoit un appel, de s'isoler
du bruit ambiant, d'y tenir une conversation privée,
tout en étant abrité des intempéries.
Elle permet également de téléphoner à
toute heure, ce que ne permettaient pas les téléphones
publics et cabines situés dans des bars, restaurants,
hôtels et bureaux de poste, etc.
Une cabine téléphonique peut recevoir
des appels entrants grâce au numéro de téléphone
fixe qui lui est affecté.
Certains pays ont disposé de cabines
téléphoniques particulièrement iconiques,
à l'instar des cabines téléphoniques rouges
britanniques, des cabines jaunes en Allemagne, des cabines et
téléphones publics américains popularisés
par le cinéma, et des cabines norvégiennes, par
exemple.
En raison de la généralisation
des téléphones portables, la plupart des cabines
ont disparu ou sont en voie de disparition et de démantèlement,
mais par culture ou nécessité certains pays les
maintiennent, et dans les pays qui ont cessé d'en faire
usage certaines cabines restent en place ou sont réinstallées
pour d'autres utilisations, recyclées en mini-bibliothèque,
en bornes d'accueil pour défibrillateurs3, en micro-restaurants,
en locaux de concessionnaires à Londres ou, au Japon,
en téléphone pour parler aux morts, par exemple.
|
L'une des plus anciennes mention connues d'un service
téléphonique date de 1878. Cette année-là
Thomas Doolittle met en place une ligne téléphonique
payante entre Bridgeport and Black Rock (Angleterre) à l'aide
de deux cabines en bois et d'un câble télégraphique
de remploi. Le premier brevet d'un cabinet téléphonique
date de 1883.
Comme nous l'avons vu,e en France, les premières cabines téléphoniques
sont exploitées à titre expérimental à
Reims en 1883. Dans la foulée des cabines sont implantées
également à titre expérimental à Lille,
Roubaix et Tourcoing. L'acte d'officialisation de l'existence des
cabines téléphoniques en France date de la publication
du bulletin officiel du 31 décembre 1884 et du décret
du 9 janvier 1885 .
Ces appareils munis de dispositifs de paiement se nomment le plus
souvent du nom de la compagnie exploitante qui les exploite, tels
que Taxiphone (1924), Pointphone (1985) ou Publiphone
(1974), cette dernière dénomination étant celle
de la compagnie exploitante des publiphones jusqu'à la fin
de la commercialisation des télécartes.
A partir de 1975 et l'annonce d'un grand plan de développement
pour la publiphonie française (Plan 100 000 cabines), des modèles
standardisés de cabines téléphoniques vont être
très rapidement déployées en France et devenir
partie intégrante de l'espace public.
L'année 1975 marque aussi la fin de l'utilisation des jetons
de téléphones dans les taxiphones ; dès cette
année, seules les pièces de monnaie ayant cours légal
en France sont utilisées dans les publiphones français.
Le parc atteint les 102.300 cabines téléphoniques au
31 décembre 1980.
La 100.000ème Cabine Téléphonique est fêtée
officiellement en Janvier 1981, dans la ville d'Épône.
En 1984, les Cabines Téléphoniques peuvent enfin être
rappelées. En effet, au départ de la publiphonie sur
voie publique, l'on ne pouvait qu'uniquement téléphoner
à partir des taxiphones, mais pas être rappelé.
Durant la première décennie de ce plan et malgré
l'engouement qu'il suscite, ce déploiement se heurte aux vols
et au vandalisme massif mais l'apparition de publiphones à
cartes puis le remplacement systématique des appareils à
monnaie par ces publiphones permettent un plein essor du parc de cabines
téléphonique jusqu'en 1997.
L'apogée des cabines téléphoniques
à carte est en 1996 et 1997, avec 115 millions de télécartes
vendues !
En 1997, le réseau des publiphones comporte 250 000 cabines.
Le parc français est alors le plus dense d'Europe, avec 4 cabines
pour 1 000 habitants. Début 1991, les cabines se dotent d'un
équipement de téléphonie sans fil et servent
de relais aux premiers téléphones sans fil Bi-Bop.
Mmais le développement dès lors très rapide de
la téléphonie mobile et de l'accès à Internet
pour le grand public condamnent déjà la publiphonie
à une fin inexorable, seulement ralentie par les obligations
de services public de l'opérateur. La disparition graduelle
de cette contrainte sonnera la dépose et le démantèlement
de masse de la quasi-totalité des installations.
En 2002, au 1er janvier, le passage du Franc Français
à l'Euro provoque la mise à l'arrêt de la
totalité des publiphones de Type 900 . Une grosse partie des
publiphones TE80 étant soit retirée de la voie publique,
soit transformée en uniphones, seule une portion congrue
de publiphones TE80 exploités sur la voie publique est convertie
à l'Euro.
En 2004, en raison de la décroissance massive
et généralisée du trafic publiphonique, la situation
devient intenable, l'opérateur historique décide officiellement
le démantèlement progressif de la totalité du
parc de publiphones installés sur la voie publique qui sont
placés en dehors du régime du Service Universel.
En 2005, la fin de cette année voit la mise à l'arrêt
de la totalité des publiphones à pièces exploités
sur la voie publique par France-Télécom (Publiphones
Type TE80), et c'est ainsi qu'ont lieu en France, entre Novembre et
Décembre 2005, les derniers relevages de Caisses et les derniers
retours/échanges de la monnaie collectée dans les succursales
de la Banque de France.
En 2013, le parc de cabines installées sur
la voie publique redescend en dessous du seuil mythique des 100.000
cabines.
En 2014, la commercialisation des Télécartes cesse à
partir du 14 avril. La validité de ces ultimes cartes émises
est fixée au 28 février 2016. Cet arrêt de commercialisation
précipite la fin de facto de l'utilisation des cabines téléphoniques
en France.
Septembre 2017 la suppression des 5 450 cabines encore en service
en France est planifiée pour la fin de l'année.
En 2021, au 31 décembre, il ne resterait plus
que 25 cabines téléphoniques implantées sur voie
publique dans les quelques villages sis en zones blanches dépourvues
de GSM (2G, 3G, 4G).
En 2022, au 31 décembre, il est prévu
que plus aucun publiphone ne soit encore en service en France. Ne
substeront que quelques centaines de cabines vides, converties en
bibliothèque/boîte à livres ou en espace social
alternatif...
sommaire
La télécarte :
Hommage à Roland Moreno, qui était
l'inventeur français de la carte à puce, en 1974.
Parmi les applications de la carte à puce mémoire
sans microprocesseur, citons la carte téléphonique,
la carte SIM des téléphones portables, ainsi que
la carte Navigo pour les transports publics parisiens qui utilise
les puces lisibles à distance créées initialement
par Innovatron lors d'un partenariat avec la RATP. ( Le brevet
a été déposé en France , 1er semestre
1975 )
L'invention de la carte à puce, avant qu'elle n'entre dans
le domaine public en 1998, aura rapporté à Innovatron
l'équivalent de 150 millions d'euros. |
1977
Carte téléphone magnétique qui a été
expérimentée au Frantel Windsor de Paris
Les Télécartes étaient émises
par des opérateurs publics de téléphonie puis,
prennaient pour certaines la forme de cartes prépayées,
émises par des sociétés privées et dont
l'utilisation se faisait par la numérotation d'un code secret
(PIN). Elles étéient toujours au format carte de crédit
et devenues rapidement devenues un support publicitaire.
A cet époque, les télécartes
produites par France Télécom étaient essentiellement
à puce.
Les premiers essais de télécartes en France ont été
des tickets thermo-magnétiques, des télécartes
magnétiques et des télécartes optiques (ou holographiques).
En 1984 les cartes à puce ont été introduites
sur les nouvelles cabines à carte : les pubiphones.
Puis les cartes à puce ont été introduites en
1984 tout d'abord sous la forme de télécartes
rayées appelées "Pyjamas" car
rayées, il y a des centaines de variantes collectionnées
en fonction des puces, des types d'impression, numérotation
au verso, etc.
Parallèlement les
télécartes holographiques sont testées et commercialisées.
Nous pouvons également citer les tickets thermo magnétiques
Publiphone, testés en 1984 en France et aux Etats Unis,
sans succès.
Cest la fin des tâtonnements, et la carte à puce
va définitivement simposer à la fois comme moyen
de paiement, comme support publicitaire et comme objet de collection.
En 1985 apparaît le film plastique transparent,
le "blister" qui emballait la carte.
En 1986 après une nouvelle alternance politique Gérard
Longuet Secrétaire dÉtat à la Poste et
aux Télécommunications, ouvre ce qu'il dénomme
des "chantiers de liberté", qui consistent, sur des
périmètres bien délimités, à tester
la mise en concurrence de la Direction Générale des
Télécommunications par des exploitants du secteur privé
qui se porteraient candidats. Le premier chantier visait les Cabines
Publiques - projet abandonné en 1988, nonobstant le lobbying
zélé de deux élus qui déjà en 1985
ne juraient que par la privatisation des cabines téléphoniques,
comme si par magie, le vandalisme allait miraculeusement cesser -,
Les premières télécartes illustrées
ont été introduites fin 1986 : France Telecom
a commandé des illustrations à 4 artistes, qui ont donné
naissance à 8 superbes et très rares télécartes
appelées "précurseurs".
Avant même les premières télécartes à
puce, le Minitel
se développe fortement et avec lui des idées d'applications
de commerce électronique.
Et, France Télécom a développé fin des
années 2000 une nouvelle Télécarte où
s'affichent des messages de la sécurité routière.
L'année 1988, est celle de la naissance
de la deuxième génération de visuels grand public
: les "cordons"
La télécarte pouvait s'acheter, notamment
dans les bureaux de tabac, les épiceries et chez les marchands
de journaux.
Pour un tarif compris entre 3 et 12,30 euros, il estait possible de
disposer d'une carte de 25, 50 ou 120 unités permettant de
passer des appels depuis une cabine téléphonique.
Souvent ornée d'un visuel promotionnel ou commercial, la télécarte
est également devenu un objet de collection de choix, traqué
par les collectionneurs. Une situation qui risque de s'accentuer un
peu plus du fait d'un nouveau motif de rareté.
Le troisième type de visuel grand public, les "600
agences", intervient quant à lui en 1990.
Octobre 1991 : la position ISO va remplace la position AFNOR
F222C Ski acrobatique puce SC7 - carte en plexiglas avec autocollant
au verso - première apparition de la puce SC7.
EnMai 1993 : apparition de la première
télécarte T2G
la première T2G offrait une promotion de 20% sur l'ensemble
des communications.
Enfin, en 1995 apparaît un nouveau composant :
la télécarte de deuxième génération
ou "T2G"
Novembre 1999 : le cap du milliard de télécartes
vendues est atteint. A cette occasion des lots sont à gagner
sur 5 visuels de 51 unités par grattage au verso de la carte.

F1018A Milliardième -Ford Ka - 51 unités dont 1 gratuite.
sommaire
Novembre 2013 La Télécarte
tire discrètement sa révérence chez Orange.
Vestige de l'ère des cabines téléphoniques, la
télécarte était sur le point de disparaître
en 2013 : Orange a annoncé qu'il ne distribuerait plus les
fameuses cartes à puce prépayées. Buralistes
et autres commerçants vivaient sur leurs stocks, qui devaient
durer jusqu'en 2016.
Avec le déclin progressif de la présence des cabines
téléphoniques en France - il n'en resta que quelques-unes
à Paris fin 2015 - et la multiplication des téléphones
mobiles, la télécarte a vu son intérêt
fortement décliner. A tel point qu'Orange a amorcé,
l'arrêt de la distribution de cette carte à puce chez
les grossistes en charge de sa commercialisation.
"Rappelons que pour l'année 2013, les cabines
téléphoniques ont représenté un coût
de 11,6 millions d'euros prélevé sur un budget total
de 30,7 millions d'euros alloués au service universel, selon
des chiffres avancés par l'ARCEP. Et cette somme devrait grimper
en 2014, atteignant les 12,3 millions d'euros. Des sommes importantes
sont en effet à prévoir pour rénover et entretenir
le parc actuel, particulièrement vieillissant".
De son côté, Orange a estimé « inopportune
une reconduction du service universel, compte tenu des investissements
qui seraient nécessaires ». De l'avis de Lorraine Lépine,
directrice de la publiphonie chez l'opérateur et dont les propos
sont rapportés par Le Parisien, « on a un parc qui est
obsolète et totalement disproportionné par rapport aux
usages qu'on constate aujourd'hui ».
L'annonce de l'arrêt de la commercialisation
des télécartes chez Orange remonte à novembre
2013, avec la publication d'un très court communiqué.
La date du 14 avril 2014 était alors fixée.
Orange n'a pas fait de nouvelles communications sur ce point. Néanmoins,
l'opérateur expliquait qu'il restait suffisamment de stock
aux commerçants pour vendre des télécartes jusqu'en
2016.
Depuis, les cartes disponibles sur le marché affichaient une
date de fin de validité renvoyant, au maximum, au 26 février
2016, date butoir après laquelle plus aucune télécarte
ne fonctionnera.
Pourtant, les publiphones n'étaient pas encore voués
à disparaître du mobilier urbain. La loi du service universel
des communications électroniques stipulait en effet que chaque
commune française devait être équipée a
minima d'une cabine. Pour les communes de plus de 1 000 habitants,
la présence de deux cabines était rendue obligatoire
de par la loi.
Ce service universel n'a plus été plus assuré
par Orange depuis le 14 février dernier. En effet, le mandat
qui faisait de l'opérateur le gestionnaire unique des publiphones
est arrivé à son terme. L'État doit depuis désigner
le nouveau fournisseur du service universel.
Enfin, l'opérateur souligna qu'il était possible d'utiliser
une carte bancaire ou un ticket téléphone pour utiliser
une cabine téléphonique : la télécarte
n'est donc pas le seul moyen de paiement.
Des centaines de millions de cartes ont été
distribuées, une nouvelle génération a vu le
jour avec une authentification cryptographique de la carte : nom de
code T2G (Télécarte 2ème génération).
Une famille dalgorithmes et de protocoles sur la rive droite
du Rhin avec les industriels allemands et une autre avec nos industriels,
ont augmenté la sécurité de ce type de carte
au final il sen distribuera en France un milliard.
Plus de service universel :
Concernant le service universel, destiné à fournir publiquement
un annuaire papier atait un service téléphonique de
renseignement dans les cabines téléphoniques, il n'a
plus été assuré par Orange depuis le 14 février.
« Les usages étant de plus en plus rares, il convient
aux autorités publiques de renouveler ou pas un appel d'offre
concernant le service universel dans les cabines après février
2014 » explique l'entreprise, qui n'exclut pas d'éventuellement
participer à une telle démarche.
La disparition des télécartes ne sonna
pas le glas de la présence des cabines téléphoniques
pour autant. Il y en avait encore plus de 100.000 en France. Il ny
avait pas de certitudes quelles soient toutes en état
de fonctionnement optimal. On pouvait toujours les utiliser grâce
au ticket téléphone, qui est une carte prépayée
avec code PIN. Certaines acceptent également les cartes bleus
ou les pièces de monnaies.
Alors que l'année 1997 marquait l'apogée
de la télécarte en France, son utilisation a depuis
décliné de 90 % en 10 ans et, une cabine téléphonique
servait en moyenne 3 minutes par jour.
« L'obsolescence du lecteur à carte et la baisse de fréquentation
des cabines téléphoniques ont motivé l'arrêt
de la commercialisation »
Le coupable de cette disparition annoncée est indiscutablement
la téléphonie
mobile.
Le début de la fin pour les cartes prépayées
avait commencé avec le Bi-Bop. Il sagissait dun
premier modèle de téléphonie mobile: le téléphone
1G ! Pour accéder au réseau il fallait rester immobile
dans un rayon daction assez serré autour de lantenne.
Ces antennes étaient disséminées dans les villes
pilotes quétaient Paris, Lille et Strasbourg ainsi que
leurs banlieues. Elles étaient repérables par une pancarte
ou un bandeau horizontal composé de 3 couleurs: bleu, blanc
et vert. Ces bandes colorées étaient disposées
sur les mobiliers urbains ou encore les conduits de gouttières
pour indiquer la présence des antennes. 0n peut encore fréquemment
voir ces signalisations car toutes ces marques nont pas été
enlevées..
sommaire
Télécarte objet de collections
Rapidement la télécarte a été
recherchée par les télécartophiles.
Le développement rapide à la fin des années 1980
de la télécarte et son usage comme support publicitaire
ont vite fait de la télécarte un objet de collection.
Ces collectionneurs de télécartes recherchent sans cesse
la perle rare tout comme leur cousin le numismate recherche les pièces
et le philatéliste examine attentivement les timbres postaux.
Les télécartes se distinguent en fonction de leur visuel,
mais également en fonction de leur tirage, de leur date dédition
(ou de réédition) et de leur puce. Certains modèles
édités en série très limités peuvent
avoir des valeurs marchandes très élevées. Cest
également le cas des cartes présentant des défauts
ou des erreurs
L'éditeur Infopuce publie le Phonecote, un guide annuel de
cotation des télécartes.
Cependant, il faut admettre que l'explosion de la téléphonie
mobile depuis la fin des années 90 a limité l'utilisation
de la télécarte dans les pays les plus développés
et donc l'essor de la télécartophilie. A contrario,
certains pays émergents voient une explosion de la demande
en télecarte.
Quelques télécartes de ma
collection
sommaire
En complément vu dans "la
science et la vie" de mars 1924.
DES CABINES TÉLÉPHONIQUES POUR LES PASSANTS VONT ÊTRE
ÉRIGÉES SUR LAVOIE PUBLIQUE: CEST LE « TAXIPHONE
»
Cest une heureuse innovation
que nous avions prévue, il y a plusieurs années
déjà, à la suite de notre étude
sur les appareils téléphoniques à paiement
préalable, à prépaicmcnt, connue il
est admis de dire dans la technique téléphonique.
Nous croyons inutile dinsister sur les avantages que
présente, pour le public, linstallation de
cabines téléphoniques sur les places fréquentées,
aux carrefours des grandes artères, dans les gares,
dans les stations principales du chemin de fer métropolitain,
voire à tous les coins de rues. Celles qui fonctionnent
actuellement à Paris sont très fréquentées
; elles recueillent une clientèle tout heureuse de
trouver, à portée de la main pour ainsi dire,
lappareil téléphonique logé jusquici
exclusivement dans les bureaux de poste. Le passant, certain
de rencontrer une cabine sur son chemin, appréciera
cette heureuse amélioration introduite dans le service
téléphonique, puisquelle lui évitera
de nombreux dérangements et des pertes de temps.
Rompant avec les traditions, l'administration a consenti
à traiter avec une compagnie privée (Compagnie
pour lexploilalion en France des téléphones
aulomaliques "Le Taxiphone") pour linstallation
de ces cabines. Elle en a surveillé jalousement la
construction, surtout pour ce qui concerne les appareils,
inventés par M. Hall ; ils ont été
mis au point, en vue de leur application en France, par
un inspecteur des téléphones, M. Roussotte,
sous la direction de M. Drouet, ingénieur en chef,
directeur des services téléphoniques de la
région de Paris.
Car, est-il nécessaire de rajouter que ladministration
sest attribué un droit exclusif de «regard»
sur les cabines nouvelles, droit qui comporte avant tout
celui de percevoir le prix des communications, laissant,
cependant, un léger pourcentage à la compagnie
dexploitation. Comme celle-ci nespère
pas distribuer de gros dividendes à ses actionnaires
sur cette recette, elle sest réservé
le droit, cpii lui a été également
reconnu, de transformer les cabines en « véhicules
» de publicité. Ne le regrettons pas trop,
puisque le public en bénéficie directement.
LES NOUVELLES CABINES DU « TAXIPIIONE » SONT
ÉQUIPÉES AVEC DES APPAREILS AUTOMATIQUES QUI
PERMETTENT AU PUBLIC DE DEMANDER LUI-MEME SES COMMUNICATIONS
TÉLÉPHONIQUES DANS LES BUREAUX CENTRAUX DE
LA CAPITALE. |
 |
Les nouvelles cabines de la compagnie du Taxiphone
se présentent à peu près sous la forme de
celles appartenant au type administratif,surtout lorsquelles
sont destinées à des lieux publics couverts. Les
autres, qui bientôt apparaîtront sur nos boulevards,
seront de véritables petits pavillons dune architecture
sobre et suffisamment élégante.
Habitués aux services des gérantes des cabines qui
nous invitent à entrer q uand le correspondant est au bout
de la ligne, nous allons nous trouver livrés à nos
pro-presmoyens. Or, nous sommes, en général, peu
patients ; les appareils pourraient devenir les victimes inconscientes
daccès de mauvaise humeur, si nous ne nous imposions
la tâche, qui na rien dingrat, dobserver
les recommandations placées sous nos yeux dans la cabine
même.
Car le téléphone automatique exige une manuvre
préalable à laquelle il convient de se soumettre
: le versement dune somme de 25 centimes sous la forme d'une
de nos pièces de monnaie de nickel et une attente généralement
de courte durée.
L«automate» demande donc le dépôt
préalable d'une pièce de 25 centimes dans la fente
percée dans la paroi supérieure. On décroche
ensuite le « combiné » (appareil à poignée
comportant le microphone devant lequel on parle et le récepteur
téléphonique) et on attend. La téléphoniste
répond ; cest le moment de lui donner le numéro
de l'abonné avec lequel on désire causer.
Les manuvres sarrêtent là jusquà
ce que le correspondant fasse entendre sa voix ; avant de lui
répondre, le « patient » devra appuyer sur
un bouton désigné par la lettre A pour effectuer
lui-même lencaissement de sa monnaie. Sil omettait
ce simple geste, le microphone resterait muet, de quelques objurgations
quon labreuve. Lencaissement opéré,
les deux correspondants sont libres de se dire tout ce qui leur
plaît.
Mais si le correspondant nest pas là, ou bien si
la ligne est occupée, le signal bien connu se fait entendre
et le demandeur, appuyant sur le bouton désigné
par la lettre B, rentre aussitôt en possession de sa pièce
de monnaie.
Donc, lautomate joue jeu loyal ; sil ne peut donner
satisfaction, il rend aussitôt largent.
Les premiers appareils ont été construits avec une
ouverture de réception unique au calibre des pièces
de 25 centimes ; les nouveaux modèles comportent une deuxième
fente, voisine de la première, destinée à
recevoir les pièces de 1 franc. Dès que ces derniers
seront en service, il sera alors possible de demander, depuis
les cabines .
 |
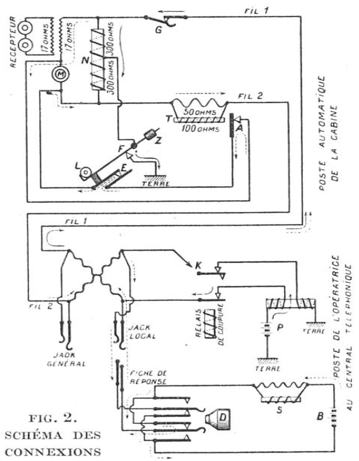
SCHÉMA DES CONNEXIONS ÉLECTRIQUES
INTÉRIEURES DU « TAXIPHONE »
L, pièce de 25 centimes arrêtée à
l'extrémité du levier terminé par le
contrepoids Z ;
F et E, contacts fermés par la chute de la pièce
et son arrêt en L ;
G, crochet du combiné ;
P, batterie alimentant le relais d'appel ;
B, batterie centrale; N, bobine de résistance;
M, microphone ;
A, armature du relais polarisé T ;
D, bouton mis à la disposition de Vopératrice
du central téléphonique pour mettre momentanément
le \microphone à la disposition de Vabonné
en inversant le sens du courant ;
S, relais de supervision: |
FIG. 3.-ENSEMBLE DES APPAREILS CONSTITUANT LE POSTE AUTOMATIQUE
dune CABINE « TAXIPIIONE » En haut, la
sonnerie; au milieu, le relais; en bas, la cage du mécanisme
à laquelle est accroché le « combiné
»
Avec la seule ouverture de 25 centimes, il est dailleurs
possible d'effectuer un versement de 1 franc ou plus, en
ajoutant autant de pièces de 25 centimes quil
est nécessaire, mais le procédé est
véritablement trop lent et peu pratique, sauf pour
les taxes de 50 et 75 centimes.
Nous étudierons plus loin la partie mécanique
; disons seulement ici que les ouvertures dintroduction
des pièces sont exactement calibrées aux dimensions
des pièces de 25 centimes et
de 1 franc. Si on introduisait des pièces tant soit
peu petites, elles feraient une chute en pénétrant
dans les glissières conductrices et seraient rejetées
au dehors. Chaque pièce ne parvient donc à
destination, ou plutôt en position dattente,
à lentrée de la caisse, que si elle
est de dimensions convenables.
Sur notre dessin schématique (fig. 2), nous voyons
la pièce arrêtée en L, à lextrémité
dun levier terminé par le contrepoids Z. Ce
levier, basculant sous le poids de la pièce, ferme
deux circuits par les contacts F et E. La butée E
ferme un court-circuit local et lautre va à
la terre. Si, dès que la pièce est arrêtée
sur lextrémité du levier, on enlève
le combiné de son crochet G, on ferme un circuit
constitué par le fil 1 de la ligne, la batterie dappel
P, le relais dappel et deux prises de terre, lune
à la cabine, lautre au multiple.
La téléphoniste du bureau central verra alors
la lampe dappel sallumer.
Mais le demandeur ne pourra se faire entendre de lopératrice
parce que son microphone a été mis en court-circuit,
ainsi quil est facile de le voir sur notre schéma
en suivant la direction des flèches en traits pleins.
Cest pourquoi, à lapparition de lappel,
la téléphoniste enfonce sa fiche de réponse
dans le jack spécial de la cabine correspondant à
la lampe (jack local) et envoie dans le circuit le courant
de la batterie h dont nos lecteurs suivront aisément
la marche indiquée par les flèches en traits
pointillés. On remarque cpie ce courant ne passe
pas par la bobine N, trop résistante (600 ohms) ;
il souvre un passage à travers un des enroulements
du récepteur téléphonique (17 ohms),
contourne le microphone M et, passant par larmature
A du relais polarisé T, fait retour à la batterie
B par le contacté1, la résistance de 50 ohms
placée aux bornes du relais T, le fil de ligne 2,
le ressort du jack local, la fiche de réponse et
enfin le groupe de ressorts qui vont nous permettre dinverser
le courant afin dintroduire en temps utile le microphone
dans le circuit.
Il faut, en effet, que la téléphoniste entende
la personne de la cabine : aussi lui donne-t-elle momentanément
le microphone en appuyant sur le bouton D, placé
en face delle, et qui, écartant les ressorts
quil commande, change le sens du courant dans le circuit.
Aussitôt, le relais polarisé T, qui navait
pas agi sous Faction du positif, attire son armature A et
ouvre le court-circuit du microphone. Comme il faut au courant
une issue, il ne peut que traverser la résistance
que lui opposait précédemment le microphone.
Le demandeur peut alors annoncer le numéro du poste
téléphonique de la personne avec laquelle
il désire causer.
Aussitôt, l'opératrice, abandonnant le bouton
D, rétablit le circuit normal dans le poste de la
cabine (flèches pointillées) qui permet au
demandeur dentendre la conversation entre la téléphoniste
et son correspondant, mais à laquelle il lui est
encore interdit de prendre part, puisque son microphone
est de nouveau mis en court-circuit.
Quand le correspondant est là, le demandeur, qui,
rappelons-le, a tout entendu, doit appuyer sur le bouton
dencaissement (indiqué par la lettre A sur
lappareil) pour se donner à lui-même
du courant de conversation dans son microphone, car la téléphoniste,
ayant effectué la liaison, ninterviendra plus.
|
FIG. 3
|
Laction dappuyer sur le bouton A
a pour effet douvrir la porte de la caisse à la
pièce de monnaie. En même temps, le levier de balance
sur lequel elle reposait se relève et les deux contacts
E et F souvrent. Le courant de la batterie centrale B
devra donc, de nouveau, passer par le microphone pour faire
retour à cette batterie par le deuxième fil de
ligne ; mais, cette fois, le court-circuit du microphone est
coupé en E.
La conversation engagée sarrêtera lorsque
lun des deux correspondants aura raccroché son
>, coupant ainsi la ligne 1, au moyen de son crochet de suspension
G. Le relais de supervision S allumera la lampe dite également
de supervision, qui, pour lopératrice, indique
la lin de conversation.
Supposons maintenant que la ligne de l'abonné demandé
ne soit pas libre. Le demandeur en est avisé aussitôt
par le signal spéeial que lon connaît. Il
ne lui reste plus quà raccrocher son récepteur
et à appuyer sur le bouton (indiqué par la lettre
B sur lappareil) pour rentrer en possession de sa pièce
de 25 centimes.
Quand on appuie sur le bouton B, on coupe en même temps
le circuit dappel, mais le contact F seul souvre
: E reste donc établi jusquà ce quune
nouvelle demande suivie delict ait eu lieu. Linterruption
du circuit a pour but de provoquer lallumage fugitif de
la lampe de supervision afin (pie la téléphoniste
]misse contrôler aussitôt le remboursement.
On remarque, sur notre schéma, une rupture de communication
en K. Elle a été voulue parce que, si elle nexistait
pas, l'occupant de la cabine serait en relation permanente avec
la téléphoniste et, par conséquent, avec
son correspondant, sans le secours de la pièce de 25
centimes, solution par trop élégante, on en conviendra
sans peine.
Nous avons dit plus haut, que lon pouvait ajouter une
ou plusieurs pièces de 25 centimes pour obtenir une communication
interurbaine. Lorsque le cas se présente, la téléphoniste,
avant toute chose, invite le demandeur à verser les pièces
supplémentaires ; celles-ci frappent sur un timbre en
sortant de la glissière de réception et lopératrice
peut compter le nombre de coups grâce à un petit
microphone auxiliaire installé dans le même circuit
que le microphone principal, mais qui nagit (pie sous
laction du timbre. La téléphoniste ayant
ainsi contrôlé la recette peut appeler ou faire
appeler le poste demandé. Toutes les opérations
se succèdent comme nous lavons décrit.
Les pièces de 1 franc, qui sont reçues dans une
glissière voisine de la précédente, frappent
sur un gong dont le son est très différent de
celui du timbre des pièces de 25 centimes. Lopéi'atrice
ne peut donc commettre derreur à ce sujet.
Létude de la partie mécanique du taxiphone
sera moins technique que celle des circuits. Nous allons, dailleurs,
en indiquer simplement les organes essentiels.
Les lettres portées sur cette photographie indiquent
les mêmes pièces que celles qui figurent sur le
schéma 6.
La fenêtre E (fig. 4 et 6), par laquelle on introduit
la pièce de monnaie, se prolonge par une glissière
oblique I jusquau bord du timbre W que la pièce
frappe avant de tomber dans une glissière verticale.
Celle-ci, dissimulée derrière la plaque S, mobile
sur laxe J, est solidaire de la glissière qui épouse
par conséquent toutes ses oscillations.
La pièce ne pénètre dans lappareil
que sous laction dun léger effort destiné
à faire basculer le système de leviers I1D. Dans
ce but, une goupille C soppose au passage et ne cède
que sous leffort, en se portant vers la droite. II est
ainsi entraîné. En même temps, un talon K,
fixé sur un demi-cercle également solidaire de
II, vient appuyer contre le ressort R pour le porter vers la
gauche et mettre ainsi le microphone en court-circuit.
Nous savons déjà, par les explications précédentes,
que la pièce est en attente tant (pie lon na
pas appuyé sur lun ou lautre des boutons
A et B. Elle reste dans cette position à lextrémité
recourbée du levier A", mobile autour de laxe
N, et dont le contrepoids V règle la descente. On la
voit nettement dans lencoche Y pratiquée dans la
base de la plaque mobile S. Pour la faire tomber dans la caisse,
il sullit, avons-nous dit, dappuyer sur le bouton A. Cette
pression fait basculer les deux petits leviers Z qui impriment
un commencement de rotation au levier P, lequel, par un autre
petit levier L, agit sur un ressort M pour faire osciller brusquement
la plaque S. Celle-ci entraîne donc la glissière
vers la gauche et la pièce, abandonnant l'extrémité
recourbée du levier X, tombe dans la caisse placée
sous lappareil. Cest à ce moment que le microphone
est mis en circuit pour permettre la conversation par louverture
des ressorts du contact O commandée par le levier X,
lextrémité de X sétant relevée
flans lencoche Y de la plaque S ; celle-ci revenue à
sa position de repos dès que lon a cessé
dappuyer sur le bouton A.
les ressorts connecteurs O à leur position de repos.
Tout cela est relativement simple.
Ajoutons que la tige coudée F est destinée à
la commande dun compteur des unités de conversation
et (pie, derrière lappareil, existe un second timbre,
ou plus exactement un gong, sur lequel frappent les pièces
de 1 franc dont la chute doit être également entendue
par la téléphoniste. Les deux gonds G G servent
à fixer tout le mécanisme électrique.

L'appareil lui-même a tourné sur ses deux gonds
et montre la face opposée êt celle que représente
notre figure 4. La liaison entre les connexions fixes (répartiteur
) et, les connexions fixées sur F arrière du mécanisme
connexion s'effectue simplement par contact de ces plots sur
des ressorts lames, non visibles sur notre photographie, en
rentrant par rota'ion le mécanisme dans la boite.
Si labonné demandé nest pas libre,
loccupant de la cabine doit appuyer sur le bouton B pour
se faire rembourser. Dans ce cas, lextrémité
de B commande le levier coudé U dont la grande branche
se dégage du talon de S sur lequel elle appuie normalement
et permet à cette plaque, toujours soumise à laction
du ressort M, de porter lextrémité de la
glissière vers la droite. La pièce quitte encore
lextrémité coudée de X, mais tombe,
cette fois, dans louverture de sortie où lintéressé
peut la reprendre. Le frein à air comprimé. Q,
qui a été mis en action en même temps, ramène
lentement à lintérieur de la boîte
; il tourne sur eux comme une porte et peut être enlevé
sans effort et sans outil, si on doit le remplacer.
La description (pie nous venons de faire du taxiphone est celle
dun poste à batterie centrale intégrale,
ne comportant, par conséquent, aucune pile dappel
ni de conversation, le courant étant fourni par le central
téléphonique. On le transforme aisément
en poste à batterie locale en vue de son utilisation
dans les moyennes et les petites localités. Enfin, le
taxiphone peut encore se combiner avec un dispositif dappel
à cadran pour être utilisé sur les réseaux
desservis par un central automatique.
 |
FIG. 6. - PARTIE MÉCANIQUE
DU «TAXIPHONE»
E, fenêtre dintroduction des pièces de
monnaie ; I, glissière ; W, timbre ; S, pièce
oscillant autour de J et portant la glissière verticale
dans laquelle tombe la pièce de monnaie ; H D, système
de leviers basculant lorsque Von introduit la pièce
de monnaie dans ia fenêtre E, en forçant sur
la goupille C ; K, talon entraîné par le mouvement
de bascule qui chasse le ressort R vers la gauche pour mettre
le microphone en court-circuit ; Y, encoche pratiquée
dans S pour recevoir Vextrémité du levier
X sur laquelle la pièce de monnaie reste en position
d attente; A, bouton d encaissement qui fait basculer les
deux leviers Z ; le levier P tourne légèrement,
entraîne le levier L qui appuie sur le ressort M pour
faire osciller la pièce S, laquelle entraîne
la glissière verticale vers la gauche pour faire
tomber la pièce de monnaie dans la caisse. En même
temps, les ressorts O, commandés par le levier X
dont Vextrémité s'est relevée dans
Vencoche Y (la pièce S est revenue à la position
verticale après la chute de la. pièce de monnaie)
mettent le microphone en circuit pour la conversation.
B, boulon de remboursement de la monnaie ; U U, levier coudé
actionné par le boulon B, qui dégage S. (Cette
pièce, sous l'action du ressort M, oscille, vers
la droite cl laisse tomber la pièce de monnaie dans
la sébille de remboursement). Q, frein à air
qui ramène lentement les position de repos; F, tige
coudée commandant le compteur (cette tige est solidaire
oscillation du levier X ; G G, gonds supportant toute la
partie mécanique du « Taxi-phone » autour
desquels elle tourne. |
On voit que lappareil se prête à
toutes les combinaisons possibles quil était, dailleurs,
indispensable de remplir en vue de sa mise en service sur tous
les réseaux actuels. Le système d'exploitation de
ces réseaux peut même être modifié sans
que le Taxiphone en ait à supporter le moindre inconvénient,
sans imposer létude d'une nouvelle manuvre
au public.
L. Fournier |
sommaire
Une approche sociotechnique de l'histoire du telephone public
( Par Fanny Carmagnat)
Les téléphones placés dans des
cabines situées dans des lieux ouverts ont connu diverses désignations
au cours de leurs quelques 120 années dexistence. On
a utilisé tour à tour ou simultanément les termes
de : téléphone public, cabine téléphonique,
téléphone automatique, téléphone à
prépaiement, Taxiphone, Publiphone. Cette abondance de termes
manifeste une hésitation sur lidentité de ce que
nous appellerons « téléphone public », privilégiant
dans notre définition une entrée par les usages. Le
téléphone public sera pour nous celui qui, situé
dans les lieux publics, est offert à lusage public. Mais
cet usage est dépendant dune transformation technique
de lobjet par rapport au simple appareil à communiquer
à distance par la voix, puisque lobtention dune
communication est subordonnée à son paiement préalable.
Le téléphone public est-il une simple déclinaison
du téléphone « ordinaire » ou un nouvel
objet technique ? Létude des conditions de naissance
du téléphone public, sa « genèse »
selon la formule de Gilbert Simondon, apparaît de nature à
répondre à cette question.
GENESE ET VARIATIONS DUN OBJET TECHNIQUE
La notion de concrétisation est sans doute lun des apports
essentiels de Gilbert Simondon, à la connaissance de la technique
puisquelle est au cur de sa conception de la vie de lobjet
technique. Marquant la genèse de lobjet technique, elle
constitue sa première évolution vers une intégration
de ses fonctions, une économie des échanges qui lui
donne sa meilleure cohérence interne. Cest précisément
cette notion que nous allons examiner à travers lévolution
des tout premiers appareils à communiquer dans les lieux publics.
Le processus de singularisation du téléphone public
Linstallation des téléphones dans
les lieux publics a suivi de près leur utilisation dans les
entreprises et chez les particuliers, ce qui a immédiatement
contraint lappareil originel à se modifier pour répondre
à ces deux exigences qui vont créer le téléphone
public en tant quobjet technique : lobligation de présenter
un système de paiement intégré à la machine
et celui de sa résistance particulière à la fois
aux intempéries et aux éventuelles agressions des utilisateurs.
A la fonction première de communication sest ajoutée
celle de paiement immédiat et intégré à
la machine, cest-à-dire une caisse recevant pièces
ou jetons, ainsi quune qualité de résistance particulière
aux agressions. Enfin lobligation de protéger de la pluie
lappareil et les utilisateurs a donné naissance aux habitacles
fermés. Lobjet originel a donc été assez
profondément modifié. Lautomate destiné
à permettre la transaction financière a complexifié
lappareil et en a alourdi la forme. Lhabitacle est devenu
un édicule urbain suffisamment visible pour quil suffise
à sa propre signalisation.
Ainsi, ces nécessités découlant directement de
lutilisation des téléphones dans les lieux publics
ont suffisamment influé sur lidentité technique
de la machine pour quon puisse dire quelles ont donné
naissance à un projet puis à un objet technique nouveau.
Pour mettre en évidence ce processus de singularisation
dun objet technique se distinguant des téléphones
privés, sous leffet des conditions de son utilisation
dans les lieux publics, il nous faut remonter aux origines, lorsque
sest posé le problème de lutilisation autonome
dun téléphone dépourvu de tout système
de paiement intégré. Jusqualors, les seuls téléphones
à usage public étaient placés dans les bureaux
de Poste et nécessitaient la médiation de la «
gestionnaire», une employée des PTT qui devait à
la fois recevoir les demandes de communication des clients, appeler
pour eux les destinataires, répartir les clients dans les cabines,
surveiller les fins de communication, veiller à ce que personne
ne parte sans payer, rendre la monnaie. Ces communications, doublement
médiatisées par la machine et par lemployée
des PTT, ne pouvaient être obtenues quaux heures douverture
des bureaux de Poste et dès avant la guerre de 1914, ladministration
sest préoccupée de trouver une réponse
au besoin de téléphone public en utilisation autonome
et, en tout premier lieu, de régler le problème du paiement
de la communication.
Une première solution, rapidement abandonnée,
a été de sen remettre à lhonnêteté
des usagers en plaçant à côté de lappareil
un tronc qui devait recevoir le prix des communications. Il sagit
là, observons-le, du point extrême de la non-intégration
de deux fonctions (communication et rétribution de lopérateur)
se traduisant par une simple juxtaposition de deux appareils aux fonctionnalités
complémentaires. On peut imaginer lexistence dune
communauté sociale composée dindividus suffisamment
honnêtes et soucieux des lois pour quil ne soit pas nécessaire
daller plus loin que le tronc à côté du
téléphone. Mais force est de constater que le degré,
insuffisant, de responsabilité de la population, un élément
éminemment social ou culturel, a imposé un procédé
technique liant lobtention dune communication au paiement
dune redevance, ce qui a finalement donné naissance au
téléphone public en tant quobjet technique.
Le premier stade de lintégration des
deux fonctions a été conçu par lingénieur
anglais F.W. Hall qui a relié un encaisseur au téléphone.
Il ne sagissait en loccurrence que dun lien assez
fragile, un fil électrique, qui subordonnait lobtention
dune communication à une opération de paiement.
Les deux parties de lappareil (mais ne sagissait-il pas
encore là de deux appareils séparés ?), étaient
visiblement bien distinctes, bien que reliées par un mince
fil. Plus tard, en 1924, un inspecteur des téléphones
français, M. Roussotte a amélioré le dispositif
en intégrant lencaisseur et le téléphone
dans un même boîtier. On a, grâce à cette
intégration, un premier degré de « concrétisation
» dun objet technique selon la vision de Gilbert Simondon,
objet qui a évolué à partir de « labstraction
» que constituait la juxtaposition de deux fonctionnalités
qui ninteragissaient pas lune avec lautre. Dans
cette logique, le téléphone « abstrait »
est le téléphone privé, doté du seul pouvoir
de faire communiquer à distance, et sa concrétisation
est issue de la rencontre avec une réalité du terrain,
son utilisation dans le cas concret dun site non protégé
et dune absence de médiation humaine. Simondon explique
que lobjet abstrait « analytique » est composé
déléments qui sont des systèmes complets
seulement juxtaposés les uns aux autres, ce qui fragilise lensemble.
Dans le cas qui nous intéresse, le premier téléphone
public Hall/Roussotte peut être considéré comme
une étape imparfaite de concrétisation puisquil
sagit de deux systèmes juxtaposés : un système
communiquant et un système de paiement. Lorsque le téléphone
public a parachevé la synthèse de ces deux fonctions
par lintégration de deux systèmes, il a atteint
cette concrétisation qui a donné naissance à
un nouvel objet technique. Les fonctions de paiement seront alors
si bien liées aux fonctions de communication quon ne
pourra plus déterminer quels éléments de lensemble
remplissent chacun de ces deux rôles, désormais étroitement
imbriqués. Nous pouvons donc suivre Simondon qui établit
une hiérarchie dans le niveau de concrétisation des
objets techniques.
Comment et pour quelle raison sopère
cette concrétisation, qui nous est présentée
comme un progrès de lobjet technique ? Le raisonnement
de Simondon semble sorienter dans le sens dune personnalisation
de lobjet technique auquel il prête une direction, sinon
une volonté. On constate dailleurs quil abandonne
très vite le terme « dobjet » pour celui
d« individu technique ». Le processus dindividuation
de la technique est, selon lui, rendu possible par « la récurrence
de causalité dans un milieu que lêtre technique
crée autour de lui-même et qui le conditionne comme il
est conditionné par lui. Ce milieu, à la fois technique
et naturel, peut être nommé milieu associé ».
Simondon ne dit certes pas que cet « individu technique »
est autonome et indépendant de lhomme et sa critique
de la pensée cybernétique est une réfutation
de lidée quil pourrait y avoir identité
sur ce point entre êtres vivants et êtres techniques.
Mais il suggère quil puisse exister une logique technique
intrinsèque qui dirigerait lévolution de lobjet
dans le sens dune plus grande intégration de ses différents
éléments, dune interrelation de ses fonctionnalités,
dune économie des échanges.
Dans le cas du téléphone situé
dans les lieux publics, si lobjet technique a bien évolué
dans le sens indiqué par G. Simondon, cest plutôt
sous la pression de lusage quà cause dun
impératif interne à la technique. Après lintégration
dans lappareil téléphonique dun système
de paiement, une autre nécessité sest imposée
aux promoteurs du téléphone public, découlant
directement de sa localisation dans des lieux non protégés.
En sortant des bureaux de Poste, le téléphone se trouve
privé de laide de lopératrice et livré
aux dangers de lextérieur. Dune part, lusager
reste seul face à la machine pour le meilleur, une communication
obtenue, ou pour le pire, léchec dans lutilisation,
un usage frauduleux ou même une tentative de destruction. Dautre
part, lorsquil est situé à lextérieur,
le téléphone public ne peut être utilisé
que sil est protégé des intempéries. Dès
lors, pour accéder à lexistence, cet objet technique
a été amené à se différencier encore
davantage du téléphone privé puisquil est
désormais composé de trois éléments :
un téléphone pour la partie communication, un système
de paiement intégré, et enfin un habitacle. Il faut
ajouter que ces divers éléments doivent avoir des qualités
particulières de solidité pour résister aux attaques
humaines et climatiques. Ces trois éléments (un téléphone,
un système de paiement, un habitacle), auxquels sajoute
cette qualité (la solidité) serviront de socle, de façon
durable, à lidentité technique du téléphone
public et seront en même temps les points-clés de son
existence sociale.
Ainsi, les nombreux modèles de téléphones
publics qui se sont succédé depuis celui de Hall, malgré
leur grande variété de conception, présentent-ils
ces mêmes caractères et leurs différences ne sont-elles
que des réponses particulières, propres à chaque
contexte, correspondant à ces exigences fondamentales que sont
la communication, la sécurité et le paiement. Lhabitacle,
par exemple, qui répond à lexigence de sécurité
(protection des appareils) autant quau confort de lutilisateur
a pu être une cabine en bois et verre complètement fermée,
un simple chapeau posé sur un pied ou accroché à
un mur dans les lieux semi-protégés, où même
être complètement absent dans les lieux fermés,
comme dans le cas des « pointphones » posés sur
le comptoir de certains cafés. La sécurité de
ce dernier appareil est alors assurée, mais pas le confort
des utilisateurs qui doivent téléphoner dans le bruit
et en public. Quant à la fonction de communication remplie
par lappareil téléphonique lui-même, elle
a surtout été modifiée en même temps que
le réseau se perfectionnait en assurant automatiquement les
tâches auparavant dévolues à des opérateurs
(plus souvent des opératrices).
Le téléphone a matérialisé ces évolutions
par la disparition de la manivelle et lintroduction du cadran,
par lutilisation puis labandon du bouton poussoir. Le
tableau 1 met en évidence la chronologie de lévolution
technique des téléphones publics et ses liens avec son
histoire sociale.
Si lon prend lévolution majeure
que représente, dans la décennie 1980, labandon
des appareils à pièces pour ceux fonctionnant avec les
cartes, lélément déterminant ce changement
apparaît bien éminemment social. Rappelons, quen
1970, le plan de rattrapage de léquipement téléphonique
en France sest traduit, concernant le téléphone
public, par la multiplication de cabines dans les lieux ouverts alors
quelles nexistaient pratiquement jusqualors que
dans les cafés, les bureaux de Poste ou les gares. La conséquence
a été une forte utilisation de ces cabines dont les
appareils se remplissaient rapidement de pièces de monnaie
mais aussi une vague sans précédent de vols de caissettes,
bris dappareils et donc un nombre élevé de cabines
hors détat de fonctionner. Le téléphone
à carte est alors apparu capable dêtre la solution
technique à ces dysfonctionnements. Cest bien lextension
et la forte utilisation du parc des cabines téléphoniques
qui a, indirectement, provoqué leur modification et non un
défaut technique intrinsèque à lappareil
qui troublerait son bon fonctionnement. Ces modifications ne doivent
rien non plus à la propension quaurait cet objet technique
à tendre vers un idéal de simplicité ou de «
beauté » technique tel que le suggère Simondon,
mais à des considérations dexploitation dun
parc trop important pour quon se satisfasse dun mode de
gestion artisanal.
Les variations dun objet technique
Le téléphone public, et notamment son
terminal apparaissent comme un appareil continuellement modifié.
Si lidentité technique du téléphone public
sest bien fixée autour des éléments principaux
qui le caractérisent : un système de communication à
paiement préalable, un habitacle, le tout devant résister
aux intempéries ou aux agressions, chacun de ces éléments
sest modifié, a évolué tout en conservant
à lensemble les caractères essentiels qui lui
donnent son identité. Le téléphone public sest
constitué autour de différentes fonctions (prépaiement,
communication) correspondant à des ensembles distincts déléments
techniques pouvant être modifiés séparément
les uns des autres.
REFLEXION SUR LA NOTION DE FILIATION TECHNIQUE
La notion de filiation dans la succession des appareils
téléphonique à prépaiement est particulièrement
présente à lesprit des ingénieurs et techniciens
qui, lorsquils doivent faire une présentation des produits
dans une publication destinée au grand public, allient les
noms de références techniques à une abondance
de termes empruntés à la métaphore familiale.
On relève ainsi dans les pages X à XXVII du dossier
« Publiphone » de la revue interne DAAT Info les expressions
suivantes : « les descendants directs », « les derniers
de la lignée » (modèles urbains type 100,200 et
300), « les faux jumeaux » (modèle 900 et modèle
820), « le costaud de la famille » (modèle TE 80),
« un demi-frère » (Publiphone de salle de presse),
« deux frères de lait » (Publiphone TGV et Publiphone
à carte magnétique), « un cousin » (téléphone
dintérieur à carte), etc. Ainsi les ingénieurs
ont-ils enrichi la notion de filiation technique qui nest plus
comprise comme une évolution linéaire des modèles
selon une progression descendante (père, fils, petit-fils),
mais évoquent une diversification des modèles coexistant
au même moment et entretiennent une relation de parenté
horizontale (frère, demi-frère, cousin).
Ladministration prend bien soin de marquer dans ses catalogues
de produits lexistence de ces relations de parenté. Malgré
de nombreuses modifications, un appareil garde son nom de modèle,
son numéro de référence complet nétant
modifié que de quelques chiffres à chaque modification.
Ainsi en est-il du « Modèle urbain type 100 »,
construit par la SAFAA, qui a été utilisé de
1957 à 1976 et qui a gardé sa référence
bien que certains de ces éléments aient été
remplacés par des équivalents plus robustes.
Il sagit là de modifications dappareils de la même
gamme (appareils à pièces) et non du passage dune
gamme à lautre, comme le serait ladoption dun
modèle à carte. Mais laccélération
du rythme de ces modifications laisse présager lessoufflement
de la technologie employée et lavènement probable
dune autre technologie et dune autre gamme. En effet,
ces modifications qui ont été produites en rafales sur
une période de deux ans, vont toutes dans le sens dune
sécurisation, dun renforcement de lappareil.
Le dossier technique de la DAAT en donne la liste
:
carter en tôle mécano soudée au lieu dalliage
aluminium, renforcement de la caisse et de la porte de caisse (à
partir de 1972/1973), modification du sélecteur de pièces
(1974/1976), encastrement du cadran dappel (1975), plaque antipoussière
(1975), disque métallique à trous borgnes (1975),
nouvel embout, nouveau flexible (1975).
Le modèle urbain type 100 a servi pendant dix-sept
ans, sans quon éprouve le besoin de le modifier, la montée
du vandalisme dans les années 1970 provoquant la vague de modifications
que lon vient de citer.
Concernant la succession des modèles dappareils, la métaphore
de la filiation apparaît tout à fait impropre. Il ny
a pas en effet continuité entre évolution biologique
et évolution technique, et ceci non pas seulement à
cause dune différenciation radicale entre le vivant et
linanimé, mais à cause de lextrême
complexité de nos sociétés. Les raisons qui font
quun objet se transforme, ou plutôt, est transformé
par ses concepteurs appartiennent à des champs divers. Des
critères réglementaires, sociaux, politiques, etc. interviennent,
pour orienter le changement technique au même titre que les
lois de la physique et les progrès de technologies. Sil
a fallu dix-sept ans pour que le téléphone public urbain
évolue, cest bien parce que ce nest pas la technique
qui mène lévolution en une sorte de darwinisme
technologique mais pour des raisons quil faut trouver en dehors
delle. Le Modèle 100 ne donne pas naissance au modèle
101 comme on lexprime improprement, mais le modèle 101
a été construit par des ingénieurs qui ont modifié
le modèle 100 parce que celui-ci ne pouvait pas résister
à de nouvelles conditions dusage.
Gilbert Simondon postule lexistence dune
perfectibilité intrinsèque de lobjet technique
qui tendrait, modification après modification vers un idéal
de « beauté » et de simplicité technique.
Mais à la différence de lobjet artistique, on
ne fera pas une uvre technique pour faire une uvre technique.
Les ingénieurs ont peut-être soupçonné
depuis longtemps quil pourrait y avoir un téléphone
public « techniquement meilleur » que lurbain 100
mais tant que ce dernier remplit correctement son office, ils ne trouveront
personne pour les autoriser à passer du temps sur la conception
dun nouvel appareil.
LE MODELE SOCIOTECHNIQUE EN QUESTION
Le téléphone public nest pas seulement
une technique, une modalité spécifique du réseau
téléphonique associée à un type de terminal.
Il rassemble également des éléments non techniques
qui, comme les technologies employées, ont évolué
chaque fois que le système sest trouvé en situation
de crise. Ses modes de gestion et dexploitation, les règlements
internes ou les articles de lois régissant sa diffusion sur
le territoire, ses usages prescrits ou effectifs, les débats
autour de la forme et de la situation de ses habitacles dans les villes,
sa place dans limaginaire collectif, sont autant déléments
qui interagissent les uns sur les autres et sur ses caractéristiques
techniques, au point de permettre plus une réponse univoque
à la question de la causalité sociale ou technique de
chaque évolution.
La réflexion théorique sur la technique
où se sont illustrés les historiens ou technologues
Maurice Daumas, Bertrand Gille, Gilbert Simondon et Jacques Lafitte,
sest enrichie depuis les années 1980 de nouveaux courants,
que lon désigne sous les appellations de socioconstructivisme,
nouvelle histoire des techniques ou sociologie des techniques. Refusant
aussi bien un déterminisme technique de la société
quun déterminisme social de la technique, la nouvelle
histoire des techniques voit dans linnovation et dans lévolution
des systèmes techniques un processus dynamique où éléments
techniques et non techniques, humains et non humains interagissent
les uns sur les autres en se modifiant eux-mêmes. Dun
point de vue méthodologique, ce courant appelle les analyses
microhistoriques plus que les vastes fresques comparatives et le contexte
social, culturel, politique, etc. nest pris en compte que lorsquil
se manifeste à travers le comportement, les débats,
les choix stratégiques des acteurs.
Cest à nen pas douter le système
explicatif le plus capable de rendre compte de lévolution
dun système sociotechnique complexe, tel que nous avons
identifié le téléphone public. Le grand mérite
de Gilbert Simondon a été de comprendre intimement les
aspects techniques dun système et leur évolution
interne. Mais, sil nignorait pas limportance de
« lenvironnement » des technologies, son étude
sest peu attachée à ces déterminants sociaux,
politiques, économiques ou organisationnels. Quant à
Bertrand Gille, son système explicatif qui sattache à
déterminer, sur de longues périodes, des correspondances
entre les connaissances techniques disponibles dune même
époque, donne peu de place aux composantes sociales de lhistoire
des techniques, même sil nignore pas leur importance.
Toutefois, malgré le grand intérêt
que nous trouvons à la nouvelle sociohistoire des techniques,
nous ne pensons pas que la vaste culture technique des historiens
de la période antérieure (Daumas, Gille) est totalement
inutile et inapte à rendre compte du réel. Nous suivrons
sur ce point Antoine Picon qui souligne laspect lacunaire des
productions du courant de la sociohistoire des techniques. Les microrécits
focalisés sur quelques phases particulières de lévolution
dun système sociotechnique, sils permettent de
comprendre finement les interactions entre tous les acteurs à
quelques moments précis, notamment ceux de crise ou de changement,
laissent dans lombre la plupart des autres périodes de
la même technique, souvent les périodes déquilibre,
et ignorent les apports des analyses de la longue durée.
Une remarque sur un jugement dun courant théorique
qui paraît comme une sorte de leitmotiv dans la réflexion
sur la technique, au point dapparaître comme un lieu commun.
On observe que, depuis que les sciences sociales sintéressent
à la technologie, la notion de déterminisme technique
est présentée comme un repoussoir absolu, plus encore
que celui qui rejette son symétrique, le déterminisme
social de la technique. Les étudiants sont priés de
traquer dans leurs raisonnements toute trace de cette tare conceptuelle,
marque dune pensée naïve. Il y a de la part des
sociologues de la technique, une grande méfiance, sinon un
véritable a priori contre une prise en compte des effets structurants
de la technique considérés comme antinomiques avec ceux
des logiques sociales, seules à pouvoir légitimement
être étudiées. On peut se demander si une telle
vigueur dans lopposition ne révèle pas une défense
contre une idée dautant plus dangereuse quelle
est proche du « bon sens » et vient spontanément
à lesprit, y compris à celui des sociologues eux-mêmes.
Lattirance même pour la notion expliquerait la force de
son rejet. Une autre explication tiendrait dans la position des sociologues
eux-mêmes qui ne peuvent que refuser une approche qui donne
si peu dimportance à leur terrain détude,
la société, les usages, et trop à celui des ingénieurs,
la technique, sur lequel ils ont moins de compétence. Il ny
a certes pas que des mauvaises raisons au rejet du déterminisme
technique. Il faut noter également les nombreux exemples dinventions
nayant pas rencontré le succès prévu, qui
relativisent le poids déterminant des techniques. Mais le danger
dun rejet a priori est celui dune amputation de lanalyse
constructiviste de sa composante technique, de crainte de lui donner
trop dimportance face aux forces de la société.
Ajoutons toutefois que les écrits plus récents
du courant de la sociologie des techniques évitent ces
analyses par trop stéréotypées.
Car le problème est quon a du mal à trouver un
seul théoricien se présentant comme un pur déterministe
technique. Bertrand Gille ou Jacques Lafitte, qui sont en France peut-être
les plus proches dun éventuel « courant déterministe
» nignorent pas les interactions entre la technique et
son environnement, même sils nen font pas leur sujet
détude. La nécessité pour un nouveau courant
théorique de se positionner contre ses prédécesseurs
peut entraîner des jugements excessifs, comme celui qui rejette
comme sans intérêt les uvres monumentales des historiens
de la technique de la longue période et placent au pinacle
des études « micro » de type ethnologique posant
pourtant le problème de la généralisation des
analyses quelles produisent.
Les travaux de Thomas Hughes, qui appartient à
la nouvelle sociohistoire des techniques, ne sont pas pour autant
des microrécits présentant laspect lacunaire évoqué
par A. Picon, et létude quil a produite sur lélectrification
de lAmérique, ainsi que le modèle théorique
quil a forgé à partir de ce cas, suscite, à
juste titre, un grand intérêt chez les sociologues et
historiens des techniques.
Dans un article daté de 1998, Thomas Hughes
explique que son modèle rend particulièrement bien
compte de lhistoire dune technologie en constante évolution
et convient à lobservation de laction des innovateurs
et des développeurs dans leurs démêlés
avec les obstacles qui sopposent à leurs desseins. Bien
que lon puisse a priori hésiter à identifier le
téléphone public comme un « macrosystème
technique » autonome en raison de sa dépendance
envers le réseau téléphonique, lanalyse
que Hughes a produite à partir de lhistoire de lélectrification
de lAmérique apparaît propre à inspirer
la réflexion sur notre sujet. La nature réticulaire
du téléphone, le poids des contraintes de tous ordres
qui ont orienté son évolution, lidentifient à
un de ces systèmes industriels qui sont autant de « tissus
sans couture » composés déléments
hétérogènes, suivant la métaphore employée
par Thomas Hughes. Si le réseau est un tissu sans couture,
on peut sinterroger sur ses dimensions, et se demander où
se situent ses interconnexions avec dautres réseaux.
Le modèle de Hughes est très opératoire mais
pose pourtant un problème méthodologique. Limage
du réseau permet de prendre en compte de multiples causalités
ou interrelations réciproques dans la vie dune innovation.
Mais où va-t-on arrêter la chaînes des causalités
? Comment circonscrire un objet danalyse dont les dimensions
sont celles dune chaîne de réseaux ? Est-il possible
de tenir à la fois le proche et le lointain, le macro- et le
micro-, le technique et le social ?
Reverse salient et momenta du téléphone public
La vitalité dune approche théorique originale
ne se mesure jamais aussi bien que lorsquon la soumet à
dautres objets que ceux qui ont été loccasion
de son élaboration. Pour approcher les concepts de la sociohistoire
des macrosystèmes techniques tels quils ont été
formulés par Thomas Hughes, lhistoire du téléphone
public servira en quelque sorte de « terrain dexpérimentation
théorique ».
Si le modèle proposé par Hughes pour
décrire lévolution des systèmes sociotechniques
se présente comme une classique courbe en S, son originalité
réside dans la description des phases de crise (reverse salient)
et des périodes déquilibre (momentum) qui se succèdent
et de la conception de linnovation qui en résulte.
Hughes utilise limage du reverse salient, que
lon traduit par « saillant inversé » (Alain
Gras) ou « saillant rentrant » (Madeleine Akrich), pour
décrire les épisodes critiques de la vie dune
innovation, les moments où certains éléments
sétant jusqualors combinés sans problèmes
aux autres pour faire fonctionner le système, connaissent un
changement de nature à en menacer le développement.
Hughes estime que limage du reverse salient permet déviter
deux écueils :
celui de la seule prise en compte des éléments proprement
techniques dans la vie dune innovation ;
celui dévoquer des situations de blocages et des rigidités
plutôt que les phénomènes dévolution
des ensembles sociotechniques.
Le momentum est la période déquilibre
entre les éléments hétérogènes
composant un système sociotechnique. Cest une phase dincertitude
où linnovation exposée à lenvironnement
social peut se développer, évoluer ou bien disparaître.
Nous avons choisi de décrire une de ces phases déquilibre
et de crise parmi celles que nous avons identifiées dans lhistoire
du téléphone public.
LEQUILIBRE : 1920-1950
Lépoque des téléphones
publics à jetons des années 1920 à 1950 est,
de fait, une phase de momentum, déquilibre entre les
éléments techniques ou sociaux qui composent ce secteur
de la téléphonie. Toutefois cet équilibre contient,
en germe, les éléments de la crise future. Cette situation
déquilibre associe, outre la technologie mise au point
par W.F. Hall et ses successeurs, une pratique réduite du téléphone
dans la société française, avec notamment une
demande assez faible de communications interurbaines et internationales,
un consensus entre les pouvoirs publics locaux et les débitants
de boissons des villes pour que ces derniers conservent un quasi-monopole
du téléphone public, un partage de lexploitation
entre le secteur public et le secteur privé, un contrôle
étroit de ladministration des PTT, une concession de
lEtat à une seule entreprise, des réseaux téléphoniques
ne permettant pas une gestion spécifique des communications
passées dans les cabines. Il sagit là de lorganisation
dune pénurie téléphonique dans les lieux
publics correspondant à celle qui sévissait dans toute
la téléphonie en France. Mais dans le cas des cabines
urbaines, elle semble avoir un caractère assez délibéré.
En effet, en accord sur ce point avec les débitants de boissons
qui souhaitaient conserver le monopole des « Taxiphone »
dans leurs établissements, la préfecture de la Seine
avait fixé le nombre de cabines de rues à Paris à
soixante, nombre à ne pas dépasser, alors que la ville
de Londres, à la même époque, en comptait plusieurs
milliers.
Cet équilibre et lexpansion du téléphone
public vont se trouver menacés par la poussée de la
demande mettant à jour linsuffisance des équipements
téléphoniques et faisant apparaître les téléphones
publics comme un palliatif nécessaire du manque dabonnements
privés. Néanmoins, ce déséquilibre ne
se transformera pas immédiatement en crise dans la mesure où
la décision ne sera pas prise par ladministration de
répondre pleinement à la demande latente. La transformation
de certains appareils qui passent du jeton aux pièces et lapparition
dappareils à plusieurs fentes permettra, provisoirement,
de colmater quelque peu les brèches de léquilibre
menacé. La volonté de ladministration de maintenir
le statu quo et sa position dominante lui permettant de limposer,
ont permis de prolonger la situation dinsuffisance et de crise
larvée qui caractérise cette période.
Rupture de léquilibre antérieur de 1970
La crise, qui couvait depuis les années 1950 sest manifestée
ouvertement à partir des années 1970, lorsque la décision
a été prise de multiplier les cabines sur la voie publique.
Plusieurs équilibres ont alors été rompus :
- entre ladministration et les fournisseurs habituels dhabitacles
(Outelec notamment) dont les modèles et les modes de production
ne convenaient plus à une diffusion massive ;
- entre débits de boisson et pouvoirs locaux, ces derniers
voyant dans un premier temps de façon plutôt positive
léclosion de nombreuses cabines sur les trottoirs des
villes, ce qui a provoqué le mécontentement des patrons
de cafés ;
entre usages prescrits et usages effectifs des téléphones
publics, limportance de la fraude et du vol des pièces
suivant la montée de léquipement en cabines sur
la voie publique ;
- entre une technologie de terminaux convenant à des sites
abrités et surveillés et lexposition des appareils
dans des lieux ouverts ;
- entre un fournisseur et opérateur concessionnaire «
historique » en pleine expansion (la société Le
Taxiphone SAFAA) et ladministration des PTT qui souhaitait reprendre
lentière responsabilité de lexploitation
du téléphone public et diversifier ses fournisseurs.
Ces éléments, et dautres plus
inattendus, comme les grandes grèves anglaises de 1972-1973
mettant au jour la dépendance de la SAFAA à légard
de son alliée britannique, se sont combinés pour produire
la crise la plus durable du téléphone public. En poursuivant
la métaphore guerrière, qui correspond bien à
létat desprit des acteurs du téléphone
public de cette époque, on pourrait identifier plusieurs fronts,
par ailleurs interdépendants, dans cette crise :
Sur le front de la technique, les recherches concomitantes
dun nouveau modèle dhabitacle et dun nouveau
terminal téléphonique ont connu des problèmes
similaires. Le lancement des deux concours a certes amené de
nouveaux modèles et de nouveaux fournisseurs. Mais les modèles
retenus se sont révélés défectueux ou
bien les fournisseurs incapables den honorer la commande. Dans
le cas des habitacles, un nouveau modèle a été
conçu et réalisé par ladministration. Dans
le cas des terminaux, un second concours a été lancé
et de nouvelles commandes dappareils SAFA type 700 et dappareils
suisses Landis et Gyr ont dû être passées pour
parer au plus pressé. Notons que, dans ce cas, ce qui est un
« rentrant » pour ladministration est un «
saillant » pour la SAFAA qui a encore pu vendre ses appareils
700 pourtant jugés dépassés.
Sur le front de la diversification des acteurs du
téléphone public voulue par ladministration, lalliance
avec J.-C. Decaux qui devait équiper ses Abribus en cabines
téléphoniques a connu des difficultés, entraînant
un retard considérable du programme déquipement
: refus de certaines villes de signer des avenants au contrat avec
J.-C. Decaux, réticences de certaines directions régionales
des télécommunications à seffacer devant
Decaux pour linstallation de cabines, manque de coordination
entre les deux entités qui doivent collaborer pour que soient
connectés des appareils dans les Abribus.
Sur le front de lexploitation, les efforts déployés
pour juguler le vol des pièces de monnaie nont connu
que des échecs ou des semi-échecs. Le nombre de cabines
hors dusage ne cessait de croître malgré les diverses
mesures instaurées : collaboration avec la police, appel au
civisme des riverains ou des usagers, formation des personnels, changements
organisationnels, modifications des appareils, sophistication des
performances du réseau.
Un nouveau momentum est survenu et la crise a été
surmontée lorsque les appareils à carte ont remplacé
progressivement le parc de cabines à pièces. Avec le
recul, vingt ans plus tard, la carte à puce nous apparaît
comme un outil idéal, puisquelle sest montrée
capable à elle seule, de dépasser un reverse salient
particulièrement épineux. Pourtant le choix de cette
technologie était, en 1982, problématique, et est dailleurs
resté quelques années une spécificité
française. Lexistence de technologies concurrentes comme
la carte holographique, qui a été utilisée pendant
plusieurs années et qui aurait pu, elle aussi, faire lobjet
dune production de masse, nous interdit de raisonner en termes
de déterminisme technique. Il ne nous appartient pas de décider
que, si la carte à microprocesseur a connu le succès,
cest la preuve quelle était la meilleure, comme
nous ne pouvons ignorer les conditions autres que techniques qui ont
présidé à son avènement. Les conditions
de labandon de la carte holographique au profit de la seule
carte à microprocesseur nincitent pas à penser
quon a simplement constaté la supériorité
de lune sur lautre avant de se déterminer. Le fait
que la carte holographique ait été utilisée pendant
une période trop longue pour nêtre quune
expérimentation en vraie grandeur nous fait croire davantage
à une concurrence entre deux technologies de taille à
répondre également au problème posé (la
création dune télécarte téléphonique
prépayée), départagées par dautres
arguments que les performances techniques. Quand on connaît
la suite de lhistoire et la postérité qua
eue la carte à puce, on est tenté de dire que le Directeur
Général des Télécommunications a fait
le bon choix avec cette technologie. La carte téléphonique
a été lamorce du lancement dune nouvelle
filière industrielle dont la téléphonie nest
quune des applications. Mais nous avons vu précédemment
que la plupart des pays développés ont préféré
pendant plusieurs années se contenter de la carte magnétique
et ne sont venus que bien plus tard au microprocesseur, ce qui montre
quon pouvait répondre à un même problème
par différentes solutions.
Ainsi, plutôt que de raisonner en termes de
déterminisme technique, il est préférable de
parler dune recomposition du paysage du téléphone
public autour du dépassement de la crise par le changement
des technologies, du modèle économique et des acteurs
concernés :
les difficultés de lalliance avec Decaux ainsi que léchec
de la tentative de vente du parc des cabines à cet industriel
ont replacé durablement lopérateur national aux
commandes de ce secteur de la téléphonie ;
la SAFAA nayant été retenue ni comme fournisseur
dhabitacles ni comme fabriquant dappareils, a presque
totalement abandonné son activité dans la téléphonie;
les usages de la carte téléphonique ne se sont pas installés
sans quelques résistances. Elle est tout dabord apparue
moins « démocratique » que la pièce de monnaie
que lon introduit dans la machine pour téléphoner,
dans la mesure où il faut acheter un nombre relativement important
dunités téléphoniques avant toute utilisation,
ce qui a provoqué les protestations délus et de
personnalités politiques de gauche.
Si lon sen tient à lexemple
de la téléphonie publique, les deux références
théoriques que nous avons choisies pour éclairer le
développement dune technologie apparaissent singulièrement
antagonistes. La première, celle de Gilbert Simondon, postule
une avancée linéaire et continue de la technique vers
son apogée, et son remplacement lorsquelle ne peut plus
progresser. Celle de Thomas Hughes, tout au contraire, ne laisse à
largument technique quune place limitée dans lexplication
des tribulations dune technologie. La suite de lhistoire
semble lui donner raison. Les débats actuels sur les cabines
téléphoniques, ne sont plus guère du domaine
de la technologie. Tout se passe comme si, la préférence
pour la cabine à carte à puce étant définitivement
établie, les questions autour de la téléphonie
publique changeaient totalement de nature. En effet, le développement
du téléphone portable, en tant quoutil individuel
de communication affaiblit la position du téléphone
public comme instrument collectif de communication dans les lieux
publics. Son utilité sociale se conjugue désormais au
négatif : il est le téléphone des zones non couvertes
par les réseaux radio ou bien le téléphone de
ceux qui nont pas de téléphone portable. Le débat
sur la technique disparaît, remplacé par celui sur lévaluation
des coûts de maintien du parc et du montant de la contribution
de chaque opérateur au financement du service universel.
sommaire