Etienne François
Maurice Boudet de Pâris
Né en 1849 Décédé le 22
juillet 1891 à Croissy-sur-Seine ; le Dr Maurice Boudet de
Pâris est un homme de Médecine et Scientifique à
la fois.
La science électro-technique et en particulier l'électro-thérapie
viennent de faire une perte regrettable dans la personne de M. le Docteur
Etienne-François- Maurice Boudet de Pâris, décédé
k Croissy, le 22 Juillet dernier, dans sa 43° année.
Quoique jeune encore, son uvre comme médecin électricien
était déjà considérable et lui avait acquis
dans le monde technique, une réputation des mieux justifiées.
C'est lui qui, le premier, a dosé scientifiquement l'électricité
en médecine, comme le chimiste dose une solution titrée,
et calculé des Tables donnant la valeur de l'énergie du
choc galvanique et des effets chimiques du courant continu dans le corps
humain, Tables qui permettent aux praticiens les moins expérimentés
d'évaluer avec exactitude les applications électriques.
Très tôt il s'intéresse à l'électricité
au magnétisme et aux premiers microphones dans la période
de recherche de l'optimisation des nouveaux téléphones.
A partir de lapparition du téléphone, la trace du
signal de parole va être associée intimement à lévolution
des télécommunications et très vite, les «
obsédés de la trace » vont sacharner à
appliquer le téléphone à la méthode graphique.
Il sagit surtout de Boudet de Pâris, un médecin dans
le giron de Marey qui a développé en 1882 un microphone
à charbon particulièrement performant pour lépoque
mais qui na pas abouti à des tracés exploitables
à cause de la faiblesse en dynamique et en linéarité
des premiers graveurs électromagnétiques de la méthode
graphique mareysienne. Le « Téléphone écrivant
» de Boudet de Pâris fut donc un échec, qui resta
sans suites car ce dernier disparut prématurément après
être devenu un des plus importants acteurs et précurseurs
de « lélectricité médicale ».
sommaire
En téléphonie, le Dr Boudet a beaucoup participé
aux travaux du microphone à travers les journaux et livres scientifiques
de l'époque :
Déjà le 10
décembre 1878;
il reçoit un le brevet 127860. Perfectionnements au micro-téléphone
et le 7 octobre 1879 Brevet 139029. Nouvel appareil
microphonique dont il est est question dans cette étude.
1879 Vu dans "La lumière électrique"
|
Depuis que la science est dotée des merveilleux
instruments qui peuvent transmettre à dénormes
distances la voix humaine dans toute sa pureté, les savants
de tous pays ont cherché lexplication des phénomènes
électriques qui se passent à lintérieur
de ces appareils.
De nombreuses et longues discussions ont eu lieu dans les sociétés
savantes; des mémoires ont été écrits;
et pendant plusieurs mois, les diverses théories, émises
par des hommes dun savoir indiscutable, sont restées
de simples hypothèses sans preuves évidentes. Le
raisonnement, les connaissances physiques et mathématiques
pouvaient faire pencher pour une opinion plutôt que pour
une autre ; mais la démonstration manquait. Aujourdhui
il nen est plus ainsi ; de récentes expériences,
de nouveaux appareils ont donné gain de cause à
la théorie des vibrations moléculaires, devinée
et admirablement exposée déjà par M. le comte
du Moncel.
Les instruments une fois inventés puis perfectionnés,
la démonstration de leur fonctionnement devenue bien évidente,
les savants ont alors repris létude de lacoustique;
car les nouvelles découvertes venaient de porter une rude
atteinte à cette branche de la physique. Le transport par
lélectricité de la voix articulée,
la reproduction de cette voix par des matières très-différentes,
fils de cuivre, barreaux aimantés, tiges de charbon et
de fer, feuilles détain, etc. ; tous ces phénomènes
sont devenus des moyens détude, et dans peu de temps
les qualités du son nauront plus rien de mystérieux
pour les physiciens.
Depuis longtemps nous pensions quil serait dun grand
intérêt de voir la parole telle quelle est
reproduite par les téléphones, cest-à-dire
« dinscrire la voix », telle quon lentend
dans les appareils récepteurs. Malheureusement ces appareils,
si sensibles pour loreille, deviennent muets lorsquon
les met en face dun cylindre enregistreur ; il nous a fallu
chercher le moyen mécanique de saisir leurs vibrations
et de les obliger à se dessiner sur le noir de fumée.
Tant quil sagit de sons musicaux, la chose est facile;
les vibrations du chant produisent des interruptions de courant;
tant de contacts pour tant de vibrations, et lappareil récepteur
étant un électro-aimant très-sensible, les
mouvements de larmature sinscrivent avec la plus grande
facilité! Mais linscription ne donne alors que des
différences dans le nombre des vibrations ; de là
aux modulations de la voix articulée il y a loin. Les différences
de nombre des vibrations sont très-itettes, mais elles
ne donnent aucune idée des diverses qualités du
son, à part sa hauteur. Une série de diapasons vibrant
tour à tour et produisant des intermittences dans le courant
fournirait le même résultat.
Il fallait donc inscrire des courants ondulatoires, cest-à-dire
des variations dintensité dun courant continu;
cest à cette condition que nous pouvons espérer
obtenir sur le papier la reproduction exacte de la parole. Mais
quel instrument employer pour atteindre ce but ?
Cétait là le principal problême à
résoudre ; linstrument trouvé, le reste pouvait
être fait par tout individu initié aux délicatesses
de la méthode graphique.
On pourrait nous objecter ici que ce que nous cherchions était
déjà trouvé depuis longtemps, puisquavec
le phonautographe de Scott
on peut inscrire toutes les vibrations communiquées à
une membrane ; et que, tout dernièrement, Edison avec son
phonographe a réussi non-seulement à inscrire la
voix mais encore à la reproduire daprès son
propre tracé. Mais, si le phonographe reproduit servilement
la voix qui lui est transmise, nous ne pouvons pas voir ce quil
écrit, et cest précisément là
ce que nous cherchons.
Il est vrai quaprès de minutieuses préparations,
ses tracés peuvent apparaître amplifiés et
présentés sous forme de courbes ; mais alors le
manuel opératoire devient dune pratique difficile
et l'exactitude même de linscription peut bien sen
ressentir.
Dailleurs nous ferons remarquer que le merveilleux
instrument dEdison, tout comme le phonautographe de Scott,
agit mécaniquement, et que notre but est détudier
la voix transmise, reçue et reproduite au moyen de lélectricité.
La comparaison de nos résultats avec ceux obtenus par Scott
et Edison nen sera que plus intéressante.
Nos premières tentatives ont été faites avec
le téléphone ordinaire de Bell. Au centre de la
membrane du téléphone récepteur était
fixé un petit style très-léger qui devait
écrire sur le noir de fumée ; mais ce style est
toujours resté immobile tant que nous nous sommes servi
du téléphone comme transmetteur; nous nous attendions
du reste à ce résultat négatif, puisque les
vibrations de la membrane téléphonique sont uniquement
moléculaires et quil ny a point réellement
dattraction comme le pensait le colonel Navez.
Nous avons alors substitué au téléphone transmetteur
un parleur microphonique dont lextrême
sensibilité est due à ce que les charbons, au lieu
dêtre pressés par un ressort, sont simplement
maintenus au contact par la pression dun petit morceau de
papier écolier plié en forme de V.
La sensibilité de ce parleur est telle quavec
le courant dun seul élément Ledanché,
pour un parcours de cinq cents mètres, la voix, reproduite
par le téléphone récepteur, peut être
entendue dans tout un appartement.
Lintercalation, dans le circuit, dun courant
voltaïque produit évidemment dans le téléphone
de tels effets électro-magnétiques que lon
sent parfaitement au doigt les vibrations du diaphragme. Toutefois
ces vibrations ne pouvaient pas encore être inscrites. Les
mouvements du style, quelque délicat que fût
lappareil, se distinguaient à peine sur le noir de
fumée ; le frottement même dune lame de verre
suffisait à les détruire. Peut-être que, si
lon plaçait à lextrémité
du style une parcelle de métal brillant, on pourrait obtenir
des photographies assez nettes, quil serait facile damplifier
à volonté; mais nous navions pas ce moyen
détude à notre disposition.
Le transmetteur étant suffisamment sensible, nos efforts
ont dû se concentrer sur lappareil récepteur
pour amplifier ses vibrations magnétiques. Voici quelles
sont les modifications que nous lui avons fait subir : enlevant
au téléphone de Bell son couvercle et son diaphragme,
nous avons vissé sur le bois de linstrument lextrémité
dun ressort dacier
assez résistant; lautre extrémité de
ce ressort vient aboutir en face du noyau aimanté muni
de sa bobine; à cette extrémité est soudée
une petite masse de fer doux pesant une dizaine de grammes; puis,
sur cette masse, et dans le prolongement du ressort, est fixé
un style léger en bambou, de io centimètres de longueur,
et terminé par une plume en baleine. En somme, le diaphragme
est remplacé par une armature assez semblable au trembleur
des bobines dinduction .
Cest au moyen de cet instrument que nous avons obtenu les
tracés que nous avons mis sous les yeux de lAcadémie.
Ces tracés ont été pris sur papier à
décalcomanie couvert de noir de fumée, puis transposés
sur verre, afin den permettre la projection, la photographie
et même létude au microscope.
Deux points principaux ressortent de linspection de ces
tracés ;
1 ° Ils présentent deux sortes de vibrations; de grandes
vibrations, ou plutôt des ondulations qui se produisent
toujours dans le même ordre, lorsquon prononce le
même mot ; puis de petites vibrations très-courtes,
échelonnées sur les grandes ondulations. Ces petites
vibrations seules nous paraissent être produites par la
voix; les ondulations sexpliquent de deux façons
; elles sont produites par le souffle qui accompagne nécessairement
lémission de la voix et, en même temps, elles
sont augmentées par linertie du levier; cest
là un vice dappareil que nous éviterons dans
nos prochaines expériences.
2° Lorsque la continuité du courant est établie
dans le circuit et les appareils transmetteurs et récepteurs,
la masse métallique est attirée par laimant
jusquà une certaine limite qui varie avec lintensité
du courant. Vient-on à parler dans le microphone, aussitôt
larmature est repoussée, et cette répulsion
est dautant plus forte que les paroles sont plus fortement
accentuées et sur un timbre plus élevé ;
le maximum a lieu pour les lettres dentales et labiales. Il se
passe là un phénomène absolument identique
à celui de l'oscillation négative de laiguille
du galvanomètre.
Lexplication dailleurs semble être la même
; pendant le silence, la pression uniforme et constante des charbons
lun contre lautre facilite le passage du courant et,
par suite, lattraction de larmature ; lorsque lon
parle dans le microphone, la pression des charbons est autant
de fois variée quil y a de vibrations dans le son
produit; le courant, sans cesser dêtre continu, a
de nombreuses variations dintensité, et larmature
prend une position qui rappelle celle de laiguille du galvanomètre
dont le fil est traversé par un courant à intermittences
rapides.
Ce fait nous paraît devoir aider à lexplication
des mouvements vibratoires du diaphragme dans les téléphones
récepteurs. Pour nous, ce diaphragme aurait des vibrations
négatives.
Parmi les tracés que nous avons eu lhonneur de présenter
à lAcadémie, quelques-uns surtout nous paraissent
mériter lattention. Ce sont ceux qui représentent
les mots ; Amsterdam, déposé, Pompéi
Cupido Ivanhoé. Nous avons dabord
prononcé isolément les voyelles contenues dans ces
mots, puis le mot entier en scandant-les syllabes; la comparaison
des deux tracés permet de juger leffet produit par
ladjonction des consonnes.
Nous navons pas la prétention de croire notre but
atteint; nous sommes loin encore de la parole écrite, et
facile à reconnaître à la lecture des tracés.
Toutefois nous avons cru intéressant de signaler nos premiers
résultats de linscription électrique de la
voix, et nous avons cru pouvoir les soumettre à lattention
bienveillante de lAcadémie.
M. Boudet de Paris
|
Un microphone composé de deux charbons en contact,
dont lun est fixé sur une lame métallique, peut
faire un bon récepteur téléphonique, et M.
Boudet de Pâris en a construit de cette manière
qui donnent dexcellents résultats. Dans ces conditions,
le transmetteur et le récepteur sont absolument semblables ;
ils consistent dans une petite boîte dont le couvercle, qui est
à vis, est constitué par une embouchure de téléphone
ordinaire, et porte une plaque circulaire de fer-blanc au centre de
laquelle est soudé un petit disque de charbon ; sur ce disque
appuie lextrémité dune bascule de charbon
articulée par son centre sur les deux joues dune lame de
ressort repliée et fixée au fond de la boîte, et
cest un petit morceau de papier plié en V qui fournit la
force antagoniste adaptée au bras de la bascule, appuyant contre
le charbon de la plaque. Lappareil se règle en vissant
plus ou moins profondément le couvercle.
Un seul élément Leclanché suffit pour transmettre
et reproduire la parole avec deux appareils de cette nature adaptés
aux deux extrémités du circuit, et telle est la sensibilité
du système, quen substituant au microphone récepteur
un téléphone Bell ordinaire, tel que ceux que vend M.
Walker, on peut faire entendre la parole dans tout un appartement, en
appliquant à l'embouchure de ce téléphone un porte-voix
de phonographe. Le seul inconvénient de ce système est
de nécessiter de fréquents réglages ; mais quand
il est bien disposé, il produit des effets surprenants.
M. Boudet de Pâris, en appliquant à lextrémité
du noyau magnétique dun téléphone sans diaphragme
le microphone précédent, est arrivé à reproduire
à travers un second circuit complété par un second
téléphone la parole transmise par son parleur microphonique,
ce qui démontre bien que les vibrations du. noyau magnétique
du premier téléphone sont réellement longitudinales.
Lexpérience, il est vrai, na pu réussir que
grâce à la sensibilité extrême de son système
microphonique, car avec dautres microphones il na pu obtenir
aucun résultat.
Quelle est la cause des vibrations reproduisant la parole dans ce système
employé comme microphone récepteur ?
il serait bien difficile de le dire dune manière positive,
car il ny a alors en jeu aucune action électro-magnétique
; cest le simple passage du courant à travers un mauvais
contact qui les détermine. Mais comment cela peut-il avoir lieu
? cest une question entièrement à étudier...
Il reste, toutefois, encore un point obscur à élucider,
cest celui-ci : « Si le noyau magnétique nest
soumis à aucune action mécanique, quelle peut être
laction de l'aimantation?... M. Boudet de Paris a bien démontré
au moyen du microphone que le noyau était soumis à des
vibrations longitudinales ; mais ces vibrations résultent-elles
de lallongement du noyau au moment de laimantation ou de
leffet contraire ?... Cest ce que ses expériences
ne peuvent indiquer; et jusquici, les recherches des physiciens
sont demeurées stériles.
1880 Vu dans "La lumière électrique"
APPLICATION DU MICROPHONE AUX ÉTUDES
PHYSIOLOGIQUES
Dans la séance du 6 décembre, M. Brissaud a exposé
le résultats des recherches entreprises par nous dans le
service de M. Charcot, à la Salpêtrière; je
viens aujourdhui présenter à la Société
de biologie lappareil qui a servi dans nos expériences.
Cet instrument est en réalité un microphone très-sensible,
monté sur un double ressort de sphygmographe.
Son petit volume le rend très-maniable et permet de lappliquer
sur tous les points du corps.
Une petite lame de caoutchouc durci, de 5 à 2 centimètres,
très-légèrement concave, et percée dun
orifice à son centre, sert de base à lappareil.
A lune de ses extrémités, sélève
une tige, haute de 3 centimètres environ, et sur cette tige
monte et descend, au moyen dune vis de réglage, un
tout petit chariot de cuivre, entre les montants duquel oscille,
sur un axe transversal, un cylindre de charbon, long de 1 centimètre
1/2 et épais de 5 millimètres.
Au-dessous de ce premier charbon, vient aboutir lextrémité
libre dune mince lame de ressort, placée horizontalement,
et fixée par son autre bout à lextrémité
opposée de la planchette de caoutchouc. A ce ressort est
adaptée une petite lentille de charbon qui vient toucher
lextrémité du cylindre de charbon oscillant.
Enfin, sous ce premier ressort et parallèlement à
lui, comme dans le sphygmographe de M. Marey, se trouve un autre
ressort terminé par un bouton explorateur, lequel traverse
lorifice de la planchette. La moindre pression exercée
sur ce bouton se transmet, par lintermédiaire des ressorts,
aux deux contacts de charbon, et fait ainsi varier lintensité
du courant qui les traverse ; ces variations sont recueillies par
un téléphone que lobservateur applique à
son oreille. La mobilité des deux charbons en contact fait
comprendre lextrême sensibilité de ce microphone.
Toutefois, il est nécessaire, dans ces expériences,
dobtenir un premier degré de pression initiale que
la vis de réglage peut déjà donner en partie,
puisquelle permet dappuyer plus ou moins le cylindre
oscillant de charbon sur la lentille inférieure. Mais ceci
nest pas suffisant ; car si lon explore un pouls un
peu ample, les mouvements communiqués aux ressorts soulèveraient
brusquement le charbon supérieur et détermineraient
des ruptures de courant. Nous avons obvié à cet inconvénient
en plaçant à lintérieur du petit chariot,
au-dessus de lune des extrémités du cylindre
oscillant, un petit morceau de papier écolier plié
en forme de V, et qui fait oïfice de ressort. Nous ninsisterons
pas ici sur laddition de ce ressort en papier qui nous appartient,
et dont les avan-tagesont déjà été signalés
dans plusieursjournaux scientifiques. Nous rappellerons seulement
que le papier est un corps très-faiblement et très-parfaitement
élastique, ainsi que lont prouvé les expériences
de Savart, par conséquent, il se prête beaucoup mieux
que lacier et le caoutchouc aux déplacements et aux
rétablissements des contacts de charbon, ou plutôt
aux variations de leur pression réciproque.
Ainsi constitué, lappareil placé sur une artère
indique tous les bruits qui se passent à lintérieur
du vaisseau, et, avec un peu dhabitude, on arrive très-aisément
à distinguer la différence de rythme, les bruits du
souffle, etc. La pulsation est très-fortement accentuée,
le dicrotisme normal devient perceptible-, en un mot, on entend
le tracé du pouls, tel quil est inscrit par le sphygmographe.
Appliqué sur un muscle, le même instrument devient
un excellent myophone. Il décèle le bruit de
tonus musculaire normal, et lors de la contraction, on entend parfaitement
le bruit de roulement caractéristique de ce phénomène.
La tonalité des sons transmis par ce microphone est conservée
dans toute sa pureté. On peut facilement sen convaincre
en faisant vibrer successivement près de lui, ou même
en contact avec sa planchette, des diapasons de tonalités
différentes. Le téléphone répète
alors fidèlement la note émise par chacun deux,
et, ce qui est plus curieux, on peut même distinguer les sons
des deux diapasons différents vibrant ensemble, sans que
la tonalité de lun ou de lautre soit altérée.
Nous avons également construit deux autres microphones un
peu différents de celui-ci, afin détudier la
contraction
musculaire sur les animaux. Dans une prochaine note, nous rendrons
compte des résultats obtenus, en même temps que nous
donnerons la description de ces nouveaux appareils.
M. Boudet de Paris |
1880 Vu dans "La lumière électrique"
Microphone à contacts multiples de M.
Boudet de Pâris
Ce microphone représenté dans la figure ci-dessous
se compose dun tube de verre de 1 centimètre de diamètre
dans lequel sont placées six boules de charbon de cornue
dun diamètre un peu moindre, qui peuvent glisser facilement
à son intérieur sans éprouver de déplacement
latéral.
Ce tube, pris dans une bague, est articulé en son milieu,
ce qui lui permet de prendre toutes les inclinaisons.
A lune des extrémités du tube, est fixée
une embouchure de téléphone E, portant une plaque
débonite de 1 millimètre dépaisseur
et de 8 centimètres de diamètre. Üne petite masse
de cuivre Mt fixée sur la plaque, pénètre de
quelques millimètres dans lintérieur du tube
de verre, et sappuie sur la première boule de charbon
qüelle embrasse en partie. A lautre extrémité
du tube, se trouve une seconde masse de cuivre M2 à laquelle
5e trouve soudé un petit ressort en spirale placé
dans un étui R, relié à une vis de réglage
V. Cette vis de réglage se meut dans un écrou en forme
détrier fixé à lextrémité
du tube de verre. Le microphone ainsi disposé fonctionne
soit avec des courants directs, soit avec des courants induits.
Le microphone de M. Boudet de Pâris diffère des autres
microphones à contacts multiples en ce que les pressions
exercées par la membrane vibrante sont reproduites avec une
intensité a peu près égale sur chacun des contacts,
à la façon dont les chocs se transmettent, dans lexpérience
bien connue des billes de billard, les mouvements des boules dans
le tube de verre étant très-libres.
En plaçant le tube presque horizontalement, leffet
de la pesanteur se trouve presque complètement annihilé.
Le ressort en spirale et la vis V rendent le réglage très-facile.
Avec six boules, lé microphone offre une résistance
égale à 36 ohms et fonctionne avec six éléments
Gaiffe, moyen modèle (peroxyde de manganèse et chlorure
de zinc), montés en tension.
Avec (des courants induits, une bobine dont le fil inducteur a environ
1 ohm de résistance, la voix a pu franchir des résistances
de 150000 à 250000 ohms, représentées soit
par des. bobines, soit par des tubes deau.
Avec un téléphone récepteur à fil très-fin,
la voix a pu franchir une résistance artificielle de 480000
ohms. Il est certain quen ligne cette résistance serait
considérablement réduite, par suite des effets secondaires
produits sur la ligne, par sa capacité et les inductions
voisines.
En employant le courant direct, la voix cesse d'être entendue
avec une résistance de 1000 ohms, et encore nest-elle
bien nette quavec 800 ohms.
M. Boudet de Pâris a calculé que lintensité
du courant dans cette dernière expérience était
de 10 milliwebers environ.
Avec les courants induits, lintensité dans le circuit
inducteur atteint et dépasse un dixième de weber.
Ces chiffres sont très-intéressants à connaître,
et ils montrent dans quel esprit scientifique malheureusement
trop rare,
M. le docteur Boudet. de Paris poursuit ses recherchés. |
Le weber peut être défini à l'aide de la loi de Faraday
, qui établit un lien entre la variation du flux magnétique
à travers une boucle et le champ électrique qui l'entoure.
Une variation de flux d'un weber par seconde induit une force électromotrice
d'un volt (produisit une différence de potentiel électrique
d'un volt entre deux bornes en circuit ouvert).
TÉLÉPHONE. Application
à l'électricité musculaire
Extraits de "Physiologie des muscles
et des nerfs... par Charles Richet, 1882 "
Il semble que le fait d'un bruit musculaire dans la systole soit
en contradiction avec l'hypothèse que la contraction du cur
est une secousse simple. Mais nous ne connaissons pas assez le mécanisme
intime de la contraction, pour en conclure que la systole cardiaque
résulte de la fusion de plusieurs secousses élémentaires.
Sommes-nous autorisés à dire avec certitude que la
secousse provoquée par une seule excitation électrique
n'est pas composée elle-même de plusieurs vibrations
plus petites. Je ne sais pas si la secousse unique d'un muscle donne
un bruit musculaire, et je ne crois pas que cette recherche spéciale
ait été faite méthodiquement. Elle serait d'autant
plus difficile que, même pendant le repos, il y a encore un
bruit musculaire, dû à la tonicité.
En appliquant le stéthoscope sur un muscle vivant, on entend
toujours un bruissement sourd qui se renforce chaque fois que le
muscle se contracte. On a proposé de distinguer parce moyen
la mort réelle de la mort apparente, et il est de fait que
sur un cadavre on n'entend rien d'analogue au bruit musculaire.
Toutefois il faut une oreille déjà assez exercée
pour distinguer nettement la vibration musculaire, de sorte que
ce procédé ne pourra jamais devenir vulgaire.
M. BOUDET ( livre "Des applications dit téléphone
et du microphone à la physiologie et à la clinique,
Paris, 1880" ) a vérifié avec le téléphone
ce fait intéressant que M. MAREY avait déjà
avancé il y a longtemps, à savoir que la tonalité
du bruit musculaire est d'autant plus élevée que l'énergie
de la contraction est plus grande. Il a montré aussi qu'un
muscle tendu et en état de tonicité donne un bruit
qui augmente avec le poids tenseur du muscle. On sait que la tension
du muscle par un poids provoque un certain état actif, ou,
comme on dit, la tonicité du muscle, quand ce muscle est
en rapport avec les centres cérébromédullaires.
Pour bien apprécier les sons les plus faibles, M. BOUDET
a construit divers appareils microphoniques et microtéléphoniques,
pour la description desquels je renvoie à ses publications.
M. HERING, en auscultant l'il d'un animal vivant, a pu entendre
les bruits musculaires produits par les muscles de l'oeil. Il a
constaté que le curare, qui abolit la tonicité musculaire
en supprimant l'innervation motrice, fait cesser le bruit des muscles
de l'il, bruit qu'on entend constamment, même lorsque
l'organe parait être en repos. En effet, les muscles d'un
animal vivant ne sont jamais en un réel repos, mais reçoivent
toujours des excitations nerveuses faibles.
Contraction volontaire.
Nous arrivons à l'étude d'un des plus importants
problèmes de la physiologie musculaire. Les muscles, lorsqu'ils
exécutent les mouvements volontaires que le cerveau leur
commande par l'intermédiaire des nerfs, vibrent-ils à
la manière d'un muscle excité par des courants fréquemment
interrompus, ou ontils une très longue secousse? Autrement
dit, l'excitation venue du cerveau ou de la moelle est-elle unique
et prolongée, ou constituée par une série de
petites excitations brèves et fréquentes? Est-elle
continue ou discontinue ?
Bien des physiologistes, MM. HELMHOLTZ, BRÜCKE, KRONECKER,
HERMANN, ont essayé de résoudre la question. Ils ne
sont pas arrivés à une conclusion absolument certaine.
- L'expérience la plus importante est celle que nous indiquions
plus haut, celle d'HELMHOLTZ et de BERNSTEIN : le muscle, excité
par des courants d'un certain rythme, vibre à l'unisson de
ces courants. Or, comme il vibre aussi lorsqu'il est mû par
l'excitation nerveuse, sa vibration révèle alors le
rythme véritable des vibrations nerveuses qui l'ébranlent.
Une autre expérience a été imaginée
par BRÜCKE. Elle consiste à compter le nombre de mouvements
volontaires qu'un muscle peut exécuter pendant un espace
de temps donné. On prend, par exemple) un crayon à
la main, et on essaye avec ce crayon de tracer aussi rapidement
que possible une série de points sur du papier pendant un
temps donné. On a ainsi le nombre maximum des mouvements
spontanés qui peuvent être exécutés par
les fléchisseurs des doigts, dans un intervalle de temps
facilement mesurable.
Or le nombre des mouvements spontanés ne peut guère
dépasser 8 ou 10 par seconde, et les plus habiles pianistes
ne sauraient arriver à une plus grande agilité.
Si l'on compare ces mouvements spontanés aux mouvements provoqués
par des excitations électriques, on voit qu'on peut exciter
les muscles avec des courants interrompus vingt fois par seconde,
sans que les secousses cessent d'être tout à fait distinctes.
Donc, si le muscle ne répond pas plus de 10 fois par seconde
à l'excitation de la volonté, ce n'est pas par impuissance
mécanique, c'est par suite de l'impuissance du système
nerveux central à provoquer plus de 10 excitations isolées
par seconde.
D'ailleurs les secousses volontaires, quand on tâche de leur
donner le minimum de durée possible, ne peuvent jamais être
aussi rapides que les secousses provoquées dans les mêmes
muscles par des excitations électriques. Si l'on représente
par 2 la durée d'une secousse électrique, la durée
minimum d'une secousse volontaire sera de 3 1. |
1881 "LA LUMIERE ELECTRIQUE"
ÉTUDES SUR LE MICROPHONE. Dr m.
boudet de paris
La question du microphone a déjà été
traitée si souvent, et par des expérimentateurs dune
telle notoriété scientifique, que ce travail court
le risque de passer pour un simple résumé des notions
acquises en cette matière.
Cependant nous croyons faire une chose utile en le publiant, car,
au point de vue purement pratique, il pourra éviter aux personnes
incomplètement versées dans les calculs purement électriques,
des tâtonnements toujours fort longs et souvent entrepris
sans cette régularité expérimentale qui est,
à nos yeux, la seule chance de réussite.
La plupart des ouvrages ou mémoires qui traitent du microphone
et de ses applications sont remplis de descriptions dappareils.
Quelques auteurs, en tête desquels noys devons surtout citer
M. le comte du Moncel, ont savamment discuté la théorie
du microphone; mais cest vainement que nous avons cherché
une indication, à la fois complète et sommaire, des
meilleures conditions à remplir pour transmettre la voix
à distance.
Les inventeurs se sont ingéniés à modifier
la forme et la disposition des appareils sans nous indiquer en même
temps quelle pile il faut employer, comment disposer ses éléments,
quelles doivent être les dimensions de la bobine dinduction,
etc. Certes, tout cela est connu de la plupart des électriciens,
mais ces documents sont épars dans des articles de journaux
spéciaux, ou même quelquefois encore inédits.
Il ne nous a pas semblé inutile de réunir toutes ces
questions, de les étudier à la fois par le calcul
et par l'expérimentation, et de présenter dans leur
ensemble les résultats obtenus.
Naturellement, nous avons, comme la plupart des expérimentateurs,
modifié plus ou moins le microphone primitif de Hughes.
Mais, en agissant ainsi, notre intention nétait pas
seulement de faire un appareil nouveau ; nous avons été
guidés en cela par les lois de la physique, et linstrument
a été en quelque sorte construit en équation
avant même dêtre dessiné. Nous nous permettrons
donc de discuter ici les résultats quil nous a donnés,
sans réclamer dautre part à son invention que
lapplication plus exacte peut-être quelle navait
été faite jusquici des données fournies
par la science.
Nous divisons ce travail en trois parties :
Dans la première partie, nous nous occupons de la transmission,
et cette étude comprend tout ce qui regarde : le parleur,
la pile, la bobine dinduction. De courts chapitres résument
en outre les calculs et les expériences ayant rapport à
la dérivation du courant et à Yinjltience des extra-courants.
La seconde partie contient un rapide résumé des causes
de déperdition et de retard dues aux conducteurs du courant
(fils télégraphiques, cables sous-marins et souterrains),
et les moyens à employer pour les combattre.
Enfin, dans la troisième partie, nous discutons la valeur
du téléphone et du condensateur comme organes récepteurs,
en montrant comment ces deux appareils peuvent être combinés
pour donner le meilleur résultat.
Encore une fois, nous avouons nous être servi de bien des
notions fournies par dautres avant nous, et notre seul mérite,
si tant est que nous puissions en revendiquer un, est davoir
réussi à en former un tout qui peut rendre des services
réels. Si cette opinion est partagée par les personnes
compétentes en pareille matière, nous nous déclarons
satisfait.
De la transmission.
1 ° Le parleur. Les travaux de M. le comte du Moncel
sur la conductibilité des corps médiocrement conducteurs
ont servi de point de départ à toutes les recherches
sur la transmission de, la parole à distance, au moyen des
microphones. Sans entrer dans la discussion de la théorie
de ces appareils, nous rappelerons ici le principe sur lequel est
basé leur fonctionnement.
Toute variation de résistance opérée dans un
circuit électrique détermine, une variation correspondante
de lintensité du courant qui le trace verse, et cette
dernière variation, si elle a lieu « brusquement, est
traduite sous forme de son par des appareils récepteurs convenables.
Les noms de Hughes, de E. Gray et dEdison resteront toujours
attachés à la découverte des premières
applications de ce principe, et, bien que leurs inventions soient
postérieures à celle de G. Bell, la téléphonie
ne doit pas leur être moins reconnaissante, car ils lui ont
fourni les moyens de reculer dans dimmenses proportions les
limites de la transmission de la voix articulée.
Nous navons point à discuter ici la valeur des différents
appareils; lexpérience a déjà prononcé
un jugement sur quelques-uns, mais ce nest qua-près
de longs essais que lon pourra décider en dernier ressort
de leur valeur respective. Cependant, sans vouloir critiquer dans
tous leurs détails les principaux systèmes actuellement
en usage, nous pensons quil est utile détudier
leurs points faibles, et de chercher sil ne serait pas possible
de combiner ce quil y a de bon dans chaque méthode
pour en faire un tout meilleur que chacune delles considérée
isolément. Cest du moins ce que nous allons tenter.
Avant dentrer dans létude des appareils transmetteurs,
établissons dabord bien nettement en quoi consiste
un parleur microphonique. On peut, croyons-nous, donner dun
tel instrument la description suivante :
Cest une machine très sensible servant à transformer
en variations dénergie électrique les mouvements
qui lui sont communiqués par lair; et ces variations
dénergie subissent, dans lappareil récepteur,
qui peut être identique au transmetteur dans certains cas
(microphone récepteur), une nouvelle transformation qui en
refait des mouvements, soit moléculaires, soit de masse,
selon « lénergie de la transformation ».
Cette définition découle à la fois du principe
émis plus haut et des lois de la transformation des forces.En
effet, deux microphones, établis aux deux extrémités
dun circuit de pile peuvent être comparés à
deux machines magnéto-électriques dont les effets
sont réversibles ; le courant de pile joue alors le rôle
que joue le magnétisme dans les deux machines ; cest
la force préexistante dont lintensité doit varier
sous linfluence dune force additionnelle, le mouvement.
Il est bien évident, daprès cela, que le meilleur
parleur sera celui qui opérera la transformation du mouvement
avec le moins de déperdition, et cette déperdition
doit être dautant plus réduite que le mouvement
à transformer est lui-même plus faible. Doù
les deux conditions essentilles que doit remplir tout bon microphone
:
1 ° Sensibilité à laction des mouvements
qui doivent limpressionner;
2° Possibilité de réaction surun courant très
énergique.
Nous retrouverons encore la nécessité de ces mêmes
conditions à propos des récepteurs.
La nature du corps médiocrement conducteur employé
comme transmetteur, ou, pour parler plus exactement, comme modificateur
de l'intensité du courant, peut être très variable.
Cest ainsi que Hughes et Edison ont employé le charbon
; E. Gray, leau acidulée; C. Herz, les sulfures métalliques,
et que, tout dernièrement, Blyth a obtenu, paraît-il,
de bons effets microphoniques avec le phosphore amorphe.
Nous laissons de côté le sélénium qui
transforme non plus des mouvements, mais des variations de chaleur
et de lumière en intensité électrique.
De notre côté, nous préférons lusage
du charbon, parce quil se taille facilement, parce quil
résiste longtemps sans saltérer à des
courants assez énergiques, et enfin parce que lon peut
en quelque sorte graduer sa conductibilité en le métallisant,
comme faisait Hughes au début de ses expériences.
La forme du corps qui doit subir les vibrations de lair a
été modifiée de bien des façons différentes,
sans quaucune dé ces modifications fût expliquée
par des raisons réellement scientifiques. Il semblerait que
chaque inventeur ait surtout cherché à donner une
forme nouvelle à son appareil, avant de calculer si ce changement
pouvait être la cause dun rendement vraiment supérieur.
Et puis, il faut bien ajouter quau début on allait
à tâtons dans la voie du perfectionnement, et que le
raisonnement a bien souvent dû céder le pas à
la simple recherche expérimentale.
Nous pourrions en dire autant à propos de la pluralité
des contacts imparfaits et de la disposition même-de ces contacts.
Partant de ce principe dune vérité presque naïve,
que plus il y a de contacts capables de déterminer une variation
de résistance, plus la variation de résistance totale
sera grande, on a multiplé ces contacts sans se tendre compte
que, par le fait même de leur disposition vicieuse, certains
dentre eux ne peuvent aucunement être modifiés
par les vibrations transmises, et quils jouent par conséquent
un rôle tout différent de celui que lon attendait
deux ; car, augmentant sans utilité la résistance
passive de lappareil, ils diminuent dautant sa sensibilité.
La pluralité des contacts marche donc de pair avec cette
première condition : Tous les contacts doivent être
influencés au même degré.
Ainsi, avec des rondelles de charbon empilées verticalement,
il ny a guère que les deux ou trois premiers contacts
qui soient actionnés par la parole, et encore le sont-ils
très inégalement, le poids de chaque rondelle agissant
selon les lois de la pesanteur pour rendre les pontacts de moins
en moins sensibles. Ces effets de la pesanteur peuvent sembler bien
faibles au premier abord, mais les variations qui ont lieu aux points
de contact sont-elles donc bien grandes elles-mêmes ?
Si, au lieu de rondelles empilées, on emploie une série
de cylindres à pointe mousse, disposés en tension
sur une même planchette, il arrive toujours que les vibrations
vocales actionnent plus fortement certains dentre eux, et
même en laissent quelques-uns complètement inactifs
; ce dont on peut facilement se rendre compte en mettant un galvanomètre
sensible, ou mieux un téléphone, en dérivation
sur les deux extrémités de chaque contact. Et lors
même que tous seraient actionnés au même degré,
sils sont trop nombreux, la somme des résistances quils
opposent au passage du courant est trop grande, et lon perd
dans lénergie de la réaction, ce que lon
gagne en sensibilité dimpression.
Dun autre côté, la difficulté n'est pas
moindre lorsque lon adopte la disposition avec un seul contact
variable.
En effet, si çe contact çst sous faible pression,
et cest une condition indispensable pour obtenir de la sensibilité,
il devient impossible de le faire traverser par un courant un peu
intense, sous peine de faire naître dans le récepteur
des crachements et un bruissement continu fort désagréable,
et qui souvent couvre le son de la voix. Avec un seul contact sous
faible pression, on obtient donc de la sensibilité au détriment
de lénergie.
Si on augmente la pression des charbons, ou si on élargit
leur point de contact, le résultat est inverse du précédent;
lappareil supporte une plus grande intensité de courant,
mais sa sensibilité diminue proportionnellement.
Logiquement, il faut donc calculer le nombre des contacts de telle
façon que le microphone, tout en restant très sensible,
c'est-à-dire ayant tous ses contacts impressionnés
au même degré, soit capable de réagir sur un
courant intense. Et, pour cela, il faut que la résistance
propre de V appareil soit telle que le courant la traverse sans
trop d'affaiblissement, et que, d'autre part, elle soit divisée
sur un nombre de points suffisant pour que l'effet nuisible du courant
énergique sur un seul contact disparaisse par le fait même
de sa division.
Telle est la première loi qui doit être observée
dans la construction des microphones.
On voit déjà par cela que les conditions qui doivent
être réalisées par un bon transmetteur ne sont
pas aussi simples quon pourrait le croire tout dabord.
Et cependant, nous navons envisagé jusquici que
le fonctionnement des appareils.
Dans la pratique, il faut encore répondre à dautres
exigences. Les appareils étant destinés à être
maniés par des personnes souvent peu expérimentées,
leur réglage doit être aussi simplifié que possible,
ou, pour mieux dire, ils ne doivent pas avoir besoin dêtre
réglés, si ce nest à de longs intervalles,
et lorsque lon change les conditions primitives de leur fonctionnement.
Enfin, si lon ajoute : quils ne doivent pas être
influencés par dautres bruits que la voix de lexpéditeur,
que les variations de température ne doivent pas les troubler,
que leur construction ne doit pas entraîner de frais trop
considérables, on se fera une idée de la difficulté
du problème à résoudre.
Nous navons pas la prétention de croire que la solution
trouvée par nous soit la meilleure, et la preuve, cest
que nous en étudions une seconde en ce moment. Cependant,
grâce au précieux concours dun constructeur bien
connu, M. Ch. Verdin, lappareil que nous présentons
répond, sinon complètement, du moins en majeure partie,
aux exigences formulées précédemment.
Nous allons dabord décrire les détails de sa
construction, puis nous discuterons rapidement les points de ressemblance
quil peut avoir avec lappareil idéal dont nous
parlions tout à lheure, et que nous ne devons pas perdre
de vue,
Ce nouveau microphone se compose de six boules de charbon de cornue,
ayant toutes exactement le même diamètre ont 0m,0098.
Ces boules sont renfermées dans un tube de verre de 0m,075
de longueur, et dun diamètre intérieur de 0m.01;
elles peuvent donc glisser avec facilité dans le tube, sans
cependant y éprouver de déplacement latéral.
Le tube de verre est articulé en son milieu, au moyen dun
genou, sur un pied-support, et peut ainsi prendre toutes les inclinaisons
intermédiaires à lhorizontale et à la
verticale. A l'une des extrémités du tube est fixée,
au moyen de deux pattes de cuivre, une embouchure de téléphone
E, de 0m,09 de diamètre, avec une ouverture centrale de 0m,02.
Cette embouchure porte, vissé sur ses bords, un diaphragme
en caoutchouc durci D, de 0m.001 dépaisseur, et dont
la partie active a un rayon de 0m,04.
Au centre de ce diaphragme, est fixée une masse cylindrique
de cuivre M1, longue de 0m,014 sur 0m,005 de diamètre. Cette
masse pénètre de quelques millimètres dans
lintérieur du tube de verre, et sappuie sur la
première boule de charbon, quelle embrasse en partie
par son extrémité légèrement excavée.
A lautre extrémité du tube, est une bague de
cuivre supportant un étrier métallique Q qui sert
décrou à la vis de réglage V.
A lintérieur de cette bague, et glissant à frottement
doux, se trouve une culasse creuse K, également en cuivre,
sur le fond de laquelle agit la vis de réglage. La partie
antérieure de cette cu.assse porte, soudé sur
son bord, un petit ressort en spirale R, formé dun
fil de laiton de 0m,00058 de diamètre. A lextrémité
libre de ceressort, est sçmdée une petite masse de
cuivre légèrement excavée MJ qui vient presser
la dernière boule de charbon.
Les deux masses métalliques M1 et M2 sont reliées
métalliquement aux deux bornes B et B', auxquelles sattachent
les fils de la pile et du circuit téléphonique, ou
de la bobine inductrice, si lon veut employer les courants
induits.
La forme générale de linstrument peut être
modifiée ; ainsi, au lieu de fixer le tube de verre sur un
pied-support, on peut le renfermer dans une boîte, ou même
dans le manche dun téléphone ordinaire.
(A suivre.) Dr m. boudet de paris |
ÉTUDES SUR LE MICROPHONE
2° article (voir le n" du 2.3 avril).
Dans uotre précédent article, nous avons décrit
avec détails notre système microphonique le plus seusible,
et maintenant que nous connaissons lappareil, étudions
son fonctionnement, en examinant, tout dabord, la façon
dont il est impressionné par les vibrations vocales.
Pour cela, il est nécessaire de rappeler quelques principes
élémentaires de physique ayant rapport à lélasticité
et à linertie. Tout le monde connaît lexpérience
dite des boules de billard, si souvent répétée
dans les cours. On sait, dautre part, quun corps élastique,
soumis à un choc ou à une pression brusque, éprouve
un changement de forme momentané dautant plus marqué,
à égalité de choc ou de pression, que lélasticité
de ce corps est plus faible, et qui persiste dautant moins
longtemps, que cette élasticité est plus parfaite.
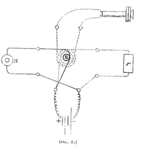
Ceci posé, considérons trois boules de même
nature et de même masse, suspendues par des fils fins, de
façon à entrer en contact par un point de leur circonférence
(fig. 2).

Si la première boule a est écartée jusquà
la position a', puis lâchée, le choc imprimé
par elle à la boule b se transmettra jusquà
la boule c qui sera
lancée jusquà c', et la distance c c' sera théoriquement
égale à la distance a a.
Mais si une masse M (fig. 3) soppose au déplacement
de la boule c, il se fait une seconde série de déformations
moléculaires, en sens inverse de la première, et la
force, emmagasinée par les déformations des boules
b et c, vient réagir sur la boule a, qui est relancée
dans le sens de la flèche pointillée, dune quantité
presque égale à la hauteur de sa chute.
Supposons enfin que, aussitôt après que la boule a
a été lancée sur la boule à, une seconde
masse M' (fig. 4) vienne sopposer à son déplacement
secondaire.

Le mouvement initial communiqué à la boule a disparaît
alors ; mais on sait quune force ne peut pas disparaître,
elle ne peut que se transformer; dans le cas des boules de billard,
il y a transformation du mouvement en chaleur.
Toutefois, le phénomène qui nous intéresse
plus particulièrement, c.est la déformation
moléculaire que subissent les boules maintenues par des masses
situées aux deux extrémités de la série,
comme dans lexpérience de la figure 4 ; car cest
précisément sur cette modification instantanée
quest basé le fonctionnement de notre appareil.
Lés six boules de charbon renfermées dans le tube
de verre, et qui ne touchent la paroi de ce tube que par un point
très limité, peuvent être comparées aux
boules de billard suspendues par des fils. Toutes ces boules, taillées
dans le même morceau de charbon, ont exactement la même
masse, et, si le tube est disposé horizontalement, leffet
de la pesanteur étant égal partout, la pression devient
la même à chaque point de contact des boules entre
elles.
Un choc imprimé à la première boule de la série
est transmis par les déformations moléculaires de
chaque boule jusquà la masse M2 ; celle-ci, sopposant
au déplacement de la dernière boule, le mouvement
tend à revenir jusquà la première, où
il est arrêté par la masse M1 et par linertie
de la membrane D.
Par conséquent, le choc eu pour résultat immédiat
de déterminer un mouvement moléculaire, qui sest
transmis également dans toutes les boules, et qui a agi avec
la même intensité sur chacun des points de contact.
Mais les boules étant traversées par un courant électrique
auquel elles servent de conducteur, ce courant doit forcément
subir une modification dans son intensité chaque fois quil
se produit une variation dans létat moléculaire
du conducteur, cest-à-dire une variation de résistance;
en outre, ces variations moléculaires auront dautant
plus deffet quelles se produiront sur un point plus
limité, qui est ici le point de contact, et leffet
total sera dautant plus grand quil y aura un plus grand
nombre de points de contact, à condition que tous ces points
subissent une variation égale, ce qui est précisément
le cas.
On comprend maintenant le fonctionnement de notre microphone, Sans
courant électrique, il produirait seulement de la chaleur;
dans des proportions, il est vrai, presque infinitésimales;
traversé par le courant, il devient un modificateur de son
intensité, comme tous les autres microphones; mais il a,
sur les autres appareils, lavantage deffectuer cette
modification avec le minimum de répartition et une'régularité
mathématique ; doù lintensité de
la voix transmise et la pureté de ses intonations.
Le nombre des boules et leurs dimensions, ainsi que le poids des
masses M1 et M2, sont facilement déterminés par le
calcul et lexpérimentation.
Un autre avantage de cette disposition, cest de permettre
lemploi dun courant intense, deux cents à deux
cent cinquante milliwebers-, bien que lappareil puisse également
fonctionner avec une intensité ne dépassant pas dix
ou quinze milliwebers.
La résistance totale offerte par la série est de 18
à 20 ohms, selon que la pression du ressort R est plus ou
moins forte. Au début de nos essais, cette résistance
était de 36 ohms environ ; mais nous lavons diminuée
de près de moitié en métallisant les charbons,
ce quil est très facile de faire de la manière
suivante : les boules sont portées au rouge vif dans la flamme
dun chalumeau â gaz, et ensuite plongées dans
un bain de mercure jusquà leur complet refroidissement.
Cette métallisation, rendant les charbons meilleurs conducteurs,
permet de conserver des contacts multiples et, par conséquent,
de la sensibilité, sans augmenter la résistance totale.
En outre, elle fait disparaître tous les bruissements quoccasionnne
ordinairement la présence dune fine poussière
de charbon sur les boules non métallisées.
Quant au ressort R, il ne sert absolument quà régler
la pression initiale ; lappareil fonctionne aussi bien lorsque
la masse M2 est fixe ; seulement le réglage est alors très
difficile à établir et surtout à maintenir,
tandis quavec laddition du ressort et de la vis Y, cette
opération se fait avec la plus grande facilité et
sans quil puisse y avoir aucun dérangement ultérieur;
lappareil est réglé une fois pour toutes.
Les conditions principales dont nous avons parlé plus haut
se trouvent donc observées avec la disposition que nous indiquons.
En effet, lappareil est sensible, puisque la moindre vibration
de la membrane agit également et avec la même intensité
sur tous les contacts des charbons. Il fonctionne avec énergie,
puisque tous les contacts ont une réaction égale à
limpression quils ont reçue, et que cette réaction
peut sopérer sur un courant dune grande intensité.
Son réglage est réduit à sa plus grande simplicité,
puisquil na besoin dêtre établi quune
seule fois.
Enfin, la pression assez considérable du ressort en spirale,
élimine tous les bruits etrangers et ne permet que linfluence
de la voix, lorsque les lèvres sont à quelques centimètres
de la membrane réceptrice. Cette membrane est en caoutchouc
durci, afin de ne pas avoir de tonalité propre et dêtre
à labri des variations atmosphériques.
(.A suivre.) |
ÉTUDES SUR LE MICROPHONE
3e article (voir les nos des 23 et 30 avril).
2° Mesure des variations de résistance subies par le
transmetteur.
Pou/bien apprécier le fonctionnement dun microphone
et les modifications quil peut imprimer au courant qui le
traverse, il est nécessaire de connaître très
exactement les variations de résistance quil peut subir
sous linfluence des vibrations vocales, et ces variations
de résistance doivent être évaluées aussi
bien qualitativement que quantitativement. Tous les microphones,
en effet, ne varient pas de la même manière, pour une
même influence extérieure: selon la disposition des
contacts, il y a tantôt augmentation, tantôt diminution
de la résistance propre des appareils, ce que lon désigne
par les termes de variation positive ou en plus et de variation
négative ou en moins. Quant à la valeur même
de la variation, quel quen soit le sens, il est évident
quelle est en relation directe avec le réglage plus
ou moins sensible de lappareil, avec lénergie
qui actionne la membrane réceptrice et lintensité
du courant sur lequel on agit.
En opérant dans des conditions aussi semblables que possible,
les moyennes obtenues se sont mon trées assez constantes
pour que nous puissions les prendre comme termes de comparaison,
dans les diverses expériences que nous rapporterons plus
loin.
On pourrait croire, tout dabord, quil est très
facile de déterminer le sens de la variation dès microphones
: cette opération présente, au contraire, certaines
difficultés. Si, par exemple, on introduit un microphone
vertical de Hughes et un galvanomètre dans le circuit dune
pile quelque peu énergique, on voit laiguille agitée
par des oscillations continuelles et très irrégulières,
alors même que le microphone est soustrait à toutes
les influences extérieures de bruit ou de choc. Ce phénomène
est dû évidemment à ce que les extrémités
très mobiles du charbon vertical sont plus ou moins écartées
de leurs contacts par le passage du courant qui détermine,
en ce point, la formation dun arc voltaïque microscopique.
Leffet est encore bien plus marqué, si lon fait
usage du pont de Wheatstone; car laiguille oscille alors autour
du zéro, montrant que le microphone présente des variations
de résistance, tantôt positives, tantôt négatives.
Si nous diminuons lintensité du courant, laiguille
du galvanomètre reste immobile au zéro, lorsque léquilibre
des résistances est bien établi sur les deux arcs
de dérivation ; mais, vient-on à actionner le microphone
au moyen de chocs réguliers et toujours identiques en énergie,
tels que ceux produits par un bon métronome, on voit que
les oscillations de laiguille galvanométrique sont
loin davoir toujours la même valeur, et que souvent
elles varient du simple au double.
Lextrême mobilité du charbon vertical explique
suffisamment linégalité de ces déviations,
et lexpérience démontre que cette inégalité
se retrouve pour tous les appareils à un seul contact, à
moins toutefois que la pression des charbons ne soit très
forte, auquel cas la sensibilité est tellement diminuée
que les vibrations vocales 11e suffisent plus à faire dévier
un galvanomètre ordinaire, et que le téléphone
est seul capable de signaler des variations de résistance
aussi faibles.
Avec le microphone à boules, décrit précédemment,
létude de ces variations est rendue beaucoup plus facile,
lappareil possédant à la fois une grande sensibilité
et une pression toujours uniforme sur chacun des contacts.
Mais, pour déterminer avec plus dexactitude les variations
de résistance, nous avons légèrement modifié
les dispositions habituelles du pouf de Wheatstone, ou plutôt
nous avons réuni dans un seul appareil les deux principes
du pont de dérivation et du sonomètre de Hughes. Les
variations subies par le microphone sont ainsi signalées
par le galvanomètre et par le téléphone. Voici
brièvement la disposition de cet instrument.
Sur une bobine plate sont enroulés côte à côte
trois fils ayant exactement le même diamètre et la
même longueur. Deux de ces fils sont réunis aux bornes
dattache du galvanomètre et de la pile par leurs extrémités
opposées, et forment, par conséquent, deux bobines
en dérivation lune de lautre, présentant
la même résistance (20 ohms) et parcourues en sens
inverse parle courant (voir fig. 1).

Le troisième fil joue le rôle de bobine induite, et
ses extrémités sont mises en rapport avec un téléphone
récepteur.
Le courant de la pile P, arrivé en c, se divise sur deux
conducteurs qui aboutissent aux bornes du galvanomètre G;
sur lun de ces conducteurs se trouve la bobine B, sur lautre
le microphone M. Il en résulte que si les résistances
de M et de B sont inégales, si, par exemple, M>-B, le
potentiel sera plus élevé en a quen b. Pour
revenir à la pile, le courant possède également
deux voies, lune à travers la bobine B', lautre
à travers le rhéostat r. On voit, daprès
cette disposition, que le potentiel doit être plus élevé
en a si M/B > r/B' et inversement, il est plus grand au point
b, M/B < r/B'
Il est égal en a et en b, et par conséquent laiguille
galvométrique reste au zéro, lorsque M/R=r/B'
La valeur de M est donc donnée par la formule M=Br/B' .Mais
nous savons que B=B', chacune des bobines représentant 20
ohms de résistance ; on a donc M=r.
En dautres termes, le galvanomètre marque zéro
lorsque r = M. Laiguille dévie lorsque M ><r,
cest-à-dire lorsque la résistance augmente ou
diminue à lintérieur du microphone, et léquilibre
est rétabli par une égale variation de la résistance
du rhéostat ; une simple lecture de cette variation indique
alors la valeur des changements de M.
En disposant autrement les attaches de la pile sur les bornes de
lappareil, en la mettant à la place du galvanomètre,
comme cela est indiqué dans la figure 2, le téléphone
peut indiquer, par un son plus ou moins fort, que le fil induit,
celui de la bobine I, est influencé par des variations ayant
lieu dans lintensité des courants dérivés
qui traversent les bobines B et B', lorsque léquilibre
est rompu entre M et r.
Si loreille est un peu exercée, on peut facilement
reconnaître que lintensité des sons émis
par le téléphone suit les mêmes phases que loscillation
de laiguille aimantée; par ce moyen, loreille
peut contrôler les indications galvanométriques, et,
au besoin, corriger le défaut de sensibilité dû
à linertie de laiguille.
En outre, avec cette dernière disposition, il nous est facile
dévaluer la sensibilité du récepteur
(ou lacuité auditive de lexpérimentateur),
puisque nous pouvons réduireà zéro la
différence de résistance entre M/B et r'/B'
Un calcul très simple, basé sur les lois des courants
dérivés, nous donne, en unités absolues, la
valeur de lintensité des courants en B et en B'; leur
différence représente nécessairement lintensité
du courant qui induit la bobine I, etcette induction ne peut avoir
lieu que si M/B =r'/R'
Nous reviendrons dailleurs sur lés applications de
cet appareil à propos des récepteurs; pour le moment,
nous allons nous en servir pour étudier ce qui se passe dans
le microphone en activité.
{A suivre.) Dr m. boudet de paris. |
ETUDES SUR LE MICROPHONE
4° article (voir les nos des 23, 30 avril et 14 niai 1881).
Tout étant disposé comme lindique la figure
1 de notre dernier article, et le microphone à boules étant
en M, on trouve que, pour ramener laiguille du galvanomètre
au zéro, il faut que r (le rhéostat) = 19,75 ohms.
On a donc : M/20 = 19,75/20 ou M = 20 x 19,75/20
Le microphone, bien réglé pour la transmission de
la voix présente donc, au repos, une résistance égale
à 19 ohms 75.
Nous parlons maintenant devant le transmetteur, à deux centimètres
de lembouchure,
Laiguille du galvanomètre éprouve successivement
deux déviations, qui sont de sens inverse; une première,
de courte durée, à la gauche du zéro, indiquant
M > r, lautre, au contraire, à droite, montrant
M < r et persistant jusquà ce que nous ayons cessé
de parler. La signification de cette double déviation nous
a semblé dabord quelque peu difficile à trouver
; mais nous avons fini par reconnaître quil fallait
la rapporter à deux influences agissant sucessivement et
différemment sur la membrane réceptrice, et déterminant
deux variations dordre différent dans les contacts
des charbons : la première (variation négative) est
due à laction de la chaleur de lhaleine sur le
diaphragme en caoutchouc durci ; la seconde (variation positive)
est causée par laction des vibrations vocales sur les
contacts. Le sens de cette dernière variation vient en aide
à la théorie que nous avons proposée, pour
expliquer le fonctionnement du microphone à boules.
En effet, si nous approchons les lèvres entrouvertes
à un ou deux centimètres de lembouchure, sans
parler, laiguille indique une augmentation de résistance
dans le microphone, et sa déviation subit des oscillations
correspondantes aux mouvements dinspiration et dexpiration.
Dès que nous parlons, la résistance du microphone
diminue, et la déviation se fait de lautre côté
du zéro.
Ce double phénomène est important à connaître
pour lévaluation de la valeur du changement de resistance
correspondant à un son donné. Car il ne faudra pas
seulement calculer ce changement daprès la déviation
positive de laiguille, mais bien daprès la déviation
totale quelle indique, après le double effet de la
chaleur et de la voix. Si, par exemple, lapproche de la bouche
cause une déviation de 40 à la gauche du zéro,
et, le son émis, une déviation à droite de
6°, la variation de résistance causée par la voix
ne doit pas être estimée seulement par ce nombre de
6°, mais par 6° + 4° = 10°.
Certains autres appareils, au contraire, éprouvant une augmentation
de résistance sous linfluence des vibrations vocales,
il faut retrancher de la déviation totale la quantité
résultant de laction de la chaleur. Ainsi, avec un
microphone de Hughes, leffet résultant de la chaleur,
lorsque la bouche est à deux centimètres de lappareil,
se mesure par une déviation de 6° à gauche du
zéro ; si on parle, cette déviation devient 18°;
pour une certaine émission de voix, le changement de résistance
produit par laction de la voix correspond à 18°-6°
= 12°.
En somme, on voit que dans des mesurations délicates, il
faut toujours tenir compte de laction de la chaleur qui produit,
selon les appareils, des variations de même sens ou de sens
inverse de celles que déterminent les vibrations vocales
proprement dites.
Maintenant, pourquoi la chaleur produit-elle une augmentation de
résistance dans ce cas particulier ? Ce nest évidemment
pas en agissant directement sur les contacts des charbons qui sont
à labri de son influence ; il nous paraît plus
logique dadmettre quelle modifie momentanément
la forme de la membrane microphonique, et, par suite, la pression
de cette dernière sur les boules de charbon. Linfluence
de la chaleur se traduit dailleurs avec une grande rapidité,
et laiguille galvanométrique revient au zéro
dès quon séloigne de lembouchure
du parleur. Elle a dailleurs toujours la même valeur
pour une même distance ; avec le microphone à boules,
la chaleur de lhaleine produit une résistance = 0,80
ohms, lorsque les lèvres sont à deux centimètres
de lappareil. A la même distance, la flamme dune
bougie ordinaire produit une augmentation de résistance =
0,35 ohms.
Quant aux variations positives produites par les vibrations de la
voix, elles dépendent ordinairement de la force de lémission
et de la nature même du son émis, toutes les voyelles
nagissant pas avec la même énergie, ainsi que
cela a été reconnu depuis longtemps; les variations
maxima sont atteintes avec l'a lo l'i, au contraire, donne
le minimum.
La forme que prend la bouche, lors de la prononciation des différentes
lettres de lalphabet, explique suffisamment les diverses modifications
de la colonne dair qui vient frapper la membrane réceptrice.
Nous ne pouvons insister plus longiiement sur ces détails
que nous avons déjà abordés lors de nos tentatives
dinscription électrique de la parole.
Daprès un grand nombre dexpériences, nous
pouvons conclure que lorsque lexpérimentateur parle,
à haute voix, à deux centimètres du microphone
à boules, les variations de résistance éprouvées
par cet appareil, peuvent atteindre cinq ohms; mais la moyenne de
ces variations doit être évaluée à environ
deux ohms.
Dans un prochain article, nous chercherons comment cette variation
de deux ohms peut être utilisée, avec le plus davantages,
pour produire un maximum deffet sur les appareils récepteurs.
(il suivre.) Dr m. boudet de paris |
|
ÉTUDES SUR LE MICROPHONE
5° article (voir les nos des 23, 3o avril et 14 et 21 mai
1881).
DE LA PILE
Jusquà présent, nous avons étudié
le fonctionnement des microphones à contacts multiples
disposés en tension; comme complément de cette étude,
nous allons maintenant rechercher les meilleures dispositions
à donner aux éléments de la pile qui doit
fournir le courant destiné à subir les variations
dintensité produites par les changements de résistance
du transmetteur. Il nous sera plus facile ensuite détablir
une comparaison avec les résultats que peuvent donner les
microphones à contacts en quantité, et dapprécier
les avantages incontestables que présentent ces derniers
sur les autres transmetteurs, surtout au point de vue de lintensité
des modifications quils impriment au courant.
Dans cette étude de la pile, nous prendrons comme type
de transmetteur en tension le microphone à boules; sa résistance,
nous le savons, égale en moyenne 20 ohms. Elle peut, il
est vrai, offrir quelques différences lorsque lon
expérimente plusieurs modèles de ces appareils,
mais ces différences sont peu importantes, si les dimensions
indiquées dans les articles précédents ont
été fidèlement observées par le constructeur.
En outre, pour un même appareil, la fixité du réglage
est telle que lon peut continuer les expériences
pendant plusieurs jours, ou les reprendre à de longs intervalles,
sans que lon puisse constater de variations notables dans
la résistance.
Le nombre des éléments de pile et leur mode de groupement
varient selon que lon agit sur un circuit direct ou avec
un courant dinduction.
1 ° Courant direct. Dans une première
série dexpériences, nous employons six éléments
au chlorure de zinc, montés en tension; chacun de ces éléments
possède une force électromotrice = 1,4 volt et une
résistance intérieure = 6 ohms. Dans le circuit,
dailleurs fort court, nous intercalons le microphone (=20
ohms) et une série de bobines de résistance ; à
lextrémité de ce circuit, nous plaçons
deux téléphones récepteurs, montés
en tension, et offrant chacun une résistance égale
à 60 ohms.
Dans ces conditions, la parole est très nettement perçue
jusquà une limite de 800 ohms (80 kilomètres).
Avec des résistances plus fortes, la parole faiblit très
rapidement, et un certain nombre de mots échappent, surtout
sil se fait un peu de bruit auprès de la personne
qui écoute.
La formule de Ohm nous donne la valeur de ce courant; en effet

Si, de la somme des résistances, nous retranchons les quantités
représentant la résistance des deux téléphones
(120 ohms), nous voyons quil faut une intensité minima
de 10 milliwebers environ pour que la parole soit bien perçue
en circuit direct
(Cette valeur minima de 10 milliwebers correspond au fonctionnement
pratique du téléphone .Expérimentalement
on peut reculer ses limites, car nous avons fait parler le microphone
avec une pile thermo-électrique de Melloni qui ne donnait
que 0.03 volt.).
Par conséquent, pour des circuits très
longs et très résistants, et en tenant compte des
déperditions qui ont lieu sur les conducteurs télégraphiques
(abstraction faite des inductions latérales et de la condensation),
on voit quil faudrait un nombre très considérable
déléments montés en tension pour franchir
des distances un peu considérables. Ainsi, pour un circuit
bien isolé de 5oo kilomètres (5.000 ohms), il faudrait,
pour obtenir ce courant de 10 milliwebers 3q à 35 éléments
Leclanché (ancien modèle); cest du moins ce
que nous indique la formule suivante :

Malgré ce nombre considérable déléments,
les variations dintensité produites par des variations
de résistance aussi petites que celles qui ont lieu dans
les microphones en tension sous linfluence des vibrations
vocales, sont extrêmement faibles.
Nous savons que la moyenne des variations de résistance
du microphone à boules = 2 ohms ; or, lappareil étant
au repos, nous aurons, avec 35 éléments Leclanché,
pour un circuit de 5.000 ohms

La variation de lintensité du courant, ou I'
I, égale donc o.ooooo3 weber, c'est- à-dire trais
millionnièmcs de weber,
Or, si une variation dintensité aussi minime peut
faire parler un téléphone dans les expériences
de laboratoire, il est bien évident quelle ne pourrait
suffire en pratique ; car, sur un fil télégraphique
de 5oo kilomètres, il existe une foule de causes perturbatrices
déterminant des réactions bien plus énergiques
dans les récepteurs, et qui couvriraient complètement
le son de la voix.
En somme, le calcul et lexpérimentation démontrent
que le courant direct ne doit être employé que sur
des circuits courts et peu résistants, tels que ceux des
appartements, des usines, etc. Bien que ces circuits soient complétés
par un fil de retour, leur résistance représente
à peine quelques ohms, de sorte que les variations dintensité
peuvent atteindre un chiffre assez élevé, surtout
si on a soin de nemployer comme récepteurs que des
téléphones très peu résistants.
Dans ces conditions, une pile de sonnerie ordinaire de 4 ou 6
éléments en tension suffit amplement à fournir
le courant nécessaire. Ainsi, en montant 6 éléments
Leclanché nouveau modèle (E = i,5; R = 2) sur un
circuit de 10 ohms (un kilomètre de fil télégraphique
ou 1.886 mètres de fil de cuivre de 2 millimètres
de diamètre), et en prenant comme récepteur un téléphone
également de 10 ohms de résistance, la valeur du
courant sera :

Le microphone variant de 2 ohms sous laction de la voix,
lintensité devient :
La variation dintensité ou I' - I = 0,0068 weber.
et ce courant actionne le téléphone assez énergiquement
pour que lon puisse entendre distinctement à une
certaine distance de lembouchure.
Par conséquent, pour les communications à courte
distance, il est souvent préférable demployer
le courant direct; la manipulation des appareils est beaucoup
plus facile quavec les bobines dinduction, tout le
mécanisme se réduisant à un commutateur automatique
placé à chaque extrémité de la ligne,
pour mettre la pile sur la sonnerie dappel ou sur le parleur.
En outre, un seul circuit peut servir pour les deux postes transmetteurs
et récepteurs; la meme pile agit alors sur les deux microphones
et les deux récepteurs; lintensité du courant
se trouve naturellement diminuée par cette augmentation
de résistance, mais les variations dintensité,
qui peuvent encore atteindre plusieurs milliwebers (0,0027 weber,
pour six. éléments sur un circuit de 1 kilomètre)
, sont bien suffisantes pour actionner fortement les récepteurs.
Nous verrons prochainement comment létablissement
dune dérivation peut faciliter lusage du courant
direct pour des circuits résistants; mais, avant daborder
cette question, nous allons étudier les résultats
fournis par les divers groupements des piles, lorsqnon veut
transformer le courant direct en courant induit.
2° Courant induit. Si lon fait usage des
induits, quelques éléments suffisent pour engendrer
un courant capable de franchir dénormes résistances.
En effet, on agit sur un circuit inducteur dont la résistance
est à peu près négligeable, et les plus petites
vaiiations de la résistance intercalée dans ce circuit
déterminent de notables variations de lintensité
du courant.
Voici un exemple : nous utilisons le courant de deux éléments
Daniell seulement, dont la force électromotrice est, pour
chacun, égale à 1,12 volt, et la résistance
intérieure égale à 5 ohms. La résistance
du microphone au repos étant de 20 ohms, on a, pour lintensité
du courant qui traverse le fil inducteur dune bobine de
Ruhmkorff :

La variation dintensité ou I' I = 0,0054 weber.
Or, en intercalant dans le circuit induit des résistances
formées par de longs tubes de verre pleins deau distillée,
la voix a pu facilement franchir des résistance de plusieurs
milliers dohms. Le résultat est donc bien différent
de celui obtenu avec le courant direct, et cette différence
tient à ce que :
1° La résistance offerte par le gros fil dune
bobine dinduction étant très faible, le courant
de quelques éléments conserve une grande intensité.
2° Une très petite variation dans la résistance
du circuit inducteur détermine une variation relativement
considérable de lintensité du courant qui
le traverse.
3° Les courants induits engendrés par ces variations
dintensité sont capables, à cause de leur
haute tension, de franchir de très grandes résistances.
Lavantage qui découle de la substitution du courant
induit au courant direct étant bien établi, il sagit
maintenant de déterminer le nombre et le mode dassociation
des éléments capables de produire le maximum deffet.
{A suivre.) Dr m. boudet de paris.
|
|
ÉTUDES SUR LE MICROPHONE
6e article (voir les n° des 23, 3o avril, 14, 21 mai,
18 juin).
Dune façon générale, l'intensité
du courant doit être réglée daprès
la résistance du microphone, car, avec des courants trop
intenses, les résistances des contacts de charbon sont
surmontés, il se fait un arc voltaïque à chacun
de ces contacts, doù la production de bruits gênants
dans les appareils récepteurs et une diminution de la sensibilité
du transmetteur. Le premier point à déterminer est
donc le maximum dintensité que peut supporter le
microphone ; pour le microphone vertical de M. Hughes, ce maximum
ne dépasse pas 70 milliwebers ; pour le transmetteur à
boules, il peut atteindre 300 milliwebers.
Dautre part, on sait quun courant a son maximum deffet,
lorsque la résistance du circuit égale la résistance
intérieure de la pile. Nous avons ici la démonstration
de ce principe. Si nous supposons toujours que le microphone en
activité éprouve une variation de résistance
égale à 2 ohms, voici les variations dintensité
que nous observons pour des éléments disposés
en une seule série et dont le nombre augmente progressivement
:

En examinant ce tableau, on voit que, bien que le courant continue
à augmenter dintensité, à mesure que
lon ajoute de nouveaux éléments, cependant,
pour une même variation de résistance, la variation
dintensité atteint son maximum avec quatre éléments
(o,oo58 weber), cest-à-dire, lorsque la résistance
intérieure de la pile égale la résistance
du microphone.
Mais il est évident que si, tout en conservant une plus
grande intensité de courant,on peut, pour une même
variation de résistance, obtenir des variations dintensité
plus grandes, les effets seront dautant plus énergiques
dans les récepteurs. Tout dépend donc du meilleur
groupement des éléments de la pile.
A priori, on peut supposer que pour un nombre déléments
donné, plus la résistance de la pile sera faible,
plus les variations de résistance du microphone auront
dinfluence sur lintensité du cou-
En effet, au lieu de ranger nos éléments Daniell
en une seule série, ce qui additionne leurs résistances
individuelles, nous les groupons en deux séries parallèles
réunies entre elles par leurs pôles de même
nom; lintensité du courant est alors donnée
par la formule suivante :
dans
laquelle m est le nombre total déléments;
n, le nombre des séries parallèles; r, la résistance
de chaque élément, et R la résistance du
circuit extérieur (microphone).
(*) Cette formule est celle que donne M. Gavarretdans son Traité
dÉlectricité. Mais on peut aussi se servir
avec avantage de la formule indiquée par M. le comte du
Moncel, formule reproduite plus tard dans louvrage de M.
Gordon, et dans laquelle le nombre des éléments,
en quantité, étant spécifié, ainsi
que celui des groupes, permet dobtenir directement la valeur
de lun ou lautre de ces nombres dans les conditions
de maximum. Cette formule est :

et, dans ces conditions, cest-à-dire en ne tenant
compte que du nombre des groupes, on arrive à la formule
de M. Gavarret ou de Ohm.
Si on augmente progressivement le nombre des éléments
dans chaque série, voici les variations dintensité
correspondant à une variation de résistance de 2
ohms dans le microphone.

La comparaison de ce tableau avec celui fourni par les éléments
rangés en une seule série indique que, dune
part, lintensité totale du courant est devenue beaucoup
plus grande et que, de lautre, les variations de lintensité,
pour un même nombre déléments, sont
également bien plus fortes. Ainsi, avec 12 éléments
en une seule série, nous avions :
I = 0,1723 et Y = 0,0042.
En groupant ces 12 éléments en 2 séries parallèles
de 6, réunies par leurs pôles de même nom,
on a :
I = o,2o36 et V = 0,0116.
Il y a donc tout avantage à diminuer la résistance
intérieure de la pile puisque, à nombre égal
déléments, les variations de résistances
du microphone produisent plus deffet. Mais aussi, o,n peut
voir daprès les chiffres précédents
que, pour obtenir le maximum deffet, il faudrait un nombre
déléments beaucoup plus considérable
quavec la disposition en une seule série; ainsi,
pour que la résistance de la pile égalât celle
du microphone, il faudrait 14 éléments Daniell (m
R = n' r); mais hâtons-nous de dire que ce maximum na
nullement besoin dêtre obtenu, et que les résultats
sont excellents avec 6 éléments Daniell groupés
en deux séries parallèles; l'intensité est
alors de i3o milliwebers environ, et les variations de résistance
du microphone ont une très grande action sur lénergie
totale du courant.
Toutefois, il ne faudrait pas pousser à lextrême
la diminution de la résistance intérieure de la
pile, cest-à-dire employer seulement la disposition
en quantité (en une seule batterie), et cela pour deux
raisons : i° parce que, avec ce mode de groupement, la force
électromotrice nest que celle dun seul élément;
20 parce que laddition dun nombre, même très
considérable déléments, ne modifie
que dune façon très minime les variations
dintensité produites par les variations de résistance
qui ont lieu dans le circuit. Ces résultats sont dailleurs
indiqués par la formule :
Plus la valeur de n (nombre des éléments) augmente,
plus celle de R (résistance intérieure de la. pile)
diminue, mais les valeurs correspondantes de I, ne diffèrent
que par des quantités très petites.
Sans pousser aussi loin laffaiblissement de la résistance
intérieure de la pile, on peut grouper ses éléments
en plusieurs batteries que lon réunit par leurs pôles
de noms contraires (en série) ; lintensité
du courant est alors donnée par la formule :
dans
laquelle n est le nombre des batteries parallèles et m,
le nombre des éléments dans chaque batterie. La
réunion de ces batteries en série intervient alors
pour modifier la valeur de E.
Pour rendre plus appréciables les effets résultant
des divers groupements des éléments de la pile,
nous avons construit les courbes suivantes qui indiquent lintensité
du courant pour chaque mode de groupement et pour un nombre déléments
variables. La résistance à vaincre est constituée
parle microphone et par le gros fil dune bobine dinduction;
cette dernière résistance est négligeable
; quant à celle du microphone, nous lavons estimée
à 18 ohms dans nos calculs. Tous ces nombres fournis par
le calcul ont dailleurs été rigoureusement
contrôlés au moyen des galvanomètres de force
électromotrice et dintensité construits par
M.Gaiffe. La longueur et laridité dun tel travail
sont nettement compensés par la netteté des résultats.
Dans ce tableau, le point de rencontre des abscisses et des ordonnées
(point ou passent les différentes courbes) indique en milliwebers
lintensité du courant pour un nombre déléments
croissant de 1 à 20.
On voit par exemple que, pour 8 éléments Daniell,
lintensité du courant,
.Avec la disposition en quantité......................................
.= 0,0601 webers
Avec la disposition en deux batteries réunies en série.........=
0,1092
Avec la disposition en une seule série. .............................
= 01544
Avec la disposition en deux séries réunies en batterie.........
= 0,1600
De linspection de ce tableau, il résulte donc que,
de toutes les dispositions, celle en une seule batterie donne
le minimum dintensité; la disposition en deux séries
réunies en batterie, est celle qui fournit le courant le
plus énergique; vient ensuite la disposition en une seule
série, puis enfin le groupement en deux batteries réunies
en série
Mais ce nest pas tout; nous avons vu que le bon fonctionnement
des appareils ne dépend pas tant de lintensité
totale du courant que des variations que subit cette intensité
sous linfluence des modifications de la résistance
à lintérieur du microphone.
Or, voici une autre série de courbes (fig. 2) qui indiquent,
toujours en milliwebers, quelles sont, avec les divers groupements
que nous venons détudier, les variations de Jintensité
pour une variation 45 x de résistance que nous supposons
toujours égale à 2 ohms.
Ces courbes montrent que, lors du groupement en une seule série,
la variation dintensité .atteint son maximum avec
4 éléments, et que, à mesure que lon
augmente le nombre des éléments, les résistances
surajoutées de ceux-ci prédominent tellement, que
la variation de résistance de 2 ohms
ments (14 dans le cas actuel) pour lequel elle donne les variations
maxima, on voit décroître légèrement
la valeur des variations dintensité ; mais cetie
diminution a peu dimportance, puisque ce mode de groupement
nous donne à la fois la plus grande intensité totale
et les plus grandes arrive progressivement à ne plus produire
quune variation dintensité très faible.
Avec la disposition en une seule batterie, les variations dintensité
atteignent rapidement leur maximum, dailleurs peu élevé,
et ne sont que très peu modifiées par laddition
dun nombre plus considérable déléments.
Avec le groupement en deux batteries réunies en série,
les variations dintensité augmentent avec le nombre
des éléments et atteignent vite (6 et 8 éléments)
un chiffre élevé.
Enfin la disposition en deux séries réunies en batterie
donne les plus grandes variations, de même que nous lavons
vue donner la plus grande intensité totale. Il est vrai
quà partir dun certain nombre déléments
(14 dans le cas actuel) pour lequel elle donne les variations
maxima, on voit décroître légèrement
la valeur des variations dintensité ; mais cetie
diminution a peu dimportance, puisque ce mode de groupement
nous donne à la fois la plus grande intensité totale
et les plus grandes variations dintensité avec un
très petit nombre déléments (B Daniell,
par exemple).
En résumé, si lon rapproche ces deux séries
de courbes, et si lon compare, pour chaque variété
de groupement, lintensité totale du courant et la
variation de cette intensité produite par une variation
de 2 ohms dans la résistance, on voit que :
La disposition en série unique ne doit être employée
quavec un petit nombre déléments, quand
on na besoin que dun courant de faible intensité,
et lorsque les éléments offrent peu de résistance
intérieure.
La disposition en une seule batterie doit être rejetée
quand on emploie les microphones à contacts en tension.
La disposition en deux batteries réunies en série
çst bonne, mais elle donne moins dintensité
que la suivante, pour un petit nombre déléments.
La disposition en deux séries réunies en batterie,
doit être préférée à toutes
les autres, lorsquon veut un courant énergique; cest
elle qui fournit le maximum dénergie totale et aussi
le maximum de variations dintensité.
(A suivre.) Dr m. boudet de paris
|
APPAREILS MICROPHONIQUES APPLIQUÉS AUX
ÉTUDES MÉDICALES ET PHYSIOLOGIQUES
En même temps que le microphone primitif de Hughes subissait
la série de transformations qui en ont fait un excellent
transmetteur de la parole, dautres expérimentateurs
mettaient à profit son exquise sensibilité, pour recueillir
et étudier les bruits les plus délicats de lorganisme
humain.
Les tentatives, patiemment renouvelées, ont fourni des résultats,
encore incomplets sans doute, mais qui laissent entrevoir la possibilité
de donner bientôt une place au microphone parmi les plus précieux
instruments dont pourront disposer les médecins.
Plusieurs fois déjà, nous avons eu loccasion
de parler de ces essais dans les colonnes de ce journal, et M. Th.
du Moncel les a mentionnés dans son livre sur le Téléphone
et le Microphone; aujourdhui, nous allons présenter
aux lecteurs quelques appareils dont nous empruntons les gravures
au travail du docteur Boudet de Paris sur les Applications du Téléphone
et du Microphone à la physiologie et à la clinique,
M. Boudet sest surtout attaché à donner à
ses explorateurs microphoniques, une très grande sensibilité,
tout en maintenant assez le charbon mobile pour éviter les
interruptions de courant et la production-dé bruits étrangers
qui couvriraient ceux que lon veut étudier.
Pour obtenir le maximum de sensibilité, lauteur adopte
une disposition indiquée autrefois parM. Hughes : le charbon
mobile, taillé en forme de cylindre, est couché horizontalement
et maintenu sur un axe transversal qui passe exactement en son milieu
;
les deux moitiés du cylindre se font ainsi équilibre,
et lune delles sappuie, par son extrénaité,
sur une pastille de charbon, qui reçoit directement ou indirectement
les vibrations sonores ou les mouvements à transformer en
sons.
Quant à la pression qui doit maintenir les charbons au contact,
elle est obtenue dune façon très simple au moyen
dun ressort formé dun V de papier écolier,
ce corps jouissant dune élasticité à
la fois très faible et très parfaite. Des vis micrométriques
permettent dérégler le degré de cette pression,
et de faire varier la sensibilité de lappareil, selon
les besoins de lexpérience.
La figure i représente un parleur microphonique construit
daprès ces données, et destiné à
analyser les vibrations vocales. En reliant cet appareil à
une pile peu résistante, telle quun Grenet, et à
un récepteur dune disposition particulière,
M. Boudet est parvenu à recueillir sur un cylindre couvert
de noir de fumée.les tracés des différentes
voyelles et même linscription de mots tout entiers.
Le même instrument peut encore être utilisé pour
faire parler à voix haute un téléphone récepteur,
et, de tous les microphones, cest celui qui peut le mieux,
à cause de son extrême sensibilité, servir lui-même
de récepteur. Un seul élément Leclanché
suffît pour transmettre et reproduire la parole, avec deux
appareils de cette nature adaptés aux deux extrémités
du circuit. Enfin, la force avec laquelle ce parleur fait vibrer
le diaphragme dun téléphone est telle que, en
recueillant ces vibrations au moyen dune tige qui sapplique
sur larcade dentaire, on a pu faire entendre le chant à
des sourds-muets chez lesquels le nerf auditif ne faisait pas complètement
défaut.

Le Myophone qui sert à létude du bruit
musculaire est représenté en coupe dans la figure
2. Le charbon inférieur H est fixé au centre dune
membrane de parchemin tendue sur une embouchure de téléphone,
et destinée à amplifier les vibrations qui lui sont
communiquées. Lautre face de cette membrane porte,
également à son centre., un bouton explorateur, que
lon applique directement sur le muscle en expérience,
ou bien auquel on attache par un fil ordinaire le tendon dun
muscle de grenouille. On peut ainsi recueillir les bruits du muscle
à létat de repos physiologique ou de contraction
provoquée par lexcitation électrique. Chez lhomme,
on constate que la tonalité de ce bruit est brusquement élevée
lors de la contraction volontaire, en même temps que son intensité
augmente. Le même appareil devient un précieux moyen
détude dans les cas pathologiques tels que la paralysie
et la contracture; il permet aussi de vérifier si les muscles
sont encore sensibles à laction des courants électriques
faibles.
Lexploration du pouls (artère radiale), avait tenté
tout dabord les expérimentateurs ; aussi les premiers
microphones médicaux ont-ils presque tous porté le
nom de sphygmophones. Celui du docteur Boudet de Pâris, représenté
dans la figure 3, est certainement lun des plus sensibles,
et il est disposé de telle sorte que les mouvements imprimés
par londée sanguine napportent aucune gêne
à lauscultation des bruits intra-artériels.
Deux ressorts, montés sur une petite lame de caoutchouc durci
de 5 sur 2 centimètres 1/2, portent, lun le bouton
explorateur K, lautre une pastille de charbon H. Lécartement
de ces deux ressorts, et, par suite, la pression du bouton K sur
lartère, sont maintenus par la vis G. Le charbon mobile
D peut monter ou descendre le long de la tige A, selon que lon
tourne la vis Y à droite ou à gauche. Lappareil,
muni dailettes mobiles L L, se fixe sur lartère
du poignet comme le sphygmographe de M. Marey; il indique
tous les bruits qui se passent à lintérieur
du vaisseau, et, avec un peu dhabitude, on arrive très
aisément à distinguer les différences de rhythme,
les bruits de souffle, etc.
SPHYGMOPIHONE
A. Tige de cuivre sur laquelle monte et descend le chariot
B.
C. Vis de serrage permettant davancer ou de reculer
le charbon mobile D.
E. Ressort portant le charbon H.
P. Ressort portant le bouton explorateur K.
G. Vis permetttant lécartement des deux ressorts
et par conséquent des pressions différentes du bouton
K sur l'artère.
I. Ressort en papier réglant la pression des charbons.
V. Vis micrométrique réglant la hauteur du
chariot B sur la tige A.
L. Ailettes mobiles maintenant lappareil sur le bras.
Cet explorateur, tel quil a été construit par
M. Verdin, est un véritable instru-ment de précision;
il est donc excellent lorsquil s'agit dexplorer lartère
radiale, et cest même celui qui donne les meilleurs
résultats ; mais il ne peut commodément sappliquer
sur les autres artères telles que les carotides, les fémorales,
etc., ni surtout sur les veines.
Il est préférable alors de se servir du microphone
à transmission représenté dans la figure 4.

Les charbons de ce microphone sont placés sur un tambour
T, assez semblable à ceux de M. Marey. Un petit embout divoire
ou de corne B, en forme dentonnoir, sert dexplorateur
et sapplique très légèrement sur les
vaisseaux. Un tube de caoutchouc relie cet embout au tambour récepteur
dont la membrane est faite en vessie de porc très fortement
tendue. Si lon veut atténuer linfluence de certains
mouvements mécaniques, on adapte à lorifice
de lembout une seconde membrane munie dun bouton explorateur
A.
Quant au réglage de la pression des charbons, il sexécute
par un moyen très simple dont lidée première
appartient à M. le Dr dArsonval. Comme on peut le voir
sur la figure 4, le ressort en papier est remplacé par lattraction
quexerce lavis M, en acier aimanté, sur une petite
aiguille dacier couchée sur le charbon horizontal.
M. Gaiffe a réuni les diverses pièces de cet appareil
dans une petite boîte très portative, qui renferme
en même temps la pile P destinée à fournir le
courant.
Pour lusage de ces différents microphones, M. Boudet
recommande de nemployer quun courant très peu
énergique, celui dun seul élément au
chlorure dargent, par exemple. Plus les vibrations que lon
veut recueillir sont faibles, plus le courant lui-même doit
être réduit ; on évite ainsi les erreurs qui
seraient produites par laction dun courant énergique
sur les contacts des charbons. Dautre part, les ébranlements
mécaniques produiraient, avec un courant fort, des bruits
très intenses qui gêneraient la perception des bruits
plus faibles.
Quant aux récepteurs, on comprend facilement que leur résistance
doit être très faible, pour quils puissent être
impressionnés par des'variations dintensité
aussi petites que celles engendrées par les bruits de lorganisme.
Il y a donc avantage à se servir de téléphones
à fil gros et court.
DE MAGNEVILLE |
1881 "LA LUMIERE ELECTRIQUE"
M. Boudet, de Paris, vient de publier un nouveau
livre sur le téléphone intitulé : Des
applications du téléphone et du microphone à
la physiologie et à la clinique.
M. Boudet pouvait mieux quaucun médecin traiter cette
question, car il a contribué lui-même aux progrès
du microphone, et nos lecteurs doivent se rappeler les curieuses
expériences qui lont conduit à faire parler
haut un téléphone ordinaire, à faire reproduire
la parole à des téléphones sans diaphragme
et même sans noyau magnétique; cest lui qui a
été un des premiers et les plus ardents partisans
de notre théorie des vibrations longitudinales moléculaires
dans les effets téléphoniques, et il est arrivé
à faire du microphone un véritable appareil de précision
pour les études physiologiques.
Son livre se divise en deux parties : la première se rapportant
à létude des appareils, la seconde aux applications
médicales et physiologiques du microphone et du téléphone.
Dans la première partie, il consacre un chapitre aux appareils
récepteurs dont il déduit les dispositions en partant
dune série dexpériences propres à
montrer les différentes manières de reproduire les
sons et la parole et les différentes actions physiques qui
sont en jeu. Dans un second chapitre, il étudie les transmetteurs
quil divise en deux classes : ceux qui fournissent des interruptions
rapides du courant, comme les appareils à trembleur, les
téléphones de Reiss, etc., et ceux qui produisent
des variations dintensité du courant par des variations
de résistance dans le conducteur du circuit. Là, comjne
dans le premier chapitre, il énumère les différentes
expériences qui ont amené aux différents transmetteurs
que lon connaît, et aux différents effets phonétiques
que nous avons si souvent signalés, et quil explique
à peu près de la même manière que nous.
Dans un troisième chapitre, il soccupe delà
pile et montre quil faut toujours faire en sorte de lemployer
la plus faible possible; cest à cette seule condition
que les sons sont nets et distincts. Il conseille lemploi
de deux petits éléments à sulfate de cuivre,
de M. Trouvé.
Les applications médicales et physiologiques du téléphone
sont, grâce à lauteur, aujourdhui très
nombreuses, et se rapportent: 1° à létude
de la voix articulée ; 2° à létude
du bruit musculaire ; 3° à létude des bruits
intra-thoraciques ; 4° à létude des bruits
circulatoires ; 5° au diagnostic des calculs vésicaux,
à létude de la dermatophonie, aux bruits intra-utérins,
etc. La description et létude de toutes ces applications
sont accompagnées de dessins indiquant les dispositifs employés
par lui, dispositifs bien entendus et bien étudiés
qui devront figurer maintenant dans les cours de médecine.
Nous décrirons quelque jour ces divers appareils. |
sommaire
M. Boudet de Paris a aussi combiné des transmetteurs
où les contacts sont réunis en quantité et qui
ont fourni également de bons résultats; ce sont ceux que
nous représentons figures 73 et 74.

Dans le premier, une membrane de caoutchouc durci porte à son
centre un axe coudé sur lequel sont fixées transversalement
deux tiges cylindriques de charbon. Au-dessus de ces deux tiges, sont
suspendues côte à côte 24 tiges de cuivre (en 2 séries
de 12) terminées par un petit cylindre de charbon à lextrémité
duquel est vissée une masse métallique pesante. Lappareil
est renfermé dans un anneau cylindrique dont le fond en glace
permet de voir la disposition des différentes parties. Enfin
le tout est fixé sur un pied support, et linclinaison est
obtenue au moyen dune charnière. On remarquera en outre
que dans cet appareil la charge des charbons mobiles étant placée
au-dessous de leur point de contact et très près de lui,
il suffit dune variation très faible de linclinaison
pour faire varier la pesanteur et pour obtenir des pressions très
différentes.
Le second appareil se compose dune plaque débonite
formant la paroi postérieure dune petite caisse de résonance,
et sur laquelle sont vissées parallèlement deux ba-rettes
horizontales de charbon percées de trous coniques pour y adapter
une vingtaine de cylindres de charbon oscillant librement sur leurs
pointes. Le pied de cet instrument porte dailleurs une charnière
qui permet de lui donner tous les degrés dinclinaison.
La résistance dces appareils est denviron un dixième
dohm, en moyenne ; mais lamplitude des variations de résistance
est bien moindre quavec le transmetteur à boules, et ne
dépasse guère 0 ohm,25; on a reconnu que, dans certaines
conditions, cela suffit pour obtenir une reproduction très bonne
de la parole.
...
Boudet de Pâris présente en 1880 un
micro-stéthoscope à amplification électrique
où il tente dadapter au stéthoscope la technologie
du microphone qui vient dapparaître.
Le micro-stéthoscope est collé à la peau
par une ventouse, son fonctionnement est difficile à comprendre
et il restera au stade expérimental.
Il crée également un modèle biauriculaire classique
non électrifié : le stéthoscope amplificateur.
Pour empêcher toute déperdition du son le long de la colonne
dair, et assurer une bonne transmission de londe sonore,
les embouts auriculaires sont ajustés au canal auriculaire. Un
bouton explorateur circulaire capte les vibrations sonores pour les
transmettre à une membrane en bakélite supposée
les renforcer. Pour ausculter les vaisseaux le bouton explorateur devient
ovale. Si Paul juge que lauscultation biauriculaire double lintensité
des sons, Boudet affirme quelle la quadruple.
Chauveau, à la fois vétérinaire, chercheur et physiologiste,
réalise en 1896 un appareil à tubes souples avec un lourd
pavillon en bronze équipé ou non dune membrane vibrante
en caoutchouc. Comme Boudet, Chauveau estime que la transmission des
sons passe par la vibration de la colonne dair du stéthoscope.
Ses embouts auriculaires sont enfoncés à frottement pour
éviter toute déperdition sonore. Il branche en parallèle
un tube en caoutchouc dune vingtaine de centimètres communiquant
avec lair libre. Cet appendice permettrait de conserver aux bruits
leur tonalité dorigine.
Lannée 1901 est décisive.
Cest la date à laquelle Robert C. M. Bowles ingénieur
de Boston, influencé par le téléphone, reçoit
un brevet dinvention pour lutilisation dun
diaphragme vibrant placé sur le pavillon du stéthoscope.
Sa demande avait été déposée en 1894. Le
diaphragme vibre au passage des sons et crée aussi une chambre
acoustique qui renforce leur intensité. Dun diamètre
de 51mm, son intimité avec la paroi thoracique amplifie en priorité
les sons aigus. Le pavillon plat avec son tube coudé peut être
glissé sous les vêtements pour respecter la pudeur féminine
.

Pavillon de Bowles avec sa tige coudée.
...
Les médecins français de la fin du XIXe siècle,
contemporains directs de nombreux musiciens français de l'entre-deux-guerres,
considéraient la musique et ses vibrations comme utiles non seulement
pour aider les personnes souffrant de troubles nerveux, de douleurs
physiques et d'insomnie, mais aussi en tandem ou comme anesthésiant
lors d'interventions chirurgicales. Cela est évident dans le
texte de Maurice Boudet de Pâris de 1881 sur les pouvoirs anesthésiques
des vibrations mécaniques, dans lequel il relate des expériences
récentes sur les propriétés calmantes et anesthésiantes
du son, et préconise lutilisation de diapasons vibrants
comme anesthésique local pouvant également soulager les
patients souffrant de migraines et de crampes.
Boudet édita de nombreux livres et documents
dont :
- Note "Sur un nouveau stéthoscope par le Dr Boudet de Pâris",
- Livre : "De l'élasticité musculaire / par Boudet
de Pâris"
- Livre : "Considérations générales sur la
fonction du muscle et sur les effets cliniques du courant de pile"
- Livre "Des applications de téléphone
et du microphone a la physiologie & à la clinique"
. Consultable en pdf
- "Note sur une cause peu connue du bourdonnement d'oreille"
- Livre : ETUDES ÉLECTROPHYSIOLOGIQUES ET CLINIQUE.
-Livre : Du Traitement de l'occlusion intestinale par l'électricité
sommaire
|