FRANCIS BLAKE
Francis Blake (1850-1913) est né à Needham,
Massachusetts le 25 décembre 1850, fils de Caroline Burling (Trumbull)
et de Francis Blake, Sr.
Il a commencé à travailler comme scientifique au US Coast
Survey à l'âge de 15 ans.
Après avoir commencé à travailler
à l'âge de 15 ans au sein du United States Coast Survey,
son travail précis et acharné l'a conduit à des
tâches très importantes, comme travailler sur la partie
française d'un projet visant à calculer avec précision
les longitudes transatlantiques, via le câble télégraphique
sous-marin. Jjusqu'au début de l'âge adulte (1866-1878).
Il était physicien et photographe amateur.
En 1874, Blake épousa Elizabeth Livermore Hubbard
(1849-1941) une famille très riche, dont le père lui fournit
un terrain à Weston, sur lequel Blake conçut et construisit
une maison élaborée où il mena ses expériences
électriques. Ils eurent deux enfants : Agnes (Blake) Fitzgerald
(née en 1876) et Benjamin Sewall Blake (née en 1877).
Ironiquement, Elizabeth Hubbard, de nom de jeune fille est identique
à celui de Mabel Bell, mais sans lien de parenté.
sommaire
Cest là que lhistoire devient intéressante
pour la communauté. Alexander Graham Bell
a obtenu un brevet américain pour le téléphone
en 1876, mais selon la plupart des témoignages, l'entreprise
qu'il a lancée était en difficulté.
Le téléphone de Bell recevait des appels, mais il ne les
transmettait pas très bien ni très fort. À l'époque,
Western Union était le principal concurrent de Bell et utilisait
un émetteur à base de carbone de Thomas Edison qui fonctionnait
bien mieux.
Ayant entendu parler des expériences intéressantes
et de l'invention remarquable de Bell, Blake avec deux autres professeurs
de l'Université Brown , Eli Whitney Blake et John Pierce , entreprirent
de retravailler certaines de ses expériences et de créer
de nouveaux dispositifs d'émission de sons. Ils savaient que
Bell avait travaillé sur la théorie selon laquelle la
puissance de ses instruments était proportionnelle à leur
taille. En effet, lors d'une exposition de ses découvertes dans
le vieux Music Hall de Providence, Bell avait exposé quelques
petits instruments dotés de diaphragmes d'un diamètre
de seulement 2,5 cm, ainsi qu'un plus grand, doté d'un diaphragme
d'une trentaine de centimètres. Ces instruments reproduisaient
parfaitement la musique, mais pas la voix humaine.
Le professeur Blake eut l'idée de concentrer
toutes les impulsions sonores au centre du diaphragme. Il y parvint
en réduisant la taille du diaphragme afin d'exclure les sons
étrangers, puis construisit un nouveau type d'embouchure
convergente ou concave qui centralisait les vibrations de l'air
produites par une personne qui parle. L'importance de cette amélioration
est évidente, même si la sensibilité et la sélectivité
sont depuis longtemps devenues des atouts majeurs du diaphragme moderne
de capture du son. Entre 1875 et 1876, plusieurs étudiants du
laboratoire du professeur Blake se consacrèrent à l'idée
qui avait suscité l'intérêt de leur professeur,
et il est rapporté qu'un appareil téléphonique
fut finalement mis au point, permettant à ces jeunes expérimentateurs
de converser entre eux grâce à un fil tendu d'une pièce
à l'autre. Suite à ces recherches et expérimentations,
les professeurs Blake et Pierce entreprirent une démonstration.
Au domicile de M. Rowland Hazard, rue Williams, les instruments rudimentaires
d'émission et de réception furent installés et
des fils furent tendus entre deux pièces, à une certaine
distance l'une de l'autre. Un grand nombre de personnes avaient été
invitées à assister à l'expérience, et beaucoup
d'entre elles furent complètement surprises d'entendre, par ce
que les professeurs appelaient le téléphone, les voix
d'amis qu'elles reconnaissaient, mais dont elles ne soupçonnaient
pas qu'ils étaient parmi les invités.
On attribue au professeur Pierce le mérite d'avoir démontré
la faisabilité de l'utilisation d'un petit aimant dans le téléphone
et d'avoir inventé l'embout buccal utilisé dans les téléphones
portables. Selon l'agencement de Bell, le couvercle et l'embout buccal
de projection étaient des composants séparés et
distincts, tandis que Pierce a combiné le couvercle et l'embout
buccal pour obtenir une « forme plus pratique ». Channing
a affirmé que linnovation de Pierce avait corrigé
les gémissements du téléphone et perfectionné
son articulation. Une autre modification majeure du téléphone
attribuée à l'expérience de Providence fut le remplacement
d'un aimant unipolaire par un aimant en fer à cheval, permettant
ainsi la construction d'un véritable téléphone
portable.
Lorsqu'il apprit les expériences menées
dans les laboratoires de Brown et que le récit de la remarquable
démonstration de la maison Hazard à Providence parvint
à ses oreilles, Alexander Graham Bell fit exactement ce que tout
inventeur aurait fait dans ces circonstances. Il perdit beaucoup de
sommeil et écrivit plusieurs lettres de menaces aux professeurs
Blake et Pierce. Ont-ils tenté de monnayer, pour ainsi dire,
leurs découvertes privées ? S'étaient-ils précipités
chez un avocat spécialisé en brevets pour prouver qu'ils
détenaient des droits antérieurs sur l'invention et le
développement de ce qui semblait être un miracle scientifique
? Absolument pas. Ils étaient simplement amusés et poursuivirent
leurs recherches et leurs expériences. Une fois terminé,
l'un de leurs instruments, réputé pour être le premier
sur lequel on pouvait entendre clairement la parole, fut emballé
dans un carton et expédié à M. Bell, avec leurs
cartes.
Cependant, lorsqu'il devint clair que Blake expérimentait avec
un téléphone rudimentaire dans le cadre de ses fonctions
de professeur de physique, que le groupe travaillait uniquement dans
l'intérêt de la science et non pour un gain personnel,
et que les expérimentateurs reconnaissaient la validité
du brevet de base de Bell sur le téléphone, Bell changea
d'attitude et finit par encourager leurs efforts. Bien que les expérimentateurs
de Providence aient fonctionné harmonieusement en équipe,
plusieurs de leurs membres ont acquis une certaine notoriété
grâce à leurs réalisations individuelles.
Le Dr Channing a été crédité d'avoir
modifié la disposition du téléphone fixe et ainsi
construit le « premier récepteur portable "Hand
telephone" digne de ce nom », bien qu'il soit encore
trop grand pour être saisi par une femme ou un enfant.
Le professeur Blake poursuivit ses expériences à Peace
Dale, dans le Rhode Island, où il installa, pour des raisons
pratiques, une ligne téléphonique reliant le domicile
de Rowland Hazard à celui de son frère. Cette ligne, longue
de 400 mètres, fut la première à être utilisée
à des fins autres que expérimentales. À la même
époque, le Dr Fenner H. Peckham, futur responsable de la Providence
Telephone Company, établit une communication sonore entre son
domicile du 27 Benefit Street et son bureau situé près
du tunnel ferroviaire de North Main Street. Cette ligne, longue d'un
demi-mile, utilisait les fils télégraphiques déjà
tendus entre les deux localités. C'est par cette ligne que fut
transmis le premier appel à l'aide médicale jamais envoyé
par téléphone, un message d'urgence qui démontra
immédiatement l'immense valeur pratique de cette nouvelle invention.
Le 15 Mai 1877 - Bell Présente le téléphone
à main (hand telephone). Mentionné dans une lettre de
Theodore N. Vail à William A. Childs, président de la
Law Telegraph Company. il présente au public son invention sous
une nouvelle forme imaginée par le professeur Pierce : "the
Hand Telephone" ou "Téléphone à Main"
aussi appelé "butterstamp"
car sa forme évoquait bien les tampons pour mouler le beurre.
sommaire
Le microphone Blake
1878 Francis Blake, Jr, de Weston, Massachusetts,
prodige des mathématiques, photographe et ancien officier de
l'U.S. Coast Survey, s'est inspiré des expériences du
professeur Hughes et a passé l'été à développer
un émetteur reposant sur un contact variable entre un diaphragme
métallique et un bloc de carbone, qu'il a également proposé
à Bell en tant que rival de l'émetteur d'Edison.
En avril 1878, Blake demanda le prêt de quelques téléphones
Bell à des fins expérimentales, espérant ainsi
« mettre la main sur quelque chose de nouveau et d'utile pour
l'entreprise ».
En reconnaissance des efforts scientifiques des Experiments et de leur
conduite irréprochable lors des récents conflits de la
Western Union, Alexander Graham Bell proposa en 1880 que Thomas Sanders,
Gardiner Hubbard, Thomas Watson et lui-même leur apportent chacun
une partie de leurs parts de la Continental Telephone Company. En faisant
cette suggestion, Bell estimait qu'il corrigeait une injustice commise
par les sociétés Bell qui lui ont succédé
en ne reconnaissant pas les efforts des expérimentateurs de Providence
au nom des intérêts du téléphone Bell. Il
reconnaissait que les expérimentateurs poursuivaient leurs travaux
dans le but de contribuer à la perfection commerciale du téléphone.
Bell a suggéré :
"Si nos propres chercheurs n'avaient pas anticipé bon nombre
des points ainsi communiqués, nous leur aurions été
redevables de certaines des fonctionnalités les plus précieuses
qui ont depuis fait du téléphone un succès".
Peu importe si les entreprises Experimentales ont contribué de
manière significative ou non à la commercialisation réussie
du téléphone Bell, elles étaient représentatives
dans une certaine mesure de la méthode par laquelle la société
Bell a acquis des améliorations et des inventions téléphoniques,
c'est-à-dire grâce aux efforts de scientifiques, d'inventeurs
et d'électriciens indépendants.
Au cours des deux années suivantes, il a travaillé avec
les employés de Bell pour peaufiner la conception afin de corriger
toute une série de problèmes de résonance, de montage,
de point de contact et de matériaux.
Avant la fin de l'année, il avait inventé "l'émetteur
Blake" peu de temps après que Thomas
Edison ait inventé un microphone similaire qui utilisait
également des contacts en carbone,
Watson a testé l'émetteur Blake
et a déclaré qu'il était plus puissant que celui
d'Eison, et que son réglage était plus facile.
Bien que l'instrument de Blake reposait clairement sur l'électrode
au carbone « interdite », le besoin de la Bell Company d'un
transmetteur équivalent à celui d'Edison était
si grand qu'elle était prête à assumer les risques
liés à l'utilisation de contacts en carbone et a acquis
le téléphone de Blake.
En novembre, le transmetteur Blake était déjà
en production et avait été mis en service. Watson était
ravi de ses performances sur les lignes Holmes à Boston et annonça
qu'il faisait tout son possible pour accélérer sa fabrication.
Il indiqua qu'il restait encore des essais à effectuer sur le
transmetteur, mais suggéra que cela ne causerait aucun retard.
Bien que Watson ait indiqué que les transmetteurs à batterie
pouvaient être produits aussi rapidement que nécessaire,
la société Bell a rapidement rencontré des problèmes
avec eux. Watson a rapporté en décembre :
"Blake et moi travaillons comme des chevaux de Troie et si je n'en
tire pas quelque chose rapidement, ce ne sera pas ma faute. Aucun de
nous n'est satisfait des derniers instruments, bien qu'ils fonctionnent
mieux que les précédents. L'assurance qu'ils fonctionnent
avec succès nous serait plus que satisfaisante et me déciderait
à pousser plus loin leur fabrication".
Malgré ses défauts, le transmetteur Blake a commencé
à obtenir des résultats satisfaisants et Watson a promis
d'en fournir deux cents d'ici janvier.
La demande de Blake d'apposer ce nom sur chaque transmetteur fabriqué
a suscité la crainte de Watson de créer un précédent,
par lequel la société pourrait être dissoute. Le
nom « Bell » serait obscurci. Il a néanmoins consenti
à la décision.
George Bradley était heureux de recevoir l'assentiment de Watson.
Il pensait que la Bell Company, poursuivant ses activités, achèterait
occasionnellement de nouveaux investissements et qu'elle gagnerait beaucoup
à mentionner pleinement et justement les noms des inventeurs.
Il assura à Watson :
" Je pense que vous vous trompez dans votre raisonnement
Monsieur
Bell est, et doit toujours rester, un inventeur par excellence en ce
qui concerne les téléphones, mais il y aura nécessairement
dautres étoiles dans le domaine du téléphone
quil ne nous fera jamais de mal de regarder et que vous suggérez
d« obscurcir » la plus grande lumière".
La demande de Blake de reconnaissance publique concernant le transmetteur
a également suscité l'opposition d'Émile Berliner,
qui a soutenu que Blake n'avait fait qu'améliorer un dispositif
qu'il avait lui-même montré. Berliner a affirmé
que s'il avait été en meilleure situation financière,
il aurait développé cette idée et construit un
instrument similaire à celui de Blake. Il estimait donc avoir
autant le droit que Blake de voir son nom affiché sur l'émetteur.
George Bradley a nié les allégations de Berliner. Il était
disposé à rendre public le nom de Berliner lorsqu'il a
obtenu son brevet, mais il a également souligné la différence
entre sa position et celle de Blake : « M. Blake nous a donné
un instrument que nous avons immédiatement mis en pratique et
qui nous a été d'une certaine utilité. »
Cependant, Bradley fut bientôt contraint de reconnaître
la contribution de Berliner au transmetteur Blake.
Bien que Vail ait informé les agents que la Bell Telephone Company
pensait que son émetteur était bien plus performant que
celui d'Edison l'instrument Blake nécessitait des améliorations
et une perfection.
Berliner avait été employé par Bell pour essayer
de perfectionner son émetteur, et bien que certains aient été
fabriqués et utilisés, ils n'ont jamais été
un grand succès. Il se trouvait cependant dans les ateliers de
Charles Williams lorsque l'invention de Blake fut achetée, et
ses problèmes retinrent son attention. Les premiers modèles
étaient constamment déréglés et les utilisateurs
devaient être formés pour obtenir un discours cohérent
: « un tel instrument était totalement impropre à
être mis en service » . Blake s'est finalement retiré
dans son atelier de campagne - la tension nerveuse était trop
forte.
Lorsque Francis Blake tomba malade, la tâche fut confiée
à Berliner et à un assistant. En six semaines, Berliner
avait perfectionné l'émetteur de Blake.
Le microphone Berliner-Blake amélioré
était un standard de la société Bell pendant de
nombreuses années.
Blake vendit son brevet à La Bell Company qui lui a donné
des actions pour les droits sur l'émetteur de carbone, et a commencé
à l'utiliser en décembre 1878.
Brevet canadien 10021 pour émetteur téléphonique,
annulé le 3 mars 1887 en raison de l'incapacité de fabriquer
des pièces téléphoniques au Canada.
 |
La figure donne tous les détails
de la disposition intérieure du transmetteur :
h est une pastille de charbon. g, disque de cuivre dans lequel est
fixée cette pastille. d, ressort d'acier, c est une petite
pointe de platine formant le contact avec le charbon, rivée
à un ressort très mince. C est le diaphragme.
Les deux ressorts d et ce sont isolés par une lame en os
et fixés à un levier en fonte F, sur la partie inférieure
de celui-ci appuie une vis G qui sert au réglage de l'appareil,
soit qu'on veuille éloigner ou rapprocher le levier du diaphragme,
afin d'augmenter ou de diminuer le contact du charbon avec la pointe
de platine. I est une bobine d'induction dans le circuit de laquelle
passe le courant de la pile dite pile du microphone, et dont l'un
des pôles est en communication au moyeu d'un fil avec le bâti,
tandis que l'autre pôle est rattaché par un fil au
ressort cc. |
Témoignage :
Le superviseur de Blake's Coastal Survey, Julius Hilgard,
avait été l'un des juges qui ont décerné
à Bell une médaille à l'exposition du centenaire
de 1876, et c'est grâce à lui que Blake a appris l'existence
du téléphone.
« Le travail télégraphique que Blake avait effectué
au Coast Survey
lui avait fourni une connaissance très
sophistiquée de l'électricité », et en
janvier 1878, il travailla dur pour améliorer le faible récepteur-émetteur
de Bell. « Il a lu la dernière littérature professionnelle
sur les microphones » et, après de nombreuses expérimentations,
a produit un modèle fonctionnel. "Le 18 octobre 1878,
Blake l'emmena dans les bureaux de Bell Company à Boston,
où il fut soumis à des tests approfondis par Thomas
Watson
les résultats laissaient peu de doute, (il)
était meilleur que tout ce qui était disponible."
C'est ce qui a assuré à l'émetteur de Blake
sa place dans l'histoire. Thomas Watson avait désespérément
lutté pour trouver quelque chose de mieux que le modèle
d'Edison - et lorsque "Frank Blake est arrivé avec son
émetteur, nous l'avons acheté". Bell disposait
enfin d'un émetteur « aussi bon, voire meilleur, que
celui d'Edison » et était donc confiant de poursuivre
Western Union (par l'intermédiaire du directeur de leur «
American Speaking Telephone Company ») pour violation de brevet
- une bataille qu'ils ont (improbablement) gagnée, lorsque
Western Union a réglé à l'amiable et a cédé
tous ses brevets et toutes ses activités téléphoniques
à son petit rival .

L'un des problèmes était la tendance du diaphragme
à résonner harmoniquement, générant
de fortes harmoniques, ce qui rendait la parole sur les premiers
modèles si distinctement étrange qu'elle était
surnommée « conversation téléphonique
». Edmond Wilson, un employé de Bell travaillant avec
Blake, a suggéré (et breveté) l'anneau en caoutchouc
autour du bord du diaphragme (présent sur tous les Blake
que nous voyons, bien que souvent durci et brisé avec le
temps). Berliner s'est mis à , et a finalement apporté
deux améliorations significatives. Il a redressé et
renforcé les ressorts à lames de contact (auparavant
courbés) et a modifié les deux ressorts amortisseurs
pour leur donner la configuration que nous connaissons aujourd'hui.
Il a également remplacé le bouton en carbone souple
par « un carbone dur et dense (as) formé dans les cornues
à gaz de ville » à très haute température,
car la pointe en platine de l'autre contact rongeait le bouton et
ruinait le réglage. Berliner s'est donné beaucoup
de mal pour produire ces boutons en verre de carbone dur et a personnellement
supervisé leur fabrication, selon ses spécifications,
à la Boston Gas Works. "(Son) procédé
est resté la méthode standard de traitement des boutons
en carbone aussi longtemps que les émetteurs Blake ont été
fabriqués".
Berliner a écrit : « Après que
l'émetteur
Blake ait été perfectionné, des ordres ont
été donnés pour que nous en fabriquions 200
par jour.
Ceux-ci ont été testés par moi-même et
M. Richards, et une fois ajustés, ils sont restés
en état de fonctionnement de première classe. J'ai
personnellement testé les 20 000 premiers émetteurs
».
Francis Blake était également un négociateur
habile et il a conclu un accord lucratif et permanent avec Bell
pour obtenir des redevances, y compris les droits de fabrication
en dehors des États-Unis - ce qui lui a rapporté beaucoup
d'argent, malgré les complications en Grande-Bretagne où
les États-Unis, puis le National, La compagnie de téléphone
a finalement fini par détenir les droits. Cependant, la société
Bell a reconnu diplomatiquement le travail d'autres personnes sur
l'appareil - d'où les noms Berliner, Bell et Edison (après
le règlement de Western Union) étaient estampés
sur le bois des premiers modèles, avec une liste de brevets
pertinents sur le panneau latéral. - avec les mots "Blake
Transmetteur" |
Lorsque toutes les revendications du brevet ont été terminées,
Blake disposait d'un microphone au carbone à contact unique et
à résistance variable. La raison pour laquelle cela fonctionnait
mieux que certains sur des lignes courtes (aucun contact ne pouvait transporter
beaucoup de courant avant la piqûre ou la fusion) était due
à la disposition (sans doute unique) des points de contact sur
des ressorts qui « flottaient ».
Le côté platine était toujours contre le diaphragme
- mais n'y était pas attaché, (comme avec Edison et d'autres)
étant sur un ressort à lames séparé, attaché
au bras ou à la barre moulé (mobile), dans le cadre d'un
pieu à ressort isolé. Le côté carbone s'appuyait
contre lui, sur son propre ressort plat. La pression exercée sur
le contact lui-même pour maintenir les points ensemble était
fournie par le ressort lourd, court et plat reliant le bras supérieur
ou la barre en métal moulé au cadre. Une vis de réglage
avec une pointe conique portant sur l'angle de cette barre signifiait
que la pression sur la paire de contacts, appuyant contre le diaphragme,
pouvait être ajustée à l'infini.
Cela a été considéré comme nouveau et novateur
par Allsop (1891) car s'il était correctement ajusté, le
système éliminerait le « crash » de la rupture
de contact, qui gâchait d'autres conceptions, y compris les types
de crayons de carbone. Lockwood (1882) le résume ainsi : Le Blake
était une « progéniture légitime du microphone
(de Hughes)
la même idée semble être venue à
peu près au même moment à de nombreux autres esprits
mais Blake était assisté de plusieurs autres experts du
Bell Tel. C'est Co.
c'est lui qui a fait en sorte que cela fonctionne".
En France, la deuxième
société à demander une concession est la "Société
Française de Correspondance Téléphonique",
elle obtient une autorisation pour la seule ville de Paris. Son
représentant est M. le Sénateur Louis-Alexandre Foucher
de Careil.
Le siège social était au 7 avenue
de l'opéra, dirigé par un ingénieur :
Léon Soulerin. Dès 1877, il sintéresse
au téléphone et devient le vice-président de la
Chicago Telephonic Exchange. Il rejoint
alors la France et obtient la concession pour exploiter le téléphone
dans la ville de Paris le 23 juillet 1879. Le système
proposé est le récepteur de Bell avec le transmetteur
microphonique de Francis Blake
Grâce à une communication habile et une redevance dabonnement
nettement moins chère que ses deux concurrents, 400 frans par
an, la société dispose de 72 souscripteurs à la
fin de 1879. Mais Soulerin ne réussit pas à installer
un bureau central capable de relier ses futurs abonnés.
Les téléphones BLAKE ,fabriqués
aux ateliers 7 avenue de l'Opéra 75001 Paris
Dans le transmetteur Blake, comme dans celui d'Edison, dit M. le comte
Du Moncel, le contact des charbons au lieu d'être effectué
par la pression
de deux pièces, dont l'une est fixe et l'autre mobile, ce qui
rend l'appareil impressionnable aux actions physiques extérieures,
est constitué par deux organes mobiles qui sont toujours en contact
léger l'un avec l'autre et qui sont complètement indépendants
du diaphragme.
On a donné différentes dispositions au transmetteur
Blake : Celle que nous venons de décrire est la forme primitive
; actuellement le type le plus en usage est celui ci .


C'est sous cette forme qu'il est employé en Amérique, combiné
avec une sonnerie magnétique dite " Magnéto Call ".
Un téléphone Bell sert de récepteur, il est suspendu
à un contact faisant commutateur, et le transmetteur est le microphone
en question dans lequel on fait passer le courant d'une pile Leclanché.
C'est cette combinaison d'appareils Blake et Bell, comme on peut s'en
rendre compte en Belgique, que l'International Bell Telephone Company
a adoptée pour tous ses réseaux téléphoniques
en Amérique et en Europe.
 |
Toutes les parties de l'appareil téléphonique
sont réunies sur une planche : la sonnerie Magneto, le microphone
Blake, le Téléphone .
Bell avec son cordon spécial et la pile contenue dans une
boîte formant pupitre sur lequel on peut écrire ou
lire pendant qu'on se sert de l'appareil pour communiquer, ce qui
se fait en portant le téléphone Bell à l'oreille
et en causant à 25 centimètres de l'embouchure du
microphone.
Mais de toutes les dispositions qui ont été imaginées
pour le microphone Blake, la plus simple, la plus commode, et la
moins coûteuse, c'est celle appliquée à l'appareil
qu'employait M. Bede lorsqu'il installa les premiers réseaux
téléphoniques dans les principales villes en Belgique.
Le transmetteur conserve la forme , mais on y ajoute un bouton d'appel
et un crochet formant commutateur sur lequel repose le téléphone
Bell relié au microphone par le cordon .
À chaque transmetteur on joint une sonnerie trembleuse qui
fonctionne au moyen d'une batterie de 2, de 4, de 6 ou de 8 éléments
Leclanché, suivant la distance qui sépare le poste
transmetteur du poste récepteur. Pour parler à son
correspondant, il suffit de presser sur le bouton d'appel qui fait
fonctionner la sonnerie placée chez ce dernier. Dès
qu'il a répondu, on décroche le téléphone
que l'on met à l'oreille et l'on parle dans le microphone
de sa voix naturelle à 25 ou 30 centimètres du transmetteur
.
Cet appareil ainsi disposé peut fonctionner à plus
de 25 kilomètres.
L'usage de ce microphone Blake ainsi disposé tend à
se généraliser chaque jour de plus en plus par suite
de la facilité avec laquelle on peut l'installer ; il se
recommande en outre par le peu d'entretien qu'il nécessite
et par son prix minime relativement surtout à celui des autres
appareils téléphoniques d'Ader, d'Edison, de Gower,
de Crossley, etc., etc. |
|
Les entrepreneurs qui s'occupent spécialement
d'installations téléphoniques privées comprenant,
comme on sait, toutes les communications en dehors des réseaux
établis par les compagnies soit pour relier entre eux établissements
industriels, des châteaux avec leurs fermes ou des administrations
emploient de préférence le transmetteur Blake que
nous venons d'indiquer.
Un simple coup d'oeil jeté sur le diagramme de la pose
(voir planche ) de cet appareil montrera la facilité avec
laquelle on peut le placer.
La figure ci contre. montre le poste tout monté
avec le microphone Blake, son récepteur Bell et la sonnerie
d'appel.
Ce transmetteur est choisi généralement de préférence
à tout autre par suite du peu de place qu'il exige et de
la facilité que l'on a de placer la sonnerie ou les sonneries
de cet appareil dans un appartement autre que celui dans lequel
il se trouve, de telle sorte que la sonnerie d'appel peut être
entendue de toutes les parties d'une maison.
|
 |
sommaire
Le micro «Berliner-Blake» a été
utilisé dans les téléphones jusqu'au milieu des
années 1890 aux États-Unis et jusqu'au début des
années 1900 dans des endroits comme la Grande-Bretagne. Berliner
a également ajouté des bobines d'induction aux téléphones,
améliorant encore la transmission, bien que Western Union ait
affirmé que cela enfreignait l'utilisation antérieure
par Edison de bobines d'induction dans son émetteur.
Convaincue de disposer d'un émetteur aussi performant,
voire meilleur, que celui qu'Edison avait développé pour
Western Union, la société Bell a poursuivi Western Union
pour violation de brevet et a gagné. Western Union a réglé
à l'amiable et a cédé tous ses brevets et ses activités
téléphoniques à la plus petite société
Bell. À partir de ces débuts et armée du brevet
et du « Blake Transmetteur », comme on l'appelle désormais,
la société Bell est devenue Bell Telephone, un géant
qui a réalisé un chiffre d'affaires de plus de 400 milliards
de dollars avec plus d'un million d'employés avant d'être
démantelé en le début des années 1980.
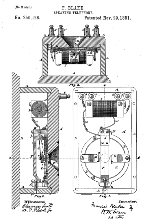
Brevet américain du microphone Blake US250126
. No. 250126, du Nov 29, 188l. et 250127 du même jour.
Brevet
américain n° 250 127. Téléphone parlant.
Breveté le 29 novembre 1881 »
Puis pour le même jour sous le numéro 250,128
pour le brevet en Amérique .
Brevet américain n° 250 128.
Téléphone parlant. Breveté le 29 novembre 1881
Une fois la bataille judiciaire terminée, Bell
a décidé de supprimer progressivement l'émetteur
Blake-Berliner et de le remplacer par la technologie supérieure
d'émetteur à bouton d'Edison. Mais
avant que cela ne se produise, les idées d'Edison, Blake et Berliner
ont été encore améliorées par l'ingénieur
Bell Anthony C. White en 1892.
Dans l'émetteur de White, deux électrodes à bouton
en carbone ont été placées en contact. L'un était
fixe et l'autre (devant) était attaché à un diaphragme
constitué d'un disque de mica. Des granules de carbone en vrac
se trouvaient entre les deux. Les vibrations sonores ont déplacé
le disque de mica d'avant en arrière comme un piston, bousculant
les particules de carbone et faisant varier rapidement la résistance
du circuit.
Cet émetteur "à dos solide" était le
plus fiable jamais conçu et a été utilisé
de 1892 jusqu'en 1925 environ.
Les microphones Blakes n'étaient pas seulement
fabriqués par leurs propriétaires de brevets d'origine
(Bell). Ils ont été fabriqués sous licence par
des sociétés du monde entier, parmi lesquelles la Consolidated
Telephone Co. et la National Telephone Co. d'Angleterre ; dautres
par des sociétés américaines comme Manhattan Supply
Co., Gilliland Electric, Post and Telegraphs, DeVeau,
.
Le produit de la vente et de la licence du transmetteur Blake a rendu
Francis Blake riche de manière indépendante.
En Australie
Les droits de fabrication en dehors des États-Unis
allaient généralement à la filiale de Bell dans
ce pays - et c'est ainsi qu'en Europe, la Bell Telephone Manufacturing
Company d'Anvers fabriquait des Blakes. La plupart de ceux que l'on
trouve aujourd'hui en Australie et en Nouvelle-Zélande proviennent
de là-bas, bien que des exemples de Consolidated Telephone Construction
and Maintenance Co (Royaume-Uni, fabrication sous licence de National)
et de Western Electric (États-Unis), ainsi que d'autres cas étranges,
apparaissent également. Les premiers téléphones
utilisés sur les centres de Melbourne comprenaient un Blake à
deux boîtiers de Western Electric . Les modèles ultérieurs
utilisaient l'armature de modèle Siemens dans la configuration
habituelle du générateur. L'émetteur américain
(Bell) Blake avait un cadre en fonte peint en noir. Les modèles
européens de Bell Anvers avaient un cadre en laiton moulé
plus léger, bien que les autres pièces soient pratiquement
identiques. Les premiers modèles portaient un tampon circulaire
dans le bois, sur le côté droit de la boîte, indiquant
« Bell Telephone Manufacturing Co. » avec ou sans le mot
Anvers et/ou quelques étoiles. Certains avaient juste "BTMC"
seul. Dautres étaient clairs. Consolidated (Royaume-Uni)
Blakes avait des cadres en fonte avec des insignes d'estampage en bois
ou de transfert sur la porte d'entrée. Les moulures de bord en
caisson Anvers Blake sont un modèle de meuble américain
standard, mais les premiers modèles américains WE avaient
différents profils de bord - certains biseautés uniquement
sur la base.
Les serrures variaient également - quelques-unes
avaient de véritables serrures à mortaise (comme dans
l'exemple du musée de Melbourne), d'autres avaient un loquet
rotatif plus familier avec un écusson en trou de serrure sur
le devant - semblable aux boîtes jumelées. Le bois était
principalement du noyer noir, mais quelques modèles américains
étaient fabriqués en bois de cerisier ou dans d'autres
bois. Les embouchures étaient généralement une
coquille Saint-Jacques semi-circulaire dans le bois - bien que certaines
aient une coquille Saint-Jacques droite et conique.
Il existe de nombreuses autres variations mineures,
selon le pays/l'entreprise de fabrication. Les Blakes étaient
également fixés à l'intérieur de la porte
des téléphones complets à boîtier unique,
plus compacts. D'autres étaient emballés dans des boîtes
métalliques soignées pour être suspendus devant
les opérateurs du tableau - masquant moins le tableau qu'une
boîte.
sommaire
En 1884, Blake se lance dans la photographie et cela devient
rapidement une passion.
En 1885, Blake acheta un appareil photo à obturation instantanée,
ce qui signifiait une vitesse d'obturation d'environ 1/300e de seconde.
Non satisfait, Blake a conçu un obturateur à plan focal
permettant des vitesses d'obturation de 1/1000e à 1/2000e de
seconde. Cela a permis de prendre des photographies stop-action d'objets
en mouvement qui étaient très différentes de ce
qui était courant à l'époque.
Francis Blake était un peu un personnage de la
Renaissance avec ses intérêts et ses inventions. Il côtoyait
les personnes reconnues pour avoir développé lindustrie
téléphonique américaine, mais il navait pas
cette notoriété. Son émetteur Blake a été
largement utilisé pendant 20 ans après son brevet, et
on lui attribue l'accélération du développement
et du déploiement de la téléphonie aux États-Unis.
Blake a été élu membre de l' American
Antiquarian Society en 1900.
Blake mourut à son domicile de Boston le 20 janvier
1913.